Область техники, к которой относится изобретение
[0001]
Настоящее изобретение относится к впитывающему изделию.
Предшествующий уровень техники
[0002]
Впитывающее изделие, такое как одноразовый подгузник, как правило, включает в себя верхний лист, который контактирует с кожей носителя, на поверхности удерживающего жидкости, впитывающего элемента, которая обращена к коже. Кроме того, возможны многие впитывающие изделия, в которых листовой элемент, образованный из волокон, наложен в виде слоя непосредственно на верхний лист на поверхности верхнего листа, не обращенной к коже. Например, заявитель по настоящему изобретению ранее раскрыл впитывающее изделие, в котором верхний лист, включающий в себя первый нетканый материал и второй нетканый материал, и подслой, проницаемый для жидкостей, наложены друг на друга, при этом данные два нетканых материала частично скреплены методом сплавления для образования части, скрепленной методом сплавления, верхний лист образован с проникающим отверстием в части, скрепленной методом сплавления, часть, скрепленная методом сплавления, включает в себя выступы, выступающие по направлению к подслою (патентный литературный источник 1).
Перечень ссылок
Патентная литература
[0003]
Патентный литературный источник 1: JP2018-088997A
Сущность изобретения
[0004]
Настоящее изобретение относится к впитывающему изделию, включающему в себя верхний лист, изготовленный из волокнистого материала, и волокнистый лист.
Волокнистый лист предпочтительно расположен рядом с верхним листом на поверхности верхнего листа, не обращенной к коже.
Верхний лист предпочтительно включает в себя множество проникающих отверстий и зону с ориентированными волокнами (fiber orientation region), в которой волокна ориентированы в одном направлении, при этом зона с ориентированными волокнами образована на части открытого конца каждого из проникающих отверстий.
Волокна, находящиеся в зоне с ориентированными волокнами в верхнем листе, предпочтительно сцеплены с составляющими волокнами волокнистого листа.
Краткое описание чертежей
[0005]
[Фиг.1] Фиг.1 представляет собой развернутый вид в плане, схематически показывающий сторону обращенной к коже поверхности (сторону верхнего листа) одноразового подгузника раскрываемого типа как варианта осуществления впитывающего изделия по настоящему изобретению, при этом одноразовый подгузник показан в его плоско разложенном нестянутом состоянии.
[Фиг.2] Фиг.2 представляет собой вид в разрезе, выполненном по линии II-II на фиг.1.
[Фиг.3] Фиг.3 представляет собой вид в плане, схематически показывающий верхний лист, показанный на фиг.2.
[Фиг.4] Фиг.4 представляет собой вид в разрезе в продольном направлении верхнего листа, показанного на фиг.3.
[Фиг.5] Фиг.5 представляет собой увеличенный вид в плане проникающего отверстия, показанного на фиг.3.
[Фиг.6] Фиг.6 представляет собой вид в перспективе, показывающий выступы и проникающие отверстия верхнего листа, показанного на фиг.4.
[Фиг.7] Фиг.7 представляет собой вид в разрезе в продольном направлении верхнего листа и подслоя, показанных на фиг.2.
[Фиг.8] Фиг.8 представляет собой вид в перспективе подслоя, показанного на фиг.7.
[Фиг.9] Фиг.9 представляет собой схематическое изображение, показывающее вариант осуществления устройства для изготовления верхнего листа.
[Фиг.10] Фиг.10 представляет собой вид в перспективе, показывающий увеличенную основную часть валика для тиснения (первого валика), показанного на фиг.9.
[Фиг.11] Фиг.11 представляет собой вид спереди, показывающий основную часть ультразвуковой сварочной машины, показанной на фиг.9, если смотреть со стороны входа в направлении перемещения второго листа.
[Фиг.12] Фиг.12 представляет собой схематическое изображение, показывающее основную часть (переднюю концевую часть ультразвукового рупора и зону вблизи нее) производственного устройства, показанного на фиг.9.
[Фиг.13] Фиг.13 представляет собой увеличенный вид в разрезе, схематически показывающий увеличенное сечение передней концевой части ультразвукового рупора, показанного на фиг.12, при этом разрез выполнен вдоль направления (MD), ортогонального к оси вращения валика для тиснения.
[Фиг.14] Фиг.14 представляет собой вид в плане поверхности приложения вибрации (поверхности переднего конца) ультразвукового рупора, показанного на фиг.12.
[Фиг.15] Фиг.15 представляет собой вид, который показывает ультразвуковой рупор по другому варианту осуществления и эквивалентен фиг.13.
[Фиг.16] Фиг.16 представляет собой вид, который показывает ультразвуковой рупор по еще одному варианту осуществления и эквивалентен фиг.13.
[Фиг.17] Фиг.17 представляет собой вид, который показывает ультразвуковой рупор по еще одному варианту осуществления и эквивалентен фиг.13.
[Фиг.18] Фиг.18(а) представляет собой вид, который показывает ультразвуковой рупор по еще одному варианту осуществления и эквивалентен фиг.13, и фиг.18(b) представляет собой схематическое изображение, схематически показывающее увеличенные выступ и углубление и зону вблизи них, показанные на фиг.18(а).
Описание вариантов осуществления
[0006]
Для повышения проницаемости для мочи и жидких фекалий целесообразно, чтобы верхний лист был выполнен с множеством проникающих отверстий. Однако при выполнении верхнего листа с проникающими отверстиями площадь контакта между верхним листом и волокнистым листом, расположенным рядом с верхним листом, может быть уменьшена, и могут ухудшиться характеристики соединения между верхним листом и волокнистым листом. Таким образом, положение верхнего листа может быть смещено, что может привести к ухудшению ощущения при ношении. С другой стороны, когда проникающие отверстия выполнены малыми для решения проблемы, связанной с характеристиками соединения, проницаемость для выделений может ухудшиться. Впитывающее изделие, раскрытое в патентном литературном источнике 1, может быть усовершенствовано в отношении предотвращения смещения положения верхнего листа при одновременном сохранении проницаемости для выделений.
[0007]
Соответственно, настоящее изобретение относится к впитывающему изделию, обеспечивающему возможность предотвращения смещения положения верхнего листа при одновременном сохранении проницаемости для выделений.
[0008]
Настоящее изобретение будет описано ниже на основе предпочтительных вариантов осуществления со ссылкой на чертежи. В нижеследующем описании чертежей одинаковые или аналогичные ссылочные позиции приведены для одинаковых или аналогичных компонентов. Чертежи являются по существу схематическими, и соотношение размеров может отличаться от фактического соотношения.
[0009]
Фиг.1 и 2 показывают одноразовый подгузник 11 раскрываемого типа, представляющий собой впитывающее изделие согласно варианту осуществления настоящего изобретения. Подгузник 11 включает в себя верхний лист 10 по варианту осуществления, описанному выше. Подгузник 11 имеет продольное направление Р, соответствующее направлению от передней стороны к задней стороне носителя, и боковое направление Q, ортогональное к продольному направлению Р, и включает в себя удерживающий жидкости, впитывающий элемент 14 и верхний лист 10, расположенный ближе к коже носителя, чем впитывающий элемент 14.
[0010]
Как показано на фиг.1, подгузник 11 имеет промежностную часть В, размещаемую на промежностной части тела носителя, и переднюю часть А и заднюю часть С, проходящие вперед и назад от промежностной части В. Передняя часть А, промежностная часть В и задняя часть С соответствуют зонам подгузника 11, полученным делением его на три равные части в продольном направлении Р. Промежностная часть В имеет часть, обращенную к выделительной зоне и расположенную напротив выделительной части тела, включающей в себя пенис и анус носителя, при ношении подгузника 11, и часть, обращенная к выделительной зоне, обычно расположена в центре подгузника 11, определяемом в продольном направлении Р, или рядом с данным центром. Продольное направление Р соответствует направлению, проходящему от передней части А к задней части С подгузника 11 через промежностную часть В.
[0011]
В подгузнике 11, показанном на фиг.2, верхний лист 10, подслой 15, проницаемый для жидкостей, и удерживающий жидкости, впитывающий элемент 14 последовательно наложены друг на друга в порядке, соответствующем близости к коже носителя. Более конкретно, подгузник 11 включает в себя впитывающий элемент 14, который представляет собой основной компонент, впитывающий жидкости, верхний лист 10, расположенный на поверхности впитывающего элемента 14, обращенной к коже, и перекрывающий впитывающий элемент 14 в месте, более близком к коже носителя, чем место расположения впитывающего элемента 14, задний лист 13, расположенный со стороны поверхности впитывающего элемента 14, не обращенной к коже, и перекрывающий впитывающий элемент 14 в месте, более удаленном от кожи носителя, чем место расположения впитывающего элемента 14, и подслой 15, расположенный между верхним листом 10 и впитывающим элементом 14.
[0012]
В описании «поверхность, обращенная к коже», представляет собой поверхность, обращенную к коже носителя, во впитывающем изделии, таком как одноразовый подгузник, или в его составляющем элементе (например, впитывающем элементе) во время ношения впитывающего изделия, то есть поверхность, относительно более близкую к коже носителя, и «поверхность, не обращенная к коже», представляет собой поверхность, обращенную в сторону (в сторону предмета одежды), противоположную коже носителя, во впитывающем изделии или его составляющем элементе во время ношения впитывающего изделия, то есть поверхность, относительно более удаленную от кожи носителя. Выражение «во время ношения» означает состояние, в котором поддерживается нормальное надлежащее положение при ношении, и исключает случай, когда впитывающее изделие смещено из надлежащего положения при ношении.
[0013]
Верхний лист 10 и задний лист 13 имеют больший размер, чем подслой 15 и впитывающий элемент 14, расположенные между обоими листами 10 и 13, и образуют наружную форму подгузника 11 в его плоско разложенном нестянутом состоянии, показанном на фиг.1.
Впитывающий элемент 14 является удлиненным в продольном направлении Р и проходит от передней части А до задней части С. Впитывающий элемент 14 включает в себя удерживающую жидкости, впитывающую сердцевину 140 и лист 141 для обертывания сердцевины, который закрывает наружную поверхность впитывающей сердцевины 140. Впитывающая сердцевина 140, как правило, образована из скопления волокон, содержащего главным образом гидрофильные волокна, такие как волокна из древесной целлюлозы, и может быть получена посредством удерживания частиц водопоглощающего полимера в данном скоплении волокон или на листе. Лист 141 для обертывания сердцевины, как правило, образован из бумаги, нетканого материала или тому подобного.
Различные материалы могут быть использованы для заднего листа 13 без особого ограничения при условии, что они представляют собой материалы, традиционно используемые во впитывающем изделии такого типа, и задний лист 13 может быть образован из полимерных пленок, многослойных материалов, состоящих из полимерных пленок и нетканых материалов, или тому подобного.
[0014]
Подгузник 11 по данному варианту осуществления включает в себя подслой 15 в качестве волокнистого листа, расположенного рядом с верхним листом 10. Подслой 15 размещен ближе к поверхности верхнего листа 10, не обращенной к коже, для функционирования с целью повышения способности к пропусканию жидкости из верхнего листа 10 во впитывающий элемент 14 и уменьшения обратного потока жидкости, впитанной во впитывающем элементе 14, в верхний лист 10 и закрывает по существу всю поверхность впитывающего элемента 14, обращенную к коже.
Верхний лист 10, подслой 15, впитывающий элемент 14 (впитывающая сердцевина 140, лист 141 для обертывания сердцевины) и задний лист 13 соединены вместе с помощью известного средства соединения, такого как адгезив.
[0015]
Как показано на фиг.1 и 2, подгузник 11 включает в себя две манжеты 16 и 16, защищающие от утечки, расположенные вдоль обоих концов впитывающего элемента 14, определяемых в боковом направлении Q, и поднимающиеся по направлению к коже носителя по меньшей мере в промежностной части В при ношении подгузника 11. Каждая из манжет 16, защищающих от утечки, включает в себя лист 160, защищающий от утечки, который является стойким к воздействию жидкости или водоотталкивающим и воздухопроницаемым, и лист 160, защищающий от утечки, имеет один конец, определяемый в боковом направлении Q, в качестве закрепленной концевой части, прикрепленной к другим элементам (например, к верхнему листу и заднему листу), и другой конец, определяемый в боковом направлении Q, в качестве свободной концевой части, не прикрепленной к другим элементам. В свободной концевой части листа 160, защищающего от утечки, эластичный элемент 160, образующий манжету, защищающую от утечки, закреплен в состоянии, в котором он растянут в продольном направлении Р, с возможностью его растягивания в том же направлении. При ношении подгузника 11 стягивающее усилие, создаваемое эластичным элементом 161, вызывает подъем свободной концевой части листа 160, защищающего от утечки, по направлению к носителю по меньшей мере в промежностной части В при закрепленной концевой части как базовом конце при подъеме, посредством чего две манжеты 16 и 16, защищающие от утечки, поднимаются для предотвращения вытекания выделений, таких как моча, в боковом направлении Q. Листы, которые используются в качестве материала манжет, защищающих от утечки, во впитывающем изделии такого типа, могут использоваться без особого ограничения в качестве листа 160, защищающего от утечки, при этом данные листы предпочтительно обладают стойкостью к воздействию жидкости или водоотталкивающими свойствами и воздухопроницаемостью, и можно использовать, например, однослойный или многослойный водоотталкивающий нетканый материал или многослойный материал из полимерных пленок и нетканых материалов.
[0016]
Как показано на фиг.1, нитевидный эластичный элемент 17 закреплен в состоянии, в котором он растянут в продольном направлении Р, между листом 160, защищающим от утечки, и задним листом 13 в левой и правой частях для ног, размещаемых вокруг ног носителя, посредством чего две сборки для ног образуются при стягивании эластичного элемента 17 в частях для ног при ношении подгузника 11. Верхний лист 10, подслой 15, задний лист 13, впитывающий элемент 14, лист 160, защищающий от утечки, и эластичный элемент 161 соединены вместе с помощью известного средства соединения, такого как термоплавкий адгезив.
[0017]
Как показано на фиг.1, две скрепляющие ленты 18 и 18 предусмотрены на обеих боковых краевых частях задней части С подгузника 11, проходящих в продольном направлении Р. Скрепляющая лента 18 прикрепляется посредством прикрепляемой части, образованной из охватываемого элемента механической застежки-«липучки». Кроме того, поверхность передней части А подгузника 11, не обращенная к коже, образована с зоной-«мишенью» 19, образованной из охватывающего элемента механической застежки-«липучки». Зона-«мишень» 19 образована так, что охватывающий элемент механической застежки-«липучки» соединен с поверхностью заднего листа 13, не обращенной к коже, и прикреплен к не обращенной к коже поверхности заднего листа 13, образующего поверхность передней части А, не обращенную к коже, с помощью известного средства соединения, например, с помощью адгезива или термосварки, и может быть прикреплена к прикрепляемой части скрепляющей ленты 18 с возможностью отсоединения.
[0018]
Фиг.3-6 показывают верхний лист по представленному варианту осуществления. Верхний лист 10 по данному варианту осуществления представляет собой волокнистый лист, образованный из волокнистого материала, и имеет множество проникающих отверстий 6, проходящих сквозь лист.
[0019]
Верхний лист 10 имеет многослойную структуру, в которой первый лист 1 и второй лист 2, изготовленные из волокнистого материала, наложены друг на друга в виде слоев. Первый лист 1 и второй лист 2 соединены посредством части (непоказанной), скрепленной методом сплавления, в которой листы соединены друг с другом методом сплавления.
Первый лист 1 и второй лист 2 включают листы, изготовленные из волокнистого материала. Примеры данных листов могут включать нетканые материалы, тканые материалы и трикотажные материалы. По соображениям, связанным со свойствами на ощупь или тому подобным, предпочтительно используются нетканые материалы. Типы листов, образующих первый лист 1 и второй лист 2, могут быть одинаковыми или разными.
[0020]
Примеры нетканых материалов включают нетканые материалы, скрепленные пропусканием воздуха насквозь, фильерные нетканые материалы, нетканые материалы, полученные гидросплетением, нетканые материалы мелтблаун, нетканые материалы, скрепленные посредством смолы, и нетканые материалы, полученные иглопробиванием. Также можно использовать многослойный материал, полученный посредством соединения двух или более из данных нетканых материалов.
Поверхностная плотность каждого из первого листа 1 и второго листа 2 предпочтительно составляет 10 г/м2 или более и более предпочтительно 15 г/м2 или более, предпочтительно составляет 40 г/м2 или менее и более предпочтительно 35 г/м2 или менее и предпочтительно составляет 10 г/м2 или более и 40 г/м2 или менее и более предпочтительно 15 г/м2 или более и 35 г/м2 или менее.
[0021]
В качестве волокон, образующих нетканый материал, можно использовать волокна, образованные из различных термопластичных смол/полимеров.
Примеры термопластичных полимеров включают полиолефины, такие как полиэтилен, полипропилен и полибутен, сложные полиэфиры, такие как полиэтилентерефталат и полибутилентерефталат, полиамиды, такие как нейлон 6 и нейлон 66, полиакриловые кислоты, алкиловые сложные эфиры полиметакриловых кислот, поливинилхлориды и поливинилиденхлориды. Данные смолы/полимеры можно использовать по отдельности или в виде смеси из двух или более. Кроме того, их можно использовать в виде многокомпонентного волокна, включая, например, волокно с сердцевиной и оболочкой и волокно с расположением компонентов бок о бок.
[0022]
Как показано на фиг.3, верхний лист 10 по данному варианту осуществления имеет множество выступов 5, выступающих в направлении одной стороны верхнего листа 10 в местах, соседних с проникающими отверстиями 6. В частности, как показано на фиг.4, по меньшей мере части первого листа 1, отличные от проникающих отверстий 6, образованы с множеством выступов 5, выступающих в направлении, противоположном по отношению ко второму листу 2.
Выступы 5 и проникающие отверстия 6 расположены попеременно в ряду, проходящем в продольном направлении Р, и такой ряд охватывает множество рядов, образованных в боковом направлении Q, которое представляет собой направление, параллельное поверхности верхнего листа 10 и ортогональное к продольному направлению Р. Выступы 5 и проникающие отверстия 6 в рядах, соседних друг с другом, расположены со смещением в продольном направлении Р и, более конкретно, расположены со смещением на полшага.
[0023]
В данном варианте осуществления продольное направление Р представляет собой направление, параллельное направлению подачи (машинному направлению, в дальнейшем также упоминаемому как “MD”) во время изготовления верхнего листа 10, и боковое направление Q представляет собой направление, параллельное направлению (в дальнейшем также упоминаемому как “CD”), ортогональному к направлению MD во время изготовления верхнего листа 10. Кроме того, ось вращения каждого из валика 31 для тиснения (первого валика) и валика 32 для тиснения (второго валика), описанных ниже, параллельна направлению CD и ортогональна к направлению MD.
[0024]
Верхний лист 10 по данному варианту осуществления имеет большое число углублений 3, расположенных между выступами 5 в обоих направлениях из направления Р и направления Q на поверхности первого листа 1, и проникающие отверстия 6 образованы в нижних частях отдельных углублений 3.
Если рассматривать поверхность первого листа 1 в целом, видно, что поверхность первого листа 1 в верхнем листе 10 имеет неровную форму с большими волнообразными неровностями, которые образованы углублениями 3 и выступами 5, и поверхность второго листа 2 является плоской или представляет собой по существу плоскую поверхность с волнообразными неровностями, малыми по отношению к поверхности первого листа 1.
[0025]
В верхнем листе 10 по данному варианту осуществления выступы 5 и проникающие отверстия 6 имеют форму, которая является удлиненной в продольном направлении Р на виде в плане (см. фиг.3).
Каждое из проникающих отверстий 6 имеет форму, удлиненную в продольном направлении Р, более конкретно, по существу прямоугольную форму на виде в плане. Верхний лист 10 включает в себя часть (непоказанную), скрепленную методом сплавления, в которой первый лист 1 и второй лист 2 соединены друг с другом методом сплавления, в зоне части открытого края 6е проникающего отверстия 6. В такой части, скрепленной методом сплавления, смола составляющих волокон, обеспечивающая соединение методом сплавления, по меньшей мере в одном из первого листа 1 и второго листа 2 расплавляется и затвердевает, посредством чего первый лист 1 и второй лист 2 соединяются.
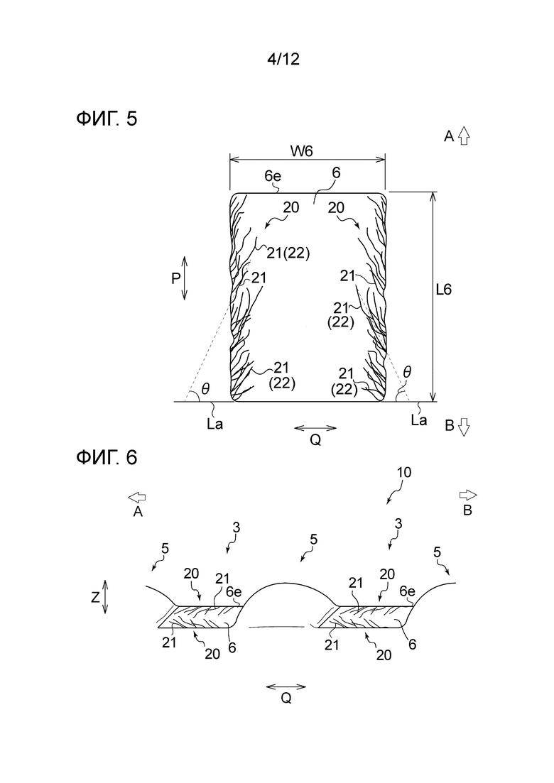
[0026]
Верхний лист 10 включает в себя зону 20 с ориентированными волокнами, в которой волокна ориентированы в одном направлении, на части открытого края 6е проникающего отверстия 6 на виде в плане. Как показано на фиг.5, проникающее отверстие 6 по данному варианту осуществления имеет две зоны 20 и 20 с ориентированными волокнами, расположенные соответственно с обеих сторон проникающего отверстия 6, проходящих в направлении длины (продольном направлении Р). В альтернативном варианте верхний лист 10 может включать в себя зону 20 с ориентированными волокнами, расположенную только с одной из обеих сторон проникающего отверстия 6, проходящих в направлении длины, или может включать в себя зоны 20 с ориентированными волокнами, расположенные у одного или двух из обоих концов проникающего отверстия 6, проходящих в поперечном направлении.
Зона 20 с ориентированными волокнами представляет собой зону, проходящую вдоль части открытого края 6е проникающего отверстия 6, и данная зона находится в состоянии, в котором составляющие волокна первого листа 1 и второго листа 2 сохраняются в виде волокон без превращения в пленку. В зоне 20 с ориентированными волокнами волокна 21, находящиеся в зоне 20, расположены внутри проникающего отверстия 6. В дальнейшем «волокна 21, расположенные внутри проникающего отверстия 6 в зоне 20 с ориентированными волокнами», также упоминаются как «внутризонные волокна 21».
В зоне 20 с ориентированными волокнами, показанной на фиг.5 и 6, составляющие волокна верхнего листа 10 ориентированы в одном направлении. В частности, в зоне 20 с ориентированными волокнами направления, в которых проходят внутризонные волокна 21, как правило, совпадают друг с другом. Внутризонные волокна 21 по данному варианту осуществления ориентированы под углом в направлении длины (продольном направлении Р) проникающего отверстия 6 на виде в плане (см. фиг.5). Кроме того, если смотреть на верхний лист 10 в направлении его толщины, имеется случай, когда некоторые из внутризонных волокон 21 имеют наклон под определенным углом относительно основной поверхности (направления в плоскости) верхнего листа 10. Более конкретно, имеются некоторые из внутризонных волокон 21, у которых передние концы ориентированы в состоянии, в котором они направлены в направлении толщины к поверхности верхнего листа 10, не обращенной к коже.
Направления ориентации внутризонных волокон 21 в зоне 20 с ориентированными волокнами не имеют особых ограничений. Например, на виде в плане проникающего отверстия 6 внутризонные волокна 21 могут быть ориентированы по направлению к передней части А в продольном направлении Р, могут быть ориентированы по направлению к задней части С в продольном направлении Р или могут быть ориентированы в боковом направлении Q. Кроме того, внутризонные волокна 21 могут быть ориентированы двумерно на основной поверхности (в направлении в плоскости) верхнего листа 10 или могут быть ориентированы трехмерно в направлении толщины верхнего листа 10.
Для удобства описания фиг.3 и 4 показывают места расположения зон 20 с ориентированными волокнами и при этом не показывают состояния ориентированности внутризонных волокон 21.
[0027]
Как описано выше, верхний лист 10 расположен рядом с подслоем 15, расположенным на поверхности, не обращенной к коже. В состоянии, когда верхний лист 10 и подслой 15 наложены друг на друга, внутризонные волокна 21 в зоне 20 с ориентированными волокнами в верхнем листе 10 сцепляются с составляющими волокнами подслоя 15. В данном варианте осуществления проникающее отверстие 6 верхнего листа 10 и выступ 152 подслоя 15 перекрываются, и волокна 21, находящиеся в зоне 20 с ориентированными волокнами, сцепляются с волокнами 153, находящимися в выступе 152 (см. фиг.7).
Как описано выше, волокна 21, находящиеся в зоне 20 с ориентированными волокнами, сцепляются с составляющими волокнами волокнистого листа, такого как подслой 15, расположенного рядом с верхним листом 10, посредством чего верхний лист 10 и волокнистый лист прочно соединяются, и поэтому смещение положения верхнего листа 10 может быть эффективно предотвращено. Другими словами, даже когда площадь контакта между верхним листом 10 и волокнистым листом уменьшается из-за проникающего отверстия 6, образованного в верхнем листе 10, можно предотвратить смещение положения верхнего листа 10 при одновременном сохранении проницаемости для выделений посредством проникающего отверстия 6, поскольку прочность соединения между верхним листом 10 и волокнистым листом может быть гарантирована за счет данного сцепления.
[0028]
Зона 20 с ориентированными волокнами представляет собой зону, в которой при осмотре волокон 21, служащих в качестве составляющих волокон верхнего листа 10 и расположенных в проникающем отверстии 6, видно, что направления ориентации данных волокон по существу совпадают друг с другом, и зону 20 с ориентированными волокнами определяют нижеприведенным методом.
[0029]
[Метод осмотра зоны с ориентированными волокнами]
Зону с размерами 50 мм × 50 мм на виде в плане вырезают из верхнего листа 10, используя острую бритву (например, лезвие с одной режущей кромкой, произведенное компанией FEATHER Safety Razor Co., Ltd.) для получения образца. После этого проникающее отверстие 6 осматривают со стороны любой одной поверхности из поверхности образца, обращенной к коже, и поверхности образца, не обращенной к коже, используя электронный микроскоп (например, произведенный компанией JEOL Ltd., номер модели: JCM-6000 Plus) или микроскоп (например, произведенный компанией KEYENCE CORPORATION, номер модели: VHX-1000). Когда верхний лист 10 имеет выступы 5, выступающие по направлению к одной из двух поверхностей, проникающее отверстие 6 осматривают со стороны поверхности, противоположной по отношению к поверхности, от которой выступают выступы 5. Например, когда выступы 5 образованы на поверхности верхнего листа 10, обращенной к коже, проникающее отверстие 6 осматривают со стороны поверхности, не обращенной к коже. Проникающее отверстие 6 осматривают на виде в плане при 100-кратном увеличении. После этого зону с размерами 3 мм × 3 мм фотографируют в поле обзора при осмотре. Полученное изображение подвергают обработке для бинаризации. В частности, изображение захватывают посредством Image-Pro Plus (произведенного компанией NIPPON ROPER K.K.), черно-белый контраст задают равным 100 при усилении контраста, и шум удаляют посредством фильтрации (медианной, 5 × 5 выполняют пять раз). На бинаризованном изображении подлежат осмотру волокна, находящиеся в проникающем отверстии 6. Для каждого из волокон, подлежащих осмотру, угол, образованный открытым краем 6е, в зоне которого расположен базовый конец волокна, определяют как угол ориентации, и угол ориентации измеряют. После этого определяют зону, в которой передние концы волокон ориентированы в приблизительно одном и том же направлении и средний угол из углов ориентации волокон находится в пределах 0° - 60°, и такую зону определяют как зону 20 с ориентированными волокнами. В части, в которой расположена зона 20 с ориентированными волокнами, открытый край 6е проникающего отверстия 6 представляет собой границу между зоной (зоной 20 с ориентированными волокнами), в которой волокна ориентированы в одном направлении, и зоной, в которой волокна ориентированы случайным образом. «Зона, в которой волокна ориентированы случайным образом», представляет собой зону с таким же состоянием ориентированности, как в нетканом материале перед образованием проникающего отверстия 6 в способе изготовления верхнего листа 10, описанном ниже. Кроме того, «зона, в которой волокна ориентированы случайным образом», включает зону, в которой волокна превращены в пленку или тому подобное и, следовательно, состояние ориентированности волокон не может быть определено. Такая зона представляет собой зону, которая при осмотре видна как часть, которая стала настолько белой, что состояние ориентированности волокон невозможно распознать на вышеописанном бинаризованном изображении.
В альтернативном варианте верхний лист 10 с проникающим отверстием 6 разрезают в направлении длины проникающего отверстия 6 так, чтобы общая длина проникающего отверстия 6 в поперечном направлении была разделена пополам, и бинаризованное изображение получают таким же методом, как описанный выше для поперечного сечения. На таком изображении определяют зону, в которой имеются волокна с передним концом (свободным концом), обращенным к поверхности, не обращенной к коже, и данную зону рассматривают как зону 20 с ориентированными волокнами. В такой зоне 20 с ориентированными волокнами волокна имеют наклон под определенным углом относительно основной поверхности (проходящей в направлении в плоскости) верхнего листа 10. В частности, среднее значение углов между волокнами и направлением длины проникающего отверстия 6 (продольным направлением Р в данном варианте осуществления) находится в пределах 0° - 90°.
Вышеописанный метод осмотра применяют для случая определения размеров (например, длины, угла и числа имеющихся зона и волокон) для зоны 20 с ориентированными волокнами и внутризонного волокна 21, если не указано иное.
[0030]
[Метод осмотра зоны с ориентированными волокнами], описанный выше, может применяться в большинстве случаев для нетканых материалов, образующих верхний лист 10 по настоящему изобретению. Более конкретно, когда верхний лист 10 представляет собой нетканый материал, скрепленный пропусканием воздуха насквозь, зона 20 с ориентированными волокнами может быть определена нижеприведенным методом.
Для верхнего листа 10 на виде в плане бинаризованное изображение получают таким же методом, как вышеописанный [Метод осмотра зоны с ориентированными волокнами]. При осмотре проникающего отверстия 6 и его окрестности на изображении можно удостовериться в наличии пленочной части, имеющейся в проникающем отверстии 6, и части, скрепленной пропусканием воздуха насквозь, в которой имеются составляющие волокна, сохраняющие форму волокон. Пленочная часть представляет собой часть, в которой при осмотре не видно составляющих волокон, сохраняющих форму волокон, и составляющие волокна расплавлены и которая имеет значительно меньшую толщину, чем часть, скрепленная пропусканием воздуха насквозь. Пленочная часть представляет собой часть в виде пленки, имеющая толщину, составляющую 50 мкм или менее. Когда верхний лист 10 образован из нетканого материала, скрепленного пропусканием воздуха насквозь, пленочная часть образована так, что она проходит по направлению к внутренней части проникающего отверстия 6 от открытого края 6е проникающего отверстия 6, когда проникающее отверстие 6 образовано в способе изготовления, описанном ниже. В верхнем листе 10 проникающее отверстие 6 содержит волокна, которые выступают дальше по направлению к внутренней части проникающего отверстия 6 от пленочной части и имеют свободные концы во внутренней части проникающего отверстия 6, и данные волокна становятся внутризонными волокнами 21 и образуют зону 20 с ориентированными волокнами. На изображении такого верхнего листа 10 границу между пленочной частью и частью, скрепленной пропусканием воздуха насквозь, определяют как открытый край 6е проникающего отверстия 6. Кроме того, ориентация волокон (внутризонных волокон 21), образующих зону 20 с ориентированными волокнами в верхнем листе 10, определяется углом между открытым краем 6е (концевым краем проникающего отверстия 6), расположенным со стороны базового конца волокна 21, и воображаемой линией, соединяющей базовый конец и свободный конец волокна 21. Данный угол представляет собой острый угол в диапазоне между 0° и 90°. Для внутризонных волокон 21 в зоне 20 с ориентированными волокнами среднее значение углов между открытым краем 6е (концевым краем проникающего отверстия 6), расположенным со стороны базового конца волокна 21, и данной воображаемой линией находится в диапазоне от значения, превышающего 0°, до значения, составляющего 90° или менее. Базовый конец внутризонного волокна 21 представляет собой часть, соединенную с пленочной частью, в волокне 21, выступающем от пленочной части. В верхнем листе 10, образованном из нетканого материала, скрепленного пропусканием воздуха насквозь, зона 20 с ориентированными волокнами включает в себя одно или более и предпочтительно два или более из внутризонных волокон 21.
[0031]
Когда верхний лист 10 образован из нетканого материала, скрепленного пропусканием воздуха насквозь, длина пленочной части в направлении длины проникающего отверстия 6 (в направлении Р в данном варианте осуществления) предпочтительно в 5 раз или более и менее чем в 450 раз превышает толщину пленочной части. При такой конфигурации внутризонные волокна 21 и составляющие волокна волокнистого листа могут быть сцеплены более прочно.
По вышеописанным соображениям длина пленочной части в поперечном направлении проникающего отверстия 6 (в направлении Q в данном варианте осуществления) предпочтительно в 5 раз или более и менее чем в 250 раз превышает толщину пленочной части.
[0032]
Конфигурации зоны 20 с ориентированными волокнами и верхнего листа 10 будут подробно описаны ниже, но нижеприведенное описание может в большинстве случаев применяться в отношении нетканых материалов, образующих верхний лист 10 по настоящему изобретению.
То, сцепляются ли волокна 21, находящиеся в зоне 20 с ориентированными волокнами, с составляющими волокнами волокнистого листа, такого как подслой 15, расположенного рядом с верхним листом 10, может быть подтверждено нижеприведенным методом.
Образец с размерами 50 мм × 50 мм на виде в плане вырезают из подгузника 11 так, чтобы верхний лист 10 и волокнистый лист, расположенный рядом с верхним листом 10, были наложены друг на друга и чтобы была полностью включена зона 20 с ориентированными волокнами, проходящая в направлении толщины в проникающем отверстии 6. После этого сечение образца осматривают при 100-кратном увеличении посредством электронного микроскопа (например, произведенного компанией JEOL Ltd., номер модели: JCM-6000 Plus) или микроскопа (например, произведенного компанией KEYENCE CORPORATION, номер модели: VHX-1000). Когда в поле обзора при осмотре одно или более внутризонных волокон 21, находящихся в зоне 20 с ориентированными волокнами, проходят между составляющими волокнами волокнистого листа или переплетены с данными составляющими волокнами, определяют, что волокна 21, находящиеся в зоне 20 с ориентированными волокнами, и составляющие волокна волокнистого листа сцеплены друг с другом. Место расположения составляющих волокон в волокнистом листе, с которыми сцеплено внутризонное волокно 21, не имеет особых ограничений.
[0033]
По соображениям, связанным с дополнительным улучшением сцепления с волокнистым листом, таким как подслой 15, средняя длина внутризонного волокна 21 предпочтительно составляет 0,3 мм или более и более предпочтительно 0,5 мм или более, предпочтительно составляет 4 мм или менее и более предпочтительно 1,5 мм или менее и предпочтительно составляет 0,3 мм или более и 4 мм или менее и более предпочтительно 0,5 мм или более и 1,5 мм или менее.
Среднюю длину внутризонных волокон 21 определяют, используя волокна, имеющие длину, составляющую 0,2 мм или более, от открытого края 6е проникающего отверстия 6, то есть от базового конца до свободного конца волокна 21 в поле обзора при осмотре проникающего отверстия 6 на виде в плане. Например, когда верхний лист 10 образован из нетканого материала, скрепленного пропусканием воздуха насквозь, среднюю длину внутризонных волокон 21 определяют для длины от базового конца, выступающего от пленочной части, до свободного конца. Длину измеряют для произвольно выбранных 10 проникающих отверстий 6 в верхнем листе 10, и среднее значение данных длин принимают в качестве средней длины внутризонных волокон 21.
[0034]
По вышеописанным соображениям в поле обзора при осмотре проникающего отверстия 6 на виде в плане число внутризонных волокон 21 в одном проникающем отверстии 6 составляет 1 или более, предпочтительно 2 или более, более предпочтительно 5 или более и еще более предпочтительно 20 или более, предпочтительно составляет 100 или менее и более предпочтительно 50 или менее и предпочтительно составляет 2 или более и 100 или менее, более предпочтительно 5 или более и 100 или менее и еще более предпочтительно 20 или более и 50 или менее.
Кроме того, по вышеописанным соображениям в поле обзора при осмотре проникающего отверстия 6 на виде в плане число имеющихся внутризонных волокон 21 в расчете на постоянную площадь (9 мм2) зоны обзора в зоне 20 с ориентированными волокнами предпочтительно составляет 1 или более, более предпочтительно 5 или более и еще более предпочтительно 10 или более, предпочтительно составляет 50 или менее и более предпочтительно 30 или менее и предпочтительно составляет 1 или более и 50 или менее, более предпочтительно 5 или более и 50 или менее и еще более предпочтительно 10 или более и 30 или менее.
[0035]
По вышеописанным соображениям число волокон, передние концы которых обращены в направлении толщины к поверхности верхнего листа 10, не обращенной к коже, из внутризонных волокон 21 в одном проникающем отверстии 6 предпочтительно составляет 1 или более и более предпочтительно 20 или более, предпочтительно составляет 100 или менее и более предпочтительно 50 или менее и предпочтительно составляет 1 или более и 100 или менее и более предпочтительно 20 или более и 100 или менее.
Кроме того, по вышеописанным соображениям, число имеющихся волокон, обращенных к поверхности, не обращенной к коже, из числа внутризонных волокон 21 в расчете на постоянную площадь (9 мм2) зоны обзора в зоне 20 с ориентированными волокнами предпочтительно составляет 1 или более и более предпочтительно 10 или более, предпочтительно составляет 50 или менее и более предпочтительно 30 или менее и предпочтительно составляет 1 или более и 50 или менее и более предпочтительно 10 или более и 30 или менее.
[0036]
Число внутризонных волокон 21 или число имеющихся внутризонных волокон 21 определяют для проникающих отверстий 6, включающих в себя зоны 20 с ориентированными волокнами, в произвольно выбранных десяти местах в верхнем листе 10, и среднее значение для них определяют как число внутризонных волокон 21 в одном проникающем отверстии 6 или число имеющихся внутризонных волокон 21 в расчете на постоянную площадь (9 мм2) зоны обзора в зоне 20 с ориентированными волокнами. «Постоянная площадь (9 мм2) зоны обзора в зоне 20 с ориентированными волокнами» представляет собой площадь зоны с размерами 3 мм × 3 мм, заданной в произвольно выбранном месте в зоне 20 с ориентированными волокнами в поле обзора при осмотре проникающего отверстия 6, и «число имеющихся внутризонных волокон 21 в расчете на постоянную площадь (9 мм2) зоны обзора в зоне 20 с ориентированными волокнами» определяют посредством подсчета числа имеющихся внутризонных волокон 21, имеющихся в данной зоне.
Кроме того, «волокна, обращенные к поверхности, не обращенной к коже», могут быть определены посредством осмотра сечения верхнего листа 10, разрезанного вместе с проникающим отверстием 6 в [Методе осмотра зоны с ориентированными волокнами], описанном выше.
[0037]
Верхний лист 10 имеет зону 20 с ориентированными волокнами на части открытого края 6е проникающего отверстия 6. По соображениям, связанным с дополнительным предотвращением смещения положения верхнего листа 10, описанного выше, длина зоны 20 с ориентированными волокнами, определяемая вдоль открытого края 6е проникающего отверстия 6 на виде в плане, предпочтительно составляет 10% или более и более предпочтительно 25% или более, предпочтительно составляет 60% или менее и более предпочтительно 50% или менее и предпочтительно составляет 10% или более и 60% или менее и более предпочтительно 25% или более и 50% или менее от полной длины замкнутого контура открытого края 6е проникающего отверстия 6. Длину зоны 20 с ориентированным волокнами, определяемую вдоль открытого края 6е проникающего отверстия 6, и полную длину замкнутого контура открытого края 6е проникающего отверстия 6 измеряют посредством выполнения обработки изображения на изображении проникающего отверстия 6, полученном посредством электронного микроскопа. Для такой обработки изображения используют меню, предназначенное для измерений расстояний между множеством точек и выполняемое по умолчанию в программном обеспечении с названием “Keyence VHX-1000”. Например, полная длина замкнутого контура открытого края 6е может быть измерена посредством отслеживания открытого края 6е на изображении, полученном посредством электронного микроскопа (увеличение: 100 раз).
[0038]
Когда верхний лист 10 смещен в продольном направлении Р по направлению к передней части А, фекалии могут скапливаться в промежностной части В и вытекать. По соображениям, связанным с дополнительным предотвращением такой утечки, волокна 21, находящиеся в зоне 20 с ориентированными волокнами, предпочтительно ориентированы в продольном направлении Р (см. фиг.5). Это затрудняет смещение верхнего листа 10 по направлению к передней части А и, следовательно, в большей степени предотвращает скапливание фекалий в промежностной части В. Выражение «внутризонные волокна 21 ориентированы в продольном направлении Р» означает, что 50% или более внутризонных волокон 21 из волокон 21, находящихся в зоне 20 с ориентированными волокнами, образуют угол, составляющий ±45° или менее, относительно продольного направления Р на виде в плане проникающего отверстия 6. Поскольку направление длины проникающего отверстия 6 по данному варианту осуществления совпадает с продольным направлением Р, на основе того, находится ли угол между стороной проникающего отверстия 6, проходящей в направлении его длины, и внутризонным волокном 21 в пределах ±45°, может быть определено, «ориентированы ли внутризонные волокна 21 в продольном направлении Р».
По соображениям, связанным с дополнительным предотвращением смещения верхнего листа 10 по направлению к передней части А, внутризонные волокна 21 предпочтительно ориентированы в продольном направлении Р так, что их передние концы обращены к передней части А. Например, в варианте осуществления, показанном на фиг.5, предпочтительно, чтобы сторона А соответствовала передней части А и сторона В соответствовала задней части С. Кроме того, например, в варианте осуществления, показанном на фиг.6, предпочтительно, чтобы сторона А (левая сторона на фиг.6) соответствовала передней части А и сторона В (правая сторона на фиг.6) соответствовала задней части С.
[0039]
Верхний лист 10 по данному варианту осуществления имеет зоны 20 с ориентированными волокнами, расположенные с обеих сторон проникающего отверстия 6, проходящих в направлении его длины (продольном направлении Р). По соображениям, связанным с дополнительным предотвращением смещения верхнего листа 10 в продольном направлении Р, угол Ɵ наклона волокон, находящихся в зоне 20 с ориентированными волокнами, то есть внутризонных волокон 21, относительно базовой линии La, проходящей в поперечном направлении проникающего отверстия 6 (см. фиг.5), предпочтительно составляет более 0°, более предпочтительно 30° или более и еще более предпочтительно 45° или более, предпочтительно составляет менее 90° и более предпочтительно 80° или менее и предпочтительно составляет более 0° и менее 90°, более предпочтительно 30° или более и менее 90° и более предпочтительно 45° или более и 80° или менее. Базовая линия La представляет собой параллельную прямую линию, проходящую вдоль короткой стороны проникающего отверстия 6. Сторона проникающего отверстия 6 представляет собой часть открытого края 6е (контура) проникающего отверстия 6, проходящую в направлении длины проникающего отверстия 6, в то время как короткая сторона представляет собой часть, которая является соседней со стороной проникающего отверстия 6, соединенной с внутризонным волокном 21, и образует короткую сторону контура прямоугольного проникающего отверстия 6.
[0040]
Угол Ɵ наклона внутризонного волокна 21 относительно базовой линии La означает угол между прямой линией, соединяющей оба конца внутризонного волокна 21 (прямой линией, соединяющей свободный конец и базовый конец), и базовой линией La. Когда конец (базовый конец), противоположный концу (свободному концу), расположенному в проникающем отверстии 6, не виден, в волокне, для которого должны быть выполнены измерения, точку пересечения волокна и открытого края 6е проникающего отверстия 6 определяют как противоположный конец.
[0041]
Внутризонное волокно 21 предпочтительно имеет передний конец (свободный конец), обращенный внутрь проникающего отверстия 6. При такой конфигурации верхний лист 10 может быть более прочно сцеплен с соседним волокнистым листом. Предпочтительно, чтобы в вышеописанной конфигурации передний конец внутризонного волокна 21 был обращен внутрь проникающего отверстия 6 и чтобы волокно 21 проходило, например, прямолинейно.
[0042]
По соображениям, связанным с дополнительным повышением способности к пропусканию через проникающее отверстие 6 и дополнительным предотвращением смещения положения верхнего листа 10, размеры проникающего отверстия 6 предпочтительно находятся в нижеуказанных пределах.
Доля площади проникающих отверстий 6 в верхнем листе 10 (общая площадь проникающих отверстий 6/площадь верхнего листа 10) предпочтительно составляет 4% или более и более предпочтительно 8% или более, предпочтительно составляет 30% или менее и более предпочтительно 20% или менее и предпочтительно составляет 4% или более и 30% или менее и более предпочтительно 8% или более и 20% или менее.
Площадь каждого проникающего отверстия 6 предпочтительно составляет 1 мм2 или более и более предпочтительно 3 мм2 или более, предпочтительно составляет 30 мм2 или менее и более предпочтительно 20 мм2 или менее и предпочтительно составляет 1 мм2 или более и 30 мм2 или менее и более предпочтительно 3 мм2 или более и 20 мм2 или менее.
[0043]
Проникающее отверстие 6 по данному варианту осуществления является удлиненным в продольном направлении Р, но может быть удлиненным в боковом направлении Q. По вышеописанным соображениям размеры проникающего отверстия 6 предпочтительно находятся в нижеуказанных пределах.
Длина L6 проникающего отверстия 6 в продольном направлении Р предпочтительно составляет 0,1 или более и более предпочтительно 1 или более от длины W6 в боковом направлении Q, предпочтительно превышает в 5 раз или менее и более предпочтительно в 1,5 раза или менее длину W6 в боковом направлении Q и предпочтительно составляет 0,1 или более от длины W6 и превышает длину W6 в 5 раз или менее и более предпочтительно составляет 1 или более от длины W6 и превышает длину W6 в 1,5 раза или менее.
Длина L6 проникающего отверстия 6 в продольном направлении Р предпочтительно составляет 1 мм или более и более предпочтительно 1,5 мм или более, предпочтительно составляет 5 мм или менее и более предпочтительно 4,5 мм или менее и предпочтительно составляет 1 мм или более и 5 мм или менее и более предпочтительно 1,5 мм или более и 4,5 мм или менее.
Длина W6 проникающего отверстия 6 в боковом направлении Q предпочтительно составляет 1 мм или более и более предпочтительно 1,5 мм или более, предпочтительно составляет 9 мм или менее и более предпочтительно 3 мм или менее и предпочтительно составляет 1 мм или более и 9 мм или менее и более предпочтительно 1,5 мм или более и 3 мм или менее.
Размеры проникающего отверстия 6 определены как средние значения размеров (например, площадей) 10 проникающих отверстий 6, произвольно выбранных в образце для измерений (квадрате с длиной стороны, составляющей 10 см), вырезанном из произвольно выбранного места верхнего листа 10.
[0044]
По соображениям, связанным с дополнительным предотвращением смещения положения верхнего листа 10, верхний лист 10 предпочтительно содержит в качестве волокон, находящихся в зоне 20 с ориентированными волокнами (внутризонных волокон 21), волокна, наружные боковые части которых расплавлены и у которых диаметр волокна меньше, чем у остальных волокон. Такие внутризонные волокна 21 имеют меньший диаметр волокна, чем другие составляющие волокна в верхнем листе 10, и имеют наружные боковые части, которые расплавлены и имеют неправильную форму, посредством чего внутризонные волокна 21 могут быть легко спутаны с составляющими волокнами контактирующего волокнистого листа, и сцепление между внутризонными волокнами и данными составляющими волокнами может быть дополнительно улучшено.
«Волокна, наружные боковые части которых расплавлены и у которых диаметр волокна меньше, чем у остальных волокон», из внутризонных волокон 21 в дальнейшем также упоминаются как «внутризонные тонкие волокна 22».
Наличие внутризонных тонких волокон 22 может быть подтверждено нижеприведенным методом.
[0045]
[Метод подтверждения наличия внутризонных тонких волокон 22]
Проникающее отверстие 6 вырезают вместе с частью, периферийной по отношению к нему, так, чтобы была включена зона 20 с ориентированными волокнами, посредством чего получают образец. После этого образец прикрепляют к подставке для образца, используя бумажную двустороннюю липкую ленту (произведенную компанией NICHIBAN Co., Ltd., NICETACK NW-15). После этого образец покрывают платиной. Нанесение покрытия выполняют, используя устройство E-1030 (торговое наименование) для ионного напыления, произведенное компанией Hitachi Naka Seiki Co., Ltd., при длительности напыления, составляющей 30 секунд. После этого зону 20 с ориентированными волокнами в образце осматривают при 1000-кратном увеличении, используя автоэлектронный сканирующий микроскоп S-4000, произведенный компанией Hitachi, Ltd., и внутризонные тонкие волокна 22 определяют исходя из отличия в диаметре волокон от волокон, расположенных в части, периферийной по отношению к проникающему отверстию 6. При таком осмотре можно удостовериться в наличии плавленых частей на поверхности внутризонных тонких волокон 22. В частности, когда верхний лист 10 содержит двухкомпонентные волокна с сердцевиной и оболочкой в качестве составляющих волокон, двухкомпонентные волокна с сердцевиной и оболочкой имеют тенденцию становиться внутризонными тонкими волокнами 22. Поскольку данные внутризонные тонкие волокна 22 находятся в состоянии, в котором компонент, образующий оболочку, расплавлен и сердцевинный компонент открыт для воздействия, внутризонные тонкие волокна 22 имеют меньший диаметр волокон, чем другие составляющие волокна.
[0046]
По соображениям, связанным с облегчением спутывания с составляющими волокнами волокнистого листа, диаметр волокон, представляющих собой внутризонные тонкие волокна 22 в верхнем листе 10, предпочтительно составляет 40% или более и более предпочтительно 50% или более, предпочтительно составляет 80% или менее и более предпочтительно 70% или менее и предпочтительно составляет 40% или более и 80% или менее и более предпочтительно 50% или более и 70% или менее от диаметра волокон, представляющих собой волокна, находящиеся в части, отличной от зоны 20 с ориентированными волокнами в верхнем листе 10.
По вышеописанным соображениям диаметр волокон, представляющих собой внутризонные тонкие волокна 22 в верхнем листе 10, предпочтительно составляет 3 мкм или более и более предпочтительно 4 мкм или более, предпочтительно составляет 7 мкм или менее и более предпочтительно 6 мкм или менее и предпочтительно составляет 3 мкм или более и 7 мкм или менее и более предпочтительно 4 мкм или более и 6 мкм или менее.
Диаметр волокон, представляющих собой внутризонные тонкие волокна 22, определяют как среднее значение, полученное посредством осмотра внутризонных тонких волокон 22 так же, как в [Методе подтверждения наличия внутризонных тонких волокон 22], и измерения 10 длин в направлении ширины, ортогональном к направлению длины волокон 22. Кроме того, диаметр волокон, представляющих собой волокна, находящиеся в части, отличной от зоны 20 с ориентированными волокнами, определяют как среднее значение, полученное посредством выбора 10 волокон, расположенных в части, периферийной по отношению к проникающему отверстию 6, осматриваемому в [Методе подтверждения наличия внутризонных тонких волокон 22], и измерения длин в направлении ширины выбранных волокон относительно направления их длины.
[0047]
Внутризонные тонкие волокна 22 и внутризонные волокна 21, имеющие больший диаметр волокон, чем внутризонные тонкие волокна 22, могут иметься вместе в одной зоне 20 с ориентированными волокнами, или все волокна в зоне 20 с ориентированными волокнами могут представлять собой внутризонные тонкие волокна 22.
По соображениям, связанным с облегчением спутывания с составляющими волокнами волокнистого листа, число внутризонных тонких волокон 22 в одном проникающем отверстии 6 в поле обзора при осмотре проникающего отверстия 6 на виде в плане составляет 1 или более, предпочтительно 2 или более и более предпочтительно 5 или более, предпочтительно составляет 30 или менее и более предпочтительно 20 или менее и предпочтительно составляет 2 или более и 30 или менее и более предпочтительно 5 или более и 20 или менее.
[0048]
Зона 20 с ориентированными волокнами может быть образована во всех проникающих отверстиях 6 в верхнем листе 10 или может быть образована в некоторых из проникающих отверстий 6.
По соображениям, связанным с дополнительным повышением проницаемости верхнего листа 10 для выделений и дополнительным предотвращением контакта выделений с кожей, определяемое в расчете на единицу площади (площадь зоны, представляющей собой квадрат на виде в плане с длиной стороны, составляющей 10 мм) число проникающих отверстий 6 в верхнем листе 10, в которых зона 20 с ориентированными волокнами образована на части открытого края 6е, предпочтительно составляет 10% или более и более предпочтительно 40% или более от общего числа проникающих отверстий 6 в расчете на единицу площади, и зона 20 с ориентированными волокнами более предпочтительно образована во всех проникающих отверстиях 6.
По вышеописанным соображениям определяемое в расчете на единицу площади (площадь зоны, представляющей собой квадрат на виде в плане с длиной стороны, составляющей 10 мм) число проникающих отверстий 6 в верхнем листе 10, в которых зона 20 с ориентированными волокнами образована на части открытого края 6е, предпочтительно составляет 2 или более и более предпочтительно 4 или более и предпочтительно составляет 20 или менее и более предпочтительно 15 или менее.
[0049]
По соображениям, связанным с текстурой и характеристиками пружинения, верхний лист 10 по данному варианту осуществления предпочтительно имеет нижеуказанную конфигурацию.
Высота Н (см. фиг.4) выступа 5 предпочтительно составляет 1 мм или более и более предпочтительно 3 мм или более, предпочтительно составляет 10 мм или менее и более предпочтительно 6 мм или менее и предпочтительно составляет 1 мм или более и 10 мм или менее и более предпочтительно 3 мм или более и 6 мм или менее.
Число выступов 5 в верхнем листе 10 в расчете на единицу площади (1 см2) предпочтительно составляет 1 или более и более предпочтительно 6 или более, предпочтительно составляет 20 или менее и более предпочтительно 15 или менее и предпочтительно составляет 1 или более и 20 или менее и более предпочтительно 6 или более и 15 или менее.
Площадь нижней части выступа 5 предпочтительно составляет 0,5 мм2 или более и более предпочтительно 2 мм2 или более, предпочтительно составляет 50 мм2 или менее и более предпочтительно 20 мм2 или менее и предпочтительно составляет 0,5 мм2 или более и 50 мм2 или менее и более предпочтительно 2 мм2 или более и 20 мм2 или менее.
[0050]
Далее будет подробно описан волокнистый лист согласно настоящему изобретению.
В подгузнике 11 по данному варианту осуществления волокнистый лист, расположенный рядом с верхним листом 10, представляет собой подслой 15, расположенный между верхним листом 10 и впитывающим элементом 14, но не ограничен вышеуказанным. Например, волокнистый лист может представлять собой лист 141 для обертывания сердцевины, образующий поверхность впитывающего элемента. В этом случае подгузник 11 выполнен с конфигурацией, в которой подслой 15 не предусмотрен и лист 141 для обертывания сердцевины как волокнистый лист расположен рядом с верхним листом 10.
[0051]
Предпочтительно, чтобы волокнистый лист, расположенный рядом с верхним листом 10, имел множество углублений и выступов, в которых составляющие волокна волокнистого листа и внутризонные волокна 21 легко спутываются для дополнительного улучшения их сцепления в зоне 20 с ориентированными волокнами. Подслой 15 по данному варианту осуществления имеет множество углублений 151 и выступов 152. В частности, подслой 15 имеет множество выступов 152, выступающих по направлению к поверхности, обращенной к коже, и имеющих полую внутреннюю часть, и углубления 151, расположенные между множеством выступов 152. Множество углублений 151 и выступов 152 расположены попеременно и непрерывно в продольном направлении Р и боковом направлении Q. Подслой 15 имеет множество выступов 152, выступающих по направлению к поверхности, обращенной к коже, и имеющих внутреннее пространство S1, и углубления 151, расположенные между множеством выступов 152, и, кроме того, имеет множество выступов 155, которые расположены со стороны, не обращенной к коже, выступают по направлению к поверхности, не обращенной к коже, и имеют внутреннее пространство S2, и углубления 154, который расположены со стороны, не обращенной к коже, и расположены между множеством выступов 155, расположенных со стороны, не обращенной к коже (см. фиг.8). Конфигурация с выступами и углублениями, образованная на поверхности подслоя 15, обращенной к коже, посредством выступов 152 и углублений 151, соответствует конфигурации с выступами и углублениями, образованной на поверхности подслоя 15, не обращенной к коже, посредством выступов 155, расположенных со стороны, не обращенной к коже, и углублений 154, расположенных со стороны, не обращенной к коже. Другими словами, на поверхности подслоя 15, не обращенной к коже, множество углублений 154, расположенных со стороны, не обращенной к коже, и выступов 155, расположенных со стороны, не обращенной к коже, расположены попеременно и непрерывно в продольном направлении Р и боковом направлении Q. В качестве подслоя 15, имеющего такую конфигурацию, можно использовать промежуточный лист, раскрытый в JP2019-97678A.
[0052]
По соображениям, связанным с облегчением спутывания составляющих волокон волокнистого листа с внутризонными волокнами 21, предпочтительно, чтобы в волокнистом листе, имеющем множество углублений и выступов, волокна, находящиеся в выступах, были ориентированы в продольном направлении Р. В такой конфигурации волокна, находящиеся в выступах, образуют угол в пределах ±30° относительно продольного направления Р. Кроме того, предпочтительно, чтобы волокна, образующие поверхности выступов, способные входить в контакт с верхним листом 10, были ориентированы в продольном направлении Р. Другими словами, на поверхности выступа волокна выступа предпочтительно ориентированы в продольном направлении Р в одной или более частей из верхней части, нижней части и промежуточной части, расположенной между верхней частью и нижней частью выступа.
[0053]
Ориентацию волокон в выступах волокнистого листа, то есть угол, образованный между волокнами и продольным направлением Р, можно подтвердить нижеприведенным методом. Сначала образец для измерений, имеющий длину 10 см в продольном направлении и длину 10 см в боковом направлении, вырезают из волокнистого листа. Образец для измерений вырезают так, чтобы он имел множество выступов. После этого выступы в образце для измерений осматривают при увеличении в 60-200 раз, используя микроскоп (например, цифровой микроскоп VHX-1000, произведенный компанией KEYENCE CORPORATION). Такой осмотр выполняют для выступа, образованного на поверхности, обращенной к верхнему листу 10. После этого для каждого произвольно выбранного волокна, наблюдаемого в пределах фиксированной зоны осмотра (например, квадрата с длиной стороны, составляющей 5 см), фиксируют две точки, между которыми длина волокна является максимальной в пределах данной зоны. После этого измеряют угол между прямой линией, соединяющей данные две точки, и продольным направлением Р. Такое измерение выполняют для по меньшей мере трех зон осмотра, и направление ориентации волокон получают из среднеарифметического значения углов, измеренных для в общей сложности 30 или более волокон. При определении ориентации волокон предпочтительно выполнять осмотр при увеличении, которое позволяет увидеть 10 или более волокон в зоне осмотра.
[0054]
По соображениям, связанным с содействием образованию контакта между волокнами выступов и внутризонными волокнами 21 и дополнительным предотвращением смещения положения верхнего листа 10, предпочтительно, чтобы один или более выступов в волокнистом листе перекрывали проникающее отверстие 6 верхнего листа 10. В этом случае выступы и проникающее отверстие 6 могут перекрываться по меньшей мере частично. В подслое 15 по данному варианту осуществления два или более выступов 152 перекрывают проникающее отверстие 6 верхнего листа 10 (см. фиг.7).
[0055]
По соображениям, связанным с дополнительным усилением вышеуказанных эффектов, предпочтительно, чтобы размеры выступов 152 в подслое 15 (волокнистом листе) находились в нижеуказанных пределах. Размеры выступов 152 измеряют при отсутствии нагрузки посредством осмотра сечения подслоя 15, выполненного в направлении толщины, с помощью микроскопа.
Длина L7 (см. фиг.7) выступа 152 в продольном направлении Р предпочтительно составляет 50% или более и более предпочтительно 100% или более, предпочтительно составляет 400% или менее и более предпочтительно 200% или менее и предпочтительно составляет 50% или более и 400% или менее и более предпочтительно 100% или более и 200% или менее от длины L6 (см. фиг.5) проникающего отверстия 6 в продольном направлении Р.
Длина L7 (см. фиг.7) выступа 152 в продольном направлении Р предпочтительно составляет 2 мм или более и более предпочтительно 4 мм или более, предпочтительно составляет 10 мм или менее и более предпочтительно 8 мм или менее и предпочтительно составляет 2 мм или более и 10 мм или менее и более предпочтительно 4 мм или более и 8 мм или менее.
Высота Н1 (см. фиг.7) выступа 152 предпочтительно составляет 1 мм или более и более предпочтительно 3 мм или более, предпочтительно составляет 10 мм или менее и более предпочтительно 6 мм или менее и предпочтительно составляет 1 мм или более и 10 мм или менее и более предпочтительно 3 мм или более и 6 мм или менее.
[0056]
В подгузнике 11 по данному варианту осуществления верхняя часть выступа 152 на поверхности подслоя 15, обращенной к коже, находится в контакте с верхним листом 10 (см. фиг.7). Кроме того, поверхность углубления 151 на поверхности подслоя 15, не обращенной к коже, не находится в контакте с верхним листом 10. Таким образом, подслой 15 имеет на поверхности, обращенной к коже, контактирующие части, расположенные со стороны, обращенной к коже, которые контактируют с верхним листом 10, и неконтактирующие части, расположенные со стороны, обращенной к коже, которые не контактируют с верхним листом 10. Как описано выше, поскольку множество углублений 151 и выступов 152 расположены попеременно и непрерывно в продольном направлении Р и боковом направлении Q на поверхности подслоя 15, обращенной к коже, контактирующие части, расположенные со стороны, обращенной к коже, отделены друг от друга в двух направлениях из продольного направления Р и бокового направления Q (см. фиг.8).
[0057]
В подгузнике 11 по данному варианту осуществления верхняя часть выступа 155, расположенного со стороны, не обращенной к коже, на поверхности подслоя 15, не обращенной к коже, находится в контакте с впитывающим элементом 14 (см. фиг.7). Кроме того, поверхность углубления 154, расположенного со стороны, не обращенной к коже, на поверхности подслоя 15, не обращенной к коже, не находится в контакте с впитывающим элементом 14. Таким образом, подслой 15 имеет на поверхности, не обращенной к коже, контактирующие части, расположенные со стороны, не обращенной к коже, которые контактируют с впитывающим элементом 14, и неконтактирующие части, расположенные со стороны, не обращенной к коже, которые не контактируют с впитывающим элементом 14. Как описано выше, поскольку множество углублений 154, расположенных со стороны, не обращенной к коже, и выступов 155, расположенных со стороны, не обращенной к коже, расположены попеременно и непрерывно в продольном направлении Р и боковом направлении Q на поверхности подслоя 15, не обращенной к коже, контактирующие части, расположенные со стороны, не обращенной к коже, отделены друг от друга в двух направлениях из продольного направления Р и бокового направления Q.
[0058]
В подслое 15 контактирующие части, расположенные со стороны, обращенной к коже, предпочтительно окружены соответствующими неконтактирующими частями, расположенными со стороны, обращенной к коже (см. фиг.8). При такой конфигурации непрерывное пространство, в котором пространства S2 углублений 151 как неконтактирующих частей, расположенных со стороны, обращенной к коже, соединены друг с другом, образуется в направлении в плоскости. Данное непрерывное пространство эффективно повышает способность к обеспечению диффузии жидких фекалий. Пространство S2 углубления 151 также представляет собой внутреннее пространство S2 выступа 155, расположенного со стороны, не обращенной к коже.
В подслое 15 контактирующие части, расположенные со стороны, не обращенной к коже, предпочтительно окружены соответствующими неконтактирующими частями, расположенными со стороны, не обращенной к коже (см. фиг.8). При такой конфигурации непрерывное пространство, в котором пространства S1 углублений 154, расположенных со стороны, не обращенной к коже, как неконтактирующих частей, расположенных со стороны, не обращенной к коже, соединены друг с другом, образуется в направлении в плоскости. Данное непрерывное пространство также эффективно повышает способность к обеспечению диффузии жидких фекалий. Пространство S1 углубления 154, расположенного со стороны, не обращенной к коже, также представляет собой внутреннее пространство S1 выступа 152.
Пространство S2 между подслоем 15 и верхним листом 10 и пространство S1 между подслоем 15 и впитывающим элементом 14 не включают зазоры между составляющими волокнами, образующими подслой 15. В частности, данные пространства не включают малые зазоры с межволоконным расстоянием, составляющим от приблизительно 0,01 мм до 0,2 мм.
[0059]
По соображениям, связанным с дополнительным повышением способности к обеспечению диффузии жидких фекалий, расстояние между контактирующими частями, расположенными со стороны, не обращенной к коже, и ближайшими друг к другу, предпочтительно составляет 0,5 мм или более и более предпочтительно 1 мм или более, предпочтительно составляет 10 мм или менее и более предпочтительно 8 мм или менее и предпочтительно составляет 0,5 мм или более и 10 мм или менее и более предпочтительно 1 мм или более и 8 мм или менее, если смотреть на подслой 15 на виде в плане со стороны впитывающего элемента 14, которая представляет собой сторону поверхности, не обращенной к коже.
По вышеописанным соображениям расстояние между контактирующими частями, расположенными со стороны, обращенной к коже, и ближайшими друг к другу, предпочтительно находится в пределах расстояний, равных расстоянию между контактирующими частями, расположенными со стороны, не обращенной к коже, и ближайшими друг к другу, если смотреть на подслой 15 на виде в плане со стороны верхнего листа 15, которая представляет собой сторону поверхности, обращенной к коже. Расстояние между контактирующими частями, расположенными со стороны, обращенной к коже, и соседними друг с другом, и расстояние между контактирующими частями, расположенными со стороны, не обращенной к коже, и соседними друг с другом, определяют нижеприведенным методом.
[0060]
Сначала образец с размерами 50 мм (в боковом направлении Q) × 50 мм (в продольном направлении Р) вырезают из подслоя 15 в качестве образца для измерений. Образец для измерений размещают так, чтобы поверхность, не обращенная к коже, была обращена вверх в состоянии без сдавливания, прозрачную акриловую пластину с массой 50 г размещают на образце для измерений, и груз массой 700 г дополнительно устанавливают на акриловой пластине. После этого в состоянии, в котором приложена нагрузка, составляющая 30 гс/см2, форму поверхности образца для измерений определяют, используя высокопрецизионную систему KS-1100 для определения формы, произведенную компанией KEYENCE CORPORATION. Зону с размерами 40 мм (в направлении CD) × 40 мм (в направлении MD) измеряют при следующих условиях измерения: шаг измерения составляет 50 мкм и скорость перемещения составляет 10 см/с, и захватывают изображение. После этого изображение анализируют, используя прикладное программное обеспечение KS-Analyzer для анализа формы, произведенное компанией KEYENCE CORPORATION, для выделения места, в котором получена максимальная толщина, и места, в котором толщина отличается от максимальной толщины на 500 мкм или менее. Зоны, выделенные таким образом, определяют как контактирующие части, расположенные со стороны, не обращенной к коже. Зоны, отличные от выделенных зон (места, в которых толщина отличается от максимальной толщины более чем на 500 мкм), определяют как неконтактирующие части, расположенные со стороны, не обращенной к коже. Контактирующие части, расположенные со стороны, не обращенной к коже, и неконтактирующие части, расположенные со стороны, не обращенной к коже, подвергают обработке для бинаризации. В частности, изображение захватывают посредством Image-Pro Plus (произведенного компанией NIPPON ROPER K.K.), черно-белый контраст задают равным 100 при усилении контраста, и шум удаляют посредством фильтрации (медианной, 5 × 5 выполняют пять раз). После этого линию, соединяющую центры тяжести контактирующих частей, которые расположены со стороны, не обращенной к коже, и являются соседними друг с другом, вычерчивают для бинаризованного изображения. Центр тяжести контактирующей части, расположенной со стороны, не обращенной к коже, получают следующим образом: вертикальную линию, которая перпендикулярна к диаметральной линии, соответствующей диаметру Фере одной контактирующей части, расположенной со стороны, не обращенной к коже, вычерчивают так, чтобы она проходила через центр расстояния, соответствующего диаметру Фере, и середину между двумя точками, в которых данная вертикальная линия пересекает граничную поверхность контактирующей части, принимают в качестве центра тяжести. Таким образом, вычерчивают линию, соединяющую центры тяжести контактирующих частей, ближайших друг к другу, измеряют расстояние между линиями, и полученное измеренное значение принимают в качестве расстояния между контактирующими частями, расположенными со стороны, не обращенной к коже, и соседними друг с другом.
Расстояние между контактирующими частями, расположенными со стороны, обращенной к коже, и соседними друг с другом, определяют посредством размещения образца для измерений так, чтобы поверхность, обращенная к коже, была обращена вверх, и последующего измерения расстояния между контактирующими частями, расположенными со стороны, не обращенной к коже, и соседними друг с другом, таким же способом. Предполагается, что нагрузка, составляющая 30 гс/см2, представляет собой давление (расчетное давление), которое будет приложено к задней части подгузника, когда младенец, возраст которого составляет несколько месяцев, носит подгузник 11 и спит в состоянии лежа на спине при ношении подгузника.
[0061]
В качестве волокнистого листа, такого как подслой 15, можно использовать гидрофильный лист, проницаемый для жидкостей; конкретные примеры вышеуказанного включают бумагу, тканые материалы и нетканые материалы, и нетканые материалы являются особенно предпочтительными, поскольку они обладают относительно высокой прочностью и очень хорошей мягкостью. Примеры нетканых материалов могут включать без ограничения нетканые материалы, описанные выше. По соображениям, связанным с облегчением спутывания с внутризонными волокнами 21, волокнистый лист предпочтительно содержит нетканый материал, скрепленный пропусканием воздуха насквозь. В этом случае волокнистый лист может быть образован из нетканого материала, скрепленного пропусканием воздуха насквозь, или может быть образован из многослойного нетканого материала, в котором нетканый материал, скрепленный пропусканием воздуха насквозь, и другой нетканый материал наложены друг на друга в виде слоев.
[0062]
Подслой 15 (волокнистый лист) по данному варианту осуществления имеет однослойную структуру, но в альтернативном варианте может иметь многослойную структуру, в которой множество слоев наложены друг на друга в виде стопы. Форма выступов и углублений подслоя 15 может представлять собой, например, коническую форму, такую как форма круглого конуса, форму усеченного конуса, форму пирамиды, форму усеченной пирамиды или форму наклонного конуса. Примеры способов получения подслоя 15 могут включать способы, раскрытые в JP2013-133574A, JP2012-149370A и JP2012-149371A.
[0063]
Далее будет описан способ изготовления верхнего листа по настоящему изобретению, при этом способ изготовления верхнего листа 10 по представленному варианту осуществления, описанному выше, рассматривается в качестве примера. Фиг.9 показывает производственное устройство 100 в качестве варианта осуществления устройства для изготовления верхнего листа согласно настоящему изобретению. Производственное устройство 100 включает в себя устройство 30 формирования выступов и углублений и устройство 40 ультразвуковой обработки.
[0064]
Устройство 30 формирования выступов и углублений включает в себя валик 31 для тиснения, который имеет форму с выступами и углублениями на его периферийной поверхности. В устройстве 30 формирования выступов и углублений обеспечивается «копирование» первым листом 1 формы периферийной поверхности валика 31 для тиснения, который вращается, и, следовательно, первый лист 1 деформируется для придания ему формы с выступами и углублениями, которая соответствует форме периферийной поверхности с выступами и углублениями.
[0065]
Помимо валика 31 для тиснения устройство 30 формирования выступов и углублений дополнительно включает в себя другой валик 32 для тиснения, который имеет форму с выступами и углублениями на его периферийной поверхности, при этом выступы и углубления валика 32 для тиснения выполнены с возможностью зацепления с выступами и углублениями валика 31 для тиснения.
В дальнейшем валик 31 для тиснения также может упоминаться как «первый валик», и валик 32 для тиснения также может упоминаться как «второй валик».
В устройстве 30 формирования выступов и углублений, показанном на фиг.9, используются два валика 31 и 32, и данное устройство обеспечивает деформирование первого листа 1 для придания ему формы с выступами и углублениями, которая соответствует форме с выступами и углублениями периферийной поверхности валика 31 для тиснения, посредством вращения двух валиков 31 и 32 так, что образуется часть 33 с зацеплением между поверхностями с выступами и углублениями соответствующих валиков 31 и 32, и подачи первого листа 1 в часть 33 с зацеплением.
[0066]
Фиг.10 показывает часть периферийной поверхности валика 31 для тиснения (первого валика).
Валик 31 для тиснения образован посредством объединения множества прямозубых цилиндрических зубчатых колес 31a, 31b, …, имеющих заданную ширину зуба, в элемент в виде валика. Зубья зубчатых колес образуют выступы 35 конфигурации с выступами и углублениями на периферийной поверхности валика 31 для тиснения, и поверхности 35с передних концов выступов 35 образуют поверхности приложения давления, которые обеспечивают приложение давления к первому и второму листам 1 и 2, которые подлежат сплавлению друг с другом, между поверхностью 42t приложения вибрации, - которая образована поверхностью переднего конца ультразвукового рупора 42 машины 41 для ультразвукового сплавления, которая будет описана позднее, - и самими поверхностями приложения давления.
[0067]
Ширина зуба (длина в аксиальном направлении зубчатых колес) зубчатых колес, образующих валик 31 для тиснения, определяет длину выступов 5 верхнего листа 10 в направлении Q, и длина (длина в направлении вращения зубчатых колес) зубьев зубчатых колес определяет длину выступов 5 верхнего листа 10 в направлении Р.
Соседние зубчатые колеса соединены так, что зубья одного из зубчатых колес смещены на половину шага зубьев относительно зубьев другого зубчатого колеса. В результате периферийная поверхность валика 31 для тиснения имеет форму/конфигурацию с выступами и углублениями.
В варианте, показанном на фигуре, каждая из поверхностей 35с передних концов выступов 35 имеет прямоугольную форму с длинными сторонами, проходящими в направлении вращения валика 31 для тиснения, и короткими сторонами, проходящими в его аксиальном направлении.
Предпочтительно, чтобы каждая из поверхностей 35с передних концов имела форму с большей длиной в направлении вращения, поскольку время, в течение которого каждый выступ 35 валика 31 для тиснения будет находиться в контакте с поверхностью 42t, предназначенной для приложения вибрации и образованной на передней концевой части ультразвукового рупора 42, может быть увеличено, и, следовательно, может быть легко обеспечено повышение температуры.
[0068]
Впадины зубчатых колес валика 31 для тиснения образуют углубления в конфигурации с выступами и углублениями на периферийной поверхности валика 31 для тиснения.
Всасывающие отверстия 34 образованы в доньях впадин (дне впадин) зубчатых колес. Всасывающие отверстия 34 сообщаются с источником всасывающего усилия (непоказанным), таким как воздуходувка или вакуумный насос, и регулирование выполняется так, чтобы всасывающее усилие было приложено между частью 33 с зацеплением, в которой валики 31 и 32 для тиснения входят в зацепление друг с другом, и частью, в которой первый лист 1 соединяется со вторым листом 2.
Соответственно, первый лист 1, который был деформирован для придания ему формы с выступами и углублениями посредством зацепления между валиками 31 и 32 для тиснения, перемещается к части, в которой первый лист 1 соединяется со вторым листом 2, и к части 36, которая предназначена для приложения ультразвуковой вибрации и в которой машина 41 для ультразвукового сплавления обеспечивает приложение ультразвуковой вибрации к листам, при этом всасывающее усилие, приложенное посредством всасывающих отверстий 34, обеспечивает удерживание первого листа 1 в состоянии, в котором он деформирован с формой, которая соответствует форме с выступами и углублениями периферийной поверхности валика 31 для тиснения.
В валике 31 для тиснения, показанном на фиг.10, предусмотрен заданный зазор G между соседними зубчатыми колесами, и данная конфигурация подавляет возникновение проблем, таких как приложение чрезмерного растягивающего усилия к первому листу 1 или разрезание первого листа 1 в части 33 с зацеплением двух валиков 31 и 32. Следовательно, первый лист 1 может быть легко деформирован для придания ему формы с выступами и углублениями, которая соответствует форме периферийной поверхности валика 31 для тиснения.
[0069]
Валик 32 для тиснения (второй валик) имеет на периферийной поверхности форму с выступами и углублениями, которые выполнены с возможностью зацепления с выступами и углублениями на периферийной поверхности валика 31 для тиснения. Валик 32 для тиснения имеет такую же конфигурацию, как валик 31 для тиснения, за исключением того, что валик 32 для тиснения не имеет всасывающих отверстий 34.
Следует отметить, что валик 31 для тиснения и валик 32 для тиснения могут иметь разные диаметры при условии, что конфигурации с выступами и углублениями двух валиков 31 и 32 могут обеспечить их зацепление друг с другом. Первый лист 1 может быть деформирован для придания ему формы с выступами и углублениями посредством подачи первого листа 1 в часть 33 с зацеплением двух валиков 31 и 32 при одновременном вращении двух валиков 31 и 32, имеющих конфигурации с выступами и углублениями, которые могут обеспечить их зацепление друг с другом.
В части 33 с зацеплением множество участков первого листа 1 вдавливаются в углубления на периферийной поверхности валика 31, имеющего форму с выступами и углублениями, посредством выступов валика 32 для тиснения, и участки, вдавленные в углубления, образуют выступы 5 верхнего листа 10, подлежащего изготовлению.
Несмотря на то, что множество выступов, которые могут быть вставлены в углубления валика 31 для тиснения, образованы на периферийной поверхности валика 32 для тиснения, валик 32 для тиснения необязательно должен иметь выступы, соответствующие всем углублениям валика 31 для тиснения.
[0070]
Как описано выше, устройство 30 формирования выступов и углублений, показанное на фиг.9, включает в себя два валика для тиснения, имеющих конфигурации с выступами и углублениями на их соответствующих периферийных поверхностях, и выполнено с возможностью деформирования первого листа 1 для придания ему формы с выступами и углублениями посредством вращения двух валиков 31 и 32 для тиснения так, чтобы была образована часть 33 с зацеплением между выступами и углублениями двух валиков 31 и 32, и подачи первого листа 1 в часть 33 с зацеплением. Однако устройство 30 формирования выступов и углублений может включать в себя только валик 31 для тиснения, который выполнен с возможностью всасывания первого листа 1, поданного на периферийную поверхность валика 31 для тиснения, или, другими словами, валик 32 для тиснения может быть исключен. В этом случае при простой подаче первого листа 1 на периферийную поверхность валика 31 для тиснения всасывающее усилие, приложенное посредством всасывающих отверстий 34 (см. фиг.10), расположенных на периферийной поверхности, обеспечивает деформирование первого листа 1 так, что первый лист 1 будет «копировать» форму с выступами и углублениями периферийной поверхности. Такое копирование и деформирование первого листа 1, возникающие в результате всасывания первого листа 1 по направлению к периферийной поверхности валика 31 для тиснения, могут быть обеспечены посредством соответствующего регулирования всасывающего усилия, схемы расположения всасывающих отверстий 34 и тому подобного.
[0071]
Устройство 40 ультразвуковой обработки включает в себя машину 41 для ультразвукового сплавления, снабженную ультразвуковым рупором 42, и выполнено с возможностью образования проникающих отверстий 6 и сплавления первого листа 1 и второго листа 2 посредством наложения второго листа 2 на первый лист 1, который был деформирован для придания ему формы с выступами и углублениями, зажима двух листов 1 и 2 между выступами 35 валика 31 для тиснения и поверхностью 42t, предназначенной для приложения вибрации и образованной на передней концевой части ультразвукового рупора 42, и приложения ультразвуковой вибрации к листам 1 и 2. Кроме того, зона 20 с ориентированными волокнами образуется на части открытого края 6е проникающего отверстия 6.
[0072]
Как показано на фиг.9 и 11, машина 41 для ультразвукового сплавления включает в себя генератор ультразвуковых волн (непоказанный), преобразователь 43, усилитель 44 и ультразвуковой рупор 42.
Генератор ультразвуковых волн (непоказанный) электрически соединен с преобразователем 43, и высоковольтный электрический сигнал, генерируемый генератором ультразвуковых волн и имеющий длину волны с частотой от приблизительно 15 до 50 кГц, подается в преобразователь 43.
Генератор ультразвуковых волн (непоказанный) установлен на подвижной опоре 45 или снаружи подвижной опоры 45.
[0073]
Преобразователь 43 включает в себя пьезоэлектрический элемент, такой как пьезоэлектрический элемент, и преобразует электрический входной сигнал от генератора ультразвуковых колебаний в механическую вибрацию посредством использования пьезоэлектрического элемента. Усилитель 44 регулирует, предпочтительно увеличивает амплитуду механической вибрации, передаваемой от преобразователя 43, и передает отрегулированную механическую вибрацию ультразвуковому рупору 42.
Ультразвуковой рупор 42 изготовлен из куска металла, такого как алюминиевый сплав или титановый сплав, и предназначен для обеспечения надлежащего резонанса при используемой частоте.
Ультразвуковая вибрация, передаваемая от усилителя 44 ультразвуковому рупору 42, также усиливается или демпфируется внутри ультразвукового рупора 42 и после этого подается к первому и второму листам 1 и 2, которые подлежат сплавлению друг с другом. В качестве такой машины 41 для ультразвукового сплавления можно использовать комбинацию ультразвукового рупора, преобразователя, усилителя и генератора ультразвуковых колебаний, которые промышленно изготавливаются и имеются на рынке.
[0074]
Машина 41 для ультразвукового сплавления закреплена на подвижной опоре 45, и зазор между поверхностью 42t приложения вибрации, которая представляет собой поверхность переднего конца ультразвукового рупора 42, и поверхностями 35с передних концов выступов 35 первого валика 31, а также приложенное давление, которое приложено к наложенным друг на друга, первому и второму листам 1 и 2, можно регулировать посредством смещения положения подвижной опоры 45 для ее приближения к или удаления от периферийной поверхности валика 31 для тиснения.
Во время приложения давления к первому и второму листам 1 и 2, которые подлежат сплавлению друг с другом и которые зажаты между поверхностями 35с передних концов выступов 35 валика 31 для тиснения и поверхностью 42t, предназначенной для приложения вибрации и образованной на передней концевой части ультразвукового рупора 42 машины 41 для ультразвукового сплавления, обеспечивается приложение ультразвуковой вибрации к двум листам 1 и 2. Таким образом, участки двух листов 1 и 2, расположенные на поверхностях 35с передних концов выступов 35, выделяют тепло, и первый лист 1 и/или второй лист 2 расплавляются и после этого снова затвердевают. В результате образуются проникающие отверстия 6, проходящие сквозь два листа 1 и 2, и части, скрепленные методом сплавления и соединяющие два листа 1 и 2. Часть, скрепленная методом сплавления, образуется вдоль открытого края 6е проникающего отверстия 6.
[0075]
Поверхность 42t приложения вибрации, образованная на передней концевой части ультразвукового рупора 42, образована поверхностью переднего конца узла 420 (см. фиг.11) ультразвукового рупора 42, изготовленного из металла, такого как алюминиевый сплав или титановый сплав, и входит в контакт с объектом, подлежащим сплавлению, или, более конкретно, со вторым листом 2.
[0076]
Производственное устройство 100 включает в себя средство 51 для предварительного нагрева, предназначенное для предварительного нагрева по меньшей мере одного из первого листа 1 и второго листа 2 до того, как ультразвуковая вибрация будет приложена к листам.
Средство 51 для предварительного нагрева предусмотрено внутри валика 31 для тиснения (первого валика) и проходит параллельно оси (CD) вращения валика 31 для тиснения.
Кроме того, множество средств 51 для предварительного нагрева расположены вокруг оси вращения валика 31 для тиснения, рядом с наружной периферийной частью валика 31 для тиснения и с интервалами в направлении вдоль окружности валика 31 для тиснения.
Любые элементы, которые могут обеспечить нагрев объекта, подлежащего нагреву (первого листа 1 и второго листа 2), посредством подвода тепловой энергии извне к нему, могут быть использованы в качестве средств 51 для предварительного нагрева. Примером вышеуказанного является патронный нагревательный элемент, в котором используется нагревательная проволока. Однако средство 51 для предварительного нагрева не ограничено этим, и известные нагревательные средства различных типов можно использовать без особого ограничения.
[0077]
Средство 51 для предварительного нагрева представляет собой часть устройства 50 для предварительного нагрева.
Устройство 50 для предварительного нагрева включает в себя помимо средства 51 для предварительного нагрева средство измерения температуры (непоказанное), выполненное с возможностью измерения температуры объекта, подлежащего сплавлению, до того, как ультразвуковая вибрация будет приложена к нему, и средство регулирования температуры (непоказанное), которое регулирует температуру средства 51 для предварительного нагрева на основе измеренных значений, полученных средством измерения температуры.
Температура, до которой периферийная поверхность валика 31 для тиснения нагревается с помощью средств 51 для предварительного нагрева, регулируется посредством блока регулирования температуры. Во время работы производственного устройства 100 устройство 50 для предварительного нагрева может поддерживать температуру первого листа 1, который подают в часть 36 для приложения ультразвуковой вибрации, в заданных пределах.
[0078]
Как показано на фиг.12, производственное устройство 100 включает в себя средство 61 нагрева рупора, предназначенное для нагрева ультразвукового рупора 42, включая поверхность 42t приложения вибрации.
Средство 61 нагрева рупора не предусмотрено на поверхности 42t приложения вибрации, но закреплено вблизи поверхности 42t приложения вибрации или, более конкретно, прикреплено к боковой поверхности передней концевой части ультразвукового рупора 42.
Известные средства нагрева различных типов, такие как нагреватель, можно использовать без особого ограничения в качестве средства 61 нагрева рупора.
[0079]
Средство 61 нагрева рупора представляет собой часть устройства 60 для нагрева рупора.
Устройство 60 для нагрева рупора включает в себя помимо средства 61 нагрева рупора средство измерения температуры (непоказанное), выполненное с возможностью измерения температуры поверхности 42t приложения вибрации, и средство регулирования температуры (непоказанное), которое регулирует температуру средства 61 нагрева рупора на основе измеренных значений, полученных средством измерения температуры.
Температура, до которой поверхность 42t приложения вибрации нагревается с помощью средства 61 нагрева рупора, регулируется посредством блока регулирования температуры. Во время работы производственного устройства 100 устройство 60 для нагрева рупора может поддерживать температуру поверхности 42t приложения вибрации в заданных пределах.
[0080]
Следует отметить, что машина 41 для ультразвукового сплавления обеспечивает приложение ультразвуковой вибрации к объекту, подлежащему сплавлению, посредством чего обеспечиваются выделение тепла и расплавление объекта и, следовательно, сплавление объекта, и четко отличается от вышеописанных средств 51 для предварительного нагрева и средства 61 нагрева рупора.
[0081]
В производственном устройстве 100 углубление 46 с формой канавки образовано на поверхности 42t ультразвукового рупора 42, предназначенной для приложения вибрации. Фиг.13 представляет собой схематический вид передней концевой части ультразвукового рупора 42 в разрезе, выполненном вдоль направления MD, и фиг.14 представляет собой схематический вид в плане поверхности 42t ультразвукового рупора 42, предназначенной для приложения вибрации. Фиг.13 представляет собой увеличенный вид в разрезе передней концевой части ультразвукового рупора 42, показанного на фиг.12.
Углубление 46 с формой канавки проходит вдоль оси (CD) вращения валика 31 для тиснения (первого валика). Выражение «проходит вдоль оси (CD) вращения» в контексте данного документа означает случай, когда угол между углублением 46 с формой канавки и осью (CD) вращения валика 31 для тиснения составляет менее 45°. Углубление 46 с формой канавки, показанное на фиг.14, проходит параллельно оси (CD) вращения, и угол между углублением 46 с формой канавки и осью (CD) вращения равен нулю.
[0082]
В производственном устройстве 100 одно углубление 46 с формой канавки образовано на поверхности 42t приложения вибрации. Как показано на фиг.14, данное одно углубление 46 с формой канавки расположено в середине длины поверхности 42t приложения вибрации, определяемой в направлении MD, и проходит на всей длине поверхности 42t приложения вибрации в направлении CD.
[0083]
На виде в разрезе, таком как показанный на фиг.13, выполненном вдоль направления (то есть направления MD), которое перпендикулярно к оси вращения валика 31 для тиснения, углубление 46 с формой канавки ограничено двумя заглубленными сторонами 46а и 46а и заглубленной нижней поверхностью 46b.
Две заглубленные стороны 46а и 46а пересекаются с поверхностью 42t приложения вибрации или, более конкретно, соединены с поверхностью 42t приложения вибрации и проходят в направлении от поверхности 42t приложения вибрации.
Заглубленная нижняя поверхность 46b соединена с соответствующими концами двух заглубленных сторон 46а и 46а, определяемыми в продольном направлении, и противоположна входной части 46d углубления 46 с формой канавки.
В ультразвуковом рупоре 42, показанном на фиг.12 (фиг.13) угловые зоны 46с в местах пересечения поверхности 42t приложения вибрации и соответствующих заглубленных сторон 46а являются заостренными, и на виде в разрезе, выполненном вдоль направления MD, заглубленная нижняя поверхность 46b имеет форму дуги, которая изогнута внутрь от входной части 46d.
В варианте, показанном на фиг.12 (фиг.13), угол образованный каждой заглубленной стороной 46а с поверхностью 42t приложения вибрации, составляет 90°, или, другими словами, угол каждой угловой зоны 46с составляет 90°.
[0084]
Способ изготовления верхнего листа 10 посредством использования производственного устройства 100, которое выполнено с вышеописанной конфигурацией, включает этап формирования, на котором во время вращения валика 31 для тиснения (первого валика), который имеет конфигурацию с выступами и углублениями на его периферийной поверхности, обеспечивают «копирование» первым листом 1 формы данной периферийной поверхности для деформирования первого листа 1 посредством этого для придания ему формы с выступами и углублениями.
Кроме того, способ изготовления верхнего листа 10 посредством использования производственного устройства 100 включает этап наложения, на котором удерживают и перемещают первый лист 1, который был деформирован для придания ему формы с выступами и углублениями на валике 31 для тиснения, и накладывают второй лист 2 на первый лист 1, который перемещается.
Кроме того, способ изготовления верхнего листа 10 посредством использования производственного устройства 100 включает этап ультразвуковой обработки, на котором наложенные друг на друга два листа 1 и 2 зажимают между выступами 35 валика 31 для тиснения и поверхностью 42t, предназначенной для приложения вибрации и образованной на передней концевой части ультразвукового рупора 42, включенного в машину 41 для ультразвукового сплавления, и обеспечивают приложение ультразвуковой вибрации к листам 1 и 2.
[0085]
На этапе формирования первый лист 1 подают в часть 33 с зацеплением, в которой выступы и углубления двух валиков 31 и 32 для тиснения входят в зацепление друг с другом, и деформируют для придания ему формы с выступами и углублениями.
По соображениям, связанным с облегчением образования зоны 20 с ориентированными волокнами и проникающего отверстия 6, угол Ɵ35 (см. фиг.12) угловой зоны передней концевой части каждого выступа 35 на виде в разрезе, выполненном вдоль направления, которое перпендикулярно к оси вращения валика 31 для тиснения (первого валика) (на виде в разрезе, выполненном вдоль направления MD), предпочтительно составляет 90° или более или более предпочтительно 105° или более и предпочтительно составляет менее 135° или более предпочтительно менее 120°.
[0086]
После этого на этапе ультразвуковой обработки проникающие отверстия 6 образуют в многослойном продукте (объекте, подлежащем сплавлению), образованном из наложенных друг на друга, первого и второго листов 1 и 2, посредством приложения ультразвуковой вибрации к нему при использовании в качестве ультразвукового рупора специального ультразвукового рупора, который был описан выше, то есть ультразвукового рупора 42, в котором углубление 46 с формой канавки, проходящее вдоль оси (CD) вращения валика 31 для тиснения (первого валика), образовано на поверхности 42t приложения вибрации, и зону 20 с ориентированными волокнами образуют в части, скрепленной методом сплавления, в которой первый лист 1 и второй лист 2 соединены сплавлением, и на части открытого края 6е проникающего отверстия 6.
[0087]
Как показано на фиг.12, на этапе ультразвуковой обработки во время перемещения объекта, подлежащего сплавлению (многослойного продукта, образованного из первого листа 1 и второго листа 2), в направлении MD объект, подлежащий сплавлению, зажимают между поверхностями 35с передних концов выступов 35 валика 31 для тиснения и поверхностью 42t приложения вибрации, на которой образовано углубление 46 с формой канавки и которая образована в ультразвуковом рупоре 42, и обеспечивают приложение ультразвуковой вибрации к данному объекту.
В данном случае поверхность 42t приложения вибрации, поджимающая объект, подлежащий сплавлению, к выступам 35, имеет, как показано на фиг.13, две угловые зоны 46с и 46с, которые расположены в направлении MD перед и за входной частью 46d углубления 46 с формой канавки. Следовательно, напряжения, которые создаются при поджиме объекта, подлежащего сплавлению, концентрируются в угловых зонах 46с, и сдвигающее усилие, которое приложено к объекту, подлежащему сплавлению, посредством угловых зон 46с, увеличивается по сравнению со случаем, когда угловые зоны 46с (углубление 46 с формой канавки) не образованы. Соответственно, на этапе ультразвуковой обработки помимо тепла, выделяющегося в объекте, подлежащем сплавлению, из-за ультразвуковой вибрации, большое сдвигающее усилие, обеспечиваемое углублением 46 с формой канавки, также действует на объект, подлежащий сплавлению, и в результате части, скрепленные методом сплавления, проникающее отверстие 6 и зона 20 с ориентированными волокнами могут быть одновременно образованы в той части объекта, подлежащего сплавлению, которая зажата между поверхностями 35с передних концов выступов 35 и поверхностью 42t ультразвукового рупора 42, предназначенной для приложения вибрации.
Посредством вышеописанного этапа ультразвуковой обработки даже в случае, когда смола, которая образует первый лист 1 и/или второй лист 2 представляет собой смолу (например, полиэтилентерефталатную (ПЭТ)), имеющую высокую температуру плавления, которая превышает 200°C, части, скрепленные методом сплавления, проникающее отверстие 6 и зона 20 с ориентированными волокнами могут быть образованы одновременно.
[0088]
Считают, что на этапе ультразвуковой обработки зона 20 с ориентированными волокнами легко формируется на части открытого края 6е проникающего отверстия 6 за счет использования ультразвукового рупора (см. фиг.12-14), в котором углубление с формой канавки, проходящее в направлении оси вращения валика для тиснения, образовано на поверхности приложения вибрации. Ниже будут описаны соображения авторов изобретения в отношении способа формирования зоны 20 с ориентированными волокнами. На этапе ультразвуковой обработки во время перемещения объекта, подлежащего сплавлению (многослойного продукта, образованного из первого листа 1 и второго листа 2), в направлении MD объект, подлежащий сплавлению, зажимается между поверхностями 35с передних концов выступов 35 валика 31 для тиснения и поверхностью 42t приложения вибрации, на которой образовано углубление 46 с формой канавки и которая образована в ультразвуковом рупоре 42, и обеспечивается приложение ультразвуковой вибрации к объекту, подлежащему сплавлению. Следовательно, образуется плавленая часть, в которой первый лист 1 и второй лист 2 подвергнуты плавлению. С другой стороны, поскольку напряжения, которые создаются при поджиме объекта, подлежащего сплавлению, концентрируются в угловой зоне 46с, расположенной с передней стороны (стороны, передней по ходу) в направлении MD, из двух угловых зон 46с и 46с, которые расположены в направлении MD перед и за входной частью 46d углубления 46 с формой канавки, сдвигающее усилие действует на объект, подлежащий сплавлению, посредством данной угловой зоны 46с, в частности, на периферии в направлении MD по отношению к месту формирования проникающего отверстия 6. Предполагается, что данное сдвигающее усилие вызывает разрыв частей объекта, подлежащего сплавлению, которые находятся в контакте с угловыми зонами 46с и 46с, расположенными с передней стороны и задней стороны в направлении MD, образуется проникающее отверстие 6, волокна, расположенные с данных сторон, ориентируются в направлении MD при приложении тянущего усилия к сторонам проникающего отверстия 6 в направлении MD, и формируется зона 20 с ориентированными волокнами. Также предполагается, что обеспечивается приложение тянущего усилия к объекту, подлежащему сплавлению, в направлении от первого листа 1 в направлении толщины объекта, подлежащего сплавлению, при разрыве под действием сдвигающего усилия, и внутризонные волокна 21 ориентируются в направлении от первого листа 1 в направлении толщины объекта, подлежащего сплавлению. Таким образом, зоны 20 с ориентированными волокнами образуются на сторонах проникающего отверстия 6, проходящих в направлении его длины, посредством сдвигающего усилия в направлении MD.
[0089]
По соображениям, связанным с облегчением формирования зоны 20 с ориентированными волокнами, на этапе ультразвуковой обработки приложенное давление, которое приложено к первому и второму листам 1 и 2, зажатым между поверхностями 35с передних концов выступов 35 валика 31 для тиснения (первого валика) и поверхностью 42t ультразвукового рупора 42, предназначенной для приложения вибрации, предпочтительно составляет 20 Н/мм или более и более предпочтительно 30 Н/мм или более.
Кроме того, приложенное давление предпочтительно составляет 80 Н/мм или менее и более предпочтительно 70 Н/мм или менее.
Термин «приложенное давление» в контексте данного документа означает так называемую «нагрузку на единицу длины», и приложенное давление характеризуется значением (приложенным давлением на единицу длины), полученным посредством деления приложенного давления (Н), приложенного со стороны ультразвукового рупора 42, на суммарную длину (не считая углублений валика 31 для тиснения), которая представляет собой сумму ширин зубьев (длин выступов 35 в направлении CD) выступов 35, которые находятся в контакте с ультразвуковом рупором 42.
[0090]
По вышеописанным соображениям частота ультразвуковой вибрации, которая приложена, предпочтительно составляет 15 кГц или более и более предпочтительно 20 кГц или более.
Кроме того, данная частота предпочтительно составляет 50 кГц или менее и более предпочтительно 40 кГц или менее.
По тем же соображениям амплитуда ультразвуковой вибрации, которая приложена, предпочтительно составляет 20 мкм или более и более предпочтительно 25 мкм или более.
Кроме того, данная амплитуда предпочтительно составляет 50 мкм или менее и более предпочтительно 40 мкм или менее.
Для измерения частоты и амплитуды ультразвуковой вибрации смещение переднего конца ультразвукового рупора измеряют, используя лазерный измеритель перемещений или тому подобное, и частоту и амплитуду измеряют посредством задания частоты измерений, равной 200 кГц или более, и задания точности, равной 1 мкм или более.
[0091]
По вышеописанным соображениям скорость перемещения объекта, подлежащего сплавлению (многослойного продукта, образованного из первого листа 1 и второго листа 2), на этапе ультразвуковой обработки предпочтительно составляет 200 м/мин или более и более предпочтительно 250 м/мин или более и предпочтительно составляет 400 м/мин или менее и более предпочтительно 350 м/мин или менее.
По вышеописанным соображениям натяжение, действующее на объект, подлежащий сплавлению (многослойный продукт, образованный из первого листа 1 и второго листа 2), перемещаемый на этапе ультразвуковой обработки, предпочтительно составляет 20 Н/м или более и более предпочтительно 30 Н/м или более и предпочтительно составляет 90 Н/м или менее и более предпочтительно 60 Н/м или менее. В данном варианте осуществления натяжение можно регулировать посредством изменения скорости перемещения объекта, подлежащего сплавлению, вплоть то этапа ультразвуковой обработки,
[0092]
Поскольку в ультразвуковом рупоре 42 по данному варианту осуществления угловые зоны 46с, которые определяют границы входной части 46d углубления 46 с формой канавки, являются заостренными, как показано на фиг.13, сдвигающее усилие, приложенное к объекту, подлежащему сплавлению (многослойному продукту, образованному из первого листа 1 и второго листа 2), на этапе ультразвуковой обработки, увеличивается по сравнению со случаем, в котором угловые зоны 46с являются скругленными, а не заостренными, и поэтому часть, скрепленная методом сплавления, проникающие отверстия 6 и зона 20 с ориентированными волокнами могут быть одновременно образованы еще более надежно.
По соображениям, связанным с более надежным обеспечением эффекта от угловых зон 46с, угол между соответствующими заглубленными сторонами 46а и поверхностью 42t приложения вибрации в угловых зонах 46с предпочтительно составляет 45° или более и более предпочтительно 60° или более.
Кроме того, вышеописанный угол предпочтительно составляет 135° или менее и более предпочтительно 120° или менее.
[0093]
С другой стороны, образование углубления 46 с формой канавки на поверхности 42t ультразвукового рупора 42, предназначенной для приложения вибрации, приводит к снижению долговечности ультразвукового рупора 42 (в частности, узла 420), и, следовательно, существует проблема, заключающаяся в том, что трещина (мелкая трещина), начинающаяся от углубления 46 с формой канавки, может образоваться в узле 420 и тому подобном во время приложения ультразвуковой вибрации. Однако в ультразвуковом рупоре 42 данная проблема устранена посредством образования заглубленной нижней поверхности 46b, которая определяет границу углубления 46 с формой канавки, с формой дуги, которая изогнута внутрь от входной части 46d на виде ультразвукового рупора 42 в разрезе, таком как показанный на фиг.13 и выполненный вдоль направления MD.
По соображениям, связанным с более надежным обеспечением эффекта от заглубленной нижней поверхности 46b, кривизна заглубленной нижней поверхности 46b предпочтительно составляет 1 или более и более предпочтительно 2 или более.
Кроме того, кривизна заглубленной нижней поверхности 46b предпочтительно составляет 10 или менее и более предпочтительно 5 или менее.
[0094]
По соображениям, связанным с более надежным обеспечением эффекта от углубления 46 с формой канавки, предпочтительно, чтобы размеры и тому подобные характеристики углубления 46 с формой канавки были заданы следующими.
Ширина W (см. фиг.13 и 14) углубления 46 с формой канавки предпочтительно составляет 0,2 мм или более и более предпочтительно 0,5 мм или более.
Кроме того, ширина W предпочтительно составляет 2 мм или менее и более предпочтительно 1 мм или менее.
Ширина W0 (см. фиг.14) поверхности 42t приложения вибрации предпочтительно составляет 5 мм или более и более предпочтительно 10 мм или более.
Кроме того, ширина W0 предпочтительно составляет 20 мм или менее и более предпочтительно 15 мм или менее.
[0095]
Отношение длины углубления 46 с формой канавки, определяемой в направлении CD, то есть длины L (см. фиг.14) углубления 46 с формой канавки вдоль оси вращения валика 31 для тиснения (первого валика), к длине L0 (см. фиг.14) поверхности 42t приложения вибрации, определяемой в том же направлении, длина L/длина L0, предпочтительно составляет 0,2 или более и более предпочтительно 0,3 или более.
Кроме того, вышеописанное отношение (длина L/длина L0) предпочтительно составляет 1 или менее.
В варианте, показанном на фиг.14, углубление 46 с формой канавки проходит на всей длине поверхности 42t приложения вибрации, определяемой в направлении CD. Это означает, что длина L и длина L0 равны и вышеописанное отношение равно 1.
Длина L0 поверхности 42t приложения вибрации, определяемая в направлении CD, предпочтительно составляет 30 мм или более и более предпочтительно 50 мм или более.
Кроме того, длина L0 предпочтительно составляет 200 мм или менее и более предпочтительно 150 мм или менее.
[0096]
Глубина D углубления 46 с формой канавки (см. фиг.13, расстояние от поверхности 42t приложения вибрации до той части заглубленной нижней поверхности 46b, которая является наиболее удаленной от поверхности 42t приложения вибрации) предпочтительно составляет 0,3 мм или более и более предпочтительно 0,5 мм или более.
Кроме того, глубина D предпочтительно составляет 5 мм или менее и более предпочтительно 2 мм или менее.
Предпочтительно, чтобы углубление 46 с формой канавки было образовано в той части поверхности 42t приложения вибрации, которая является средней в направлении MD, и особенно предпочтительно, чтобы углубление 46 с формой канавки было образовано в зоне, смещенной от середины поверхности 42t приложения вибрации, определяемой в направлении MD, по направлению к стороне, задней по ходу в направлении MD, на расстояние в пределах 5 мм и более предпочтительно в пределах 3 мм.
В варианте, показанном на фиг.14, углубление 46 с формой канавки образовано в середине поверхности 42t приложения вибрации, определяемой в направлении MD.
[0097]
Как описано выше, производственное устройство 100 включает в себя средство 51 для предварительного нагрева (устройство 50 для предварительного нагрева), и в способе изготовления верхнего листа 10 посредством использования производственного устройства 100 по меньшей мере один из первого листа 1 и второго листа 2 предварительно нагревают с помощью средства 51 для предварительного нагрева до того, как листы будут подвергнуты этапу ультразвуковой обработки. В сочетании с эффектом от углубления 46 с формой канавки это обеспечивает возможность еще более надежного одновременного образования части, скрепленной методом сплавления, проникающего отверстия 6 и зоны 20 с ориентированными волокнами.
[0098]
Режим предварительного нагрева объекта, подлежащего сплавлению, при использовании средства 51 для предварительного нагрева не имеет особых ограничений и может быть соответствующим образом отрегулирован в соответствии с типом и тому подобными характеристиками объекта, подлежащего сплавлению. Однако предпочтительно, чтобы по меньшей мере один из первого листа 1 и второго листа 2 был заранее нагрет до температуры, которая ниже температуры плавления листа, но не ниже температуры, которая на 50°C ниже данной температуры плавления. Другими словами, предпочтительно выполнить один или оба из нижеуказанных способов (1) и (2) перед приложением ультразвуковой вибрации. (1) Первый лист 1 заранее нагревают до температуры, которая ниже температуры плавления первого листа, но не ниже температуры, которая на 50°C ниже данной температуры плавления. (2) Второй лист 2 заранее нагревают до температуры, которая ниже температуры плавления второго листа, но не ниже температуры, которая на 50°C ниже данной температуры плавления.
Предпочтительно, если первый лист 1 заранее нагревают до температуры, которая ниже температуры плавления первого листа, но не ниже температуры, которая на 50°C ниже данной температуры плавления, и второй лист 2 также заранее нагревают до температуры, которая ниже температуры плавления второго листа, но не ниже температуры, которая на 50°C ниже данной температуры плавления.
[0099]
В качестве способа (1), то есть способа нагрева первого листа 1 до температуры, которая ниже температуры плавления первого листа 1, но не ниже температуры, которая на 50°C ниже данной температуры плавления, например, температуру первого листа 1 на валике 31 для тиснения (первом валике) измеряют между частью 33 с зацеплением валиков 31 и 32 для тиснения и той частью 36 машины 41 для ультразвукового сплавления, которая предназначена для приложения вибрации, и температуру средства 51 для предварительного нагрева регулируют так, чтобы измеренные значения находились в пределах вышеописанного определенного диапазона.
Различные другие способы можно использовать в качестве способа предварительного нагрева первого листа 1 до температуры, находящейся в пределах определенного диапазона, вместо способа, в котором температуру периферийной поверхности валика 31 для тиснения регулируют посредством нагревателя, предусмотренного внутри валика 31 для тиснения, так, чтобы температура первого листа 1 находилась в пределах определенного диапазона.
Примеры других способов включают: способ, в котором нагреватель, канал подачи горячего воздуха или устройство для облучения дальним инфракрасным излучением предусмотрен/предусмотрено рядом с периферийной поверхностью валика 31 для тиснения, и температуру периферийной поверхности валика 31 для тиснения до и после подачи первого листа 1 на нее регулируют, используя нагреватель, канал подачи горячего воздуха или устройство для облучения дальним инфракрасным излучением, и способ, в котором нагревают валик 32 для тиснения (второй валик), который входит в контакт с первым листом 1 в части 33 с зацеплением, и температуру первого листа 1 регулируют посредством регулирования температуры периферийной поверхности валика 32 для тиснения.
Другие примеры включают способ, в котором первый лист 1 перед подачей к валику 31 для тиснения вводят в контакт с нагретым валиком, пропускают через пространство, в котором поддерживается высокая температура или подвергают воздействию горячего воздуха, вдуваемого на него, и тому подобное.
[0100]
В качестве способа (2), то есть способа нагрева второго листа 2 до температуры, которая ниже температуры плавления второго листа 2, но не ниже температуры, которая на 50°C ниже данной температуры плавления, предпочтительно выполнить измерение температуры второго листа 2 до того, как второй лист 2 соединится с первым листом 1, посредством использования средства измерения температуры, расположенного на траектории перемещения второго листа 2, и регулирование температуры нагревательного средства (непоказанного), предназначенного для второго листа 2 и расположенного на траектории перемещения второго листа 2, так, чтобы измеренные значения находились в пределах вышеописанного определенного диапазона.
Нагревательное средство для второго листа 2 может представлять собой средство контактного типа, которое, например, обеспечивает ввод нагретого валика или тому подобного в контакт со вторым листом 2, или может представлять собой средство бесконтактного типа, которое, например, обеспечивает пропускание второго листа 2 через пространство, в котором поддерживается высокая температура, вдувание горячего воздуха на второй лист 2 или пропускание горячего воздуха через второй лист 2, или облучение второго листа 2 инфракрасными лучами.
[0101]
Температуры плавления первого листа 1 и второго листа 2 можно измерить, используя дифференциальный сканирующий калориметр (DSC), например, PYRIS Diamond DSC, произведенный компанией PerkinElmer, Inc. В данном методе измерений температуры плавления объектов измерений (первого листа 1 и второго листа 2) определяют из максимальных значений данных измерений.
В случае, когда первый лист 1 или второй лист 2 представляет собой волокнистый лист, такой как нетканый материал, и волокна, составляющие его, представляют собой многокомпонентные волокна, состоящие из множества компонентов, такие как многокомпонентные волокна с сердцевиной и оболочкой или с расположением компонентов бок о бок, температуру плавления данного листа определяют следующим образом: самую низкую температуру плавления из множества температур плавления, измеренных при использовании дифференциального сканирующего калориметра (DSC), используют в качестве температуры плавления многокомпонентного волокнистого листа.
[0102]
Кроме того, как описано выше, производственное устройство 100 включает в себя средство 61 нагрева рупора (устройство 60 для нагрева рупора), и на этапе ультразвуковой обработки поверхность 42t приложения вибрации, нагретую с помощью средства 61 нагрева рупора, вводят в контакт с объектом, подлежащим сплавлению (многослойным продуктом, образованным из первого листа 1 и второго листа 2). В сочетании с эффектом от углубления 46 с формой канавки это обеспечивает возможность еще более надежного одновременного образования части, скрепленной методом сплавления, проникающего отверстия 6 и зоны 20 с ориентированными волокнами.
[0103]
Режим нагрева при использовании средства 61 нагрева рупора не имеет особых ограничений и может быть соответствующим образом отрегулирован в соответствии с типом и тому подобными характеристиками объекта, подлежащего сплавлению.
Например, вышеуказанный способ (2) может быть выполнен при использовании средства 61 нагрева рупора вместо средства 51 для предварительного нагрева. Более конкретно, может быть выполнен нижеприведенный способ: регулируют температуру ультразвукового рупора 42 (температуру поверхности 42t приложения вибрации), нагретого с помощью средства 61 нагрева рупора, посредством чего температуру второго листа 2 непосредственно перед приложением ультразвуковой вибрации повышают до температуры, которая ниже температуры плавления второго листа 2, но не ниже температуры, которая на 50°C ниже данной температуры плавления, и в этом состоянии обеспечивают приложение ультразвуковой вибрации к первому и второму листам 1 и 2, зажатым между выступами 35 валика 31 для тиснения и поверхностью 42t приложения вибрации.
Кроме того, можно использовать только одно из средства 51 для предварительного нагрева и средства 61 нагрева рупора, или оба данных средства могут быть использованы совместно.
[0104]
По соображениям, связанным с более легким формированием проникающих отверстий 6 и зон 20 с ориентированными волокнами, в способе изготовления верхнего листа 10 каждый из первого листа 1 и второго листа 2 предпочтительно образован из фильерных нетканых материалов, содержащих двухкомпонентные волокна с сердцевиной и оболочкой в качестве составляющих волокон. Предпочтительно используется двухкомпонентное волокно с сердцевиной и оболочкой, содержащее полиэтилентерефталат (ПЭТ) в качестве сердцевинного компонента и полиэтилен (ПЭ) в качестве компонента, образующего оболочку.
[0105]
Фиг.15-18 показывают основную часть (переднюю концевую часть) ультразвукового рупора согласно другим вариантам осуществления.
Для вариантов осуществления, описанных ниже, главным образом описаны составные части, отличающиеся от составных частей вышеописанного ультразвукового рупора 42, при этом составные части, аналогичные составным частям ультразвукового рупора 42, обозначены теми же ссылочными позициями, и их описания опущены. Для составных частей, которые не будут описаны конкретно, описания, относящиеся к ультразвуковому рупору 42, имеют силу соответствующим образом.
[0106]
В ультразвуковом рупоре 42А, показанном на фиг.15 на виде ультразвукового горна 42 в разрезе, выполненном вдоль направления MD, заглубленная нижняя поверхность 46b углубления 46 с формой канавки имеет форму прямой линии, и углубление 46 с формой канавки имеет удлиненную форму на том же виде в разрезе. Другими словами, заглубленная нижняя поверхность 46b ультразвукового рупора 42А является плоской.
В случае, когда используется ультразвуковой рупор 42А, в основном могут проявляться эффекты, аналогичные эффектам в случае, когда используется вышеописанный ультразвуковой рупор 42. Однако по соображениям, связанным с еще более надежным устранением проблем, таких как вышеописанное снижение долговечности ультразвукового рупора 42 и растрескивание, происходящее в результате этого, которые могут возникать в результате образования углубления 46 с формой канавки, предпочтительно, чтобы форма заглубленной нижней поверхности 46b на вышеописанном виде в разрезе представляла собой форму дуги, которая изогнута внутрь от входной части 46d, как показано на фиг.13.
[0107]
В ультразвуковом рупоре 42В, показанном на фиг.16 на виде в разрезе, выполненном вдоль направления (MD), которое перпендикулярно к оси вращения валика 31 для тиснения (первого валика), поверхность 42t приложения вибрации имеет форму дуги, которая изогнута внутрь от оси вращения.
Следует отметить, что поверхность 42t приложения вибрации в контексте данного документа представляет собой поверхность приложения вибрации в случае, когда предполагается, что отсутствует углубление 46 с формой канавки, или, более конкретно, она представляет собой поверхность приложения вибрации в случае, когда на виде в разрезе, таком как показанный на фиг.16, выполненном вдоль направления MD, поверхность 42t приложения вибрации воображаемо продолжается от угловой зоны 46с, расположенной в направлении MD с одной стороны входной части 46d углубления 46 с формой канавки, до угловой зоны 46с, расположенной с другой стороны.
Поверхность 42t приложения вибрации, которая имеет форму дуги в сечении, выполненном вдоль направления MD, как описано выше, обеспечивает увеличение сдвигающего усилия, приложенного к объекту, подлежащему сплавлению (многослойному продукту, образованному из первого листа 1 и второго листа 2), на этапе ультразвуковой обработки. В сочетании с эффектом от углубления 46 с формой канавки это обеспечивает возможность еще более надежного одновременного образования части, скрепленной методом сплавления, проникающего отверстия 6 и зоны 20 с ориентированными волокнами.
[0108]
Предпочтительно, чтобы поверхность 42t приложения вибрации, имеющая форму дуги на виде в разрезе, таком как показанный на фиг.16, выполненном вдоль направления MD, была изогнута вдоль круговой траектории (непоказанной) перемещения передних концов выступов 35 валика 31 для тиснения (первого валика). Данная конфигурация обеспечивает увеличение времени, в течение которого объект, подлежащий сплавлению (многослойный продукт, образованный из первого листа 1 и второго листа 2), будет зажат между поверхностями 35с передних концов выступов 35 и поверхностью 42t приложения вибрации, и, следовательно, обеспечивает возможность еще более надежного одновременного образования части, скрепленной методом сплавления, проникающего отверстия 6 и зоны 20 с ориентированными волокнами.
[0109]
Кроме того, в случае, когда поверхность 42t ультразвукового рупора 42, предназначенная для приложения вибрации, имеет форму дуги на виде в разрезе, выполненном вдоль направления MD, как описано выше, предпочтительно, чтобы поверхность 35с переднего конца каждого из множества выступов 35 валика 31 для тиснения, соответствующая данной поверхности 42t приложения вибрации, имела выпуклую форму, которая изогнута наружу от оси вращения валика 31 для тиснения, на том же виде в разрезе и чтобы направление кривизны поверхности 35с переднего конца было таким же, как направление кривизны поверхности 42t приложения вибрации.
Радиус кривизны поверхности 42t ультразвукового рупора 42В, предназначенной для приложения вибрации, предпочтительно составляет 100% или более от радиуса кривизны поверхности 35с переднего конца каждого выступа 35 валика 31 для тиснения.
Кроме того, радиус кривизны поверхности 42t приложения вибрации предпочтительно составляет 500% или менее и более предпочтительно 200% или менее от радиуса кривизны поверхности 35с переднего конца каждого выступа 35 валика 31 для тиснения.
[0110]
Следует отметить, что несмотря на то, что поверхность 42t ультразвукового рупора 42В, показанного на фиг.16, которая предназначена для приложения вибрации, имеет форму дуги в сечении, выполненном вдоль направления MD, на всей ее протяженности в направлении, параллельном оси вращения валика 31 для тиснения, поверхность 42t приложения вибрации может также иметь часть с другой формой в сечении, например, в ее зоне, которая не является противоположной выступам 35, в направлении, параллельном оси вращения.
Например, в случае, когда предусмотрен зазор G между соседними зубчатыми колесами, образующими валик 31 для тиснения, как показано на фиг.10, плоский участок или тому подобный участок, который не выступает от дугообразной поверхности 42t приложения вибрации, может быть предусмотрен в той зоне поверхности 42t приложения вибрации, которая расположена напротив зазора G.
[0111]
В ультразвуковом рупоре 42С, показанном на фиг.17, передняя концевая часть ультразвукового горна 42 включает в себя теплоаккумулирующую часть 421, прикрепленную к узлу 420 ультразвукового рупора 42С, при этом узел 420 изготовлен из металла и поверхность 42t приложения вибрации образована на теплоаккумулирующей части 421.
Углубление 46 с формой канавки образовано по меньшей мере в теплоаккумулирующей части 421.
На фиг.17 углубление 46 с формой канавки образовано только в теплоаккумулирующей части 421. Однако углубление 46 с формой канавки может проходить через теплоаккумулирующую часть 421 в направлении толщины и проходить в узел 420.
Кроме того, как и в случае поверхности 42t вышеописанного ультразвукового рупора 42В, предназначенной для приложения вибрации, поверхность 42t приложения вибрации, образованная на теплоаккумулирующей части 421, показанной на фиг.17, имеет форму дуги на виде в разрезе, выполненном вдоль направления MD. Однако поверхность 42t приложения вибрации может быть плоской и не иметь форму дуги.
[0112]
Теплоаккумулирующая часть 421 образована из теплоаккумулирующего материала, который представляет собой материал, имеющий более низкую теплопроводность, чем металл, который образует узел 420.
Теплопроводность теплоаккумулирующего материала, который образует теплоаккумулирующую часть 421, предпочтительно составляет 2,0 Вт/(м⋅К) или менее и более предпочтительно 1,0 Вт/(м⋅К) или менее по соображениям, связанным с уменьшением рассеяния тепла в ультразвуковой рупор и атмосферу.
Кроме того, теплопроводность теплоаккумулирующего материала предпочтительно составляет 0,1 Вт/(м⋅К) или более и более предпочтительно 0,5 Вт/(м⋅К) или более по соображениям, связанным с эффективным нагревом листов.
Теплопроводность теплоаккумулирующего материала может быть измерена в соответствии с общепринятым способом, в котором используется устройство измерения теплопроводности.
[0113]
Когда поверхность 42t приложения вибрации образована на теплоаккумулирующей части 421, тепло от первого и второго листов 1 и 2, которые выделили тепло из-за ультразвуковой вибрации, аккумулируется в теплоаккумулирующей части 421, и, следовательно, температура теплоаккумулирующей части 421 повышается, и поэтому первый и второй листы 1 и 2 могут быть нагреты. В сочетании с эффектом от углубления 46 с формой канавки, образованного на поверхности 42t приложения вибрации, это обеспечивает возможность еще более надежного одновременного образования части, скрепленной методом сплавления, проникающего отверстия 6 и зоны 20 с ориентированными волокнами.
Кроме того, когда поверхность 42t приложения вибрации образована на теплоаккумулирующей части 421, подавляется возникновение таких проблем, как прилипание расплавленной смолы, которая расплавляется в результате расплавления первого и второго листов 1 и 2, к средству транспортирования и наматывание листов вокруг транспортирующего валика, что имеет преимущество, заключающееся в уменьшении объема работ по техническому обслуживанию и ремонту производственного устройства.
Толщина Th (см. фиг.17) теплоаккумулирующей части 421 не имеет особых ограничений, но предпочтительно составляет 5 мкм или более и более предпочтительно 10 мкм или более по соображениям, связанным с обеспечением более надежного проявления эффекта от теплоаккумулирующей части 421.
Кроме того, толщина Th предпочтительно составляет 100 мкм или менее и более предпочтительно 50 мкм или менее.
[0114]
Синтетическая смола, обладающая очень хорошей износостойкостью и теплостойкостью, предпочтительно используется в качестве теплоаккумулирующего материала, образующего теплоаккумулирующую часть 421, при условии, что синтетическая смола имеет более низкую теплопроводность, чем металл, образующий узел 420. Примеры данной синтетической смолы включают синтетические смолы, имеющие твердость по Роквеллу, составляющую R120 или более и R140 или менее, и температуру, характеризующую теплостойкость, которая составляет 150°C или более и 500°C или менее, такие как полиимидная, полибензимидазолевая, полиэфирэтилкетонная, полифениленсульфитная, полиэфиримидная и полиамидимидная.
Синтетические смолы, имеющие твердость по Роквеллу, составляющую R125 или более и R140 или менее, и температуру, характеризующую теплостойкость, которая составляет 280°C или более и 400°C или менее, такие как полиимидная и полибензимидазолевая, особенно предпочтительны в качестве теплоаккумулирующего материала.
В данном случае твердость по Роквеллу представляет собой показатель, определенный в соответствии с ASTM D-785 (ASTM - Американское общество по испытанию материалов), и температура, характеризующая теплостойкость, представляет собой показатель, определенный в соответствии с ASTM D-648.
[0115]
Отсутствуют особые ограничения в отношении средств для прикрепления теплоаккумулирующей части 421, образованной из синтетической смолы, к узлу 420, изготовленному из металла, и можно использовать известное средство крепления.
Теплоаккумулирующая часть 421, которая образована из синтетической смолы, может быть прикреплена к узлу 420, который изготовлен из металла, например, посредством образования теплоаккумулирующей части 421 на основном элементе 420 с помощью термического напыления.
Термин «термическое напыление» в контексте данного документа относится к известному процессу обработки поверхности, заключающемуся в формировании пленочного покрытия на поверхности базового материала посредством ускорения частиц материала для термического напыления, такого как металл или керамический материал, который был расплавлен или почти расплавлен посредством нагрева, и обеспечения возможности столкновения данных частиц с поверхностью базового материала с высокой скоростью.
В качестве материала для термического напыления можно без особого ограничения использовать любой материал, который может быть подвергнут термическому напылению и может способствовать повышению прочности фиксации теплоаккумулирующей части 421, которая образована из синтетической смолы. Однако предпочтительно можно использовать керамические материалы, такие как карбид вольфрама, диоксид циркония и карбид хрома; сплавы, такие как алюминиево-магниевый сплав и цинково-алюминиевый сплав; металлы, такие как алюминий, нержавеющая сталь, титан и молибден; кермет, который представляет собой композиционный материал, состоящий из металла и керамического материала, и тому подобное, по соображениям, связанным с их очень хорошей способностью соединяться с узлом 420, изготовленным из металлического материала, такого как титановый сплав, а также их очень хорошей износостойкостью и теплостойкостью.
[0116]
В ультразвуковом рупоре 42D, показанном на фиг.18, часть 48 с формой с выступами и углублениями образована на участке 47 поверхности 42t приложения вибрации, на котором не образовано углубление с формой канавки.
Более конкретно, как показано на фиг.18(а), часть участка 47, на котором не образовано углубление с формой канавки, представляет собой часть 48 с формой с выступами и углублениями, и остальная часть участка 47, на котором не образовано углубление с формой канавки, представляет собой гладкую часть 49, которая является гладкой без выступов и углублений. Часть 48 с формой с выступами и углублениями имеет бóльшую шероховатость поверхности и, следовательно, обеспечивает бóльшую силу трения, чем гладкая часть 49.
На этапе ультразвуковой обработки сдвигающее усилие действует на часть объекта, подлежащего сплавлению (многослойного продукта, образованного из первого листа 1 и второго листа 2), которая сдавлена частью 48 с формой с выступами и углублениями. В сочетании с эффектом от углубления 46 с формой канавки это обеспечивает возможность еще более надежного одновременного образования части, скрепленной методом сплавления, проникающего отверстия 6 и зоны 20 с ориентированными волокнами.
[0117]
Как показано на фиг.18(b), часть 48 с формой с выступами и углублениями имеет множество выступов 481 и множество углублений 482. Выступы 481 имеют треугольную форму на виде в разрезе, таком как показанный на фиг.18(b), выполненном вдоль направления MD, но форма выступов 481 на данном виде в разрезе не имеет особых ограничений и может представлять собой, например, прямоугольник, трапецию или тому подобное.
Кроме того, примером схемы расположения множества выступов 481 в части 48 с формой с выступами и углублениями является схема расположения, в которой ряды выступов, в каждом из которых выступы 481 расположены с равными интервалами в направлении CD (направлении вдоль оси вращения валика 31 для тиснения), расположены с равными интервалами в направлении MD.
Другими примером схемы расположения является схема расположения, в которой ряды выступов, в каждом из которых выступы 481 расположены с равными интервалами в направлении CD, расположены с равными интервалами в направлении MD, и ряды выступов, соседние друг с другом в направлении MD, расположены со смещением на полшага.
Часть 48 с формой с выступами и углублениями может быть образована посредством выполнения накатки рифлений или термического напыления на участке 47 поверхности 42t приложения вибрации, на котором не образовано углубление с формой канавки.
[0118]
В варианте, показанном на фиг.18, гладкая часть 49 имеется между углублением 46 с формой канавки и частью 48 с формой с выступами и углублениями. Однако гладкая часть 49 может отсутствовать между углублением 46 с формой канавки и частью 48 с формой с выступами и углублениями, и углубление 46 с формой канавки и часть 48 с формой с выступами и углублениями могут быть соседними друг с другом в направлении MD.
Кроме того, гладкая часть 49 может отсутствовать на поверхности 42t приложения вибрации, и весь участок 47, на котором не образовано углубление с формой канавки, образует часть 48 с формой с выступами и углублениями.
[0119]
По соображениям, связанным с обеспечением еще более надежного проявления эффекта от части 48 с формой с выступами и углублениями, шероховатость поверхности части 48 с формой с выступами и углублениями предпочтительно составляет 3,2 мкм или более и более предпочтительно 6,3 мкм или менее, при этом шероховатость определяется показателем Ra - средним арифметическим значением из абсолютных значений отклонений профиля.
Кроме того, шероховатость поверхности части 48 с формой с выступами и углублениями предпочтительно составляет 12,5 мкм или менее и более предпочтительно 25 мкм или менее, при этом шероховатость определяется показателем Ra - средним арифметическим значением из абсолютных значений отклонений профиля.
Показатель Ra шероховатости может быть определен посредством использования различных типов измерительных машин для определения шероховатости поверхности и, например, может быть определен посредством использования измерительной машины для определения шероховатости поверхности, произведенной компанией Mitutoyo Corporation.
[0120]
По тем же соображениям размеры и тому подобные характеристики части 48 с формой с выступами и углублениями предпочтительно заданы следующими.
Доля площади (48S) той части 48 поверхности 42t приложения вибрации, которая имеет форму с выступами и углублениями, от площади (47S) участка 47 данной поверхности, на котором не образовано углубление с формой канавки, то есть доля, рассчитанная как (48S/47S) × 100, предпочтительно составляет 15% или более и более и более предпочтительно 30% или более.
Кроме того, вышеописанная доля предпочтительно составляет 100% или менее и более предпочтительно 80% или менее.
Число выступов 481, которые образуют часть 48 с формой с выступами и углублениями, в расчете на единицу площади (1 см2) предпочтительно составляет 1 или более и более предпочтительно 100 или более.
Кроме того, число выступов 481 на единицу площади (1 см2) предпочтительно составляет 1000000 или менее и более предпочтительно 10000 или менее.
На виде в плане части 48 с формой с выступами и углублениями площадь одного выступа 481 предпочтительно составляет 0,0001 мм2 или более и более предпочтительно 0,01 мм2 или более.
Кроме того, площадь одного выступа 481 предпочтительно составляет 100 мм2 или менее и более предпочтительно 1 мм2 или менее.
[0121]
Хотя настоящее изобретение было описано на основе предпочтительных вариантов его осуществления, настоящее изобретение никоим образом ни в каком аспекте не ограничено вышеприведенными вариантами осуществления, и соответствующие изменения могут быть выполнены в них без отхода от сущности настоящего изобретения.
Например, верхний лист 10 по вышеописанному варианту осуществления имеет множество выступов 5 и углублений 3, но может представлять собой плоский лист, не имеющий выступов 5 и углублений 3.
Кроме того, верхний лист 10, описанный выше, имеет многослойную структуру, в которой первый лист 1 и второй лист 2 наложены друг на друга, но верхний лист 10 может представлять собой однослойную структуру. Когда верхний лист 10 имеет выступы 5, верхний лист 10 предпочтительно имеет многослойную структуру по соображениям, связанным с дополнительным повышением прочности выступов 5 и дополнительным повышением стойкости к воздействию давления со стороны тела носителя.
Например, в вышеописанном варианте осуществления одно углубление 46 с формой канавки образовано на поверхности 42t приложения вибрации. Однако множество углублений 46 с формой канавки также могут быть образованы на поверхности 42t приложения вибрации. В этом случае, например, множество углублений 46 с формой канавки, каждое из которых проходит в направлении CD, могут быть расположены с промежутками в направлении MD, или множество углублений 46 с формой канавки, каждое из которых проходит в направлении CD, могут быть расположены с промежутками в направлении CD.
Кроме того, конфигурации, предусмотренные в любом из вышеописанных вариантов осуществления, могут быть применены для остальных вариантов осуществления.
Например, поверхность 42t (см. фиг.18) ультразвукового рупора 42D, которая предназначена для приложения вибрации и на которой образована часть 48 с формой с выступами и углублениями, может иметь показанную на фиг.16 форму дуги, которая изогнута внутрь от оси вращения валика 31 для тиснения, на виде в разрезе, выполненном вдоль направления, которое перпендикулярно к оси вращения (на виде в разрезе, выполненном вдоль направления MD).
Кроме того, в случае, когда поверхность 42t приложения вибрации образована на теплоаккумулирующей части 421, как показано на фиг.17, часть 48 с формой с выступами и углублениями может быть образована на поверхности 42t, предназначенной для приложения вибрации и образованной на теплоаккумулирующей части 421.
[0122]
Нижеописанное впитывающее изделие раскрыто в связи с вариантом осуществления настоящего изобретения, описанным выше.
<1> Впитывающее изделие, содержащее:
верхний лист, изготовленный из волокнистого материала и включающий в себя множество проникающих отверстий и зону с ориентированными волокнами, в которой волокна ориентированы в одном направлении, при этом зона с ориентированными волокнами образована на части открытого края каждого из проникающих отверстий; и
волокнистый лист, расположенный рядом с верхним листом на поверхности верхнего листа, не обращенной к коже,
при этом волокна, находящиеся в зоне с ориентированными волокнами в верхнем листе, сцеплены с составляющими волокнами волокнистого листа.
[0123]
<2> Впитывающее изделие по пункту <1>, в котором число волокон, находящихся в зонах с ориентированными волокнами в каждом из проникающих отверстий, составляет 1 или более и 100 или менее, предпочтительно 5 или более и 100 или менее и более предпочтительно 20 или более и 50 или менее.
<3> Впитывающее изделие по пункту <1> или <2>, в котором число волокон, находящихся в зонах с ориентированными волокнами в каждом из проникающих отверстий и имеющих передний конец, обращенный к поверхности, не обращенной к коже, в направлении толщины верхнего листа, составляет 1 или более и 100 или менее и предпочтительно 20 или более и 100 или менее.
<4> Впитывающее изделие по любому из пунктов <1> - <3>, в котором доля площади каждого из проникающих отверстий в верхнем листе составляет 4% или более и 30% или менее и предпочтительно 8% или более и 20% или менее.
<5> Впитывающее изделие по любому из пунктов <1> - <4>, в котором площадь каждого из проникающих отверстий составляет 1 мм2 или более и 30 мм2 или менее и более предпочтительно 3 мм2 или более и 20 мм2 или менее.
<6> Впитывающее изделие по любому из пунктов <1> - <5>, в котором определяемое в расчете на единицу площади (площадь зоны, которая на виде в плане представляет собой квадрат с длиной стороны, составляющей 10 мм) число проникающих отверстий в верхнем листе, в которых образована зона с ориентированными волокнами, составляет 2 или более и 20 или менее и предпочтительно 4 или более и 15 или менее.
<7> Впитывающее изделие по любому из пунктов <1> - <6>, дополнительно содержащее удерживающий жидкости, впитывающий элемент, при этом
волокнистый лист представляет собой подслой, расположенный между верхним листом и впитывающим элементом, или лист для обертывания сердцевины, образующий поверхность впитывающего элемента.
<8> Впитывающее изделие по любому из пунктов 1-7, в котором волокнистый лист имеет множество углублений и выступов.
<9> Впитывающее изделие по пункту <8>, при этом впитывающее изделие имеет продольное направление, соответствующее направлению от передней стороны к задней стороне носителя, и боковое направление, ортогональное к продольному направлению, и
волокна, находящиеся в выступах, ориентированы в продольном направлении.
[0124]
<10> Впитывающее изделие по пункту <8> или <9>, в котором данные один или более выступов в волокнистом листе перекрывают проникающие отверстия.
<11> Впитывающее изделие по любому из пунктов <1> - <10>, в котором волокнистый лист содержит нетканый материал, скрепленный пропусканием воздуха насквозь.
<12> Впитывающее изделие по любому из пунктов <1> - <11>, при этом впитывающее изделие имеет продольное направление, соответствующее направлению от передней стороны к задней стороне носителя, и боковое направление, ортогональное к продольному направлению, и
волокна, находящиеся в зоне с ориентированными волокнами, ориентированы в продольном направлении.
<13> Впитывающее изделие по пункту <12>, в котором каждое из проникающих отверстий имеет форму, удлиненную в продольном направлении,
верхний лист включает в себя зоны с ориентированными волокнами, расположенные с обеих сторон проникающего отверстия, проходящих в направлении его длины, и
волокна, находящиеся в зоне с ориентированными волокнами, имеют угол наклона, составляющий более 0° и менее 90°, относительно базовой линии, проходящей в поперечном направлении проникающего отверстия.
<14> Впитывающее изделие по пункту <13>, в котором волокна, находящиеся в зоне с ориентированными волокнами, имеют передний конец, обращенный внутрь проникающего отверстия.
<15> Впитывающее изделие по любому из пунктов <1> - <14>, в котором верхний лист содержит в качестве волокон, находящихся в зоне с ориентированными волокнами, волокна, наружные части которых расплавлены и диаметр которых меньше диаметра волокон, представляющих собой другие волокна.
<16> Впитывающее изделие по пункту <15>, в котором диаметр волокон, представляющих собой волокна, находящиеся в зоне с ориентированными волокнами в верхнем листе, составляет 40% или более и 80% или менее и предпочтительно 50% или более и 70% или менее от диаметра волокон, представляющих собой волокна, находящиеся в части, отличной от зоны с ориентированными волокнами в верхнем листе.
Промышленная применимость
[0125]
Во впитывающем изделии по настоящему изобретению можно предотвратить смещение положения верхнего листа при сохранении проницаемости для выделений.
| название | год | авторы | номер документа |
|---|---|---|---|
| ПОВЕРХНОСТНЫЙ ЛИСТ ДЛЯ ВПИТЫВАЮЩЕГО ИЗДЕЛИЯ И ВПИТЫВАЮЩЕЕ ИЗДЕЛИЕ, ПРЕДУСМОТРЕННОЕ С ДАННЫМ ЛИСТОМ | 2021 |
|
RU2836452C1 |
| СПОСОБ И УСТРОЙСТВО ДЛЯ ИЗГОТОВЛЕНИЯ КОМПОЗИТНЫХ ЛИСТОВ | 2017 |
|
RU2756467C2 |
| УСТРОЙСТВО ДЛЯ ПРОИЗВОДСТВА КОМПОЗИТНОГО ЛИСТА И СПОСОБ ПРОИЗВОДСТВА КОМПОЗИТНОГО ЛИСТА | 2019 |
|
RU2744360C1 |
| ВПИТЫВАЮЩЕЕ ИЗДЕЛИЕ | 2017 |
|
RU2735657C1 |
| ВПИТЫВАЮЩЕЕ ИЗДЕЛИЕ | 2021 |
|
RU2795254C1 |
| ВПИТЫВАЮЩЕЕ ИЗДЕЛИЕ | 2017 |
|
RU2724844C1 |
| ВПИТЫВАЮЩЕЕ ИЗДЕЛИЕ | 2018 |
|
RU2744428C1 |
| СПОСОБ ИЗГОТОВЛЕНИЯ ВПИТЫВАЮЩЕГО ИЗДЕЛИЯ | 2016 |
|
RU2716290C2 |
| ВПИТЫВАЮЩЕЕ ИЗДЕЛИЕ | 2017 |
|
RU2723405C1 |
| ВПИТЫВАЮЩЕЕ ИЗДЕЛИЕ И СПОСОБ ИЗГОТОВЛЕНИЯ ЛИСТА С ТРЕХМЕРНЫМИ ОТВЕРСТИЯМИ, ИСПОЛЬЗУЕМОГО ДЛЯ ВПИТЫВАЮЩЕГО ИЗДЕЛИЯ | 2017 |
|
RU2734809C1 |
Изобретение относится к впитывающему изделию. Впитывающее изделие (11) по настоящему изобретению включает в себя верхний лист (10), изготовленный из волокнистого материала и включающий в себя множество проникающих отверстий (6) и зону (20) с ориентированными волокнами, в которой волокна ориентированы в одном направлении, при этом зона (20) с ориентированными волокнами образована на части открытого края (6е) каждого из проникающих отверстий (6), и волокнистый лист, расположенный рядом с верхним листом (10) на поверхности верхнего листа (10), не обращенной к коже. Волокна (21), находящиеся в зоне (20) с ориентированными волокнами в верхнем листе (10), сцеплены с составляющими волокнами волокнистого листа. Волокнистый лист предпочтительно представляет собой подслой (15), расположенный между верхним листом (10) и впитывающим элементом (14), или лист для обертывания сердцевины, образующий поверхность впитывающего элемента (14). 9 з.п. ф-лы, 18 ил.
1. Впитывающее изделие, содержащее:
верхний лист, изготовленный из волокнистого материала и включающий в себя множество проникающих отверстий и зону с ориентированными волокнами, в которой волокна ориентированы в одном направлении, при этом зона с ориентированными волокнами образована на части открытого края каждого из проникающих отверстий; и
волокнистый лист, расположенный смежно верхнему листу на поверхности верхнего листа, не обращенной к коже,
при этом волокна, находящиеся в зоне с ориентированными волокнами в верхнем листе, сцеплены с составляющими волокнами волокнистого листа,
верхний лист содержит в качестве волокон, находящихся в зоне с ориентированными волокнами, двухкомпонентные волокна с сердцевиной и оболочкой, сердцевинный компонент которых открыт для воздействия и диаметр которых меньше диаметра волокон, представляющих собой другие волокна.
2. Впитывающее изделие по п. 1, дополнительно содержащее удерживающий жидкости впитывающий элемент, при этом
волокнистый лист представляет собой подслой, расположенный между верхним листом и впитывающим элементом, или лист для обертывания сердцевины, образующий поверхность впитывающего элемента.
3. Впитывающее изделие по п. 1, в котором волокнистый лист имеет множество углублений и выступов.
4. Впитывающее изделие по п. 3, при этом впитывающее изделие имеет продольное направление, соответствующее направлению от передней стороны к задней стороне носителя, и боковое направление, ортогональное к продольному направлению, и
волокна, находящиеся в выступах, ориентированы в продольном направлении.
5. Впитывающее изделие по п. 3, в котором один или более выступов в волокнистом листе перекрывают проникающие отверстия.
6. Впитывающее изделие по п. 1, в котором волокнистый лист содержит нетканый материал, скрепленный пропусканием воздуха насквозь.
7. Впитывающее изделие по п. 1, при этом впитывающее изделие имеет продольное направление, соответствующее направлению от передней стороны к задней стороне носителя, и боковое направление, ортогональное к продольному направлению, и
волокна, находящиеся в зоне с ориентированными волокнами, ориентированы в продольном направлении.
8. Впитывающее изделие по п. 7, в котором каждое из проникающих отверстий имеет форму, удлиненную в продольном направлении,
верхний лист включает в себя зоны с ориентированными волокнами, расположенные с обеих сторон проникающего отверстия, проходящих в направлении его длины, и
волокна, находящиеся в зоне с ориентированными волокнами, имеют угол наклона, составляющий более 0° и менее 90°, относительно базовой линии, проходящей в поперечном направлении проникающего отверстия.
9. Впитывающее изделие по п. 8, в котором волокна, находящиеся в зоне с ориентированными волокнами, имеют передний конец, обращенный внутрь проникающего отверстия.
10. Впитывающее изделие по п. 1, в котором наружные части двухкомпонентных волокон с сердцевиной и оболочкой расплавлены.
| JP 2001522700 A, 20.11.2001 | |||
| JP 2019093598 A, 20.06.2019 | |||
| Приспособление для правильного впуска поездов | 1923 |
|
SU1258A1 |
| ДЕТСКИЙ МНОГОРАЗОВЫЙ ПОДГУЗНИК | 2009 |
|
RU2400200C1 |
Авторы
Даты
2025-03-14—Публикация
2021-11-16—Подача