Изобретение относится к области металлообрабатывающей промышленности и предназначено для исследования влияния различных по составу смазочно-охлаждающих технологических средств (СОТС) на температурные и силовые параметры процесса резания при рассверливании.
Известен способ измерения температуры резания при сверлении (А.с. СССР №1076199, МПК В23В 25/06. Бюл. №8, 1984. Аналог), принцип работы которого заключается в том, что разработана специальная конструкция, имеющая металлический стержень равный диаметру сверла, помещенный в диэлектрическую втулку, которая препятствует возникновению дополнительных термо-ЭДС на периферии сверла.
Применяют данный способ в области металлообрабатывающей промышленности.
Недостатком такого способа является низкая виброустойчивость диэлектрической втулки при сверлении, а также сложность фиксации металлического стержня, что приведет в процессе резания к дополнительным вибрациям, нестабильному процессу резания, а, следовательно, и к погрешности измерения. Также предлагаемый способ имеет расхождение от реальных, присутствующих на производстве условий, где в процессе резания участвует и периферийная часть сверла, температурные показатели которой также представляют научный интерес.
Известен способ измерения ЭДС резания (Патент РФ 2149745, B23Q 17/09, опубл. 27.05.2000 г. Аналог) который позволяет повысить точность измерения температуры резания при сверлении методом естественной термопары, путем нанесения на режущий инструмент слоя диэлектрического (алмазного) покрытия, что позволяет изолировать периферийную часть сверла а также поочередно изолировать переднюю и заднюю поверхности, тем самым ограничивая электрический контакт обрабатываемой заготовки и режущего инструмента что в свою очередь позволяет исключить влияние паразитных термо-ЭДС и повысить точность измерения.
Недостатком данного способа является сложность и дороговизна нанесения диэлектрического (алмазного) покрытия, связанная с изготовлением алмазного порошка, использованием дополнительного оборудования и дороговизной самого алмазного покрытия, так же возникают дополнительные сложности в контроле толщины покрытия, что особенно важно на периферийной части режущего инструмента. Известно, что угол наклона образующей обратного конуса сверла равен 1°38'28'' (в зависимости от типа сверл, значения могут отличаться) в связи с чем возникают трудности в нанесении равномерного, тонкого слоя диэлектрического покрытия из-за малой величины зазора между периферийной частью сверла и обработанным отверстием, таким образом толщина, неравномерность нанесения и твердость алмазного покрытия, может привести к заклиниванию инструмента, а также возникновению дополнительного трения и вибраций, что приведет к дестабилизации процесса резания, дополнительному теплообразованию, следовательно и к погрешности измерения, а также к снижению качества обработанной поверхности.
Известен способ измерения термо-ЭДС при сверлении (патент на изобретение РФ №2737658 МПК B23Q 17/09, В23 В 49/00, опубл. 01.12.2020. Бюл. №34. Аналог). Изобретение относится к области обработки металлов резанием и может быть использовано при исследовании температурного состояния процесса резания при сверлении. Способ включает закрепление металлической заготовки в патроне токарного станка, при этом металлическую заготовку электрически изолируют от патрона с помощью разрезной диэлектрической втулки, и обработку упомянутой заготовки посредством электрически изолированного от станка сверла, во время которой осуществляют измерение термо-ЭДС с помощью милливольтметра, подключенного соответствующими электрическими проводами к сверлу и к токосъемнику, электрически связанному с упомянутой заготовкой. При этом связанные с милливольтметром электрические провода размещают в емкости со льдом. Использование изобретения позволяет повысить точность измеряемого-ЭДС при сверлении методом естественно образующей термопары.
Недостатком представленного способа является отсутствие возможности дополнительно производить измерение сил резания при сверлении.
Наиболее близким по технической сущности является способ измерения температурных и силовых параметров процесса резания при сверлении (патент на изобретение РФ №2812820 МПК В23В 49/00, B23Q 17/09, опубл. 02.02.2024. Бюл. №4. Прототип).
Изобретение относится к области обработки материалов резанием и предназначено для измерения температурных и силовых параметров процесса резания при сверлении, осуществляя также подачу смазывающих технологических сред (СТС) в виде аэрозоля, поливом, а также струей под давлением в зону резания при использовании металлорежущих инструментов с внутренними каналами для подвода СТС.
Недостаток известного способа заключается в том, что для исследования влияния различных сред на силу и температуру резания необходимо использовать сверла с внутренними каналами для подвода технологических сред, использование же сверл без каналов нецелесообразно.
Техническим результатом изобретения является возможность применения сверл без каналов с внутренним подводом СОТС для измерения температурных и силовых параметров процесса резания при рассверливании, обеспечивая при этом присутствие СОТС в контактной зоне.
Это достигается тем, что способ измерения температурных и силовых параметров процесса резания при рассверливании, включает измерение сил резания и термо-ЭДС с помощью измерительных средств, электрически связанных с использованием соответствующих электропроводов, в том числе размещенных в емкости со льдом, непосредственно со сверлом и с металлической заготовкой.
Отличием данного технического решения от прототипа является тот факт, что закрепление электрически изолированного сверла вместе с патроном осуществляют в патроне токарного станка, в свою очередь электрически изолированную металлическую заготовку вместе с патроном закрепляют на электронном динамометре при помощи оправки, опоры и фиксирующих винтов, при этом, в металлической заготовке, эбонитовой прокладке и патроне, выполняют сквозное отверстие с возможностью размещения сопла.
Изобретение представлено на чертежах:
Фиг. 1 - конструктивная схема способа измерения температурных и силовых параметров процесса резания при рассверливании в осевом сечении и местном разрезе.
Фиг. 2 - общий вид крепления сверла и металлической заготовки.
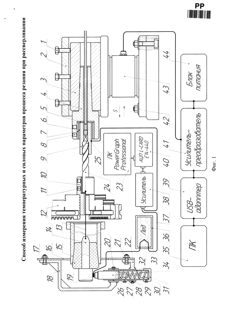
Для осуществления способа измерения температурных и силовых параметров процесса резания при рассверливании, используют фиксирующие винты 1, 8, 11, 17, 20, 21, 27, 28, 29, 42, опору 2, оправку 3, патроны 4, 10, эбонитовые прокладки 5, 47, разрезные эбонитовые втулки 6, 45, разрезные металлические втулки 7, 46, металлическую заготовку 9, кулачки токарного патрона 12, электропровода 13, 37, медную шпильку 14, шпиндель токарного станка 15, эбонитовую коническую втулку 16, кронштейны 18, 22, графитовый стержень 19, персональные компьютеры 23, 35, сверло 24, сопло 25, металлические втулки 26, 32, пружину 30, эбонитовый упор 31, спай термопары 33, эбонитовый направляющий стержень 34, емкость со льдом 36, усилитель 38, USB-адаптер 39, аналого-цифровой преобразователь 40, усилитель-преобразователь 41, электронный динамометр 43, блок питания 44.
Способ осуществляется следующим образом: во избежание влияния паразитных термо-ЭДС на измерение температуры процесса резания, сверло 24 и металлическая заготовка 9 изолированы от токарного станка (на чертеже не указан) при помощи разрезных эбонитовых втулок 6, 45 и эбонитовых прокладок 5, 47, которые вместе с разрезными металлическими втулками 7, 46, располагают в отверстиях патронов 4, 10 и закрепляют при помощи фиксирующих винтов 8, 11. Разрезные металлические втулки 7, 46 служат барьером между фиксирующими винтами 8, 11 и разрезными эбонитовыми втулками 6, 45, защищая при этом упомянутые разрезные эбонитовые втулки 6, 45 от повреждения при фиксации сверла 24 и металлической заготовки 9. В свою очередь патрон 10 с цилиндрическим хвостовиком закреплен в токарном патроне (позиции на чертежах отсутствуют) при помощи кулачков токарного патрона 12.
Электропровод 13 одним концом соединен со сверлом 24, а противоположным с медной шпилькой 14. Для базирования и изоляции медной шпильки 14 предусмотрена эбонитовая коническая втулка 16, установленная в шпинделе токарного станка 15.
Для передачи термо-ЭДС от подвижного сверла 24 к неподвижному усилителю 38, соединенному в свою очередь с аналого-цифровым преобразователем 40 и персональным компьютером 23, предусмотрен токосъемник, который содержит графитовый стержень 19, установленный в отверстии эбонитового направляющего стержня 34, который в свою очередь поджимается пружиной 30 для постоянного электрического контакта графитового стержня 19 и медной шпильки 14. Эбонитовый направляющий стержень 34 с закрепленным графитовым стержнем 19, пружиной 30, эбонитовым упором 31 установлены в металлических втулках 26, 32, которые в свою очередь установлены в отверстии кронштейна 22 и закреплены фиксирующими винтами 27, 28. Эбонитовый упор 31 закрепляется в металлической втулке 32 при помощи фиксирующего винта 29. Кронштейн 22 в свою очередь закрепляется на станке при помощи фиксирующего винта 21. Дополнительно токосъемник закрепляется при помощи кронштейна 18 и фиксирующих винтов 17, 20.
Во избежание возникновения паразитных термо-ЭДС, электропровод 13, изготовлен из того же сплава что и сверло 24. Процесс резания служит в качестве горячего спая, свободные же концы термопары должны быть стабильно холодными, для этого предусмотрена емкость со льдом 36, в которую погружен спай термопары 33, образованный электропроводом 13 (изготовленный из инструментального материала) и электропроводом 37 (изготовленный из обрабатываемого материала), в свою очередь электропровод 37 соединен с усилителем 38, сигнал от которого, через аналого-цифровой преобразователь 40 передается на персональный компьютер 23, содержащий программное обеспечение Power Graph Professional, для регистрации значений термо-ЭДС. Электропровод 37 в свою очередь противоположным концом соединен с металлической заготовкой 9.
Для подачи СОТС в зону резания, в металлической заготовке 9, эбонитовой прокладке 5 и патроне 4, выполнено сквозное отверстие для размещения сопла 25, при этом сопло 25, расположенное в непосредственной близости к режущим кромкам сверла 24, остается неподвижным на протяжении всего процесса резания.
Для измерения силы резания при рассверливании, металлическая заготовка 9, с разрезной эбонитовой втулкой 6, разрезной металлической втулкой 7, эбонитовой прокладкой 5, а также патроном 4 с коническим хвостовиком, установлены в оправке 3, в свою очередь оправка 3 устанавливается на электронном динамометре 43 при помощи опоры 2 и фиксирующих винтов 1.
В процессе резания на металлической заготовке 9 создается осевая сила и крутящий момент, передаваемые на электронный динамометр 43, который установлен на суппорте токарного станка (позиция на чертеже отсутствует) при помощи фиксирующих винтов 42 и подключен при помощи кабеля питания (позиция на чертеже отсутствует), через усилитель-преобразователь 41 с блоком питания 44 и USB-адаптер 39 к персональному компьютеру 35, при помощи которого производится регистрация значений осевой силы и крутящего момента, возникающих в процессе резания.
Способ может быть осуществлен следующим образом: во избежание влияния паразитных термо-ЭДС на измерение температуры процесса резания, сверло и металлическую заготовку изолируют от токарного станка при помощи разрезных эбонитовых втулок и эбонитовых прокладок, которые вместе с разрезными металлическими втулками, располагают в отверстиях патронов и закрепляют при помощи фиксирующих винтов. Разрезные металлические втулки служат барьером между фиксирующими винтами и разрезными эбонитовыми втулками, защищая при этом упомянутые разрезные эбонитовые втулки от повреждения при фиксации сверла и металлической заготовки. В свою очередь патрон с цилиндрическим хвостовиком закрепляют в токарном патроне при помощи кулачков токарного патрона.
Электропровод одним концом соединяют со сверлом, а противоположным с медной шпилькой. Для базирования и изоляции медной шпильки используют эбонитовую коническую втулку, которую устанавливают в шпинделе токарного станка.
Для передачи термо-ЭДС от подвижного сверла к неподвижному усилителю, который соединяют с аналого-цифровым преобразователем и персональным компьютером, используют токосъемник, содержащий графитовый стержень, который устанавливают в отверстии эбонитового направляющего стержня и фиксируют пружиной для постоянного электрического контакта графитового стержня и медной шпильки. Эбонитовый направляющий стержень с закрепленным графитовым стержнем, пружиной, эбонитовым упором, устанавливают в металлических втулках, которые далее устанавливают в отверстии кронштейна и закрепляют фиксирующими винтами. Эбонитовый упор закрепляют в металлической втулке при помощи фиксирующего винта. Кронштейн в свою очередь закрепляют на станке при помощи фиксирующего винта. Также токосъемник закрепляют при помощи дополнительного кронштейна и фиксирующих винтов.
Во избежание возникновения паразитных термо-ЭДС, электропровод изготавливают из того же сплава что и сверло. Процесс резания служит в качестве горячего спая, свободные же концы термопары должны быть стабильно холодными, для этого используют емкость со льдом, в которую погружают спай термопары, образованный электропроводом, который изготавливают из инструментального материала и электропроводом, который изготавливают из обрабатываемого материала, соединенный с усилителем, сигнал от которого, через аналого-цифровой преобразователь передается на персональный компьютер, содержащий программное обеспечение Power Graph Professional, для регистрации значений термо-ЭДС. Электропровод, изготовленный из обрабатываемого материала, противоположным концом соединяют с металлической заготовкой.
Для подачи СОТС в зону резания, в металлической заготовке, эбонитовой прокладке и патроне, выполняют сквозное отверстие, в котором затем размещают сопло в непосредственной близости к режущим кромкам сверла, при этом сопло остается неподвижным на протяжении всего процесса резания.
Для измерения силы резания при рассверливании, металлическую заготовку с разрезной эбонитовой втулкой, разрезной металлической втулкой, эбонитовой прокладкой, а также патроном с коническим хвостовиком, устанавливают в оправке, в свою очередь оправку устанавливают на электронном динамометре при помощи опоры и фиксирующих винтов.
Процесс резания создает на металлической заготовке осевую силу и крутящий момент, передаваемые на электронный динамометр, который устанавливают на суппорте токарного станка при помощи фиксирующих винтов и подключают при помощи кабеля питания, через усилитель-преобразователь с блоком питания и USB-адаптер к персональному компьютеру, при помощи которого регистрируют значения осевой силы и крутящего момента, возникающих в процессе резания.
| название | год | авторы | номер документа |
|---|---|---|---|
| Способ измерения температурных и силовых параметров процесса резания при рассверливании | 2024 |
|
RU2838795C1 |
| Способ измерения температурных и силовых параметров в процессе резания при сверлении | 2021 |
|
RU2765045C1 |
| Способ измерения термо-ЭДС при сверлении | 2020 |
|
RU2737658C1 |
| Способ измерения температурных и силовых параметров в процессе резания при сверлении | 2022 |
|
RU2796967C1 |
| Способ измерения температурных и силовых параметров процесса резания при сверлении | 2023 |
|
RU2812820C1 |
| Способ измерения термо-ЭДС при сверлении | 2021 |
|
RU2761400C1 |
| Способ измерения температурных и силовых параметров в процессе резания при сверлении | 2022 |
|
RU2793004C1 |
| Способ тарирования естественной термопары сверло-заготовка | 2024 |
|
RU2833303C1 |
| Способ измерения термо-ЭДС при сверлении | 2022 |
|
RU2794907C1 |
| Способ измерения температурных и силовых параметров в процессе резания при сверлении | 2022 |
|
RU2794353C1 |
Изобретение относится к области металлообработки и может быть использовано при исследовании влияния различных по составу смазочно-охлаждающих технологических средств (СОТС) на температурные и силовые параметры процесса резания при рассверливании металлической заготовки. Способ включает соответствующую обработку электрически изолированной заготовки посредством электрически изолированного сверла с подачей СОТС в зону резания и измерение при этом сил резания посредством электронного динамометра и термо-ЭДС посредством измерительных средств, электрически связанных с помощью соответствующих электропроводов, в том числе размещенных в емкости со льдом, непосредственно со сверлом и с заготовкой, при этом электронный динамометр через соответствующие конструктивные элементы установлен на суппорте токарного станка. Упомянутое сверло, установленное в патроне сверла, закрепляют в патроне токарного станка, посредством которого осуществляют вращение сверла при обработке заготовки, которую размещают в патроне заготовки и закрепляют на электронном динамометре при помощи оправки, опоры и фиксирующих винтов, при этом подачу СОТС в зону резания осуществляют через сопло, которое размещают в сквозном осевом отверстии, выполненном в обрабатываемой заготовке, ее патроне и эбонитовой прокладке, установленной между ними. Использование изобретения позволяет расширить технологические возможности способа. 2 ил.
Способ измерения температурных и силовых параметров процесса резания при рассверливании металлической заготовки, включающий соответствующую обработку электрически изолированной заготовки посредством электрически изолированного сверла с подачей смазочно-охлаждающего технологического средства (СОТС) в зону резания и измерение при этом сил резания посредством электронного динамометра и термо-ЭДС посредством измерительных средств, электрически связанных с помощью соответствующих электропроводов, в том числе размещенных в емкости со льдом, непосредственно со сверлом и с заготовкой, при этом электронный динамометр через соответствующие конструктивные элементы установлен на суппорте токарного станка, отличающийся тем, что упомянутое сверло, установленное в патроне сверла, закрепляют в патроне токарного станка, посредством которого осуществляют вращение сверла при обработке заготовки, которую размещают в патроне заготовки и закрепляют на электронном динамометре при помощи оправки, опоры и фиксирующих винтов, при этом подачу СОТС в зону резания осуществляют через сопло, которое размещают в сквозном осевом отверстии, выполненном в обрабатываемой заготовке, ее патроне и эбонитовой прокладке, установленной между ними.
| Способ измерения температурных и силовых параметров процесса резания при сверлении | 2023 |
|
RU2812820C1 |
| Способ измерения температурных и силовых параметров в процессе резания при сверлении | 2022 |
|
RU2794353C1 |
| Способ измерения температурных и силовых параметров в процессе резания при сверлении | 2022 |
|
RU2793004C1 |
| Способ измерения температурных и силовых параметров в процессе резания при сверлении | 2021 |
|
RU2765045C1 |
| US 5573335 A1, 12.11.1996 | |||
| CN 104889820 А, 09.09.2015. | |||
Авторы
Даты
2025-04-22—Публикация
2024-08-23—Подача