СПОСОБЫ ЛЕЧЕНИЯ ПАНКРЕАТИТА Российский патент 2025 года по МПК A61K39/395 A61P1/18 

Описание патента на изобретение RU2839356C2

1. ОБЛАСТЬ ТЕХНИКИ

[0001] В данном документе представлены способы профилактики и лечения панкреатита. В частности, в данном документе предложены способы лечения и/или профилактики панкреатита с использованием молекул, которые связываются с CA19-9.

2. ПЕРЕЧЕНЬ ПОСЛЕДОВАТЕЛЬНОСТЕЙ

[0002] Эта заявка включает посредством ссылки машиночитаемую форму (CRF) перечня последовательностей в текстовом формате ASCII, отправленную через EFS-Web. Текстовый файл со перечнем последовательностей, представленный через EFS-Web, под названием 12967-046-999_Sequence_Listing.txt, был создан 10 сентября 2018 г. и имеет размер 22963 байта.

3. УРОВЕНЬ ТЕХНИКИ

[0003] Панкреатит приводит к 275000 госпитализаций ежегодно в США (Forsmark CE, et al., N Engl J Med. 2016;375(20): 1972-81). Панкреатит включает хронический панкреатит и острый панкреатит и может сопровождаться сильной болью в животе. Уровень смертности среди пациентов с хроническим панкреатитом выше, чем в общей популяции, а 10-летняя выживаемость после постановки диагноза оценивается в 69-80% (Seicean A. et al., J Gastrointestin Liver Dis. 2006;15(1):21-6.). В результате осложнений и заболеваемости, связанных с хроническим панкреатитом, ожидаемая продолжительность жизни пациентов с хроническим панкреатитом примерно на 8 лет меньше, чем у населения в целом (Bang UC. et al., Gastroenterology. 2014;146(4):989-94). При остром панкреатите тяжелой степени уровень смертности может достигать 16,3%, причем более 40% случаев смерти наступает в течение 14 суток после поступления в больницу (Fu C. et al., World J Gastroenterol. 2007; 13(13): 1966-1969).

[0004] Несмотря на повышенную смертность и значительную заболеваемость, связанные с панкреатитом, в отношении способов лечения этого изнурительного заболевания отсутствует прогресс. До настоящего изобретения острый панкреатит часто лечили с помощью общей поддерживающей терапии, которая состоит из внутривенной гидратации с различной скоростью регидратации в качестве основы лечения в зависимости от степени гидратации пациента (глава 37 «Острый панкреатит» в GI/Liver Secrets Plus, 4th edition, edited by McNally PR, 2010). Боль, сопровождающая панкреатит тяжелой степени, купируется к тому же внутривенным обезболиванием (глава 37 «Острый панкреатит» в GI/Liver Secrets Plus, 4th edition, edited by McNally PR, 2010). Хронический панкреатит часто лечится только с помощью лекарственных препаратов для снятия боли или осложнений панкреатита, при этом сам хронический панкреатит непосредственно не лечится (глава 38 «Хронический панкреатит» в GI/Liver Secrets Plus, 4th edition, edited by McNally PR, 2010).

[0005] До сих пор нет терапевтических средств, разработанных для непосредственного лечения, профилактики, контроля или облегчения панкреатита или нацеливания на механизмы, лежащие в основе развития панкреатита. Таким образом, существует потребность в идентификации терапевтического агента, который может лечить, предотвращать, контролировать или облегчать панкреатит, включая хронический и острый панкреатит.

4. КРАТКОЕ ОПИСАНИЕ СУЩНОСТИ ИЗОБРЕТЕНИЯ

[0006] В одном аспекте в данном документе предложен способ профилактики, лечения, облегчения или контроля панкреатита у субъекта, нуждающегося в этом, включающий введение субъекту терапевтически эффективного количества антитела или его функционального фрагмента, которое связывается с сиалил-Льюис a (анти-sLea).

[0007] В другом аспекте в данном документе предложен способ профилактики, лечения, облегчения или контроля панкреатита у субъекта, нуждающегося в этом, включающий:

(1) введение субъекту в первой дозе антитела или его функционального фрагмента, которое связывается с сиалил-Льюис a (анти-sLea),

(2) определение степени тяжести панкреатита у указанного субъекта, и

(3) введение второй дозы антитела или его функционального фрагмента, которое связывается с анти-sLea, в том же или меньшем количестве, чем первая доза, если степень тяжести панкреатита у субъекта снижена по сравнению со степенью тяжести панкреатита у субъекта до введения анти-sLea, или введение второй дозы анти-sLea в большем количестве, чем первая доза, если степень тяжести панкреатита у субъекта не снижена.

[0008] В определенном аспекте в данном документе предложен способ профилактики, лечения, облегчения или контроля панкреатита у субъекта, нуждающегося в этом, включающий введение субъекту терапевтически эффективного количества терапевтического агента, который связывается с CA19-9.

[0009] В одном аспекте в данном документе предложен способ профилактики, лечения, облегчения или контроля панкреатита у субъекта, нуждающегося в этом, включающий:

(1) введение субъекту в первой дозе терапевтического агента, который связывается с CA19-9,

(2) определение степени тяжести панкреатита у указанного субъекта, и

(3) введение второй дозы терапевтического агента в таком же или меньшем

количестве, чем первая доза, если степень тяжести панкреатита у субъекта снижена по сравнению со степенью тяжести панкреатита у субъекта до введения агента, или введение второй дозы терапевтического агента в большем количестве, чем первая доза, если степень тяжести панкреатита у субъекта не снижена.

[0010]

[0011] В некоторых вариантах осуществления способов, предложенных в данном документе, антитело к sLea или его функциональный фрагмент содержит вариабельный домен тяжелой цепи (VH), указанный домен VH содержит аминокислотную последовательность, выбранную из группы, состоящей из остатков 20-142 SEQ ID NO: 2, остатков 20-142 SEQ ID NO: 6, остатков 20-142 SEQ ID NO: 10 и остатков 20-145 SEQ ID NO: 14.

[0012] В некоторых вариантах осуществления способов, предложенных в данном документе, антитело к sLea или его функциональный фрагмент содержит вариабельный домен легкой цепи (VL), причем указанный домен VL содержит аминокислотную последовательность, выбранную из группы, состоящей из остатков 20-130 последовательности SEQ. ID NO: 4, остатков 20-129 SEQ ID NO: 8, остатков 20-130 SEQ ID NO: 12 и остатков 23-130 SEQ ID NO: 16.

[0013] В других вариантах осуществления способов, предложенных в данном документе, антитело к sLea или его функциональный фрагмент содержит вариабельный домен тяжелой цепи (VH) и вариабельный домен легкой цепи (VL), причем указанный домен VH и указанный домен VL, соответственно, содержат аминокислотную последовательность, выбранную из группы, состоящей из остатков 20-142 SEQ ID NO: 2 и остатков 20-130 SEQ ID NO: 4; остатков 20-142 SEQ ID NO: 6 и остатков 20-129 SEQ ID NO: 8; остатков 20-142 SEQ ID NO: 10 и остатков 20-130 SEQ ID NO: 12; и остатков 20-145 SEQ ID NO: 14 и остатков 23-130 SEQ ID NO: 16.

[0014] В некоторых вариантах осуществления способов, предложенных в данном документе, антитело к sLea или его функциональный фрагмент содержит вариабельную область тяжелой цепи, содержащую три определяющие комплементарность области (CDR), имеющие аминокислотную последовательность трех CDR вариабельной области тяжелой цепи согласно нумерации по Kabat из антитела, продуцируемого гибридомой, депонированной в Американской коллекции типовых культур (АТСС) под номером доступа НВ-8059, и вариабельную область легкой цепи, содержащую три CDR, имеющие аминокислотную последовательность трех CDR вариабельной области легкой цепи согласно нумерации по Kabat из антитела, продуцируемого гибридомой, депонированной в АТСС под номером доступа HB-8059.

[0015] В определенных вариантах осуществления способов, представленных в данном документе, антитело к sLea или его функциональный фрагмент содержит вариабельную область тяжелой цепи, состоящую из аминокислотной последовательности вариабельной области тяжелой цепи антитела, продуцируемого гибридомой, депонированной в Американской коллекции типовых культур (ATCC) под номером доступа HB-8059, и вариабельную область легкой цепи, состоящую из аминокислотной последовательности вариабельной области легкой цепи антитела, продуцируемого гибридомой, депонированной в ATCC под номером доступа HB- 8059.

[0016] В других вариантах осуществления способов, предложенных в данном документе, антитело к sLea или его функциональный фрагмент содержит тяжелую цепь, состоящую из аминокислотной последовательности тяжелой цепи антитела, продуцируемого гибридомой, депонированной в АТСС под номером доступа HB-8059, и легкую цепь, состоящую из аминокислотной последовательности легкой цепи антитела, продуцируемого гибридомой, депонированной в АТСС под номером доступа HB-8059.

[0017] В некоторых вариантах осуществления способов, предложенных в данном документе, функциональный фрагмент антитела к sLea выбран из группы, состоящей из Fab, Fab', F(ab')2, scFV, диатела, триатела, миниантитела и однодоменного антитела (sdAB). В определенных вариантах осуществления антитело к sLea или его функциональный фрагмент представляет собой диатело. В дополнительных вариантах осуществления диатело содержит аминокислотную последовательность SEQ ID NO: 18 или 20.

[0018] В дополнительных вариантах осуществления способов, предложенных в данном документе, антитело к sLea или его функциональный фрагмент представляет собой моноклональное антитело. В определенных вариантах осуществления способов, предложенных в данном документе, антитело к sLea или его функциональный фрагмент относится к изотипу IgG или IgM. В определенных вариантах осуществления антитело IgG представляет собой антитело подкласса IgG1, IgG2, IgG3 или IgG4.

[0019] В некоторых вариантах осуществления способов, предложенных в данном документе, антитело к sLea или его функциональный фрагмент составляют в виде фармацевтической композиции, содержащей фармацевтически приемлемый носитель. В некоторых вариантах осуществления антитело или его функциональный фрагмент вводят субъекту парентеральным путем. В некоторых вариантах осуществления парентеральное введение выбрано из группы, состоящей из подкожной инъекции, внутримышечной инъекции и внутривенной инъекции.

[0020] В некоторых вариантах осуществления способов, предложенных в данном документе, антитело или его функциональный фрагмент вводят субъекту в диапазоне доз от около 0,1 мг/кг/доза до около 10 мг/кг/доза. В определенных вариантах осуществления антитело или его функциональный фрагмент вводят субъекту еженедельно, раз в две недели, ежемесячно или два раза в месяц. В определенных вариантах осуществления антитело или его функциональный фрагмент вводят в течение около одного, двух, трех, четырех, пяти или шести месяцев.

[0021] В определенных вариантах осуществления способов, предложенных в данном документе, терапевтический агент представляет собой антитело или его функциональный фрагмент, которое связывается с сиалил-Льюис a (анти-sLea).

[0022] В некоторых вариантах осуществления способов, предложенных в данном документе, терапевтический агент представляет собой пептид или пептидомиметическую молекулу. В определенных вариантах осуществления пептид или пептидомиметик обладает свойством специфически связываться с сиалил-Льюис a.

[0023] В определенных вариантах осуществления способов, предложенных в данном документе, панкреатит характеризуется одним или более маркерами. В определенных вариантах осуществления способов, предложенных в данном документе, степень тяжести панкреатита определяется по одному или более маркерам. В определенных вариантах осуществления способов, предложенных в данном документе, у субъекта повышены уровни одного или более маркеров панкреатита. В некоторых вариантах осуществления способов, предложенных в данном документе, введение терапевтического агента приводит к снижению уровня одного или более маркеров панкреатита у субъекта. В определенных вариантах осуществления один или более маркеров выбраны из группы, состоящей из физиологического маркера, гистологического маркера, серологического маркера и сигнального маркера. В некоторых вариантах осуществления гистологический маркер выбран из группы, состоящей из инвазии иммунных клеток, отложения коллагена, фиброзной ткани, жирового некроза, интерстициального отека, разрушения ацинарных клеток и кровеносных сосудов, интерстициального кровотечения, расширения протоков, гомогенизации в ацинарных клетках и уровня экспрессии CA19-9. В определенных вариантах осуществления один или более маркеров включают уровень экспрессии CA19-9. В других вариантах осуществления один или более маркеров определяют с помощью иммуногистохимии. В определенных вариантах осуществления серологический маркер выбран из группы, состоящей из уровня сывороточной липазы, уровня сывороточной амилазы и уровня сывороточного C-реактивного белка. В некоторых вариантах осуществления один или более маркеров имеют уровень сывороточной липазы более 200 Ед/л. В определенных вариантах осуществления один или более маркеров имеют уровень сывороточной амилазы более 200 Ед/л. В некоторых вариантах осуществления один или более маркеров представляют собой уровень сывороточной амилазы, который в три раза превышает верхний предел нормального уровня сывороточной амилазы у контрольного субъекта. В определенных вариантах осуществления один или более маркеров представляют собой уровень сывороточной липазы, который в три раза превышает верхний предел нормального сывороточного уровня у контрольного субъекта. В некоторых вариантах осуществления, физиологический маркер выбран из группы, состоящей из потери массы, мальабсорбции, атрофии поджелудочной железы, увеличения поджелудочной железы, воспаления поджелудочной железы и желчного рефлюкса.

[0024] В одном аспекте в данном документе предложен способ профилактики, лечения, облегчения или контроля панкреатита у субъекта с повышенным уровнем sLea поджелудочной железы, причем указанный способ включает введение субъекту терапевтически эффективного количества терапевтического агента, который специфически связывается с sLea.

[0025] В определенных вариантах осуществления способов, предложенных в данном документе, панкреатит представляет собой панкреатит, выбранный из группы, состоящей из хронического панкреатита и острого панкреатита. В некоторых вариантах осуществления хронический панкреатит выбран из группы, состоящей из хронического панкреатита легкой степени, хронического панкреатита средней степени и хронического панкреатита тяжелой степени. В определенных вариантах осуществления острый панкреатит выбран из группы, состоящей из острого панкреатита легкой степени, острого панкреатита средней степени и острого панкреатита тяжелой степени.

[0026] В некоторых вариантах осуществления способов, предложенных в данном документе, субъект представляет собой млекопитающее. В определенных вариантах осуществления способов, предложенных в данном документе, млекопитающее представляет собой человека.

5. КРАТКОЕ ОПИСАНИЕ ГРАФИЧЕСКИХ МАТЕРИАЛОВ

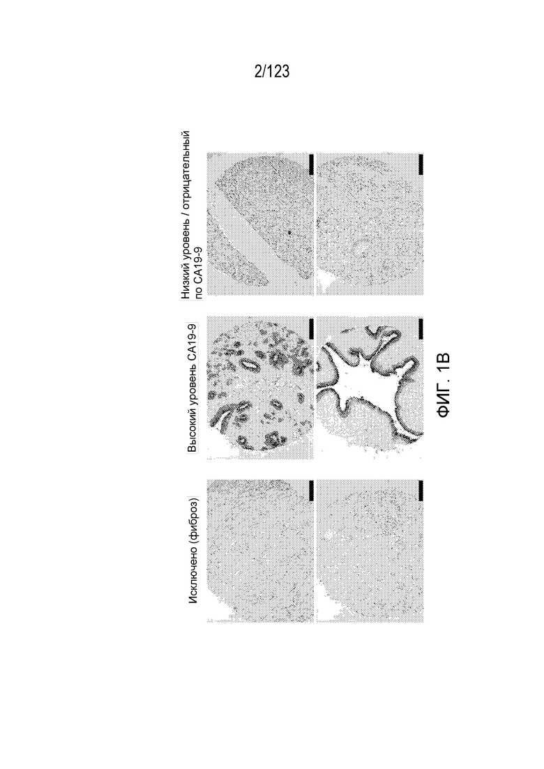
[0027] На Фиг. 1A показан процент пациентов с хроническим панкреатитом, демонстрирующих высокие уровни CA19-9 в ткани поджелудочной железы (левая панель), и репрезентативный иммуногистохимический анализ (ИГХ), демонстрирующий, что CA19-9 находится преимущественно в протоках поджелудочной железы (две правые панели, обозначены открытыми стрелками). На Фиг. 1B показан пример ИГХ на CA19-9 для исключенных образцов (слева), образцов с высоким уровнем CA19-9 (в центре) и с низким уровнем/отрицательным по CA19-9 (справа) от людей с хроническим панкреатитом. Масштабные линейки=100 мкм. На Фиг. 1C показано схематическое изображение синтеза антигена Льюис. На Фиг. 1D показано, что эктопический FUT3 индуцирует экспрессию Льюис x (Lex), но не CA19-9/сиалил-Льюис a (SLea) в клетках протоковой аденокарциномы поджелудочной железы (PDAC) мышей, с помощью проточной цитометрии. На Фиг. 1E показана проточная цитометрия CA19-9 клеток PDAC мыши, стабильно и конститутивно экспрессирующих FUT3 с β3GALT5, по сравнению с контрольными исходными клетками KPC. Экспрессия как FUT3, так и β3GALT5 приводила к экспрессии CA19-9 на клеточной поверхности на уровнях, эквивалентных уровням, наблюдаемым в линии раковых клеток человека (Colo205). На Фиг. 1F показана иммунофлуоресцентная оценка CA19-9 линии клеток PDAC человека Suit2 (верхние панели) и клеток PDAC мыши (нижние панели), стабильно и конститутивно экспрессирующих FUT3 и β3GALT5 или клетки PDAC, экспрессирующие контрольный пустой вектор. Масштабные линейки=25 мкм. На Фиг. 1G показаны уровни циркулирующих CA19-9 у бестимусных мышей, трансплантированных CA19-9-отрицательной линией клеток PDAC человека MiaPaCa2, CA19-9-положительной клеточной линией PDAC человека Suit2, линиями клеток PDAC мыши, трансфицированными контрольным пустым вектором, и клетками PDAC мыши, стабильно и конститутивно экспрессирующими FUT3 и β3GALT5.

[0028] На Фиг. 2A показана стратегия иммунопреципитации/масс-спектрометрии (IP/MS) для клеток PDAC мыши, стабильно и конститутивно экспрессирующих FUT3 и β3GALTS (левая панель), подтверждение эффективности иммунопреципитации CA19-9 методом иммуноблоттинга (средняя панель) и перекрытие белков-носителей CA19-9 между тремя линии биологических реплик (FC1199, FC1242 и FC1245) (правая панель). На Фиг. 2B показана стратегия IP/MS для человеческих клеток PDAC (левая панель), валидация эффективности иммунопреципитации CA19-9 методом иммуноблоттинга (средняя панель) и перекрытие белков-носителей CA19-9 между тремя линиями биологических реплик (Capan2, hM1-2D и Suit2) (правая панель). На Фиг. 2C показано перекрытие между белками-носителями CA19-9, идентифицированными в 3 из 3 линий клеток PDAC человека (n=936), с тремя независимыми линиями клеток PDAC мыши, экспрессирующими FUT3 и β3GALT5.

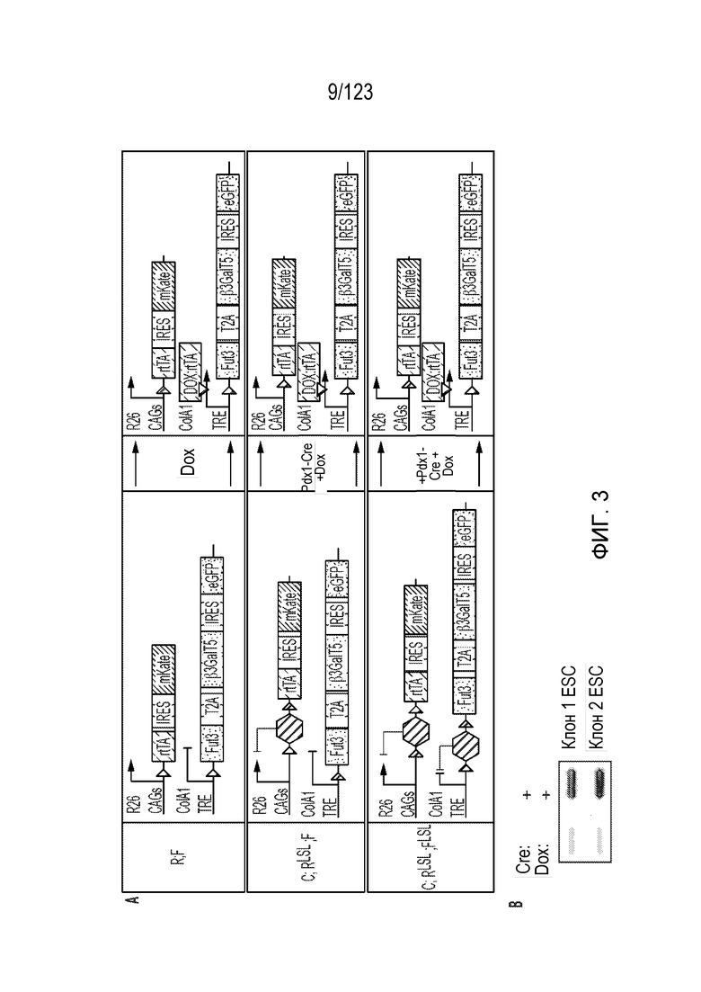
[0029] На Фиг. 3A-3D показаны дизайн, валидация и создание генетически сконструированной модели мыши CA19-9. На Фиг. 3A показан схематическое изображение индуцибельных мышиных моделей CA19-9. На Фиг. 3B показан иммуно-слот-блот, подтверждающий продукцию CA19-9 в клонах клеток mES после трансфекции Cre и применения Dox. На Фиг. 3C показан саузерн-блот для eGFP в положительной контрольной гДНК клеток mES дикого типа с нацеленным вектором с добавлением 1-5 копий на геном и в клонах, нацеленных на клетки mES. Правильный размер для интеграции - 5,548 КБ (нецелевой=4,04 кб). На Фиг. 3D показана оценка числа копий eGFP методом кПЦР целевых клонов клеток mES по сравнению с ранее подтвержденным целевым клоном клеток mES, несущим единственную и правильную интеграцию нацеленного вектора ColA1 (Pl2).

[0030] На Фиг. 4 показана модель всего тела CA19-9 мыши, гистология всего тела с помощью гистологической оценки гематоксилином и эозином (H&E) тканей от не получавших лечение R;F мышей. Масштабные линейки=100 мкм.

[0031] На Фиг. 5 показана модель всего тела CA19-9 мыши, гистология всего тела с помощью гистологической оценки H&E тканей R;F мышей, получавших Dox в течение 7 дней. Масштабные линейки=100 мкм.

[0032] На Фиг. 6 показана модель всего тела CA19-9 мыши, гистология всего тела с помощью гистологической оценки H&E тканей R;F мышей, получавших Dox в течение 28 дней. Масштабные линейки=100 мкм.

[0033] На Фиг. 7 показаны генетически отрицательные контрольные однопометники модели всего тела CA19-9 мыши, гистология всего тела с помощью гистологической оценки H&E тканей от не получавших лечение R;F генетически отрицательных контрольных однопометников. Масштабные линейки=100 мкм.

[0034] На Фиг. 8 показаны генетически отрицательные контрольные однопометники модели всего тела CA19-9 мыши, гистология всего тела в H&E, гистологическую оценку тканей от R;F генетически отрицательных контрольных однопометников, получавших Dox в течение 7 дней. Масштабные линейки=100 мкм.

[0035] На Фиг. 9 показаны генетически отрицательные контрольные однопометники модели всего тела CA19-9 мыши, гистология всего тела с помощью гистологической оценки H&E тканей от R;F генетически отрицательных контрольных однопометников, получавших Dox в течение 28 дней. Масштабные линейки=100 мкм.

[0036] На Фиг. 10 показана фокальная поджелудочная железа, модель CA19-9 мыши, управляемая PDXI-Cre, гистология всего тела с помощью гистологической оценки H&E тканей от не получавших лечение CPDX;RLSL\PLSL мышей. Масштабные линейки=100 мкм.

[0037] На Фиг. 11 показана фокальная поджелудочная железа, модель CA19-9 мыши, управляемая PDXI-Cre, гистология всего тела с помощью гистологической оценки H&E тканей от CPDX;RLSL\PLSL мышей, получавших Dox в течение 7 дней. Масштабные линейки=100 мкм.

[0038] На Фиг. 12 показана фокальная поджелудочная железа, модель CA19-9 мыши, управляемая PDXI-Cre, гистология всего тела с помощью гистологической оценки H&E тканей от CPDX;RLSL\PLSL мышей, получавших Dox в течение 28 дней. Масштабные линейки=100 мкм.

[0039] На Фиг. 13 показана фокальная поджелудочная железа, генетически отрицательные контрольные однопометники модели всего тела CA19-9 мыши, гистология всего тела в гистологическая оценка H&E тканей от не получавших лечение CPDX/ P48;RLSL\P LSL генетически отрицательных контрольных однопометников. Масштабные линейки=100 мкм.

[0040] На Фиг. 14 показана фокальная поджелудочная железа, модель CA19-9 мыши генетически отрицательного контроля однопометников, гистология всего тела с помощью гистологической оценки H&E тканей от CPDX/P48;RLSL\P LSL не получавших лечение генетически отрицательных контрольных однопометников, получавших Dox в течение 7 дней. Масштабные линейки=100 мкм.

[0041] На Фиг. 15 показана фокальная поджелудочная железа, генетически отрицательные контрольные однопометники модели CA19-9 мышей, гистология всего тела с помощью гистологической оценки H&E тканей от CPDX/ P48;RLSL\P L SL генетически отрицательных контрольных однопометников, получавших Dox в течение 28 дней. Масштабные линейки=100 мкм.

[0042] На Фиг. 16 показана фокальная поджелудочная железа, модель CA19-9 мыши, управляемая p48-Cre, гистология всего тела с помощью гистологической оценки H&E тканей от не получавших P48;RLSL\F L SL мышей. Масштабные линейки=100 мкм.

[0043] На Фиг. 17 показана фокальная поджелудочная железа, модель CA19-9 мыши, управляемая p48-Cre, гистология всего тела с помощью гистологической оценки H&E тканей от CP48 RLSL FLSL мышей, получавших Dox в течение 7 дней. Масштабные линейки=100 мкм.

[0044] На Фиг. 18 показана фокальная поджелудочная железа, модель CA19-9 мыши, управляемая p48-Cre, гистология всего тела с помощью гистологической оценки H&E тканей от CP48 RLSL FLSL мышей, получавших Dox в течение 28 дней. Масштабные линейки=100 мкм.

[0045] На Фиг. 19 показана модель целой поджелудочной железы CA19-9 мыши, гистология всего тела с помощью гистологической оценки гематоксилином H&E тканей от не получавших лечение CPDX RLSL F мышей. Масштабные линейки=100 мкм.

[0046] На Фиг. 20 показана модель целой поджелудочной железы тела CA19-9 мыши, гистология всего тела с помощью гистологической оценки H&E тканей CPDX RLSL F мышей, получавших Dox в течение 7 дней. Масштабные линейки=100 мкм.

[0047] На Фиг. 21 показана модель целой поджелудочной железы тела CA19-9 мыши, гистология всего тела с помощью гистологической оценки H&E тканей CPDX RLSL F мышей, получавших Dox в течение 28 дней. Масштабные линейки=100 мкм.

[0048] На Фиг. 22 показаны генетически отрицательные контрольные однопометники модели целой поджелудочной железы тела CA19-9 мыши, гистология всего тела с помощью гистологической оценки H&E тканей от не получавших лечение CPDX RLSL F генетически отрицательных контрольных однопометников. Масштабные линейки=100 мкм.

[0049] На Фиг. 23 показаны генетически отрицательные контрольные однопометники модели целой поджелудочной железы CA19-9 мыши, гистологию всего тела с помощью гистологической оценки H&E тканей от не получавших лечение CPDX RLSL F генетически отрицательных контрольных однопометников, получавших Dox в течение 7 дней. Масштабные линейки=100 мкм.

[0050] На Фиг. 24 показаны генетически отрицательные контрольные однопометники модели целой поджелудочной железы CA19-9 мыши, гистология всего тела с помощью гистологическая оценка H&E тканей от не получавших лечение CPDX RLSL F генетически отрицательных контрольных однопометников, получавших Dox в течение 28 дней. Масштабные линейки=100 мкм.

[0051] На Фиг. 25A показана гистологическая оценка CPDX RLSL F поджелудочной железы окрашиванием H&E, окрашиванием трихромом по Массону (MT, синий указывает на отложение коллагена) и экспрессия CA19-9 (открытая стрелка, CA19-9+проток; закрытая стрелка, CA19-9+островок) ИГХ после применения Dox. Масштабные линейки=50 мкм. На Фиг. 25B показано количественная оценка процента площади поджелудочной железы, демонстрирующей гистологические признаки панкреатита, после применения Dox у CPDX RLSL F мышей. n=5, 4, 5, 3, 9, соответственно, (F (4,21) = 22,46, p <0,0001). На Фиг. 25C показаны уровни циркулирующих амилазы (F (5,61) = 74,44, p <0,0001) и липазы (F (5,61) = 27,59, p <0,0001) (Ед/л) после применения Dox у CPDX RLSL F мышей. Пунктирная линия указывает на повышение порога, необходимого для диагностики панкреатита. Пунктирная линия указывает на максимальный уровень обнаружения. n=14, 12, 19, 8 и 9, соответственно. Средние горизонтальные красные линии представляют собой среднее значение, а планки погрешностей представляют стандартное отклонение; каждая точка данных представляет собой показатель от отдельной мыши. * p<0,05, ** p<0,01, *** p<0,001, **** p<0,0001 для множественных сравнений с использованием метода Холма-Сидака после одностороннего дисперсионного анализа.

[0052] На Фиг. 26 показано сравнение степени тяжести панкреатита на мышиной модели с использованием гистологической оценки H&E поджелудочной железы мышей генетически отрицательных контрольных однопометников, R;F, CPDX RLSL FLSL или CP48 RLSL FLSL мышей, получавших Dox. Масштабные линейки=50 мкм.

[0053] На Фиг. 27 показано сравнение мышиной модели в отношении избытка стромы с использованием окрашивания трихромом по Массону (синий, отложение коллагена) поджелудочной железы от генетически отрицательных контрольных однопометников, R;F или CPDX RLSL FLSL мышей, получавших Dox. Масштабные линейки= 50 мкм.

[0054] На Фиг. 28A-28C показано на мышиной модели сравнение степени тяжести панкреатита у генетически сконструированных мышей. Генетически отрицательные контрольные однопометники, R;F, CPDX RLSL FLSL или CP48 RLSL FLSL мыши, получавшие Dox (дни). Данные для C RLSL F модели на Фиг. 25B-25C включены для относительного сравнения. На Фиг. 28A показан процент площади поджелудочной железы с гистологическими признаками панкреатита (F (4,22) = 0,5589; (4,12) = 16,02; (4,21) = 22,46; (3,19) = 2,705). На Фиг. 28B-28C показаны циркулирующие уровни (Ед/л) ферментов поджелудочной железы амилазы (B) (F (4, 71) = 8,828; (4, 22) = 25,07; (5,61) = 74,44; (4, 58) = 6,343) и липазы (C) (F (4,71) = 2,967; (4,22) = 7,108; 5,61) = 27,59; (4,58) = 5,637) после лечения Dox (дни). Пунктирная линия указывает на повышение порога, необходимого для диагностики панкреатита. Пунктирная линия указывает на максимально возможный уровень обнаружения амилазы. Линии представляют собой среднее значение; каждая точка данных представляет собой показатель от отдельной мыши. * p<0,05, ** p<0,01, *** p<0,001, **** p<0,0001 с использованием одностороннего дисперсионного анализа с множественными сравнениями.

[0055] На Фиг. 29A-29B показана ИГХ для eGFP и CA19-9 в поджелудочной железе каждой модели CA19-9 мыши. На Фиг. 29A показана ИГХ на eGFP поджелудочной железы от R;F, cPDX;RLSL\F, cPDX;RLSL\FLSL или CP48;RLSL\ FLSL мышей, получавших Dox в течение 0 или 7 дней. Открытые стрелки указывают на положительные островковые клетки, закрытые стрелки указывают на положительные протоки, * указывает на отрицательные сосуды, и «а» указывает на положительные ацинарные клетки. Масштабные линейки=50 мкм. На Фиг. 29B показана ИГХ на CA19-9 в поджелудочной железе от генетически отрицательных контрольных однопометников, R;F, cPDX;RLSL\FLSL или CP48;RLSL\ FLSL мышей, получавших Dox. Открытые стрелки указывают на положительные островковые клетки, закрытые стрелки указывают на положительные протоки, оранжевые стрелки указывают на положительные ацинарные клетки. На вставке показано увеличение положительных каналов, обозначенных закрытыми стрелками. Масштабные линейки=50 мкм.

[0056] На Фиг. 30A-30B показана иммунофлуоресценция (IF) линии дифференцировки поджелудочной железы в модели всего тела R;F CA19-9 мыши. На Фиг. 30A показана IF протокового маркера CK19, а также eGFP (Dax-зависимый маркер рекомбинации), DAPI и CA19-9 в поджелудочной железе R;F мышей, получавших Dox в течение 0, 7 или 28 дней. На Фиг. 30B показано аннотированное IF изображение от А. Масштабные линейки=50 мкм.

[0057] На Фиг. 31 показана иммунофлуоресценция (IF) линии дифференцировки поджелудочной железы в модели всего тела R;F CA19-9 мыши. IF маркера фибробластов, подопланина, а также eGFP (Dox-зависимый маркер рекомбинации), DAPI и CA19-9 в поджелудочной железе R;F мышей, получавших Dox в течение 28 дней. CA19-9+, подопланин+, eGFP- клетки обозначены открытой розовой стрелкой. CA19-9-, подопланин+, eGFP- клетки обозначены закрытой красной стрелкой. Масштабные линейки=50 мкм.

[0058] На Фиг. 32 показана модель всего тела CA19-9 мыши: экспрессия eGFP в непанкреатических тканях. Показана ИГХ на eGFP тканей от не получавших лечение R;F мышей. Масштабные линейки=100 мкм.

[0059] На Фиг. 33 показана модель всего тела CA19-9 мыши: экспрессия eGFP в тканях, отличных от поджелудочной железы. Показана ИГХ на eGFP тканей R;F мышей, получавших Dox. Масштабные линейки=100 мкм.

[0060] На Фиг. 34 показана модель целой поджелудочной железы CA19-9 мыши: экспрессия eGFP в непанкреатических тканях. Показана ИГХ на eGFP тканей от не получавших лечение cPDX;RLSL\F мышей. Масштабные линейки=100 мкм.

[0061] На Фиг. 35 показана модель целой поджелудочной железы CA19-9 мыши: экспрессия eGFP в непанкреатических тканях. ИГХ на eGFP тканей; показаны CPDX RLSL F мыши, получавшие Dox. Масштабные линейки=100 мкм.

[0062] На Фиг. 36 показана фокальная поджелудочная железа, модель CA19-9 мыши, управляемая PDX1-Cre: экспрессия eGFP в непанкреатических тканях. Показана ИГХ на eGFP тканей от не получавших лечение CPDX RLSL FLSL мышей. Масштабные линейки=100 мкм.

[0063] На Фиг. 37 показана фокальная поджелудочная железа, модель CA19-9 мыши, управляемая PDX1-Cre: экспрессия eGFP в непанкреатических тканях. Показана ИГХ на eGFP тканей CPDX RLSL FLSL мышей, получавших Dox. Масштабные линейки=100 мкм.

[0064] На Фиг. 38 показана фокальная поджелудочная железа, модель CA19-9 мыши, управляемая p48-Cre: экспрессия eGFP в непанкреатических тканях. Показана ИГХ на eGFP тканей от не получавших лечение CP48 RLSL FLSL мышей. Масштабные линейки=100 мкм.

[0065] На Фиг. 39 показана фокальная поджелудочная железа, модель CA19-9 мыши, управляемая p48-Cre: экспрессия eGFP в непанкреатических тканях. Показана ИГХ на eGFP тканей CP48 RLSL FLSL мышей, получавших Dox. Масштабные линейки=100 мкм.

[0066] На Фиг. 40 показана модель всего тела CA19-9 мыши: экспрессия CA19-9 в непанкреатических тканях. Показана ИГХ на CA19-9 тканей от не получавших лечение R;F мышей. Масштабные линейки=100 мкм.

[0067] На Фиг. 41 показана модель всего тела CA19-9 мыши: экспрессия CA19-9 в непанкреатических тканях. Показан ИГХ на CA19-9 тканей R;F мышей, получавших Dox в течение 7 дней. Масштабные линейки=100 мкм.

[0068] FIG. 42 показана модель всего тела CA19-9 мышей: экспрессия CA19-9 в непанкреатических тканях. Показан ИГХ на CA19-9 тканей от R;F мышей, получавших Dox в течение 28 дней. Масштабные линейки=100 мкм.

[0069] На Фиг. 43 показана модель всего тела CA19-9 мыши: экспрессия CA19-9 в непанкреатической ткани. Показан ИГХ на CA19-9 тканей от не получавших лечение R;F генетически отрицательных контрольных однопометников. Масштабные линейки=100 мкм, за исключением сердца, где масштабная линейка=500 мкм.

[0070] На Фиг. 44 показана модель фокальной поджелудочной железы CA19-9 мыши: экспрессия CA19-9 в непанкреатических тканях. Показана ИГХ на CA19-9 тканей не получавших лечение CPDX RLSL FLSL и CP48 RLSL FLSL мышей. Масштабные линейки=100 мкм.

[0071] На Фиг. 45 показана модель фокальной поджелудочной железы CA19-9 мыши: экспрессия CA19-9 в непанкреатических тканях. Показана ИГХ на CA19-9 тканей от CPDX RLSL FLSL и CP48 RLSL FLSL мышей, получавших Dox в течение 7 дней. Масштабные линейки=100 мкм.

[0072] На Фиг. 46 показана модель фокальной поджелудочной железы CA19-9 мыши: экспрессия CA19-9 в непанкреатических тканях. Показана ИГХ на CA19-9 тканей от CPDX RLSL FLSL и CP48 RLSL FLSL мышей, получавших Dox в течение 28 дней. Масштабные линейки=100 мкм.

[0073] На Фиг. 47 показана модель фокальной поджелудочной железы CA19-9 мыши: экспрессия CA19-9 в непанкреатических тканях. ИГХ на CA19-9 тканей от не получавших лечение CPDX RLSL FLSL и CP48 RLSL FLSL генетически отрицательный контроль однопометников. Масштабные линейки=100 мкм.

[0074] На Фиг. 48A-48B показано сравнение в мышиной модели массы тела и массы поджелудочной железы. На Фиг. 48A показано процентное изменение массы тела у генетически отрицательных контрольных однопометников, R;F, CPDX RLSL F или CPDX RLSL FLSL мышей, получавших Dox (недели). Каждая линия точек данных представляет собой одну и ту же отдельную мышь во времени. p-значение, определенное при помощи множества t-тестов (Холм-Сидак) без учета соответствующего стандартного отклонения. На Фиг. 48B показан процент массы поджелудочной железы, нормализованный к массе тела после 12 недель применения Dox у генетически отрицательных контрольных однопометников, CPDX RLSL F или CPDX RLSL FLSL мышей. Значение p, определенное непарным параметрическим двусторонним t-критерием (t=1,225, 5,874, 0,7731, 1,059; df=29, 4, 10, 4. Линии представляют собой среднее значение; каждая точка данных представляет собой показатель от отдельной мыши. * p<0,05, **p<0,01, *** p<0,001, **** p<0,0001.

[0075] На Фиг. 49A-49D показана оценка показателей аутоиммунитета, недостаточности экзокринной функции поджелудочной железы, гомеостаза глюкозы и секреции CA19-9. На Фиг. 49A показано серологическое определение антител, направленных против CA19-9, в плазме мышей из модели всего тела R;F CA19-9 мыши, а также мышей, непосредственно иммунизированных CA19-9. На Фиг. 49B показаны уровни химотрипсина и эластазы в кале, измеренные у R;F мышей после 0 или 7 дней применения Dox. На Фиг. 49С показано, что уровни глюкозы в крови измеряли у мышей, получавших произвольное питание, из моделей R;F и CPDX RLSL F , после обработки водой-носителем с сахарозой или водой с сахарозой и Dox в течение 7 дней с последующим переходом на Dox или обычный корм. На Фиг. 49D показан циркулирующий уровень CA19-9 (Ед/мл) после применения Dox у генетически отрицательных контрольных однопометников, R;F, CPDX RLSL F или C RLSL FLSL мышей (дни). р-значение, определенное с помощью одностороннего дисперсионного анализа с множественными сравнениями (F (3,30) = 2,305; (3,14) = 13,46, (3,24) = 35,36; (3, 35) = 4,667). Линии представляют собой среднее значение; каждая точка данных представляет собой показатель от отдельной мыши. Значения, превышающие 37 Ед/мл (пунктирная линия), считаются повышенными. * p<0,05, ** p<0,01, *** p<0,001, **** p<0,0001.

[0076] На Фиг. 50A показан уровень циркулирующего CA19-9 (Ед/мл) после применения Dox у CPDX RLSL F мышей. Значения, превышающие 37 Ед/мл (пунктирная линия), являются повышенными (F (3,24) = 35,36, p <0,0001). n=5, 5, 8 и 10, соответственно. На Фиг. 50B показана инфильтрация иммунных клеток, оцененная с помощью проточной цитометрии у мышей, получавших церулеин (C57Bl/6j, n=5, 5 и 5, соответственно) и CPDX RLSL F мыши, получавшие Dox (n=4, 4 и 6, соответственно) по сравнению с генетически отрицательными контролями (GN, n=3 и 3, соответственно) (F (7,26/27/26) = 41,06, 14,38, 41,23, p <0,0001 для всех). Для Фиг. 50A-50B, средние горизонтальные красные линии представляют собой среднее значение, а планки погрешностей представляют собой стандартное отклонение; каждая точка данных представляет собой показатель от отдельной мыши; * p<0,05, ** p<0,01, *** p<0,001, **** p<0,0001 для множественных сравнений с использованием метода Холма-Сидака после одностороннего дисперсионного анализа

[0077] На Фиг. 51A показана представленность иммунных клеток во время индукции панкреатита у мышей. Представленность типов иммунных клеток определяли с помощью проточной цитометрии в селезенке, периферических лимфатических узлах, мезентериальных лимфатических узлах и поджелудочной железе у мышей, получавших церулеин для индукции острого панкреатита (C57Bl/6j) и CPDX RLSL F мышей, получавших Dox в течение 0, 1 или 3 дней по сравнению с генетически отрицательными контрольными однопометниками (GN). Данные представлены в виде процентного содержания CD45-положительных клеток. На Фиг. 51B показана представленность типов иммунных клеток, определенная с помощью проточной цитометрии в поджелудочной железе мышей, получавших церулеин для индукции острого панкреатита (C57Bl/6j) и CPDX RLSL F мышей, получавших Dox в течение 0, 1 или 3 дней, по сравнению с генетически отрицательными контрольными однопометниками (GN). Линии представляют собой среднее значение; каждая точка данных представляет собой показатель от отдельной мыши. * p<0,05, ** p<0,01, ***p<0,001, **** p<0,0001 с использованием одностороннего дисперсионного анализа с множественными сравнениями (F (8,30) = 2,709; 2,034; 3,049; 3,784; 4,739; 6,46; 3,986; 4,688).

[0078] На Фиг. 52A показано, что экспрессия CA19-9 вызывает пролиферацию в протоках. Включение EdU оценивали с помощью проточной цитометрии у CPDX RLSL F мышей (n=3, 3 и 4, соответственно) и генетически отрицательных контрольных однопометников (GN, n=3 и 2, соответственно) после применения Dox. Показан процент EdU-положительных клеток во всей поджелудочной железе (F (4,10) = 14,48, p <0,0004), инфильтрирующем иммунном компартменте (CD45, F (4,10) = 14,82, p <0,0003) или в линии дифференцировки протокового эпителия (CK19, F (4,9) = 48,35, p <0,0001). Линии представляют собой среднее значение; каждая точка данных представляет собой показатель от отдельной мыши. На Фиг. 52B-52C показана оценка маркеров протеотоксического стресса в первичных культурах ацинарных клеток после обработки с помощью Dox. На Фиг. 52B показаны уровни амилазы и липазы в кондиционированной среде от эксплантатов CPDX RLSL F ацинарных клеток, обработанных носителем (PBS), Dox или церулеином в течение 12 часов. ** p<0,01, *** p<0,001, **** p<0,0001 с использованием одностороннего дисперсионного анализа с множественными сравнениями (F (2,3) = 92,37; 37,17). На Фиг. 52C показаны уровни Atf4 и Bip, которые были количественно определены относительно контроля для нанесения, кофилина, и необработанной временной точки с помощью иммуноблоттинга на лизатах целых клеток из эксплантаты CPDX RLSL F ацинарных клеток, обработанные носителем (PBS), Dox или церулеином в течение 12 часов.

[0079] На Фиг. 53A-53B показаны паттерны пролиферации во время индукции панкреатита у мышей. На Фиг. 53A показана ИГХ на Ki67 для генетически отрицательных контрольных однопометниках, R; F, CPDX RLSL F или CPDX RLSL FLSL мышей, получавших Dox (дни). На Фиг. 53B показано количественное определение ИГХ на Ki67 по меньшей мере у трех мышей, считая пять полей зрения под большим увеличением на животное. * p<0,05, ** p<0,01, ***p<0,001, **** p<0,0001 с использованием одностороннего дисперсионного анализа с множественными сравнениями (F (3,91) = 5,097; (4,75) = 57,28; (7,197) = 113,1; (4,86) = 12,16). Масштабные линейки=50 мкм.

[0080] На Фиг. 54A-54F показаны анализы методом секвенирования РНК CPDX RLSL F органоидов.На Фиг. 54A показан график МА (Блэнда-Альтмана, средняя экспрессия и кратность изменения). На Фиг. 54B показана вулканная диаграмма (кратность изменения и q-значение). На Фиг. 54A и 54B, значительно дифференциально экспрессируемые гены аннотированы синим цветом, а наиболее дифференциально экспрессируемые гены дополнительно аннотированы. На Фиг. 54C показано количество транскриптов на миллион для трансгенов, введенных в мышиную модель, созданную с помощью генной инженерии. На Фиг. 54D показаны уровни экспрессии Fut3 и β3Ga1T5, которые были нормализованы к HPRT1 и сравнивались между органоидами, выделенными из нормальной поджелудочной железы или малигнизированной поджелудочной железы человека, и нормальными органоидами CPDX RLSL F мыши после обработки Dox. На Фиг. 54E показан график UpSet, демонстрирующий перекрытие между CPDX RLSL F органоидами и органоидами генетически отрицательного контроля. Гены, которые дифференциально экспрессируются в ответ на Dox в отсутствие CA19-9, вычитали из перечня дифференциально экспрессируемых генов CPDX RLSL F органоидов. На Фиг. 54F показана тепловая карта генов, дифференциально экспрессируемых в CPDX RLSL F органоидах, обрабатываемых 0 и 24 часа, после вычитания изменений в экспрессии генов, индуцированных Dox.

[0081] На Фиг. 55A показан GSEA CPDX RLSL F органоидов, в котором идентифицировали обогащение сигналинга ERBB. На Фиг. 55B и 55C показан GSEA дифференциально экспрессируемых генов из анализов методом секвенирования РНК CPDX RLSL F органоидов. Представлены гистограммы нормализованной оценки обогащения (NES) для путей с p <0,05 и FDR <0,15 и выбранные графики для GSEA из наборов генов ключевых фенотипических признаков злокачественного новообразования, которые были обогащены (Фиг. 55B) или истощены (Фиг. 55C) после обработки Dox CPDX RLSL F органоидов.

[0082] На Фиг. 56A-56B показан GSEA дифференциально экспрессируемых генов из анализов методом секвенирования РНК CPDX RLSL F органоидов. Изображены гистограммы нормализованной оценки обогащения (NES) для путей с p <0,05 и FDR <0,15 и выбранных графиков для GSEA из наборов генов пути KEGG, которые были обогащены (Фиг. 56A) или истощены (Фиг. 56B) после обработки Dox CPDX RLSL F органоидов.

[0083] На Фиг. 57A показаны CPDX RLSL F органоиды (n=3 биологические реплики) и генетически отрицательные органоиды (GN, n=2 биологические реплики), оцененные методом иммуноблоттинга в отношении активации сигнальных путей после обработки Dox. Блоты представлены в трех технических репликах, трех биологических репликах CPDX RLSL F органоидов и двух биологических репликах GN органоидов. Количественную оценку выполняли относительно необработанной временной точки после нормализации к кофилину. На Фиг. 57B-57C показана активация пути органоидов после индукции экспрессии CA19-9. На Фиг. 57B показаны нормальные протоковые органоиды от CPDX RLSL F и генетически отрицательных контрольных однопометников (GN), оцененные методом иммуноблоттинга после обработки Dox (часы). На Фиг. 57C показаны нормальные протоковые органоиды от CPDX RLSL F (n=2) и генетически отрицательных контрольных однопометников (GN, n=2), оцененные методом иммуноблоттинга после обработки Dox (часы) в среде для органоидов без ЭФР и NAC. На Фиг. 57D показана репрезентативная иммуногистохимия (ИГХ) фосфорилированного РЭФР у CPDX RLSL F мышей, которых подвергали воздействию Dox в течение 0 (n=4) или 3 (n=5) дней. Вставки представляют собой протоки поджелудочной железы с большим увеличением. Масштабные линейки=50 мкм.

[0084] На Фиг. 58A-58D показан пролиферативный статус органоидов после индукции экспрессии CA19-9. Изображены CPDX RLSL F (Фиг. 58A), R;F (Фиг. 58B), CPDX RLSL FLSL (Фиг. 58C) и нормальные органоиды мыши, конститутивно экспрессирующие CA19-9, (Фиг. 58D), которые оценивали ежедневно с помощью Cell Titer Glo в отношении роста в течение нескольких дней. Включены генетические отрицательные контроли для линий CPDX RLSL F (218, 223) и R;F (3384) органоидов.

[0085] На Фиг. 59A-59C показано, что CA19-9 не обнаруживается на РЭФР в CPDX RLSL F органоидах. На Фиг. 59A показана IP для РЭФР, с последующим иммуноблоттингом CA19-9 с использованием белковых лизатов из CPDX RLSL F и генетически отрицательных (GN) нормальных протоковых органоидов после обработки Dox в течение 0-8 часов. На Фиг. 59B показано, что экспрессия CA19-9 не влияет на чувствительность C RLSL F и генетически отрицательных (GN) нормальных протоковых органоидов к ингибированию киназы ErbB с использованием либо эрлотиниба, либо нератиниба. GN органоиды: A218. A223. CPDX RLSL F органоиды: A217, A220, A225.

[0086] На Фиг. 60 показан сигналинг в CPDX RLSL F органоидах (n=3 биологические реплики) после обработки Dox (часы) в присутствии изотипического контроля (MOPC21) или мкАт, блокирующего CA19-9 (NS19-9), по оценке с помощью иммуноблоттинга. Количественную оценку проводили относительно необработанного момента времени после нормализации к кофилину. Блоты представляют две технические и три биологические реплики.

[0087] На Фиг. 61A-61B показано, что панкреатит, опосредованный CA19-9, обратим.На Фиг. 61A показаны серологические уровни амилазы и липазы CPDX RLSL F мышей, которым обеспечивали введение Dox в течение 3 дней и выведение в течение 4 дней. Серологические уровни амилазы и липазы показаны с данными на Фиг. 25C показан для сравнения. На Фиг. 61B показано окрашивание с помощью H&E CPDX RLSL F мышей, которым обеспечивающие введение Dox в течение 3 дней и выведение в течение 4 дней. Масштабные линейки=100 мкм.

[0088] На Фиг. 62A показаны уровни амилазы и липазы в сыворотке, а также процентная доля площади ткани поджелудочной железы, демонстрирующая гистологические признаки панкреатита у CPDX RLSL F мышей после лечения человеческим изотипическим контролем (n=5) или 5B1 (n=5) в течение 8 дней и Dox в течение последних 7 дней. Средние горизонтальные красные линии представляют собой среднее значение, а планки погрешностей представляют собой стандартное отклонение; каждая точка данных представляет собой показатель от отдельной мыши. р-значение, определенное с использованием непарного параметрического двустороннего t-критерия для сравнения амилазы и липазы (t=4,611, 2,981; df=8) и непарного параметрического t-критерия с поправкой Уэлча на процент пораженной области поджелудочной железы (t=2,935, df=4,065); * p<0,05, ** p<0,01, *** p<0,001, **** p<0,0001. На Фиг. 62B показано окрашивание с помощью H&E репрезентативных участков мышей, получавших изотип или 5B1, как описано выше. Масштабные линейки=100 мкм. На Фиг. 62C-62D показана ИГХ на pEGFR для репрезентативных мышей, получавших или изотип (Фиг. 62C), или 5B1 (Фиг. 62D), как описано выше. Масштабные линейки=100 мкм.

[0089] На Фиг. 63A-63C показано, что CA19-9-опосредованный панкреатит может быть ослаблен антителом к CA19-9 in vivo. На фигурах показано окрашивание H&E (Фиг. 63A), уровни амилазы и липазы в сыворотке (Фиг. 63B) и ИГХ на pEGFR (Фиг. 63C) у CPDX RLSL F мышей после лечения MOPC21 или NS19-9 в течение 96 часов и Dox в течение последних 24 часов. Масштабные линейки=100 мкм, масштабные линейки на вставке=50 мкм. На Фиг. 63B, размеры выборки были для MOPC21 (n=5) или NS19-9 (n=5). Линии представляют собой среднее значение; каждая точка данных представляет собой показатель от отдельной мыши. р-значение определяется с использованием непарного параметрического двустороннего t-критерия (t=4,108, 2,961, 3,216; df=8, 8, 7).

[0090] На Фиг. 64A-64C показано, что CA19-9-опосредованный панкреатит может быть ослаблен антителом к CA19-9 in vivo. На Фиг. 64А показан процент площади ткани поджелудочной железы, демонстрирующей гистологические признаки панкреатита у CPDX RLSL F мышей после применения MOPC21 (n=5) или NS19-9 (n=5) в течение 96 часов и Dox в течение последних 24 часов. На Фиг. 64B показана репрезентативная гистология всей поджелудочной железы (H&E) нормальной мыши или CPDX RLSL F мышей, получавших Dox в присутствии изотипического контроля, MOPC21, или антитела к CA19-9, NS19-9. Оранжевые вставки представляют области панкреатита при большем увеличении. Черные вставки представляют собой типичное изображение нормальных участков поджелудочной железы с протоковыми структурами при большем увеличении. Масштабные линейки=100 мкм. На Фиг. 64C показаны уровни амилазы и липазы после применения CPDX RLSL F мышей более низкой дозой Dox в их питьевой воде (0,5 г/л). Линии представляют собой среднее значение; каждая точка данных представляет собой показатель от отдельной мыши. р-значение определяется с помощью непарного параметрического двустороннего t-критерия.

[0091] На Фиг. 65A показано окрашивание с помощью H&E поджелудочной железы CPDX RLSL F мыши после применения Dox, а также или эрлотиниба, или носителя. Масштабные линейки равны 200 мкм, 200 мкм, 100 мкм и 50 мкм слева направо. На Фиг. 65B показаны серологические уровни амилазы и липазы у CPDX RLSL F мышей после применения Dox, а также или эрлотиниба, или носителя. На Фиг. 65C показано окрашивание с помощью H&E поджелудочной железы мыши C57Bl/6J после применения сахарозы или сахарозы с Dox и или носителя, или эрлотиниба. Масштабные линейки=100 мкм. На Фиг. 65D показаны серологические уровни амилазы и липазы поджелудочной железы мыши C57Bl/6J после применения сахарозы или Dox с сахарозой и либо носителя, либо эрлотиниба.

[0092] На Фиг. 66A-66B показано, что секреция лигандов CA19-9 активирует РЭФР.На Фиг. 66A показана оценка методом иммуноблоттинга органоидов от генетически отрицательных (GN) однопометников, которые инкубировали с кондиционированной средой от CPDX RLSL F органоидов, предварительно обработанных Dox или носителем (24 часа). Количественную оценку проводили относительно необработанного момента времени после нормализации к кофилину. На Фиг. 66B показана оценка методом иммуноблоттинга органоидов от GN однопометников, которые инкубировали с кондиционированной средой от CPDX RLSL F органоидов, предварительно обработанные Dox (24 часа) в присутствии контроля Fс или Fс, конъюгированного с РЭФР. Количественную оценку выполняли относительно необработанного момента времени после нормализации к кофилину.

[0093] На Фиг. 67A-67D показаны иллюстративные стратегии гейтирования для экспериментов методом проточной цитометрии. На Фиг. 67A показано обратное гейтирование методом проточной цитометрии для Фиг. 1D. На Фиг. 67B показано обратное гейтирование методом проточной цитометрии для Фиг. 1E. На Фиг. 67C показано обратное гейтирование методом проточной цитометрии для Фиг. 50В. На Фиг. 67D показано обратное гейтирование методом проточной цитометрии для Фиг. 52А.

6. ПОДРОБНОЕ ОПИСАНИЕ СУЩНОСТИ ИЗОБРЕТЕНИЯ

6.1 Определения

[0094] Используемый в данном документе термин «сиалил-Льюис a» (sLea), также известный или называемый как сиалил-Lea, сиалил-Льюис A, сиалилированный Льюис a, означает соединение тетрасахарида с молекулярной формулой C31H52N2Q23 и молярной массой 820,74 г/моль. В структуру sLea могут входить Neu5Acα2-3Ga1β1-3(Fucαl-4) GlcNAcβ и Neu5Gcα2-3Ga1β1-3(Fucαl-4)GlcNAcβ. sLea также является известным лигандом E-селектина, также известного как эндотелиальная молекула адгезии лейкоцитов (ELAM). Термин «сиалил-Льюис a» включает в себя все возможные конформации, включая биоактивную конформацию и небиоактивную конформацию.

[0095] Используемые в данном документе термины «СА19-9», «СА 19-9», «СА-19.9» или «СА 19.9» относятся к любому антигену, несущему эпитоп сиалил-Льюисa. CA19-9 включает белки, например, гликопротеины, которые были модифицированы одним или более фрагментами сиалил-Льюис a. Например, CA19-9 включает гликопротеины, несущие сиалил-Льюис a, такие как C2, CD59, F5, SPARC, MUCI, MUC5AC, MUC16, аполипопротеины, кининоген, A2M, ADAM9, AFP, B3GNT5, CD44, CSF3, CTBS, CTSL2, EFNB3, EPHA3, FGFBPI, IGFBP5, IL18RAP, INHBC, MSLN, NPY, PDGFA, PROMI, RAFI, SIOOA7, TFF3, TGFB2, TNFRSFIOA, WISPI, и WNT9B. CA19-9 также включает липиды, например, гликолипиды, которые были модифицированы одним или более сиалил-Льюис a и, таким образом, несут эпитоп сиалил-Льюисa. Примеры гликолипидов CA19-9 включают гликолипиды, связанные с желчной глобулярной мембраной, мембранной везикулой, секретируемой нормальной желчью, как описано в Uozumi, Net al., J. Proteome Res. 2010, 9, 6345-6353, которая полностью включена в данный документ посредством ссылки. Дополнительные примеры CA19-9 описаны в Rho Jet al., J Proteomics. 2014 Jan 16; 96: 291-299, и Trinchera Met al., Biology (Basel). 2017 Feb 23;6(1). pii: E16, которые полностью включены в данный документ посредством ссылки.

[0096] Термины «предотвращение», «предотвращать» или «профилактика» при использовании в отношении панкреатита и/или повреждения (например, физического или функционального), последствий или симптомов панкреатита означает отсрочку начала, препятствование прогрессированию, препятствование появлению, защиту, подавление или устранение возникновения или снижение частоты возникновения панкреатита или повреждений, последствий или симптомов панкреатита. Например, даже если у некоторых пациентов из группы пациентов, которых лечат антителом или фрагментом антитела, предложенным в данном документе, развивается панкреатит, антитело или фрагмент антитела все еще «предотвращает» панкреатит, пока эта группа пациентов, которых лечат антителом или фрагментом антитела демонстрирует уменьшение повреждений, эффектов, частоты случаев, частоты возникновения или симптомов панкреатита по сравнению с популяцией, которая не получает лечения.

[0097] Используемые в данном документе термины «лечить» или «лечение», когда они используются в отношении панкреатита, предназначены для обозначения устранения, уменьшения, лечения или контроля панкреатита или расстройства, включая, например, физическое или функциональное повреждение и/или последствия, или симптомы панкреатита.

[0098] Используемый в данном документе термин «облегчение», когда он используется в отношении панкреатита, предназначен для обозначения уменьшения, облегчения или ослабления панкреатита или расстройства, повреждения, включая, например, физическое и функциональное повреждение, и/или последствия или симптомы, возникающие в результате панкреатита. Например, специалист в данной области техники может облегчить симптомы панкреатита, сделав их более переносимыми, замедлить прогрессирование заболевания или вернуть пациента в состояние без панкреатита.

[0099] Используемые в данном документе термины «контролировать», «контролирование» или «контроль», когда они используются в отношении панкреатита, предназначены для обозначения достижения одного или более полезных эффектов для пациента посредством введения антитела или фрагмента антитела, как предложено в данном документе. Благоприятные эффекты могут быть, например, регрессом, остановкой прогрессирования или менее быстрым прогрессированием панкреатита, облегчением, поддержанием или замедлением ухудшения симптома или последствий панкреатита, а также устранением, поддержанием или замедлением развития панкреатита, распространения повреждений, связанных с панкреатитом. В определенных вариантах осуществления пациенту вводят антитело или фрагмент антитела, как предложено в данном документе, для ограничения или контроля симптомов панкреатита, чтобы предотвратить прогрессирование или ухудшение симптомов панкреатита.

[00100] Используемые в данном документе термины «субъект» и «субъекты» предназначены для обозначения животного, например, млекопитающего. Млекопитающее, охватываемое термином «субъект», включает, например, млекопитающее, отличное от примата, такое как корова, свинья, лошадь, кошка, собака, крыса и мышь, и примата, такого как обезьяна, человекообразная обезьяна и человек. «Пациент» относится к человеку, который является подходящей мишенью для способов, предложенных в данном документе.

[00101] Используемый в данном документе термин «панкреатит» предназначен для обозначения заболевания, при котором поджелудочная железа воспаляется и повреждается. Панкреатит включает острый панкреатит и хронический панкреатит. Острый панкреатит представляет собой внезапное кратковременное воспаление поджелудочной железы. Хронический панкреатит представляет собой длительное воспаление поджелудочной железы. Хронический панкреатит может возникнуть после эпизода острого панкреатита. Хронический панкреатит также включает хронический панкреатит легкой, средней и тяжелой степени.

[00102] Используемый в данном документе термин «терапевтический агент» или предназначен для обозначения любого агента, который можно использовать для профилактики, лечения, контроля или облегчения панкреатита, связанного с экспрессией CA19-9 и sLea, и/или симптома, связанного с ним. Предложенные в данном документе терапевтические агенты включают антитела (как определено ниже), белки, пептиды, нуклеиновые кислоты, пептидомиметики, пептоиды и т.п. Белки включают природные белки, белки, созданные de novo, и белки, продуцируемые животным или клеткой при стимуляции, при помощи конструирования или и том и другом. Примеры белков включают лиганды, растворимые фрагменты рецепторов и другие биологические продукты, образованные преимущественно с аминокислотами. Нуклеиновые кислоты в качестве терапевтических агентов включают аптамеры или те, которые имеют последовательности нуклеиновых кислот для достижения определенных вторичных структур с желаемыми функциональными свойствами (такими как связывание или блокирование), где последовательность может быть сконструирована или идентифицирована путем скрининга библиотеки последовательностей нуклеиновых кислот. Пептиды включают те, которые имеют определенные последовательности для достижения желаемых функциональных свойств (таких как связывание или блокирование), причем последовательность может быть сконструирована или идентифицирована путем скрининга библиотеки пептидных последовательностей. Например, терапевтический агент может быть антителом или функциональным фрагментом по изобретению. В другом примере терапевтический агент может представлять собой молекулу, отличную от антитела или функционального фрагмента по изобретению. Терапевтический агент также может представлять собой любую молекулу, предложенную в изобретении, как полезную для профилактики, лечения, контроля или облегчения заболевания, связанного с экспрессией CA19-9 и sLea и/или одного или более симптомов, связанных с ним.

[00103] Используемые в данном документе термины «маркеры панкреатита» или «маркеры, связанные с панкреатитом» предназначены для обозначения любых определяемых и/или наблюдаемых индикаторов панкреатита. Маркеры панкреатита могут включать физические изменения или повреждения поджелудочной железы, функциональные или физиологические изменения поджелудочной железы, функциональные показатели поджелудочной железы, гистологические изменения поджелудочной железы, аномалии поджелудочной железы при диагностической визуализации, аномалии в экспрессии или структуре одного или более белков, включая гликопротеины в поджелудочной железе, аномалии в экспрессии или структуре одного или более углеводов в поджелудочной железе, аномалии в последовательности или структуре ДНК, РНК, микроРНК, аномалии в сывороточных индикаторах воспаления поджелудочной железы и любые показатели или индикаторы воспаления поджелудочной железы и/или функции поджелудочной железы. Примеры маркеров панкреатита включают гистологические маркеры, например, инвазию иммунных клеток, отложение коллагена, наличие и уровень фиброзной ткани, жировой некроз, интерстициальный отек, разрушение ацинарных клеток и кровеносных сосудов, интерстициальное кровоточение, расширение протоков, гомогенизацию в ацинарных клетках и уровень экспрессии CA19-9. Маркеры панкреатита также включают физиологические маркеры, такие как потеря массы, мальабсорбции, атрофия поджелудочной железы, увеличение поджелудочной железы, воспаление поджелудочной железы и рефлюкс желчи. Маркеры панкреатита могут дополнительно включать уровень сывороточный липазы, уровень сывороточный амилазы и уровни сывороточного C-реактивного белка (СРБ).

[00104] Используемый в данном документе термин «сигнальный маркер», когда он используется в отношении поджелудочной железы или панкреатита, предназначен для обозначения молекулы в сигнальном каскаде (например, цепочка взаимосвязанных биохимических реакций, биофизических реакций, количественных изменений (таких как изменения уровня экспрессии) и/или локальные изменения компонентов каскада) в поджелудочной железе или клетках поджелудочной железы, причем активация, стимуляция, блокада, ингибирование или изменение сигнального каскада лежит в основе механизма заболевания панкреатитом. Такие сигнальные маркеры включают, например, повышенное фосфорилирование Akt в поджелудочной железе, повышенное фосфорилирование РЭФР в поджелудочной железе, повышенное фосфорилирование Erkl/2 в поджелудочной железе и повышение экспрессии CA19-9.

[00105] Используемый в данном документе термин «амилаза» относится к группе ферментов, которые гидролизуют крахмал и гликоген. Примеры химических связей, гидролизованных амилазой, включают глюкозидные связи, присутствующие в крахмале. Амилаза включает, например, альфа-амилазу (EC 3.2.1.1 в соответствии со схемой числовой классификации ферментов, известной как шифр из классификации ферментов; в данном документе и далее шифр ЕС аналогично указывает схему классификации ферментов в соответствии с номером комиссии по ферментам; альтернативные названия: 1,4-α-D-глюканглюканогидролаза; гликогеназа), которая катализирует эндогидролиз (1-> 4) -альфа-D глюкозидных связей в полисахаридах, содержащих три или более (1-> 4) -альфа-связанных D-глюкозных остатков. Амилаза также включает бета-амилазу (EC 3.2.1.2; альтернативные названия: 1,4-α -D-дглюканмальтогидролаза; гликогеназа; сахарогенамилаза), которая катализирует гидролиз (1-> 4) -альфа-D-глюкозидных связей в полисахаридах, чтобы удалить последовательные остатки мальтозы с невосстанавливающих концов цепей. Амилаза также включает, например, гамма-амилазу (EC 3.2.1.3; альтернативные названия: глюкан 1,4-α-глюкозидаза; амилоглюкозидаза; экзо-1,4-α-глюкозидаза; глюкоамилаза; лизосомальная альза-глюкозидаза; 1,4-aльфа-D-глюканглюкогидролаза), которая катализирует гидролиз концевых (1-> 4)-связанных остатков альфа-D-глюкозы последовательно с невосстанавливающих концов цепей с высвобождением бета-D-глюкозы. «Сывороточная амилаза» или «серологическая амилаза» относится к агрегированной или общей амилазе в сыворотке. Примерно 35%-45% нормальной сывороточной амилазы синтезируется поджелудочной железы. Повышенный уровень амилазы в сыворотке крови может быть маркером панкреатита, потому что при воспалении поджелудочной железы повышенный уровень амилазы высвобождается в кровь. Нормальный уровень амилазы в сыворотке у здорового человека составляет 0-137 Ед/л, что может зависеть от способа и популяции. Следовательно, в некоторых вариантах осуществления нормальные уровни амилазы в сыворотке могут варьироваться от лаборатории к лаборатории и от одной человеческой популяции к другой.

[00106] Используемый в данном документе термин «липаза» относится к подклассу эстераз, которые катализируют гидролиз жиров (липидов). Термин «липаза» может включать триацилглицеринлипазу (EC 3.1.1.3), которая катализирует, например, гидролиз триацилглицеринов до глицерина, диацилглицеринов, моноглицеринов и свободных жирных кислот. Термин «липаза» также включает ацилглицеринлипазу (EC 3.1.1.23), которая катализирует, например, гидролиз моноэфиров глицерина и длинноцепочечных жирных кислот. «Сывороточная липаза» или «серологическая липаза» относится к агрегированной или общей липазе в сыворотке. Липаза, синтезируемая поджелудочной железой, составляет значительную и важную часть сывороточной липазы. Повышенный уровень липазы в сыворотке крови может быть маркером панкреатита, потому что при воспалении поджелудочной железы повышенный уровень липазы высвобождается в кровь. Нормальный уровень липазы в сыворотке у здорового человека составляет 12-70 Ед/л, что зависит от способа и популяции. Следовательно, в некоторых вариантах осуществления нормальные уровни липазы в сыворотке могут варьироваться от лаборатории к лаборатории и от одной человеческой популяции к другой.

[00107] Используемый в данном документе термин «повышенные уровни» по отношению к маркеру предназначен для обозначения того, что уровень маркера выше, чем уровень нормального эталонного диапазона или соответствующего контрольного субъекта с нормальной гистологией, физиологией и/или функцией поджелудочной железы. Такой повышенный уровень может быть 110%, 120%, 130%, 140%, 150%, 160%, 170%, 180%, 190%, 200%, 250%, 300%, 400%, 500%, 600%, 700%, 800%, 900%, 10-кратным, 20-кратным, 30-кратным, 40-кратным, 50-кратным, 100-кратным, 200-кратным, 300-кратным, 400-кратным, 500-кратным, 600-кратным, 700-кратным, 800-кратным, 1000-кратным, 2000-кратным, 3000-кратным, 4000-кратным, 5000-кратным или более высоким относительно такого уровня у контрольного субъекта с нормальной гистологией, физиологией и/или функцией поджелудочной железы или нормальным эталонным диапазоном. Такие эталонные диапазоны описаны ниже.

[00108] Используемый в данном документе термин «антитело» предназначен для обозначения полипептидного продукта B-клеток в пределах класса полипептидов иммуноглобулинов или его эквивалента, полученного синтетическим или рекомбинантным путем, который способен связываться с конкретным молекулярным антигеном и состоит из двух идентичных пар полипептидных цепей, причем каждая пара имеет одну тяжелую цепь (примерно 50-70 кДа) и одну легкую цепь (примерно 25 кДа), и каждая N-концевая часть каждой цепи содержит вариабельную область из около 100-130 или более аминокислот, и каждая С-концевая часть каждой цепи содержит константную область (см. Borrebaeck (ed.) (1995) Antibody Engineering, Second Edition, Oxford University Press.; Kuby (1997) Immunology, Third Edition, W.H. Freeman and Company, New York). В контексте настоящего изобретения специфический молекулярный антиген, который может связываться с антителом по изобретению, включает целевой углевод sLea. Термин «антитело» охватывает, например, отдельные моноклональные антитела к sLea и моноклональные антитела к CA-19-9 (включая агонистические, антагонистические, нейтрализующие антитела, полноразмерные или интактные моноклональные антитела), композиции антитела к sLea и антитела к CA-19-9 с полиэпитопной или моноэпитопной специфичностью, поликлональные антитела, моновалентные антитела, поливалентные антитела, полиспецифические антитела (например, биспецифические антитела, если они проявляют желаемую биологическую активность), как описано ниже. Антитело может быть человеческим, гуманизированным, химерным и/или с созревшей аффинностью, а также антителом от других видов, например, мыши и кролика и т.д. Антитела, представленные в данном документе, могут относиться к любому классу (например, IgG, IgE, IgM, IgD и IgA) или любому подклассу (например, IgG1, IgG2, IgG3, IgG4, IgA1 и IgA2) молекулы иммуноглобулина. Предложенные в данном документе антитела включают антитела, полученные биологическим путем, полученные рекомбинантным путем или полученные синтетическим путем.

[00109] Термин «человек», когда он используется в отношении антитела или его функционального фрагмента, относится к антителу или его функциональному фрагменту, который имеет человеческую вариабельную область и/или человеческую константную область или ее часть, соответствующую последовательности зародышевого типа человеческого иммуноглобулина. Такие последовательности зародышевого типа человеческого иммуноглобулина описаны в Kabat et al. (1991) Sequences of Proteins oflmmunological Interest, Fifth Edition, U.S. Department of Health and Human Services, NIH Publication No. 91-3242. Антитело человека, в контексте данного документа, может включать антитело, которое связывается с sLea и кодируется последовательностью нуклеиновой кислоты, которая представляет собой встречающийся в природе соматический вариант последовательности нуклеиновой кислоты зародышевого типа человеческого иммуноглобулина. Иллюстративные способы получения антител человека представлены в Примере I, но можно использовать любой способ, хорошо известный специалистам в данной области техники.

[00110] Термин «моноклональное антитело» относится к антителу, которое является продуктом клона одной клетки или гибридомы, или популяции клеток, полученных из одной клетки. Под моноклональным антителом также подразумевается антитело, продуцируемое рекомбинантными методами из генов иммуноглобулинов, кодирующих тяжелую и легкую цепи, для получения одного соединения иммуноглобулина. Аминокислотные последовательности антител в препарате моноклональных антител по существу гомогенны, и активность связывания антител в таком препарате проявляет по существу такую же активность связывания антигена. Напротив, поликлональные антитела получают из разных В-клеток в популяции, которые представляют собой комбинацию молекул иммуноглобулина, связывающих конкретный антиген. Каждый иммуноглобулин из поликлональных антител может связывать разные эпитопы одного и того же антигена. Способы получения как моноклональных антител, так и поликлональных антител хорошо известны в данной области техники (Harlow and Lane., Antibodies: A Laboratory Manual, Cold Spring Harbor Laboratory Press (1989) и Borrebaeck (ed.), Antibody Engineering: A Practical Guide, W.H. Freeman and Co., Publishers, New York, pp. 103-120 (1991)).

[00111] Используемый в данном документе термин «функциональный фрагмент», когда он используется в отношении антитела, предназначен для обозначения части антитела, включающей полипептиды тяжелой или легкой цепи, которые сохраняют часть или всю активность связывания антитела, из которого был получен фрагмент. Такие функциональные фрагменты могут включать, например, Fd, Fv, Fab, F(ab'), F(ab)2, F(ab')2, одноцепочечный Fv (scFv), диатело, триатело, тетратело и миниантитело. Другие функциональные фрагменты могут включать, например, полипептиды тяжелой или легкой цепи, полипептиды вариабельной области или полипептиды определяющей комплементарность области (CDR), или их части, пока такие функциональные фрагменты сохраняют активность связывания. Такие связывающие фрагменты антитела можно найти, например, в Harlow and Lane, Antibodies: A Laboratory Manual, Cold Spring Harbor Laboratory, New York (1989); Myers (ed.), Molec. Biology and Biotechnology: A Comprehensive Desk Reference, New York: VCH Publisher, Inc.; Huston et al., Cell Biophysics, 22:189-224 (1993); Ph.ickthun and Skerra, Meth. Enzymol., 178:497-515 (1989) и в Day, E.D., Advanced Immunochemistry, Second Ed., Wiley-Liss, Inc., New York, NY (1990).

[00112] Термин «тяжелая цепь», когда он используется в отношении антитела, относится к полипептидной цепи около 50-70 кДа, причем N-концевой участок содержит вариабельную область из около 120-130 или более аминокислот, а С-концевая часть содержит константную область. Константная область может быть одного из пяти различных типов, называемых альфа (α), дельта (δ), эпсилон (ε), гамма (γ) и мю (μ), на основе аминокислотной последовательности константной области тяжелой цепи. Разные тяжелые цепи отличаются по размеру: α, δ и γ содержат приблизительно 450 аминокислот, тогда как μ и ε содержат приблизительно 550 аминокислот. В комбинации с легкой цепью эти разные типы тяжелых цепей обуславливают наличие пяти хорошо известных классов антител, IgA, IgD, IgE, IgG и IgM, соответственно, включая подклассы IgG, а именно IgG1, IgG2, IgG3 и IgG4. Тяжелая цепь может представлять собой человеческую тяжелую цепь.

[00113] Термин «легкая цепь», когда он используется в отношении антитела, относится к полипептидной цепи около 25 кДа, причем N-концевой участок содержит вариабельную область из около 100-110 или более аминокислот, а С-концевая часть содержит константную область. Приблизительная длина легкой цепи составляет от 211 до 217 аминокислот. Существуют два разных типа, называемых каппа (K) или лямбда (λ) на основании аминокислотной последовательности константных доменов. Аминокислотные последовательности легкой цепи хорошо известны в данной области техники. Легкая цепь может быть человеческой легкой цепью.

[00114] Термин «вариабельный домен» или «вариабельная область» относится к части легкой или тяжелой цепей антитела, которая обычно расположена на N-конце легкой или тяжелой цепи и имеет длину от около 120 до 130 аминокислот в тяжелой цепи и от около 100 до 110 аминокислот в легкой цепи, и используются для связывания и специфичности каждого конкретного антитела в отношении его конкретного антигена. Вариабельные домены сильно отличаются по последовательности среди разных антител. Вариабельность последовательности сосредоточена в CDR, тогда как менее вариабельные части в вариабельном домене называются каркасными областями (FR). CDR легкой и тяжелой цепей в первую очередь ответственны за взаимодействие антитела с антигеном. Используемая в данном документе нумерация аминокислотных положений соответствует индексу EU, как у Kabat et al. (1991) Sequences of proteins of immunological interest. (U.S. Department of Health and Human Services, Washington, D.C.) 5th ed. Вариабельная область может быть человеческой вариабельной областью.

[00115] CDR относится к одной из трех гипервариабельных областей (H1, H2 или H3) в пределах некаркасной области β-складчатого каркаса VH иммуноглобулина (lg или антитела) или к одной из трех гипервариабельных областей (L1, L2 или L3) в пределах некаркасной области β-складчатого каркаса VL антитела. Соответственно, CDR представляют собой последовательности вариабельной области, перемежающиеся последовательностями каркасной области. Области CDR хорошо известны специалистам в данной области техники и были определены, например, Kabat, как области наибольшей гипервариабельности в пределах вариабельных (V) доменов антитела (Kabat et al., J Biol. Chem.252:6609-6616 (1977); Kabat, Adv. Prat. Chem. 32:1-75 (1978)). Последовательности областей CDR также были структурно определены Chothia как те остатки, которые не являются частью консервативного β-складчатого каркаса и, таким образом, способны принимать разные конформации (Chothia and Lesk, J Mol. Biol. 196:901-917 (1987)). Обе терминологии хорошо известны в данной области техники. Положения CDR в пределах вариабельной области канонического антитела были определены путем сравнения многочисленных структур (Al-Lazikani et al., J Mol. Biol. 273:927-948 (1997); Morea et al.,Methods 20:267-279 (2000)). Поскольку число остатков в пределах гипервариабельной области варьируется для разных антител, дополнительные остатки относительно канонических позиций традиционно нумеруют, приписывая a, b, c и так далее рядом с номером остатка в канонической схеме нумерации вариабельного домена (Al-Lazikani et al., выше (1997)). Такая номенклатура также хорошо известна специалистам в данной области техники.

[00116] Например, CDR, определенные согласно обозначениям Kabat (гипервариабельный) или Chothia (структурный), представлены в таблице 1 ниже.

[00117]

[00118] Таблица 1. CDR Определения [00119] Kabat1 Chothia2 Расположение петли [00120] CDR1 VH 31-35 26-32 соединение цепей B и C [00121] CDR2 VH 50-65 53-55 соединение цепей C' и C'' [00122] CDR3 VH 95-102 96-101 соединение цепей F и G [00123] CDR1 VL 24-34 26-32 соединение цепей B и C [00124] CDR2 VL 50-56 50-52 соединение цепей C' и C''

[00125] CDR3 VL 89-97 91-96 соединение цепей F и G.

[00126] 1 Нумерация остатков соответствует номенклатуре Kabat et al., выше.

[00127] 2 Нумерация остатков соответствует номенклатуре Chothia et al., выше.

[00128] Одна или более CDR также могут быть соединены с молекулой ковалентно или нековалентно, чтобы сделать ее иммуноадгезином. Иммуноадгезин может включать CDR как часть большей полипептидной цепи, может ковалентно связывать CDR с другой полипептидной цепью или может включать CDR нековалентно. CDR позволяют иммуноадгезину связываться с конкретным представляющим интерес антигеном.

[00129] Термин «выделенная» относится к указанной молекуле, которая была отделена по меньшей мере от одного компонента, с которым она встречается в природе. Термин включает антитело или функциональный фрагмент антитела, который отделяется от некоторых или всех других компонентов, с которыми оно находится в его естественной среде.Компоненты естественной среды антитела включают, например, эритроциты, лейкоциты, тромбоциты, плазму, белки, нуклеиновые кислоты, соли и питательные вещества. Компоненты природного окружения функционального фрагмента антитела включают, например, липидные мембраны, клеточные органеллы, белки, нуклеиновые кислоты, соли и питательные вещества. Антитело или функциональный фрагмент антитела, предложенные в данном документе, также могут быть свободными или полностью или практически свободными от всех этих компонентов или любого другого компонента клеток, из которых оно выделено или получено рекомбинантным путем.

[00130] Используемый в данном документе термин «изотип» относится к классу антител, который кодируется генами константной области тяжелой цепи. Тяжелые цепи данного антитела или функционального фрагмента определяют класс этого антитела или функционального фрагмента: IgM, IgG, IgA, IgD или IgE. Каждый класс может иметь легкие цепи каппа или лямбда. Термин «подкласс» относится к незначительным различиям в аминокислотных последовательностях тяжелых цепей, по которым различаются подклассы. У людей есть два подкласса lgA (подклассы IgA1 и IgA2) и четыре подкласса lgG (подклассы IgG1, IgG2, IgG3 и IgG4). Такие классы и подклассы хорошо известны специалистам в данной области техники.

[00131] Используемые в данном документе термины «связывает» или «связывание» относятся к взаимодействию между молекулами с образованием комплекса. Взаимодействия могут быть, например, нековалентными взаимодействиями, включая водородные связи, ионные связи, гидрофобные взаимодействия и/или ван-дер-ваальсовы взаимодействия. Комплекс также может включать связывание двух или более молекул, удерживаемых вместе ковалентными или нековалентными связями, взаимодействиями или силами. Связывание антитела или его функционального фрагмента можно обнаружить с помощью, например, твердофазного иммуноферментного анализа, способа, описанного в Разделе 6.3.1, или любого из ряда способов, хорошо известных специалистам в данной области техники.

[00132] Сила общих нековалентных взаимодействий между одним антигенсвязывающим сайтом на антителе или функциональном фрагменте и одним эпитопом молекулы-мишени, такой как sLea, представляет собой аффинность антитела или функционального фрагмента к этому эпитопу. Отношение ассоциации (k1) к диссоциации (k-1) антитела или его функционального фрагмента с моновалентным антигеном (k1/k-1) представляет собой константу ассоциации K, которая является показателем аффинности. Значение K варьируется для различных комплексов антитела или функционального фрагмента и антигена и зависит как от k1, так и от k-1. Константа ассоциации K для антитела или функционального фрагмента по изобретению может быть определена с использованием любого метода, представленного в данном документе, или любого другого способа, хорошо известного специалистам в данной области техники.

[00133] Аффинность в одном сайте связывания не всегда отражает истинную силу взаимодействия между антителом или функциональным фрагментом и антигеном. Когда комплексные антигены, содержащие множество повторяющихся антигенных детерминант, такие как поливалентный sLea, и, вступают в контакт с антителами, содержащими множество сайтов связывания, взаимодействие антитела или функционального фрагмента с антигеном в одном сайте будет повышать вероятность реакции во втором сайте. Сила таких множественных взаимодействий между поливалентным антителом и антигеном называется авидностью. Авидность антитела или функционального фрагмента может быть лучшим показателем его связывающей способности, чем аффинность отдельных сайтов связывания. Например, высокая авидность может компенсировать низкую аффинность, что иногда наблюдается в случае пентамерных антител IgM, которые могут иметь более низкую аффинность, чем IgG, но высокая авидность IgM, являющаяся результатом его поливалентности, обеспечивает возможность эффективного связывания антигена.

[00134] Специфичность антитела или его функционального фрагмента относится к способности отдельного антитела или его функционального фрагмента реагировать только с одним антигеном. Антитело или функциональный фрагмент можно считать специфическим, если оно может определять различия в первичной, вторичной или третичной структуре антигена или изомерных форм антигена

[00135] Используемый в данном документе термин «терапевтически эффективное количество» предназначен для обозначения количества терапевтического агента, например, антитела или функционального фрагмента, предложенного в данном документе, или любого другого терапевтического агента, предложенного в данном документе, которое является достаточным для достижения положительного или предполагаемого терапевтического эффекта, такого как лечение заболевания, уменьшение и/или снижение степени тяжести и/или продолжительности данного заболевания и/или симптома, связанного с ним. Терапевтически эффективное количество терапевтического агента может быть количеством, необходимым для регресса, уменьшения или облегчения заболевания, уменьшения или снижения интенсивности прогрессирования или развития данного заболевания, уменьшения или снижения интенсивности рецидива, развития или манифестации данного заболевания и/или для улучшения или усиления профилактического или терапевтического эффекта другой терапии (например, терапии, отличной от введения антитела или функционального фрагмента, предложенного в данном документе). Изобретение обеспечивает терапевтически эффективное количество антитела и фрагмента антитела, предложенных в данном документе.

[00136] Используемый в данном документе термин «количество» при ссылке на дозу как большее количество, например, «более высокую» дозу, предназначен для обозначения того, что «более высокая» доза содержит большее количество антитела или фрагмента антитела для достижения положительного или желаемого эффекта. Такая «более высокая» доза включает, например, дозу, при которой совокупное количество антитела или фрагмента антитела, вводимого в течение определенного периода времени, увеличена или выше по сравнению с контрольной или исходной дозой в тот же период времени. Такая «более высокая» доза включает дозу с более частым введением в определенное временное окно. Например, доза в 4 инъекции в сутки представляет собой более высокую дозу относительно дозы из 3 инъекций в сутки, при прочих равных. «Более высокая» доза также включает увеличенное или большее количество антитела или фрагмента антитела на введение при сохранении той же самой частоты введения, например, 3 инъекции 2 мг антитела в сутки по сравнению с 3 инъекциями 1 мг антитела в сутки. «Более высокая» доза дополнительно включает как измененную частоту введения, так и измененное количество на введение в данном временном окне, если произведение частоты введения в данном окне и количества на введение выше, чем произведение для контрольной или исходной дозы. Например, доза в 6 инъекций по 1 мг антитела в сутки является «более высокой» дозой, чем доза из 3 инъекций по 1,5 мг антитела в сутки. Аналогичным образом, при непрерывном введении «более высокой» дозы включает дозу, в которой произведение частоты введения и продолжительности введения выше, чем для контрольной дозы. «Количество» при ссылке на дозу как меньшее количество, например, «более низкую» дозу, означает обратное значение относительно «более высокой» дозы, как предложено в данном документе.

[00137] Используемый в данном документе термин «эффектор», когда он используется в отношении CA19-9, предназначен для обозначения молекулы в поджелудочной железе или клетках поджелудочной железы в сигнальном каскаде, который лежит в основе патогенеза панкреатита, причем молекула будет реагировать, например, претерпевая биохимические, биофизические изменения, изменения в уровне экспрессии или местоположении на присутствие или стимуляцию CA19-9. Примеры эффектора CA19-9 включают молекулы в сигнальном пути РЭФР, такие как РЭФР, Akt и Erk, и молекулы, которые могут прямо или косвенно связываться с CA19-9, и молекулы, на которые может прямо или косвенно воздействовать CA19-9 с наблюдаемыми биологическими эффектами.

[00138] Используемые в данном документе термины «пептидомиметическая молекула» или «пептидомиметики» предназначены для обозначения пептидоподобной молекулы, которая обладает активностью пептида, на котором она структурно основана. Такие пептидомиметики включают химически модифицированные пептиды, пептидоподобные молекулы, содержащие не встречающиеся в природе аминокислоты, и пептоиды, и обладают такой активностью, как активность селективного связывания пептида, на основе которого получают пептидомиметик (см., например, Goodman and Ro, Peptidomimetics for Drug Design, in "Burger's Medicinal Chemistry and Drug Discovery" Vol. 1 (ed. M.E. Wolff; John Wiley & Sons (1995), стр. 803-861). Пептидомиметическая молекула включает молекулу, которая содержит миметик аминокислотного остатка (миметик аминокислоты), включая, но не ограничиваясь ими, пиперазиновое ядро, кетопиперазиновое ядро и диазепиновое ядро.Такой миметик аминокислоты может включать как карбоксильную группу, так и аминогруппу, и группу, соответствующую боковой цепи аминокислоты, или, в случае миметика глицина, никакой боковой цепи, кроме водорода.

6.2 Способы лечения панкреатита

[00139] В данном документе предложен способ профилактики, лечения, облегчения или контроля панкреатита у субъекта, нуждающегося в этом, включающий введение субъекту терапевтически эффективного количества антитела или его функционального фрагмента, которое связывается с сиалил-Льюис a (анти-sLea). В данном документе также предложен способ профилактики, лечения, облегчения или контроля панкреатита у субъекта, нуждающегося в этом, включающий: (1) введение субъекту в первой дозе антитела или его функционального фрагмента, которое связывается с сиалил-Льюис a (анти-sLea), (2) определение степени тяжести панкреатита у указанного субъекта и (3) введение второй дозы антитела или его функционального фрагмента, которое связывается с анти-sLea, в том же или меньшем количестве, чем первая доза, если степень тяжести панкреатита у субъекта снижена по сравнению со степенью тяжести панкреатита у субъекта до введения антитела к sLea или введения второй дозы антитела или его функционального фрагмента, которое связывается с анти-sLea в большем количестве, чем первая доза, если степень тяжести панкреатита у субъекта не снижена. Антитела к sLea, которые можно использовать в способах, описаны в Разделе 6.2.1.1.

[00140] В данном документе также предложен способ профилактики, лечения, облегчения или контроля панкреатита у субъекта, нуждающегося в этом, включающий введение субъекту терапевтически эффективного количества терапевтического агента, который связывается с CA19-9.

[00141] Дополнительно в данном документе предложен способ профилактики, лечения, облегчения или контроля панкреатита у субъекта, нуждающегося в этом, включающий: (1) введение субъекту в первой дозе терапевтического агента, который связывается с CA19-9, (2) определение тяжесть панкреатита у указанного субъекта и (3) введение второй дозы агента в том же или меньшем количестве, чем первая доза, если степень тяжести панкреатита у субъекта снижена по сравнению со степенью тяжести панкреатита у субъекта до введения агента, или введение второй дозы агента в большем количестве, чем первая доза, если степень тяжести панкреатита у субъекта не снижена.

[00142] Во всех предложенных в данном документе способах и, в частности, в тех, которые описаны в абзацах [00139] - [00141]: терапевтические агенты, которые можно использовать, описаны в Разделе 6.2.1, отбор пациентов для лечения описан в Разделе 6.2.2, схемы применения для введения агента описаны в Разделе 6.2.3 ниже, биомаркеры, которые можно использовать для идентификации терапевтических агентов, выбора пациентов, определения результатов этих способов и/или использования в качестве критериев любым образом для этих способов описаны в Разделе 6.2.2 ниже, терапевтические эффекты описаны в Разделе 6.2.2 ниже. Следовательно, специалист в данной области техники поймет, что способы, предложенные в данном документе, включают все перестановки и комбинации пациентов, терапевтических агентов, схем применения, биомаркеров и терапевтических эффектов, как описано выше и ниже.

[00143] Как описано ниже в Разделе 6.2.2 о популяциях пациентов, панкреатит, который поддается лечению, профилактике, контролю и облегчению с помощью способов, предложенных в данном документе, включает хронический панкреатит, включая различные стадии хронического панкреатита и острого панкреатита, как подробно описано в Разделе «Определения» и «Популяция пациентов» выше и ниже. В некоторых вариантах осуществления способы, предложенные в данном документе, применимы к хроническому панкреатиту легкой степени, хроническому панкреатиту средней степени и/или хроническому панкреатиту тяжелой степени. Предложенные в данном документе способы можно также использовать при остром панкреатите легкой степени, остром панкреатите средней степени и/или остром панкреатите тяжелой степени. Поскольку пациент с острым панкреатитом может выздороветь, но у него может развиться хронический панкреатит, у пациента с хроническим панкреатитом может развиться острый панкреатит, и у пациента может одна стадия хронического или острого панкреатита переходить в другую стадию хронического или острого панкреатита, способы, предложенные в данном документе, могут использоваться для пациента, имеющего медицинскую карту с любой перестановкой или комбинацией различных стадий хронического или острого панкреатита, как описано в данном документе.

[00144] Как описано ниже в Разделе 6.2.1, в котором описан терапевтический агент, причем агент, предложенный в данном документе, включает антитело к сиалил-Льюис a, пептид или пептидомиметик, который связывается с сиалил-Льюис a и/или модулирует активность сиалил-Льюис a, или любую перестановку или комбинацию любого подходящего терапевтического агента, как предложено в изобретении.

[00145] Предложенный в данном документе терапевтический агент также включает антитело к CA19-9, пептид или пептидомиметик, который связывается с CA19-9 и/или модулирует активность CA19-9, или любую перестановку или комбинацию любого подходящего терапевтического агента, как предложено в данном документе.

[00146] Как описано ниже в Разделе 6.2.1, в котором описан терапевтический агент, агент, предложенный в данном документе в способах лечения панкреатита, может быть выделен или очищен с различными уровнями чистоты и примесей; и агент, предложенный в данном документе, также может быть в различных фармацевтических композициях и может быть составлен для различных путей введения. Следовательно, способы, предложенные в данном документе, включают использование агента, который выделен или очищен с различными уровнями чистоты и примесей, агента, который находится в различных фармацевтических композициях, и агента, который составлен для различных путей введения, как предложено в изобретении.

[00147] Предложенные в данном документе способы можно использовать для различных субъектов, как описано в данном документе, включая млекопитающее. В одном варианте осуществления способы, предложенные в данном документе, могут использоваться человеком.

[00148] Как описано ниже в Разделе 6.2.2 «Популяции пациентов и биомаркеры», для различных пациентов могут использоваться способы, предложенные в данном документе, и различные биомаркеры могут использоваться для отбора пациентов и оценки результатов для способов, предложенных в данном документе. В некоторых вариантах осуществления способы, предложенные в данном документе, можно использовать для выборочных популяций пациентов, включая пациентов с хроническим панкреатитом легкой, средней или тяжелой степени, а также пациентов с острым панкреатитом легкой, средней или тяжелой степени. В других вариантах осуществления способы, предложенные в данном документе, могут использоваться для выборочных популяций пациентов, включая пациентов с атрофией поджелудочной железы, усиленным воспалением поджелудочной железы, повышенной инвазией иммунных клеток при панкреатите, повышенным отложением коллагена при панкреатите, повышенным содержанием фиброзной ткани при панкреатите, повышенным некрозом жира при панкреатите, повышенным интерстициальным отеком при панкреатите, повышенным разрушением ацинарных клеток и кровеносных сосудов при панкреатите, повышенным интерстициальным кровотечением при панкреатите, повышенным расширением протоков при панкреатите, повышенной гомогенизацией ацинарных клеток при панкреатите, повышенным уровнем экспрессии sLea при панкреатите, повышенной экспрессией CА19-9, повышенным уровнем сывороточной липазы, повышенным уровнем сывороточной амилазы, повышенным уровнем сывороточного C-реактивного белка или любой перестановкой или комбинацией критериев пациента, как указано в данном документе. Способы, предложенные в данном документе, также могут использоваться во всех перестановках и комбинациях с различными популяциями пациентов и различными биомаркерами, как описано в данном документе.

[00149] В других вариантах осуществления способы, предложенные в данном документе, могут использоваться у различных пациентов или с различными биомаркерами для достижения терапевтических эффектов этими способами, как указано в Разделе 6.2.2, которые могут включать уменьшение атрофии поджелудочной железы, уменьшение воспаления поджелудочной железы, снижение инвазии иммунных клеток при панкреатите, уменьшение отложения коллагена при панкреатите, уменьшение фиброзной ткани при панкреатите, уменьшение жирового некроза при панкреатите, уменьшение интерстициального отека при панкреатите, уменьшение разрушения ацинарных клеток и кровеносных сосудов при панкреатите, уменьшение интерстициального кровотечения при панкреатите, уменьшение расширения протоков при панкреатите, снижение гомогенизации ацинарных клеток при панкреатите, снижение уровня экспрессии sLea при панкреатите, снижение уровня экспрессии CA19-9, снижение уровня сывороточной липазы, снижение уровня сывороточной амилазы, снижение уровня сывороточного C-реактивного белка или любую перестановку или комбинацию эффектов, как указано в данном документе. Предложенные в данном документе способы могут быть дополнительно использованы во всех перестановках и комбинациях с различными популяциями пациентов, различными биомаркерами и/или терапевтическим эффектами, как предложено в данном документе.

6.2.1 Терапевтические агенты для применения в способах лечения панкреатита

[00150] В способах, предложенных в данном документе, можно использовать различные виды молекул, обладающих описанными свойствами. В изобретении указано, что повышенная экспрессия CA19-9 в поджелудочной железе запускает сигнальные и/или патологические пути, которые лежат в основе инициации, развития и обострения панкреатита. Соответственно, в изобретении предложено, что терапевтический агент, который может ингибировать, блокировать, реверсировать, снижать или уменьшать повышенную экспрессию CA19-9, повышенные уровни сиалил-Льюис a или их комбинацию, можно использовать в способах, предложенных в данном документе, для профилактики, лечения, облегчения или контроля панкреатита. В изобретении дополнительно указано, что повышенная экспрессия CA19-9 приводит к активации сигнального пути РЭФР. В некоторых конкретных вариантах осуществления терапевтические агенты, которые можно использовать в способах, предложенных в данном документе, включают агенты, которые обладают активностью снижения одного или более сигнальных маркеров в поджелудочной железе, причем сигнальный маркер выбран из группы, состоящей из фосфорилирования Akt в поджелудочной железе, фосфорилирования РЭФР в поджелудочной железе, фосфорилирования Erkl/2 в поджелудочной железе, уровней CA19-9 в поджелудочной железе и уровней сиалил-Льюис a в поджелудочной железе.

[00151] Как обсуждалось выше, CA19-9 включает белки, такие как гликопротеины, и липиды, такие как гликолипиды, несущие эпитоп сиалил-Льюис a. В изобретении предложен перечень CA19-9, идентифицированных с помощью анализов методом иммунопреципитации с антителом к CA19-9 (таким как 5B1 и NS19-9 в Примерах 1, 2 и 3. В изобретении также предложен CA19-9, включая белки, такие как гликопротеины, и липиды, такие как гликолипиды, которые, как известно специалисту в данной области техники, несут сиалил-Льюис a, такие как те, что описаны в определении CA19-9 выше.

[00152] Как указано выше, терапевтические агенты, которые можно использовать в способах, предложенных в данном документе, включают различные категории агентов, например, агенты виде антител, такие как анти-CA19-9, как описано в Разделе 6.2.1.1, и пептиды или пептидомиметики, как описано в Разделе 6.2.1.2.

[00153] Терапевтический агент может модулировать активность CA19-9. «Модулировать» активность молекулы относится к изменению активности молекулы. Например, модуляция активности CA19-9 включает увеличение или уменьшение величины определенной активности CA19-9 по сравнению с величиной активности CA19-9 при отсутствии такой модуляции. В определенных примерах модуляция активности CA19-9 включает уменьшение величины одной или более активностей CA19-9. В некоторых примерах модуляция активности CA19-9 включает полное предотвращение одной или более активностей CA19-9. В других примерах модуляция активности CA19-9 включает увеличение величины по меньшей мере одной активности CA19-9. В другом примере модуляция активности CA19-9 включает индукцию активности CA19-9, которая, как правило, не возникает в отсутствие такой модуляции. «Модулятор» применительно к модулируемой молекуле-мишени относится к молекуле, которая может «модулировать» активность молекулы-мишени, как описано в этом абзаце.

[00154] Активность CA19-9 относится к активности CA19-9 в клетке, ткани, органе, организме или любой биологической системе, например, в поджелудочной железе или клетках поджелудочной железы. Эффекты CA19-9 относятся к последствиям активности CA19-9 в клетке, ткани, органе, организме или любой биологической системе, например, в поджелудочной железе или клетках поджелудочной железы. Такие активности CA19-9 включают непосредственные активности CA19-9, такие как индуцирование биохимических, биофизических, связанных с местоположением или количественных изменений на другой молекуле, которая напрямую связывается или иным образом взаимодействует с CA19-9. Соответствующие эффекты CA19-9 будут включать такие последствия, как биохимические, биофизические, связанные с местоположением или количественные изменения, вызванные CA19-9 в отношении другой молекулы, которая напрямую связывается с CA19-9 или иным образом взаимодействует с ней. Такие активности также включают индуцирование биохимических, биофизических, связанных с местоположением или количественных изменений в другой молекуле, которая не связывается напрямую или не взаимодействует иным образом с CA19-9, но реагирует на присутствие или стимуляцию CA19-9 далее вниз по каскаду активности от молекулы (например, сигнальному каскаду), индуцированному CA19-9. Соответствующие эффекты CA19-9 будут тогда включать такие последствия, как биохимические, биофизические, связанные с местоположением или количественные изменения, вызванные CA19-9, в отношении другой молекулой, которая не связывается напрямую или иным образом не взаимодействует с CA19-9, но реагирует на присутствие или стимуляцию CA19-9 далее вниз по каскаду активности (например, сигнальному каскаду) CA19-9. Примеры активности CA19-9 включают активацию сигнального пути РЭФР, которая приводит к повышенному фосфорилированию молекул, таких как РЭФР, Akt и Erk, связыванию с молекулами, которые могут прямо или косвенно взаимодействовать с CA19-9, такими как селектины, включая E- селектин и изменения уровней молекул, на которые CA19-9 может прямо или косвенно влиять с наблюдаемыми биологическими эффектами.

[00155] В некоторых вариантах осуществления терапевтический агент, предложенный в данном документе, может антагонизировать активности CA19-9 или CA19-9. Такой терапевтический антагонист CA19-9 может ингибировать, снижать или иным образом полностью блокировать одну или более биологических активностей CA19-9. Антагонист активности CA19-9 включает молекулу, которая может блокировать, ингибировать или снижать опосредованный CA19-9 или CA19-9-зависимый сигналинг в клетке, экспрессирующей CA19-9, или в клетке, экспрессирующей лиганд CA19-9, такой как рецептор CA19-9. Антагонист активности CA19-9 также включает молекулу, которая может блокировать, ингибировать или уменьшать сигналинг CA19-9. В некоторых вариантах осуществления антагонист активности CA19-9 дополнительно включает молекулы, которые могут блокировать, ингибировать или уменьшать связывание CA19-9 с природной молекулой, связывающей CA19-9. В других вариантах осуществления антагонист активности CA19-9 дополнительно включает молекулы, которые могут блокировать, ингибировать или уменьшать связывание CA19-9 с лигандом CA19-9, таким как рецептор CA19-9. В другом варианте осуществления антагонист активности CA19-9 также включает молекулы, которые могут блокировать, ингибировать или уменьшать ремоделирование, процессинг, конформационное изменение или модификацию молекулы, связывающей CA19-9, или эффектора CA19-9. «Антагонист» молекулы-мишени является «антагонистическим» по отношению к молекуле-мишени.

[00156] В некоторых вариантах осуществления терапевтический агент, предложенный в данном документе, может представлять собой блокирующее антитело, нейтрализующее антитело или антагонистическое антитело к активности CA19-9 или CA19-9, причем антитело связывается с CA19-9 и действует как антагонист в отношении активности CA19-9 или CA19-9, как определено выше в абзаце [00156].

6.2.1.1. Антитела как терапевтические агенты в способах.

[00157] В некоторых вариантах осуществления терапевтические агенты, которые можно использовать в способах, предложенных в данном документе, представляют собой антитела, которые обладают активностью ингибирования, блокирования, реверсирования, снижения или уменьшения повышенной экспрессии CA19-9 в поджелудочной железе, повышенных уровней сиалил-Льюис a в поджелудочной железе или любую их комбинацию. Примеры антител, подходящих для этих способов, включают антитело к CA19-9 и антитело к сиалил-Льюис a. В одном варианте осуществления иллюстративные антитела, подходящие для способов, представляют собой блокирующие или нейтрализующие антитела.

[00158] В некоторых конкретных вариантах осуществления терапевтический агент, который можно использовать в способах, предложенных в данном документе, представляет собой антитело к CA19-9 или антитело к сиалил-Льюис a. В других конкретных вариантах осуществления терапевтический агент, который можно использовать в способах, предложенных в данном документе, представляет собой блокирующее антитело к CA19-9 или блокирующее антитело к сиалил-Льюис a.

[00159] Специалисту в данной области техники будет понятно, что антитело к сиалил-Льюис a может быть подмножеством антител к CA19-9, и оба антитела можно использовать в способах, предложенных в данном документе. В некоторых вариантах осуществления антитело, которое можно использовать в способах, предложенных в данном документе, может быть антителом или его функциональным фрагментом, который связывается с CA19-9 и/или сиалил-Льюис a, где антитело содержит домен VH, который имеет аминокислотную последовательность, выбранную из группы, состоящей из остатков 20-142 SEQ ID NO: 2, остатков 20-142 SEQ ID NO: 6, остатков 20-142 SEQ ID NO: 10, и остатков 20-145 SEQ ID NO: 14.

[00160] В другом варианте осуществления антитело, которое можно использовать в способах, предложенных в данном документе, может быть антителом, или его функциональным фрагментом, которое связывается с CA19-9 и/или сиалил-Льюис a, где антитело содержит домен VL, который имеет аминокислоту последовательность, выбранную из группы, состоящей из остатков 20-130 SEQ ID NO: 4, остатков 20-129 SEQ ID NO: 8, остатков 20-130 SEQ ID NO: 12 и остатков 23-130 SEQ ID NO: 16.

[00161] В другом варианте осуществления антитело к CA19-9 в способах, предложенных в данном документе, может быть антителом или его функциональным фрагментом, причем тяжелая или легкая цепь антитела или его функциональный фрагмент имеет одну или более из определяющих комплементарность областей (CDR), изображенных на Фиг. 1-8 или перечисленных в таблице 2. В другом аспекте антитело к CA19-9 в способах, предложенных в данном документе, может иметь активность комплементзависимой цитотоксичности (КЗЦ) и/или активность антителозависимой клеточной цитотоксичности (АЗКЦ) любого из клональных изолятов 5B1, 9H3, 5H11 или 7E3, описанных в патенте США № 9475874, который полностью включен посредством ссылки. Способы оценки специфичности, аффинности и/или авидности антитела или его функционального фрагмента хорошо известны в данной области техники представлены иллюстративные способы.

[00162] Таблица 2. CDR для клональных изоляты

Остатки нуклеиновой кислоты(SEQ ID NO:) Аминокислотные остатки (SEQ ID NO;)

Вариабельный CDR1 CDR2 CDR3 CDR1 CDR2 CDR3

домен

5B1 VH 133-156 208-231 346-393 55-62 70-77 116-131

(NO: 1) (NO: 1) (NO: 1) (NO: 2) (NO: 2) (NO: 2)

5B1 VL 133-156 208-216 325-360 45-52 70-72 109-120

(NO: 3) (NO: 3) (NO: 3) (NO: 4) (NO: 4) (NO: 4)

9H3 VH 133-156 208-231 346-393 45-52 70-77 116-131

(NO: 5) (NO: 5) (NO: 5) (NO: 6) (NO: 6) (NO: 6)

9H3 VL 133-156 208-216 325-357 45-52 70-72 109-119

(NO: 7) (NO: 7) (NO: 7) (NO: 8) (NO: 8) (NO: 8)

5H11 VH 133-156 208-231 346-393 45-52 70-77 116-131

(NO: 9) (NO: 9) (NO: 9) (NO: 10) (NO: 10) (NO: 10)

5H11 VL 134-156 208-216 325-360 45-52 70-72 109-120

(NO: 11) (NO: 11) (NO: 11) (NO: 12) (NO: 12) (NO: 12)

7E3 VH 133-156 208-231 346-402 45-52 70-77 116-134

(NO: 13) (NO: 13) (NO: 13) (NO: 13) (NO: 13) (NO: 14)

7E3 VK 145-162 214-222 331-360 49-53 72-74 111-120

(NO: 15) (NO: 15) (NO: 15) (NO: 16) (NO: 16) (NO: 16)

[00163] В некоторых вариантах осуществления антитело к CA19-9 в способах, предложенных в данном документе, может включать антитело или его функциональный фрагмент, имеющее менее шести CDR. В некоторых вариантах осуществления терапевтическое антитело к CA19-9 или его функциональный фрагмент содержит одну, две, три, четыре или пять CDR, выбранных из группы, состоящей из CDR1 VH, CDR2 VH, CDR3 VH, CDR1 VL, CDR2 VL , и/или CDR3 VL . В конкретных вариантах осуществления терапевтическое антитело к CA19-9 или его функциональный фрагмент содержит одну, две, три, четыре или пять CDR, выбранных из группы, состоящей из CDR1 VH, CDR2 VH, CDR3 VH, VL CDR1, VL CDR2 и/или VL CDR3 клональных изолятов 5B1, 9H3, 5H11 или 7E3, описанных в патенте США № 9475874, который полностью включен посредством ссылки.

[00164] В некоторых вариантах осуществления настоящее изобретение относится к терапевтическому антителу к CA19-9 или его функциональному фрагменту, причем антитело или функциональный фрагмент содержит вариабельный домен тяжелой цепи (VH), имеющий аминокислотную последовательность CDR1, CDR2 и CDR3 клонального изолята 5B1, 9H3, 5H11 или 7E3, как описано в патенте США № 9475874. Такие домены VH могут содержать аминокислотные остатки 55-62, 70-77 и 116-131 SEQ ID NO: 2 или, альтернативно, аминокислотные остатки 45-52, 70-77 и 116-131 SEQ ID NO: 6. или, альтернативно, аминокислотные остатки 45-52, 70-77 и 116-131 SEQ ID NO: 10, или альтернативно аминокислотные остатки 45-52, 70-77 и 116-134 SEQ ID NO: 14.

[00165] В другом варианте осуществления изобретение относится к терапевтическому антителу к CA19-9 или его функциональному фрагменту, причем антитело содержит вариабельный домен легкой цепи (VL), имеющий аминокислотную последовательность CDR1, CDR2 и CDR3 клонального изолята 5B1, 9H3, 5H11 или 7E3, как описано в патенте США № 9475874. Такой домен VL может содержать аминокислотные остатки 45-52, 70-72 и 109-120 из SEQ ID NO: 4 или, альтернативно, аминокислотные остатки 45-52, 70-72 и 109-119 из SEQ ID NO: 8 или, альтернативно, аминокислотные остатки 45-52, 70-72 и 109-120 SEQ ID NO: 12, или альтернативно аминокислотные остатки 49-53, 72-74 и 111-120 SEQ ID NO: 16.

[00166] В некоторых вариантах осуществления настоящее изобретение относится к терапевтическому антителу к CA19-9 или его функциональному фрагменту, причем антитело связывается с sLea. Соответственно, в некоторых аспектах изобретение относится к выделенному антителу или его функциональному фрагменту, которое связывается с sLea, причем антитело или его функциональный фрагмент содержит домен VH, имеющий аминокислотную последовательность, выбранную из группы, состоящей из остатков 20-142 SEQ ID NO: 2, остатков 20-142 SEQ ID NO: 6, остатков 20-142 SEQ ID NO: 10, и остатков 20-145 SEQ ID NO: 14.

[00167] В некоторых вариантах осуществления настоящее изобретение относится к терапевтическому антителу к CA19-9 или его функциональному фрагменту, которое связывается с sLea, причем антитело или его функциональный фрагмент содержит домен VL, имеющий аминокислотную последовательность, выбранную из группы, состоящей из остатков 20-130 SEQ ID NO: 4, остатков 20-129 SEQ ID NO: 8, остатков 20-130 SEQ ID NO: 12 и остатков 23-130 SEQ ID NO: 16.

[00168] В некоторых вариантах осуществления изобретение относится к терапевтическому антителу к CA19-9 или его функциональному фрагменту, которое связывается с sLea, причем антитело или его функциональный фрагмент содержит как домен VH, так и домен VL, причем домен VH и домен VL, соответственно, содержат аминокислотную последовательность, выбранную из группы, состоящей из остатков 20-142 SEQ ID NO: 2 и остатков 20-130 SEQ ID NO: 4; остатков 20-142 SEQ ID NO: 6 и остатков 20-129 SEQ ID NO: 8; остатков 20-142 SEQ ID NO: 10 и остатков 20-130 SEQ ID NO: 12; и остатков 20-145 SEQ ID NO: 14 и остатков 23-130 SEQ ID NO: 16.

[00169] В некоторых вариантах осуществления настоящее изобретение относится к терапевтическому антителу к CA19-9 или его функциональному фрагменту, которое связывает sLea, при этом антитело или функциональный фрагмент имеет одну или более CDR, представленных в таблице 2. В некоторых дополнительных вариантах осуществления изобретение относится к терапевтическому антителу к CA19-9 или его функциональному фрагменту, которое содержит один или более CDR (в частности, CDR3) и может специфически связываться с sLea, как описано в патенте США № 9475874. В некоторых аспектах терапевтическое антитело к CA19-9 или его функциональный фрагмент в способах, предложенных в данном документе, может иметь активность КЗЦ и/или активность АЗКЦ любого из клональных изолятов 5B1, 9H3, 5H11 или 7E3, как описано в патенте США № 9475874.

[00170] В некоторых вариантах осуществления настоящее изобретение относится к терапевтическому антителу к CA19-9 или его функциональному фрагменту в способах, при этом антитело содержит домен VH, имеющий аминокислотную последовательность CDR1, CDR2 и CDR3 клонального изолята 5B1, 9H3, 5H11 или 7E3, как описано в патенте США № 9475874. Такие домены VH могут содержать аминокислотные остатки 55-62, 70-77 и 116-131 SEQ ID NO: 2 или, альтернативно, аминокислотные остатки 45-52, 70-77 и 116-131 SEQ ID NO: 6. или, альтернативно, аминокислотные остатки 45-52, 70-77 и 116-131 SEQ ID NO: 10, или альтернативно аминокислотные остатки 45-52, 70-77 и 116-134 SEQ ID NO: 14.

[00171] В некоторых вариантах осуществления настоящее изобретение относится к терапевтическому антителу к CA19-9 или его функциональному фрагменту в способах, причем антитело содержит домен VL, имеющий аминокислотную последовательность CDR1, CDR2 и CDR3 клонального изолята 5B1, 9H3, 5H11 или 7E3, как описано в патенте США № 9475874. Такой домен VL может содержать аминокислотные остатки 45-52, 70-72 и 109-120 из SEQ ID NO: 4 или, альтернативно, аминокислотные остатки 45-52, 70-72 и 109-119 из SEQ ID NO: 8 или, альтернативно, аминокислотные остатки 45-52, 70-72 и 109-120 SEQ ID NO: 12, или альтернативно аминокислотные остатки 49-53, 72-74 и 111-120 SEQ ID NO: 16.

[00172] В некоторых вариантах осуществления терапевтическое антитело к CA19-9 или его функциональный фрагмент в способах представляет собой моноклональное антитело. В некоторых вариантах осуществления терапевтическое антитело к CA19-9 или его функциональный фрагмент в способах представляет собой изотип IgG или IgM. В дополнительно варианте осуществления терапевтическое антитело к CA19-9 или его функциональный фрагмент в способах представляет собой антитело подкласса IgG1, IgG2, IgG3 или IgG4.

[00173] В некоторых вариантах осуществления терапевтическое антитело к CA19-9 или его функциональный фрагмент в способах может представлять собой, но не ограничиваясь ими, Fab, Fab', F(ab')2, Fabc, scFV, диатело, триатело, миниантитело или однодоменное антитело (одАт). В некоторых аспектах изобретение относится к способам получения диатела, которое содержит аминокислотную последовательность SEQ ID NO: 18 или 20. Такие диатела по настоящему изобретению могут в некоторых аспектах кодироваться полинуклеотидом, имеющим последовательность нуклеиновой кислоты SEQ ID NO: 17 или 19. Что касается антител и их функциональных фрагментов, то в данной области техники хорошо известны различные формы, изменения и модификации. Фрагменты антител, специфичных к sLea или CA19-9, по настоящему изобретению могут содержать любые из таких различных форм, изменений и модификаций антител. Примеры таких различных форм и терминов, которые известны в данной области техники, приведены ниже.

[00174] В некоторых вариантах осуществления антитело, которое можно использовать в способах, предложенных в данном документе, может представлять собой антитело, или его функциональный фрагмент, которое связывается с CA19-9 и/или сиалил-Льюис a, причем антитело содержит тяжелую цепь, состоящую из аминокислотной последовательности тяжелой цепи антитела, продуцируемого гибридомой, депонированной в АТСС под номером доступа HB-8059. В еще одном варианте осуществления антитело, которое можно использовать в способах, предложенных в данном документе, может быть антителом, или его функциональным фрагментом, которое связывается с CA19-9 и/или сиалил-Льюис a, причем антитело содержит легкую цепь, состоящую из аминокислотной последовательности легкой цепи антитела, продуцируемого гибридомой, депонированной в АТСС под номером доступа HB-8059. В дополнительном варианте осуществления антитело, которое можно использовать в способах, предложенных в данном документе, может быть антителом, или его функциональным фрагментом, которое связывается с CA19-9 и/или сиалил-Льюис a, причем антитело содержит легкую цепь, состоящую из аминокислотной последовательности легкой цепи антитела, продуцируемого гибридомой, депонированной в АТСС под номером доступа HB-8059, и тяжелую цепь, состоящую из аминокислотной последовательности легкой цепи антитела, продуцируемого гибридомой, депонированной в АТСС под номером доступа HB-8059.

[00175] В еще одном варианте осуществления антитело к CA19-9 в способах, предложенных в данном документе, может быть антителом или его функциональным фрагментом, причем тяжелая или легкая цепь антитела или его функциональный фрагмент имеет одну или более определяющих комплементарность областей (CDR) антитела, продуцируемого гибридомой, депонированной в АТСС под номером доступа HB- 8059. В другом аспекте антитело к CA19-9 в способах, предложенных в данном документе, может включать активность комплементзависимой цитотоксичности (КЗЦ) и/или активность антителозависимой клеточноопосредованной цитотоксичности (АЗКЦ) антитела, продуцируемого гибридомой, депонированной в ATCC под номером доступа HB-8059. Способы оценки специфичности, аффинности и/или авидности антитела или его функционального фрагмента хорошо известны в данной области техники, и в данном документе предложены иллюстративные способы.

[00176] В некоторых вариантах осуществления антитело к CA19-9 в способах, предложенных в данном документе, может включать антитело или его функциональный фрагмент, имеющее менее шести CDR. В некоторых вариантах осуществления терапевтическое антитело к CA19-9 или его функциональный фрагмент содержит одну, две, три, четыре или пять CDR, выбранных из группы, состоящей из CDR1 VH, CDR2 VH, CDR3 VH, CDR1 VL, CDR2 VL и/или CDR3 VL антитела, продуцируемого гибридомой, депонированной в АТСС под номером доступа HB-8059. В конкретных вариантах осуществления терапевтическое антитело к CA19-9 или его функциональный фрагмент содержит одну, две, три, четыре или пять CDR, выбранных из группы, состоящей из CDR1 VH, CDR2 VH, CDR3 VH, CDR1 VL, CDR2 VL и/или CDR3 VL клонального изолята № SW-1116-19-9 (также известного как 1116-NS-19-9, NS-19-9 или NS19-9), который был описан в патенте США № 4471057, который включен в полном объеме посредством ссылки.

[00177] В некоторых вариантах осуществления изобретение относится к терапевтическому антителу к CA19-9 или его функциональному фрагменту, причем антитело или функциональный фрагмент содержит вариабельный домен тяжелой цепи (VH), имеющий аминокислотную последовательность CDR1, CDR2 и CDR3 из последовательности CDR1, CDR2 и CDR3 домена VH антитела, продуцируемого гибридомой, депонированной в АТСС под номером доступа HB-8059. В еще одном варианте осуществления изобретение относится к терапевтическому антителу к CA19-9 или его функциональному фрагменту, причем антитело содержит вариабельный домен легкой цепи (VL), имеющий аминокислотную последовательность CDR1, CDR2 и CDR3 из последовательности CDR1, CDR2 и CDR3 домена VL антитела, продуцируемого гибридомой, депонированной в АТСС под номером доступа HB-8059. В дополнительном варианте осуществления изобретение относится к терапевтическому антителу к CA19-9 или его функциональному фрагменту, причем антитело содержит домен VL, имеющий аминокислотную последовательность CDR1, CDR2 и CDR3 из последовательности CDR1, CDR2 и CDR3 домена VL антитела, продуцируемого гибридомой, депонированной в АТСС под номером доступа HB-8059, и домен VH, имеющий аминокислотную последовательность CDR1, CDR2 и CDR3, из последовательности CDR1, CDR2 и CDR3 домена VH антитела, продуцируемого гибридомой, депонированной в ATCC под номером доступа HB-8059

[00178] В некоторых вариантах осуществления изобретение относится к выделенному антителу или его функциональному фрагменту, которое связывается с sLea, причем антитело или его функциональный фрагмент содержит домен VH , имеющий аминокислотную последовательность вариабельной области тяжелой цепи антитела, продуцируемого гибридомой, депонированной в АТСС под номером доступа HB-8059. В некоторых вариантах осуществления изобретение относится к терапевтическому антителу к CA19-9 или его функциональному фрагменту, которое связывается с sLea, причем антитело или его функциональный фрагмент содержит домен VL, имеющий аминокислотную последовательность вариабельной области легкой цепи антитела, продуцируемого гибридомой, депонированной в АТСС под номером доступа HB-8059. В другом варианте осуществления изобретение относится к терапевтическому антителу к CA19-9 или его функциональному фрагменту, который связывается с sLea, причем антитело или его функциональный фрагмент содержит домен VL, имеющий аминокислотную последовательность вариабельной области легкой цепи антитела, продуцируемого гибридомой, депонированной в АТСС под номером доступа HB-8059, и домен VH , имеющий аминокислотную последовательность вариабельной области тяжелой цепи антитела, продуцируемого гибридомой, депонированной в АТСС под номером доступа HB-8059.

[00179] В некоторых вариантах осуществления антитело, которое можно использовать в способах, предложенных в данном документе, может представлять собой антитело или его функциональный фрагмент, которое связывается с CA19-9 и/или сиалил-Льюис a, причем антитело содержит тяжелую цепь, состоящую из аминокислотной последовательности тяжелой цепи клонального изолята NS19-9. В еще одном варианте осуществления антитело, которое можно использовать в способах, предложенных в данном документе, может быть антителом или его функциональным фрагментом, которое связывается с CA19-9 и/или сиалил-Льюис a, причем антитело содержит легкую цепь, состоящую из аминокислотной последовательности легкой цепи клонального изолята NS19-9. В дополнительном варианте осуществления антитело, которое можно использовать в способах, предложенных в данном документе, может быть антителом или его функциональным фрагментом, которое связывается с CA19-9 и/или сиалил-Льюис a, причем антитело содержит легкую цепь, состоящую из аминокислотной последовательности легкой цепи клонального изолята NS19-9, и тяжелую цепь, состоящую из аминокислотной последовательности тяжелой цепи клонального изолята NS19-9.

[00180] В некоторых вариантах осуществления изобретение относится к терапевтическому антителу к CA19-9 или его функционального фрагмента в способах, причем антитело содержит домен VH, имеющий аминокислотную последовательность CDR1, CDR2 и CDR3 клонального изолята NS19-9. В некоторых вариантах осуществления изобретение относится к терапевтическому антителу к CA19-9 или его функциональному фрагменту в способах, причем антитело содержит домен VL, имеющий аминокислотную последовательность CDR1, CDR2 и CDR3 клонального изолята NS19-9. В другом варианте осуществления изобретение относится к терапевтическому антителу к CA19-9 или его функциональному фрагменту в способах, причем антитело содержит домен VH, имеющий аминокислотную последовательность CDR1, CDR2 и CDR3 клонального изолята NS19-9, и домен VL, имеющий аминокислотную последовательность CDR1, CDR2 и CDR3 клонального изолята NS19-9.

[00181] В некоторых дополнительных аспектах изобретение относится к выделенному антителу или его функциональному фрагменту, которое связывается с sLea, причем антитело или его функциональный фрагмент содержит домен VH, имеющий аминокислотную последовательность вариабельной области тяжелой цепи клонального изолята NS19-9. В некоторых вариантах осуществления изобретение относится к терапевтическому антителу к CA19-9 или его функциональному фрагменту, которое связывается с sLea, прием антитело или его функциональный фрагмент содержит домен VL, имеющий аминокислотную последовательность вариабельной области легкой цепи клонального изолята NS19-9. В другом варианте осуществления изобретение относится к терапевтическому антителу к CA19-9 или его функциональному фрагменту, которое связывается с sLea, причем антитело или его функциональный фрагмент содержит домен VL, имеющий аминокислотную последовательность вариабельной области легкой цепи клонального изолята NS19-9 и домен VH, имеющий аминокислотную последовательность вариабельной области тяжелой цепи клонального изолята NS19-9.

[00182] В некоторых вариантах осуществления терапевтическое антитело или его функциональный фрагмент в способах можно получить подходящими способами (например, при помощи рекомбинантного, биологического или синтетического способа) и очистить подходящими способами (например, при помощи хроматографии, центрифугирования, аффинного метода разделения на основе меток или дифференциальной растворимости), как описано в патенте США № 9475874, который полностью включен в данный документ посредством ссылки.

[00183] Терапевтическое антитело в способах, предложенных в данном документе, содержит фрагмент Fab. Фрагмент Fab относится к одновалентному фрагменту, состоящему из доменов VL, VH, CL и CH1; фрагмент F(ab')2 представляет собой двухвалентный фрагмент, содержащий два фрагмента Fab, связанных дисульфидным мостиком в шарнирной области; фрагмент Fd состоит из доменов VH и CH1; фрагмент Fv состоит из доменов VL и VH одного плеча антитела; и фрагмент dAb (Ward et al., Nature 341:544-546, (1989)) состоит из домена VH.

[00184] Терапевтическое антитело в способах, предложенных в данном документе, может иметь один или более сайтов связывания. Если существует более одного сайта связывания, сайты связывания могут быть идентичны друг другу или могут быть разными. Например, природный иммуноглобулин имеет два идентичных сайта связывания, одноцепочечное антитело или фрагмент Fab имеет один сайт связывания, в то время как «биспецифическое» или «бифункциональное» антитело имеет два разных сайта связывания.

[00185] Терапевтическое антитело в способах, предложенных в данном документе, также может быть одноцепочечным антителом. Одноцепочечное антитело (scFv) относится к антителу, в котором область VL и область VH соединены через линкер (например, синтетическую последовательность аминокислотных остатков) с образованием непрерывной полипептидной цепи, в которой линкер достаточно длинный, чтобы позволить белковой цепи сворачиваться обратно и образовывать моновалентный сайт связывания антигена (см., например, Bird et al., Science 242:423-26 (1988) and Huston et al., Proc. Natl. Acad Sci. USA 85:5879-83 (1988)). Диатела относятся к двухвалентным антителам, включающим две полипептидные цепи, причем каждая полипептидная цепь содержит домены VH и VL, соединенные линкером, который слишком короткий, чтобы обеспечить объединение между двумя доменами в одной цепи, что позволяет каждому домену объединяться с дополнительным доменом другая полипептидная цепь (см., например, Holliger et al., Proc. Natl. Acad Sci. USA 90:6444-48 (1993), и Poljak et al., Structure 2:1121-23 (1994)). Если две полипептидные цепи диатела идентичны, то диатело, полученное в результате их объединения, будет иметь два идентичных антигенсвязывающих сайта. Полипептидные цепи, имеющие разные последовательности, можно использовать для создания диатела с двумя разными антигенсвязывающими сайтами. Точно так же триатела и тетратела представляют собой антитела, содержащие три и четыре полипептидные цепи, соответственно, и образующие, соответственно, три и четыре антигенсвязывающих сайта, которые могут быть одинаковыми или разными.

[00186] Настоящее изобретение также относится к терапевтическому антителу или его функциональному фрагменту, которое является производным 5B1, 9H3, 5H11 и/или 7E3, как описано в патенте США № 9475874, а также NS19-9, как описано в патенте США № 4471057, причем антитело или функциональный фрагмент связывается с CA19-9 и sLea. Стандартные методы, хорошо известные специалистам в данной области техники, могут быть использованы для введения мутаций в нуклеотидную последовательность, кодирующую антитело или его функциональный фрагмент по изобретению, включая, например, сайт-направленный мутагенез и ПЦР-опосредованный мутагенез, который приводит к аминокислотным заменам. В некоторых аспектах производное содержит менее 25 аминокислотных замен, менее 20 аминокислотных замен, менее 15 аминокислотных замен, менее 10 аминокислотных замен, менее 5 аминокислотных замен, менее 4 аминокислотных замен, менее более 3 аминокислотных замен или менее 2 аминокислотных замен относительно исходной молекулы.

[00187] В некоторых вариантах осуществления изобретение относится к терапевтическому антителу или его функциональному фрагменту, имеющему модифицированные формы встречающихся в природе аминокислот, консервативные замены, не встречающиеся в природе аминокислоты, аналоги и миметики аминокислот при условии, что такое антитело или функциональный фрагмент сохраняет функциональную активность, как определено в данном документе. В одном варианте осуществления производное имеет консервативные аминокислотные замены, которые сделаны у одного или более спрогнозированных заменимых аминокислотных остатков. Консервативную аминокислотную замену представляет собой замену, в которой аминокислотный остаток заменяется аминокислотным остатком, имеющим боковую цепь с аналогичным зарядом. Семейства аминокислотных остатков, имеющих боковые цепи с аналогичными зарядами, были определены в данной области техники. Эти семейства включают аминокислоты с основными боковыми цепями (например, лизин, аргинин, гистидин), кислотными боковыми цепями (например, аспарагиновая кислота, глутаминовая кислота), незаряженными полярными боковыми цепями (например, глицин, аспарагин, глутамин, серин, треонин, тирозин, цистеин), неполярными боковыми цепями (например, аланин, валин, лейцин, изолейцин, пралин, фенилаланин, метионин, триптофан), бета-разветвленными боковыми цепями (например, треонин, валин, изолейцин) и ароматическими боковыми цепями (например, тирозин, фенилаланин, триптофан, гистидин). Альтернативно, мутации можно вводить случайным образом по всей или части кодирующей последовательности, например, посредством насыщающего мутагенеза, и полученные мутанты можно подвергать скринингу на биологическую активность для выявления мутантов, которые сохраняют активность. После мутагенеза можно экспрессировать кодируемое антитело или его функциональный фрагмент и определить активность антитела или функционального фрагмента.

[00188] В некоторых вариантах осуществления изобретение относится к терапевтическому антителу или его функциональному фрагменту, имеющему модифицированным фукозилированием, галактозилированием и/или сиалированием фрагмента Fc, содержащегося в антителе или функциональном фрагменте по изобретению. Такие модификации фрагмента Fc могут влиять на активность, опосредованную рецептором Fc, как обсуждается в Peipp et al., Blood,112(6):2390-2399 (2008). Например, гликомодифицированные терапевтические антитела, лишенные остатков коровой фукозы из Fс N-гликанов, демонстрируют сильный АЗКЦ при более низких концентрациях с гораздо более высокой эффективностью по сравнению с фукозилированными аналогами. Shields et al., J Biol. Chem., 277(30):26733-40 (2002); Okazaki et al., J Mol Biol., 336:1239-1249 (2004); Natsume et al., J Immunol. Methods., 306:93-103 (2005). Способы модификации фукозилирования, галактозилирования и/или сиалилирования антитела для его функционального фрагмента хорошо известны в данной области техники. Например, подходы дефукозилирования можно сгруппировать в три методологии (1) преобразование пути N-гликозилирования клеток немлекопитающих в «гуманизированный» путь нефукозилирования; (2) инактивация пути фукозилирования N-гликанов клеток млекопитающих и (3) химический синтез нефукозилированного N-гликопротеина in vitro или ферментативная модификация N-гликанов до нефукозилированных форм, как описано в Yamane-Ohnuki et al., MAbs., 1(3):230-236 (2009). Понятно, что любой из этих способов или любой другой способ, хорошо известный в данной области техники, может быть использован для получения антитела или его функционального фрагмента, имеющего модифицированное фукозилирование, галактозилирование и/или сиалирование.

6.2.1.2. Пептиды и пептидомиметики как терапевтические агенты в способах.

[00189] Пептиды и пептидомиметики обладают структурным разнообразием, необходимым для селективных и высокоаффинных взаимодействий с целевым белком. В изобретении предложены пептиды и пептидомиметики в качестве терапевтического агента в способах. В некоторых вариантах осуществления терапевтические агенты, которые можно использовать в способах, предложенных в данном документе, представляют собой пептиды или пептидомиметики, которые обладают активностью ингибирования, блокирования, реверсирования, снижения или уменьшения повышенной экспрессии CA19-9 в поджелудочной железе, повышенного сигнального пути РЭФР в поджелудочной железе, повышенных уровней сиалил-Льюис a в поджелудочной железе или любой их комбинации. Примеры пептидов или пептидомиметиков, подходящих для этих способов, включают те, которые специфически связываются с мишенью, выбранной из группы, состоящей из CA19-9 и сиалил-Льюис a. В одном варианте осуществления иллюстративные пептиды, подходящие для способов, представляют собой блокирующие или нейтрализующие пептиды. В другом варианте осуществления иллюстративные пептидомиметики, подходящие для способов, представляют собой блокирующие или нейтрализующие пептидомиметики.

[00190] Терапевтические пептиды в способах могут быть основаны на последовательности области связывания между двумя белками. Линейные последовательности могут происходить из петли внутри структурированного домена или из неупорядоченной области на концах белка или между определенными доменами. Для достижения желаемой эффективности терапевтический пептид может быть нацелен на соответствующий сайт в организме, ткани или клетке посредством слияния с нацеливающей последовательностью и связывается с намеченной белковой мишенью in vivo. В одном варианте осуществления терапевтический пептид представляет собой короткую пептидную последовательность, например, 3, 4, 5, 6, 7, 8, 9, 10, 11, 12, 13, 14, 15, 16, 17, 18, 19, 20, 21, 22, 23, 24, 25, 26, 27, 28, 29, 30, 35, 40, 45, 50, 55, 60, 65, 70, 75, 80, 85, 90, 95, 100 аминокислот, которые будут связываться и блокировать функцию целевого белка для достижения требуемых активностей, как предложено в данном документе. Эти линейные последовательности могут быть определены в соответствии с доступной структурной информацией о целевом белке, например, на основе структуры пептидов или пептидомиметиков. Кроме того, терапевтический пептид и пептидомиметики можно подвергнуть скринингу и выбрать для предотвращения, лечения, улучшения или контроля в отношении мишени, связанной с панкреатитом как описано в абзаце [00189], с использованием методов на основе пептидных библиотек и матриц, как описано в Разделе 6.2.1.2.

[00191] Активности терапевтических пептидов или их вариантов можно идентифицировать, тестировать и проверять с помощью любого из анализов, как описано в Разделе 6.3 и примерах из библиотеки пептидов или пептидомиметиков. Терапевтические пептиды могут быть проверены и идентифицированы в соответствии с анализами, описанными в Разделах 6.3 и 6.2.1.2 из библиотеки пептидов или пептидомиметиков. Пептиды могут быть получены рекомбинантным или синтетическим путем в соответствии со способами, хорошо известными специалисту в данной области техники, например, как описано в WO 2007/019545; WO 2015/009820A2; и WO 2009/094172 A2, которые полностью включены в данный документ посредством ссылки.

[00192] Библиотеки пептидов и библиотеки пептидомиметиков, из которых терапевтический пептид может быть идентифицирован и выбран, хорошо известны специалисту в данной области техники. Например, подходящая библиотека пептидов может быть биологической библиотекой пептидов, где пептидные библиотеки имеют генотип или последовательность ДНК, кодирующую пептидную последовательность, которая связана с экспрессией пептида, в виде части нормальной структуры библиотеки. Примеры биологических библиотек пептидов включают библиотеки фагов, бактерий, рибосом, мРНК, дрожжей, кДНК, ретровируса, бакуловируса и дисплея клеток млекопитающих. Подходящая пептидная библиотека также может представлять собой химическую пептидную библиотеку, в которой пептидные библиотеки получают синтетическим путем. Иллюстративные химические библиотеки пептидов включают комбинаторные библиотеки пептидов, такие как библиотеки одно соединение-одна гранула (OBOC) и синтетические комбинаторные библиотеки пептидов с позиционным сканированием (PS-SPCL). Например, линейная комбинаторная химическая библиотека, такая как библиотека полипептидов, формируется путем комбинирования набора химических строительных блоков (аминокислот) всеми возможными способами для заданной длины соединения (то есть количества аминокислот в полипептидном соединении).Миллионы химических соединений могут быть синтезированы посредством такого комбинаторного смешения химических строительных блоков. Подробные протоколы для получения библиотек пептидов и для выбора связывающих мишень и/или блокирующих мишень пептидов из различных библиотек пептидов описаны в Kehoe JW, et al., Chem. Rev. 2005;105:4056; Hill HR, et al., Mol. Microbial. 1996;20:685; Smith GP, et al., Chem. Rev. 1997;97:391; Cabilly S. Mol. Biotechnol. 1999;12:143; Fukunaga K, et al., J. Nucleic Acids. 2012;2012:9; Gray BP, et al., Chem Rev. 2014; 114(2): 1020-1081, все из которых включены в данный документ посредством ссылки.

[00193] В определенных вариантах осуществления пептиды для применения в настоящих способах могут включать определенный структурный или функциональный мотив(-ы). Мотив пептида относится либо к набору последовательных аминокислот в аминокислотной последовательности пептидной цепи, либо к набору линейно или пространственно смежных аминокислот во вторичной и/или третичной структуре указанного пептида.Поскольку мотив может быть образован полностью или частично в результате сворачивания белка, аминокислоты, которые находятся рядом в описанном мотиве, могут быть разделены 0, 1 или более, 5 или более, 10 или более, 15 или более или 20 или более аминокислот в линейной аминокислотной последовательности пептида. Например, терапевтический пептид может быть пептидом или его вариантом любой из последовательностей CDR любого анти-CA19-9, как предложено в данном документе.

[00194] В определенных вариантах осуществления пептиды для применения в настоящих способах включают пептиды, которые имеют 30%, 35%, 40%, 45%, 50%, 55%, 60%, 65%, 70%, 75%, 80%, 85%, 90%, 95%идентичность последовательности с любым терапевтическим пептидом, предложенным в данном документе. Чтобы определить процент идентичности двух аминокислотных последовательностей, последовательности выравнивают для оптимального сравнения. Затем сравнивают аминокислотные остатки в соответствующих аминокислотных положениях. Когда положение в первой последовательности занято тем же аминокислотным остатком, что и соответствующее положение во второй последовательности, тогда молекулы идентичны в этом положении. Процент идентичности между двумя последовательностями является функцией количества идентичных положений, общих для последовательностей (т.е.% идентичности=количество идентичных перекрывающихся положений x 100/общее количество положений). В одном варианте осуществления две последовательности имеют одинаковую длину. В альтернативном варианте осуществления последовательности имеют разную длину и, соответственно, процент идентичности относится к сравнению более короткой последовательности с частью более длинной последовательности, где указанная часть имеет ту же длину, что и указанная более короткая последовательность.

[00195] Пептиды с дополнительными модификациями также можно использовать в способах, предложенных в данном документе, для предотвращения, лечения, облегчения или контроля панкреатита. Например, пептиды вышеуказанных структурных мотивов могут быть синтезированы с одной или более (D)-аминокислотами. Выбор включения (L)- или (D)- аминокислоты в пептид, применимый в способах, предложенных в данном документе, частично зависит от желаемых характеристик пептида. Например, включение одной или нескольких (D)-аминокислот может повысить стабильность пептида in vitro или in vivo. Включение одной или более (D)-аминокислот также может увеличивать или уменьшать связывающую активность пептида, как определено, например, с использованием описанных в данном документе биоанализов или других способов, хорошо известных в данной области техники.

[00196] Замена всей или части последовательности (L)-аминокислот соответствующей последовательностью энтатиомерных (D)-аминокислот создает оптически изомерную структуру в соответствующей части пептидной цепи. Инверсия последовательности всей или части последовательности (L)-аминокислот приводит к получению ретро-аналогов пептида. Комбинация энантиомерной (L на D или D на L) замены и инверсии последовательности дает ретро-инверсо-аналоги пептида. Специалистам в данной области техники известно, что энантиомерные пептиды, их ретро-аналоги и их ретро-инверсо-аналоги сохраняют значительную топологическую связь с исходным пептидом, и особенно высокая степень сходства часто достигается для исходного и его ретро-инверсо-аналогов. Эта взаимосвязь и сходство могут отражаться в биохимических свойствах пептидов, особенно в высоких степенях связывания соответствующих пептидов и аналогов с рецепторным белком. Синтез свойств ретро-инверсо-аналогов пептидов обсуждался, например, в Methods of Organic Chemistry (Houben-Weyl), Synthesis of Peptides and Peptidomimetics - Workbench Edition Volume E22c (Editor-in-chief Goodman M.) 2004 (George Thieme Verlag Stuttgart, New York), и в цитируемых там ссылках, все из которых полностью включены в данный документ посредством ссылки.

[00197] Предлагаемые в данном документе терапевтические пептиды также включают пептиды с модификациями аминокислот. «Модификация» аминокислоты относится к изменению встречающейся в природе аминокислоты с образованием не встречающейся в природе аминокислоты. Производные пептидов, которые могут быть использованы с помощью способов, предложенных в данном документе, и содержащие не встречающиеся в природе аминокислоты, могут быть созданы путем химического синтеза или путем сайт-специфического включения неприродных аминокислот в пептиды во время биосинтеза, как описано в Christopher J. Noren, Spencer J. Anthony­ Cahill, Michael C. Griffith, Peter G. Schultz, 1989 Science, 244:182-188, полностью включенной в данный документ посредством ссылки.

[00198] Пептидомиметики (пептидные миметики), которые структурно подобны терапевтически полезным пептидам, могут использоваться для получения эквивалентного терапевтического или профилактического эффекта.Как правило, пептидомиметики структурно подобны эталонному полипептиду (т.е. полипептиду, который обладает биохимическим свойством или фармакологической активностью), но имеют одну или более пептидных связей, необязательно замененных связью, выбранной из группы, состоящей из:--CH2-NH--' --CH2S--' --CH2-CH2--' --CH=CH- (цис и транс)' --COCH2--' --CH(OH)CH2--, и -CH2SO--, при помощи способов, известных в данной области техники и дополнительно описанных в следующих публикациях: Spatola, AF. in "Chemistry and Biochemistry of Amino Acids, Peptides, and Proteins," B. Weinstein, eds., Marcel Dekker, New York, p 267 (1983); Spatola, AF., Vega Data (March 1983), Vol. 1. Issue 3, "Peptide Backbone Modifications" (общий обзор); Morely, J.S., Trends Pharma Sci (1980) pp. 463-468 (общий обзор); Hudson, D. et al., (1979) Int J Pept Prot Re 14: 177-185 (--CH2-NH--, --CH2-CH2--); Spatola, AF. et al., (1986) Life Sci 38:1243-1249 (--CH2-S--); Hann, M. M., (1982) J Chem Soc Perkin Trans I 307-314 (--CH=CH--, цис и транс); Almquist, R. G. et al., (1980) J Med Chem 23: 1392 (-­ COCH2--); Jennings-White, C et al., (1982) Tetrahedron Lett 23:2533 (--COCH2--); Szelke, Met al., EuropeanAppln. EP 45665 (1982) CA: 97: 39405 (1982) (--CH(OH)CH2--); Holladay, M. W. et al., (1983) Tetrahedron Lett 24:4401-4404 (--C(OH)CH2--); и Hruby, VJ., (1982) Life Sci 31:189-199 (--CH2-S--); каждая из которых включена в данный документ посредством ссылки.

[00199] В еще одном варианте осуществления пептидомиметиков непептидний линкер представляет собой -CH2NH-. Такие пептидные миметики могут иметь значительные преимущества перед вариантами пептидов, включая, например, более экономичное производство, большую химическую стабильность, улучшенные фармакологические свойства (период полужизни, всасывание, активность, эффективность и т.д.), измененную специфичность (например, широкий спектр биологической активности), пониженную антигенность и другие.

[00200] Возможны различные конструкции пептидных миметиков. Например, специально рассматриваются циклические пептиды, в которых необходимая конформация стабилизируется непептидами в патенте США № 5192746 Lobl и др., патенте США №5576423 Aversa и др., патенте США № 5051448 Shashoua, и в патенте США №5559103 Gaeta и др., включенные в данный документ посредством ссылки, описаны несколько способов создания таких соединений. Синтез непептидных соединений, имитирующих пептидные последовательности, также известен в данной области техники.В публикации Eldred et al., J. Med. Chem. 37:3882 (1994), (включенной в данный документ в полном объеме посредством ссылки) описаны непептидные антагонисты, которые имитируют пептидную последовательность. Подобным образом в публикации Ku et al., J. Med. Chem 38: 9 (1995) (включенной в данный документ в полном объеме посредством ссылки) дополнительно объясняется синтез ряда таких соединений.

[00201] Кроме того, терапевтические пептиды могут быть пептидами с мутациями в пептидных последовательностях. Предложенные в данном документе мутации могут представлять собой замены, включая консервативные или неконсервативные замены внутренних или концевых аминокислотных остатков, делеции, включая внутренние делеции и делеции концевых остатков, добавления, включая внутренние добавления, и добавления к двум концам пептидов, все из которых могут быть получены в соответствии со способами, хорошо известными специалисту в данной области техники, например, как описано в публикации Molecular Cloning: A Laboratory Manual (Fourth Edition); ISBN 978-1-936113-42-2.

[00202] В терапевтических пептидах могут быть произведены консервативные или неконсервативные аминокислотные замены в одном или более аминокислотных остатках. Также могут быть сделаны как консервативные, так и неконсервативные замены. Консервативные замены представляют собой замены, которые происходят в семействе аминокислот, связанных в их боковых цепях. Неконсервативные замены представляют собой замены аминокислоты одного семейства аминокислотой из другого семейства. Генетически кодируемые аминокислоты можно разделить на четыре семейства: (1) кислые=Asp (D), Glu (G); (2) основные=Lys (K), Arg (R), His (H); (3) неполярные (гидрофобные) = Cys (C),Ala (A), Val (V), Leu (L), Ile (I), Pro (P), Phe (F), Met (M), Trp (W), Gly (G), Tyr (Y); и(4)незаряженные полярные=Asn (N), Gln (Q), Ser (S), Thr (T). Неполярные можно подразделить на: сильно гидрофобные=Ala (A), Val (V), Leu (L), Ile (I), Met (M), Phe (F); и умеренно гидрофобные=Gly (G), Pro (P), Cys (C), Tyr (Y), Trp (W). Альтернативно, набор аминокислот можнсгруппировать как (1) кислые=Asp (D), Glu (G); (2) основные=Lys (K), Arg (R), His (H), (3) алифатические=Gly (G), Ala (A), Val (V), Leu (L), Ile (I), Ser (S), Thr (T), с Ser (S) и Thr (T) необязательно могут быть сгруппированы отдельно как алифатический гидроксильные; (4) ароматические=Phe (F), Tyr (Y), Trp (W); (5) амидсодержащие=Asn (N), Glu (Q); и (6) серосодержащие=Cys (C) и Met (M). (См., например, Biochemistry, 4th ed., Ed. by L. Stryer, WH Freeman and Co., 1995, которая полностью включена в данный документ посредством ссылки).

[00203] В некоторых вариантах осуществления пептиды для применения в настоящих способах могут быть выделенными или очищенными пептидами. Выделенный или очищенный пептид относится к пептиду, который по существу свободен по меньшей мере от одного компонента, поскольку указанный пептид обнаружен в клетке или микробе, которые синтезировали пептид, или по существу свободен по меньшей мере от одного компонента, поскольку указанный пептид обнаружен в смеси, когда он был впервые синтезирован. По существу, пептид может практически не содержать клеточный материал (такой как липиды, ДНК и/или углеводы) или другие загрязняющие белки из клеточного или тканевого источника, из которых получен белок или пептид, или может практически не содержать химические предшественники или другие химические вещества в случае химического синтеза. Выражение «по существу не содержит» включает препараты пептида, в которых пептид отделен от одного или более компонентов смеси, из которой выделен пептид. Таким образом, пептид, который по существу свободен от клеточного материала, включает препараты пептидов, содержащих менее около 30%, 20%, 10% или 5% (по сухой массе) гетерологичного белка (также называемого в данном документе «загрязняющим белком»). Когда пептид получают рекомбинантным путем, он может быть по существу свободен от питательной среды, например, питательная среда составляет менее 20%, 10% или 5% объема белкового препарата. Когда пептид получают при помощи химического синтеза, он может быть по существу свободен от химических предшественников или других химических веществ, например, он отделен от химических предшественников или других химических веществ, которые участвуют в синтезе белка. Соответственно такие препараты пептида имеют менее чем около 30%, 20%, 10%, 5% (по сухой массе) химических предшественников или соединений, отличных от представляющего интерес пептида. Например, пептиды, предложенные в данном документе, и/или пептиды, применимые в описанных в данном документе способах, могут быть выделенными или очищенными пептидами или пептидами, которые не были выделены или очищены.

6.2.2 Популяции пациентов, биомаркеры и терапевтический эффект

[00204] Как обсуждалось выше, панкреатит можно разделить на хронический панкреатит и острый панкреатит. В некоторых вариантах осуществления разница между острым и хроническим панкреатитом заключается в длительности и персистенции воспаления поджелудочной железы и ее повреждения. Острый панкреатит представляет собой изолированный (иногда внезапный или короткий) эпизод панкреатита, который часто сопровождается острой болью в животе. Хронический панкреатит представляет собой постоянное необратимое воспалительное и фиброзное состояние поджелудочной железы, которое приводит к длительному нарушению внешнесекреторной и/или эндокринной функции поджелудочной железы. Таким образом, хронический панкреатит может включать панкреатит, при котором воспаление сохраняется в поджелудочной железе, или даже если воспаление исчезло, последующее повреждение поджелудочной железы, такое как фиброз, кальциноз и повреждения протоков, продолжают влиять на функцию поджелудочной железы. Как видно из обсуждений выше и ниже, причины и механизмы развития острого и хронического панкреатита частично совпадают. Соответственно, специалист в данной области техники поймет, что острый панкреатит может привести к хроническому панкреатиту, у пациентов с хроническим панкреатитом может развиться эпизод острого панкреатита. Кроме того, у пациентов может развиться хронический панкреатит после излечения одного или более эпизодов острого панкреатита.

[00205] Острый панкреатит можно разделить на разные стадии в соответствии с различными описанными в данном документе маркерами. Например, острый панкреатит можно дополнительно классифицировать как острый панкреатит легкой степени и острый панкреатит тяжелой степени в соответствии с атлантской классификацией (Edward L. Bradley, Arch Surg. 1993;128(5):586-590), которая полностью включена в данный документ посредством ссылки. Острый панкреатит легкой степени относится к острому панкреатиту с минимальной дисфункцией органов, без некроза ткани поджелудочной железы, без органной недостаточности и/или с самоограничивающимся течением. Острый панкреатит тяжелой степени относится к панкреатиту, сопровождающемуся органной недостаточностью, местными панкреатическими осложнениями, такими как псевдокиста, и/или некроз тканей (некротический панкреатит). Для дальнейшей классификации острого панкреатита была принята различные шкалы, включая критерии Рэнсона, прогностические критерии Глазго-Имри, КТ-индекса тяжести, систему классификации APACHE II и шкалу оценки Balthazar по КТ с усилением, как описано в главе 37 «Острый панкреатит» в GI/Liver Secrets Plus, 4th edition, edited by McNally PR, 2010 and Carroll JK et al., Am Fam Physician 2007;75:1513-20, которая полностью включена в данный документ посредством ссылки. В некоторых вариантах осуществления для классификации острого панкреатита можно использовать различные шкалы для оценки острого панкреатита. Например, соответствие менее чем 3 критериям из 11 критериев системы Рэнсона может указывать на острый панкреатит легкой степени, тогда как выполнение 3 или более критериев из 11 критериев системы Рэнсона может указывать на острый панкреатит тяжелой степени. В одном варианте осуществление соответствие 3 или более из 8 критериев в шкале оценки Глазго-Имри может указывать на острый панкреатит тяжелой степени, тогда как выполнение менее 3 критериев в той же системе может указывать на острый панкреатит легкой степени. В еще одном варианте осуществления оценка 8 или более баллов по 14 критериям шкале оценки APACHE II может указывать на острый панкреатит тяжелой степени, тогда как оценка менее 8 баллов в той же системе может указывать на острый панкреатит легкой степени. В дополнительном варианте осуществления критерии и шкала оценки хорошо известны специалисту в данной области техники и подробно описаны в главе 37 в «Острый панкреатит» в GI/Liver Secrets Plus, 4th edition, edited by McNally PR, 2010, Carroll JK et al., Am Fam Physician 2007;75:1513-20, и Matull WR et al., J Clin Pathol 2006;59:340-344, все из которых полностью включены в данный документ посредством ссылки. Предложенные в данном документе способы можно использовать для пациентов с любыми стадиями острого панкреатита, которые классифицируются при помощи любой системы классификации, описанной в данном документе.

[00206] В качестве альтернативы острый панкреатит можно дополнительно классифицировать как острый панкреатит легкой степени, острый панкреатит средней степени и острый панкреатит тяжелой степени в соответствии с пересмотренной атлантской классификацией (Banks PA et al., Gut 2013; 62: 102-111), которая включена в данный документ полностью посредством ссылки. В пересмотренной атлантской классификации под острым панкреатитом средней легкой понимается: острый панкреатит, при котором у пациентов нет органной недостаточности и местных или системных осложнений; острый панкреатит средней степени относится к острому панкреатиту, при котором у пациентов наблюдается преходящая органная недостаточность (органная недостаточность, которая разрешается в течение 48 часов) и/или местные или системные осложнения без стойкой органной недостаточности; и острый панкреатит тяжелой степени относится к острому панкреатиту, при котором у пациентов наблюдается стойкая органная недостаточность (одно- или полиорганная недостаточность в течение более 48 часов). Предложенные в данном документе способы могут быть использованы для пациентов с острым панкреатитом легкой степени, острым панкреатитом средней степени и острым панкреатитом тяжелой степени в соответствии с пересмотренной атлантской классификацией, как раскрыто и цитируется в данном документе.

[00207] Классификация острого панкреатита легкой степени, острого панкреатита средней степени и острого панкреатита тяжелой степени также может быть определена по шкале оценки. В одном варианте осуществления такой шкалы оценки для классификации острого панкреатита пациентов оценивают с помощью индекса тяжести на основе компьютерной томографии (CTSI). В CTSI пациенты сначала оцениваются по шкале Бальтазара, при которой нормальная поджелудочная железа соответствует оценка 0, увеличения поджелудочная железа соответствует оценка 1, воспалительные изменения поджелудочной железы и перипанкреатический жир соответствует оценке 2, нечеткое однократное скопление перипанкреатической жидкости соответствует оценке 3, а два или более плохо определенных скопления перипанкреатической жидкости соответствует оценке 4. Пациенты дополнительно оцениваются по шкале оценки некроза поджелудочной железы, при этом некроз поджелудочной железы соответствует оценке 0, не более 30% некроза поджелудочной железы соответствует оценке 2, более 30%, но не более 50% некроза поджелудочной железы соответствует оценке 4, а некроз поджелудочной железы более 50% соответствует оценке 6. В некоторых вариантах осуществления сумма баллов по шкале Бальтазара и оценка некроза поджелудочной железы может затем использоваться для классификации острого панкреатита, при этом общая оценка от 0 до 3 соответствует острому панкреатиту легкой степени, общая оценка от 4 до 6 соответствует острому панкреатиту средней степени, а общая оценка от 7 до 10 соответствует острому панкреатиту тяжелой степени. Предложенные в данном документе способы можно использовать для пациентов с острым панкреатитом легкой степени, острым панкреатитом средней степени и острым панкреатитом тяжелой степени, которые классифицируются согласно CTSI, как описано в данном документе.

[00208] Кроме того, острый панкреатит можно разделить на два типа: интерстициальный отечный панкреатит и некротизирующий панкреатит согласно Banks PA et al., Gut 2013;62:102-111. Интерстициальный отечный панкреатит относится к острому панкреатиту с диффузным (или иногда локализованным) увеличением поджелудочной железы из-за воспалительного отека. Некротизирующий панкреатит относится к острому панкреатиту с некрозом паренхимы поджелудочной железы, перипанкреатической ткани или того и другого. Предложенные в данном документе способы могут быть использованы для пациентов с интерстициальным отечным панкреатитом или некротизирующим панкреатитом, как описано в данном документе.

[00209] Точно так же хронический панкреатит можно разделить на хронический панкреатит легкой степени, хронический панкреатит средней степени и хронический панкреатит тяжелой степени (также известный как класс по Кембриджской классификации или стадии по Кембриджской классификации I, II и III, соответственно) в соответствии с системой Кембриджской классификации, как описано в Sai JK, et al., World J Gastroenterol. 2008 Feb 28;14(8):1218-21; Sarner M, et al., Gut. 1984 Jul;25(7):756-9; Axon AT, et al., Gut. 1984 Oct;25(10): 1107-12, все из которых полностью включены в данный документ посредством ссылки. Хронический панкреатит легкой степени относится к панкреатиту, имеющему 3 или более аномальных ветвей по результатам эндоскопической ретроградной холангиопанкреатографии (ЭРХПГ) и 2 или более ветвей из одной из следующих групп по результатам ультразвукового исследования или компьютерной томографии (КТ): полости <10 мм, неровность протока, очаговый острый некроз, гетерогенность паренхимы, повышенная эхогенность стенки протока и неровность контура головки или тела. Хронический панкреатит средней степени относится к панкреатиту, имеющему более 3 аномальных боковых ветвей и аномального главного протока по результатам ЭРХПГ и 2 или более из одной из следующих групп по результатам УЗИ или КТ: полости <10 мм, неровность протока, очаговый острый некроз, гетерогенность паренхимы, повышенная эхогенность стенки протока и неровность контура головки или тела. Хронический панкреатит тяжелой степени относится к панкреатиту, имеющему по меньшей мере те же аномалии, что и хронический панкреатит легкой и средней степени и, кроме того, 1 или более из выбранных из следующего: большая полость> 10 мм, дефекты внутрипротокового наполнения, обструкция протока (стриктура) и дилатация протока или отклонения в результатах ЭРХПГ, а также 1 или более выбранных из следующего: большая полость> 10 мм, дефекты внутрипротокового наполнения, обструкция протока (стриктуры), дилатация или неровность протока, камни и/или кальциноз поджелудочной железы и инвазия смежных органов. Предложенные в данном документе способы могут быть использованы для пациентов с хроническим панкреатитом легкой степени, хроническим панкреатитом средней степени и хроническим панкреатитом тяжелой степени, как описано в данном документе.

[00210] Как описано выше и ниже, способы, предложенные в данном документе, могут улучшить любой один или более маркеров панкреатита, как описано в данном документе, у пациентов с панкреатитом. Термины «улучшить», «процесс улучшения» или «улучшение», используемые в отношении к маркеру панкреатита, включают любое изменение маркера панкреатита до тех пор, пока изменение происходит в направлении от того, каким был бы маркер у субъекта, страдающего панкреатитом, до этого у субъекта, не страдающего панкреатитом, или до эталонного диапазона. Следовательно, для маркеров панкреатита, которые коррелируют со степенью тяжести панкреатита, такое «улучшение» маркеров панкреатита будет означать снижение уровней маркеров панкреатита. Примеры таких корреляционных маркеров включают следующее: инвазия иммунных клеток, отложение коллагена, фиброзную ткань, жировой некроз, интерстициальный отек, разрушение ацинарных клеток и кровеносных сосудов, интерстициальное кровотечение, дилатация протоков, гомогенизация ацинарных клеток, уровни экспрессии sLea, уровни экспрессии CA19-9, уровень сывороточной липазы, уровень сывороточной амилазы, уровень сывороточного С-реактивного белка, потеря массы, мальабсорбция, атрофия поджелудочной железы, увеличение поджелудочной железы, воспаление поджелудочной железы, рефлюкс желчи и пенетрантность панкреатита. Для маркеров панкреатита, которые обратно коррелируют со степенью тяжести панкреатита, такое «улучшение» в уровнях маркеров панкреатита будет означать увеличение уровней маркеров панкреатита. Примеры обратно коррелирующих маркеров панкреатита включают процент функции поджелудочной железы, количество ацинусов поджелудочной железы и количество ацинарных клеток. Дополнительные сведения, касающиеся маркеров и результатов лечения, представлены в данном документе.

[00211] В некоторых конкретных вариантах осуществления изобретение дополнительно предусматривает, что способы, предложенные в данном документе, могут улучшить терапевтический эффект в отношении пациентов путем устранения панкреатита у пациентов или изменения стадий панкреатита, например, от острого/хронического панкреатита тяжелой степени до острого/хронического панкреатита средней степени, от острого/хронического панкреатита тяжелой степени до острого/хронического панкреатита легкой степени или от острого/хронического панкреатита средней степени до острого/хронического панкреатита легкой степени в соответствии с любой системой классификации, описанной в данном документе. Такое улучшение в результате способов, предложенных в данном документе, также может представлять собой замедление прогрессирования стадий панкреатита у пациента, например, менее быстрый переход от одной стадии к другой по сравнению с аналогичными пациентами, не получавшими лечение или получавшими плацебо, или стабилизацию стадии панкреатита у пациента, например, панкреатита у пациента, с сохранением панкреатита легкой, средней или тяжелой степени без обострения болезни до следующей стадии.

[00212] В качестве альтернативы хронический панкреатит можно классифицировать в соответствии с классификацией Марсель-Рим, модифицированной Сарлезасом. В этой классификации хронический панкреатит подразделяется на четыре группы на основе эпидемиологии, молекулярной биологии и морфологии. В такой системе классификации хронический панкреатит классифицируется как кальцифицирующий хронический панкреатит, который характеризуется неравномерным фиброзом, внутрипротоковыми белковыми пробками, внутрипротоковыми камнями и/или повреждением протоков; обструктивный хронический панкреатит, который характеризуется изменениями в железе, равномерным фиброзом, расширением протоков, атрофией ацинарных клеток и/или улучшением после удаления обструкции протоков поджелудочной железы; воспалительный хронический панкреатит, который характеризуется инфильтрацией мононуклеарных клеток, деструкцией экзокринной паренхимы, диффузным фиброзом и/или атрофией; и бессимптомный фиброз поджелудочной железы, который характеризуется бессимптомным диффузным перилобулярным фиброзом. Предложенные в данном документе способы могут использоваться для пациентов с любой стадией хронического панкреатита, классифицированных в соответствии со схемой классификации Марсель-Рим, как описано в главе 38 «Хронический панкреатит» в GI/Liver Secrets Plus, 4th edition, edited by McNally PR, 2010.

[00213] Различные физиологические, биологические, гистологические, серологические параметры и/или параметры сигналинга могут использоваться в качестве биомаркеров для отслеживания курса лечения и корректировки дозировки терапевтических агентов, описанных в данном документе (таких как терапевтические агенты, описанные в Разделе 6.2.1). Дополнительно или альтернативно биомаркеры можно использовать для отбора пациентов для лечения описанными в данном документе способами. В этом Разделе описаны различные такие биомаркеры, которые можно использовать со способами, предложенными в данном документе.

[00214] Как описано выше, основным признаком панкреатита является воспаление поджелудочной железы и повреждение ткани поджелудочной железы. Иллюстративные повреждения ткани поджелудочной железы у пациентов с панкреатитом включают повреждения островков Лангерганса, ацинарных клеток, кровеносных сосудов поджелудочной железы, протоков поджелудочной железы, клеток протоков поджелудочной железы, экзокринных компонентов поджелудочной железы, эндокринных компонентов поджелудочной железы и/или других тканей поджелудочной железы. Повреждение поджелудочной железы может иметь микроскопическое или даже макроскопическое структурное проявление.

[00215] Как описано выше, панкреатит включает, например, острый панкреатит и хронический панкреатит, каждый из которых может быть вызван или связан с различными факторами и/или патофизиологией. Например, острый панкреатит может быть вызван обструкциями в ткани или органе, включая, помимо прочего, камни в желчном пузыре, микролитиаз (билиарный сладж), опухоли ампулярного отдела или поджелудочной железы, папиллярный стеноз, глисты или инородные тела, блокирующие ампулу, дисфункцию сфинктера Одди, холедохоцеле, дивертикулы двенадцатиперстной кишки и, возможно, разделенную поджелудочную железу. Острый панкреатит также может быть вызван токсинами, такими как алкоголь (этиловый спирт, метиловый спирт), яд скорпиона, фосфорорганические инсектициды и другие лекарственные средства. Кроме того, острый панкреатит может быть вызван травмой, например, случайной тупой травмой живота или ятрогенной травмой (например, послеоперационной травмой). Другие причины острого панкреатита могут включать метаболические нарушения, такие как гипертриглицеридемия и гиперкальциемия; наследственные состояния, такие как муковисцидоз и наследственный панкреатит; инфекционные заболевания, такие как паразитарные, вирусные, бактериальные инфекции; сосудистые заболевания, такие как ишемия (например, после операции на сердце), атеросклеротическая эмболия, васкулит (например, системная красная волчанка и узелковый полиартериит); другие смешанные или идиопатические причины, такие как язвенная болезнь, болезнь Крона, синдром Рея и переохлаждение. Из различных причин камни в желчном пузыре и алкоголь являются наиболее частыми причинами острого панкреатита. Предложенные в данном документе способы можно использовать для предотвращения, лечения, облегчения или контроля панкреатита, включая острый панкреатит, вызванный любой причиной или любой комбинацией причин, описанных в данном документе.

[00216] Точно так же хронический панкреатит может быть вызван или связан с различными факторами и/или патофизиологией, например, употреблением алкоголя или злоупотреблением алкоголем, аутоиммунными заболеваниями, метаболическими нарушениями (такими как гиперпаратиреоз (гиперкальциемия), сахарным диабетом или гипертриглицеридемией), факторами питания или тропическими факторами, обструкциями тканей или органов из-за стриктур (например, травм или предыдущих эпизодов панкреатита) или злокачественных новообразований, генетических заболеваний, включая наследственный панкреатит и муковисцидоз, и других идиопатических причин. Предложенные в данном документе способы можно использовать для предотвращения, лечения, облегчения или контроля панкреатита, включая острый панкреатит, вызванный любой причиной или любой комбинацией причин, описанных в данном документе.

[00217] Поскольку панкреатит может иметь различные причины, способы, предложенные в данном документе, могут использоваться для предотвращения, лечения, облегчения или контроля панкреатита, включая как острый, так и хронический панкреатит, который является результатом выборочной причины или выборочной группы причин. Аналогичным образом, способы, предложенные в данном документе, можно использовать для предотвращения, лечения, облегчения или контроля панкреатита, включая как острый, так и хронический панкреатит, который является результатом причин, исключающих какой-либо конкретный фактор или причину, или исключающих группу выборочных факторов или причин. Например, способы, предложенные в данном документе, можно использовать для предотвращения, лечения, облегчения или контроля панкреатита, включая как острый, так и хронический панкреатит, который не вызван или не связан с каким-либо злокачественным новообразованием или неопластическим заболеванием. В некоторых вариантах осуществления способы, предложенные в данном документе, могут использоваться для профилактики, лечения, облегчения или контроля панкреатита у пациентов, страдающих панкреатитом, у которых у пациентов нет или не развилось злокачественное новообразование, например, рак поджелудочной железы, или неопластическое заболевание, например, неопластическое заболевание поджелудочной железы.

[00218] Панкреатит можно измерить и наблюдать путем определения, измерения или наблюдения различных маркеров воспаления поджелудочной железы и повреждений поджелудочной железы. Такие маркеры могут включать гистологические маркеры, указывающие на гистологические изменения поджелудочной железы, серологический маркер, указывающий на аномалии в крови, сигнальные маркеры, указывающие на изменения в сигнальном пути, который лежит в основе патологического механизма панкреатита, или изменения сигнальных путей, фенотипические для патологии панкреатита, или физиологические маркеры, указывающие на физиологические признаки или изменения у пациентов с панкреатитом (например, легко наблюдаемые физиологические признаки без инвазивных процедур или анализа крови).

6.2.2.1. Серологические маркеры, связанные с мочой маркеры и фекальные маркеры панкреатита

[00219] Одно или более определенных веществ в крови или моче пациента с панкреатитом, соотношение уровня одного вещества по отношению к другому в крови или моче, совокупный уровень одного вида вещества (например, совокупный уровень определенного фермента) в крови или моче, или соотношение, включающее такой совокупный уровень, можно использовать в качестве биомаркеров панкреатита. Вещество, которое служит маркером, может представлять собой клетки, ткань, белок (например, ферменты), ДНК, РНК, микроРНК, липид, метаболит или любое другое вещество, которое может отражать воспаление или повреждение при панкреатите. Примеры таких маркеров серологического панкреатита включают уровень сывороточной липазы, уровень сывороточного CA19-9, уровень сывороточной амилазы (включая уровни амилазы, изоамилазы и общей амилазы), уровень сывороточного C-реактивного белка, углеводдефицитный трансферрин, продукты активации трипсиногена (в том числе, например, пептид активации трипсиногена, трипсин-1, трипсин-2, комплексы трипсина-1 или трипсина-2 с α-антитрипсином (также известный как трипсин-1-ААТ и трипсин-2-ААТ), эластазу-1, фосфолипазу А2, прокальцитонин (предшественник кальцитонина), липиды, воспалительные цитокины и хемокины, микроРНК, пептиды (RA1609 и RT2864, как описано в Walgren JL et al., Toxicol Sci. 2007 Mar;96(1):184-93), которая включена в данный документ посредством ссылки во всей полноте), алкоголь и метаболиты алкоголя (этиловые эфиры жирных кислот), а также токсины или метаболиты токсинов. Повышенный уровень любого из серологических маркеров или любой комбинации серологических маркеров, описанных в данном документе, можно использовать в способах, предложенных в данном документе.

[00220] Примеры отклонений от нормы в моче в качестве маркеров панкреатита могут включать амилазу, изоамилазу, пептид активации трипсингена, пептид активации карбоксипептидазы и фосфолипазу А2. Повышенный уровень любого из связанных с мочой маркеров можно использовать отдельно в способах, предложенных в данном документе, или в любой перестановке или комбинации с любыми маркерами, описанными в данном документе.

[00221] Кроме того, маркеры панкреатита также включают фекальные маркеры, включая фекальную эластазу 1, фекальный химотрипсин и содержание жира в фекалиях. Повышенный уровень любого из фекальных маркеров можно использовать отдельно в способах, предложенных в данном документе, или в любой перестановке или комбинации с любыми маркерами, описанными в данном документе.

[00222] Другие маркеры из других источников физиологической жидкости также могут использоваться в качестве маркеров панкреатита. В некоторых вариантах осуществления маркеры из панкреатического сока, включая CA19-9, катепсины B, катепсины L, катепсины S, лизосомальные гидролазы и пептид активации карбоксипептидазы B (CACAP), можно использовать в качестве маркеров панкреатита. Повышенный уровень любого из маркеров панкреатического сока можно использовать отдельно в способах, предложенных в данном документе, или в любой перестановке или комбинации с любыми маркерами, описанными в данном документе.

[00223] Как обсуждалось выше, одним из серологических маркеров является уровень сывороточной амилазы. Нормальный уровень сывороточной амилазы здорового человека может варьироваться в зависимости от способов, используемых для измерения амилазы, и лаборатории, которая проводит анализ. Доступен широкий спектр коммерческих наборов для измерения уровней амилазы в сыворотке, например, набор для анализа амилазы (колориметрический) (abl02523) от Abeam и набор для анализа активности амилазы (MAK009-1KT) от Sigma-Aldrich, Inc. Иллюстративный нормальный диапазон сывороточной амилазы у здорового человека составляет 23-85 Ед/л, хотя в некоторых лабораториях иллюстративный нормальный диапазон сывороточной амилазы может составлять 0-140 Ед/л. Различные уровни сывороточной амилазы могут использоваться как индикаторы панкреатита. В некоторых вариантах осуществления амилаза сыворотки на уровне ≥140 Ед/л, ≥150 Ед/л ,≥ 160 Ед/л, ≥170 Ед/л, ≥180 Ед/л, ≥190 Ед/л, ≥200 Ед/л, ≥210 Ед/л, ≥220 Ед/л, ≥230 Ед/л, ≥240 Ед/л, ≥250 Ед/л, ≥260 Ед/л, ≥270 Ед/л, ≥280 Ед/л, ≥290 Ед/л, ≥300 Ед/л, ≥350 Ед/л, ≥400 Ед/л, ≥450 Ед/л, ≥500 Ед/л, ≥600 Ед/л, ≥700 Ед/л, ≥800 Ед/л, ≥900 Ед/л, ≥ 1000 Ед/л, ≥1500 Ед/л, ≥2000 Ед/л, ≥3000 Ед/л, или выше может использоваться в качестве маркера в способах, предложенных в данном документе. В конкретном варианте осуществления сывороточная амилаза на уровне ≥200 Ед/л используется как маркер панкреатита. В другом варианте осуществления сывороточная амилаза на уровне ≥140 Ед/л используется в качестве маркера панкреатита.

[00224] Поскольку уровень сывороточной амилазы может варьироваться в зависимости от способов анализа и лаборатории, в которой проводится анализ, соотношение между сывороточной амилазой пациента с панкреатитом и здоровым контрольным субъектом можно использовать в качестве альтернативного маркера панкреатита. Например, соотношение между сывороточной амилазой пациента с панкреатитом и верхним пределом этого показателя у здорового контрольного субъекта можно использовать в качестве маркера в способах, предложенных в данном документе. В некоторых вариантах осуществления маркеры панкреатита включают иллюстративное соотношение амилазы (которое у пациента с панкреатитом превышает верхний предел здорового человека) ≥1, ≥1,5, ≥2, ≥2,5, ≥3, ≥3,5, ≥4, ≥4,5, ≥5, ≥6, ≥7, ≥8, ≥9, ≥10 или выше. В конкретном варианте осуществления соотношение ≥3 используется в качестве маркера панкреатита. В другом варианте осуществления соотношение ≥5 используется в качестве маркера панкреатита.

[00225] Как обсуждалось выше, еще одним серологическим маркером является уровень сывороточной липазы. Нормальный уровень сывороточной липазы здорового человека может варьироваться в зависимости способов, используемых для измерения липазы, и лаборатории, которая проводит анализ. Доступен широкий спектр коммерческих наборов для измерения уровней сывороточной липазы, например, набор для анализа активности липазы (колориметрический) (abl02524) от Abeam, набор для анализа липазы (DZ132A-K) от Diazyme Laboratories, Inc. и набор для анализа липазной активности (MAK046-1KT) от Sigma Aldrich, Inc. Иллюстративный нормальный диапазон сывороточной липазы у здорового человека составляет 12-70 Ед/л, хотя иллюстративный нормальной диапазон сывороточной липазы может достигать 0-160 Ед/л в некоторых лабораториях. Различные уровни липазы в сыворотке могут использоваться как индикаторы панкреатита. В некоторых вариантах осуществления сывороточная липаза на уровне ≥140 Ед/л, ≥150 Ед/л, ≥160 Ед/л, ≥170 Ед/л, ≥180 Ед/л, ≥190 Ед/л, ≥200 Ед/л, ≥210 Ед/л, ≥220 Ед/л, ≥230 Ед/л, ≥240 Ед/л, ≥250 Ед/л, ≥260 Ед/л, ≥270 Ед/л, ≥280 Ед/л, ≥290 Ед/л, ≥300 Ед/л, ≥350 Ед/л, ≥400 Ед/л, ≥450 Ед/л, ≥500 Ед/л, ≥600 Ед/л, ≥700 Ед/л, ≥800 Ед/л, ≥900 Ед/л, ≥1000 Ед/л, ≥1500 Ед/л, ≥2000 Ед/л, ≥3000 Ед/л, или выше может использоваться в качестве маркера в способах, предложенных в данном документе. В конкретном варианте осуществления сывороточная липаза на уровне ≥200 Ед/л используется в качестве маркера панкреатита. В другом варианте осуществления сывороточная липаза на уровне ≥140 Ед/л используется в качестве маркера панкреатита.

[00226] Поскольку уровень сывороточной липазы может варьироваться в зависимости от способов анализа и лаборатории, в которой проводится анализ, соотношение между сывороточной липазой пациента с панкреатитом и здоровым контрольным субъектом можно использовать в качестве альтернативного маркера панкреатита. Например, соотношение между сывороточной липазой пациента с панкреатитом и верхним пределом этого показателя у здорового контрольного субъекта можно использовать в качестве маркера в способах, предложенных в данном документе. В некоторых вариантах осуществления маркеры панкреатита включают иллюстративное соотношение липазы (которое у пациента с панкреатитом превышает верхний предел здорового человека) ≥1, ≥1,5, ≥2, ≥2,5, ≥3, ≥3,5, ≥4, ≥4,5, ≥5, ≥6, ≥7, ≥8, ≥9, ≥10 или выше. В конкретном варианте осуществления соотношение ≥3 используется в качестве маркера панкреатита. В другом варианте осуществления соотношение ≥5 используется в качестве маркера панкреатита.

[00227] Дополнительным серологическим маркером является уровень сывороточного CA19-9. Доступен широкий спектр коммерческих наборов для измерения уровней CA19-9 в сыворотке, например, набор CA19-9 Human ELISA Kit (каталожный номер EHCA199) от Thermo Fisher Scientific, набор Human CA-19-9 ELISA Test kit (артикул № 6909-16 ) от Diagnostic Automation/Cortez Diagnostics Inc., и набор Human Cancer Antigen CA19-9 ELISA Kit (abl08642) от Abeam. Сывороточный CA19-9 также обычно определяют с помощью радиоиммуноанализа CA 19-9, который известен рядовому специалисту в данной области техники.

[00228] Иллюстративный нормальный диапазон СА19-9 в сыворотке у здорового человека составляет 0-37 Ед/мл. Различные уровни сывороточного CA19-9 могут использоваться в качестве индикаторов панкреатита. В некоторых вариантах осуществления сывороточный CA19-9 на уровне ≥37 Ед/мл,>37 Ед/мл, ≥40 Ед/мл, ≥50 Ед/мл, ≥60 Ед/мл, ≥70 Ед/мл, ≥80 Ед/мл, ≥90 Ед/мл, ≥100 Ед/мл, ≥110 Ед/мл, ≥120 Ед/мл, ≥130 Ед/мл, ≥140 Ед/мл, ≥150 Ед/мл, ≥160 Ед/мл, ≥170 Ед/мл, ≥180 Ед/мл, ≥190 Ед/мл, ≥200 Ед/мл, ≥210 Ед/мл, ≥220 Ед/мл, ≥230 Ед/мл, ≥240 Ед/мл, ≥250 Ед/мл, ≥260 Ед/мл, ≥270 Ед/мл, ≥280 Ед/мл, ≥290 Ед/мл, ≥300 Ед/мл, ≥350 Ед/мл, ≥400 Ед/мл, ≥450 Ед/мл, ≥500 Ед/мл, ≥600 Ед/мл, ≥700 Ед/мл, ≥800 Ед/мл, ≥900 Ед/мл,≥ 1000 Ед/мл, или выше может использоваться в качестве маркера в способах, предложенных в данном документе. В конкретном варианте осуществления сывороточный CA19-9 на уровне более 37, но не более 40 Ед/мл используется в качестве маркера панкреатита. В еще одном варианте осуществления сывороточный CA19-9 на уровне более 40, но не более 100 Ед/мл используется в качестве маркера панкреатита. В еще одном варианте осуществления сывороточный CA19-9 на уровне более 100 Ед/мл используется в качестве маркера панкреатита.

[00229] Как известно специалисту в данной области техники, C-реактивный белок (СРБ; также известный как высокочувствительный C-реактивный белок (вч-СРБ) или сверхчувствительный C-реактивный белок (сч-СРБ)) представляет собой белок, содержащийся в плазме крови и вырабатываемый печенью в ответ на воспаление. Следовательно, СРБ можно использовать в качестве маркера панкреатита, который, как обсуждалось выше, относится к воспалению и повреждениям поджелудочной железы. Уровень СРБ может коррелировать с уровнем воспаления в организме. Соответственно, чем выше уровень СРБ, тем сильнее воспаление в организме. Нормальный диапазон СРБ в сыворотке крови у здорового субъекта-человека составляет менее 1 мг/л. Уровень СРБ в сыворотке крови от 1 до 2,9 мг/л может указывать на промежуточный уровень воспаления у субъекта-человека, уровень от 3 до 10 мг/л может указывать на высокий уровень воспаления у субъекта-человека и более 10 мг/л может указывать на серьезный уровень воспаления у субъекта-человека. В некоторых вариантах осуществления маркеры панкреатита в способах, предложенных в данном документе, включают иллюстративный уровень СРБ в сыворотке крови более 1, 2, 3, 4, 5, 6, 7, 8, 9, 10, 11, 12, 13, 14, 15, 16, 17, 18, 19 или 20 мг/л. Доступен широкий спектр коммерческих наборов для измерения уровней СРБ в сыворотке, например, C­Reactive Protein/CRP Quantikine ELISA Kit (кат. № DCRP00) от R&D Systems Inc., CRP (human) ELISA (ENZ-KIT102-0001) от Enzo Life Sciences, Inc., и Human C­ Reactive Protein ELISA Kit (RAB0096-1KT) от Sigma-Aldrich, Inc.

[00230] Специалист в данной области техники также поймет, что различные другие серологические маркеры или другие маркеры из физиологической жидкости можно использовать для идентификации терапевтических агентов, характеристики панкреатита, идентификации пациентов с панкреатитом и определения терапевтических эффектов от способа лечения панкреатита. Следовательно, специалисту в данной области техники будет понятно, что различные другие известные маркеры панкреатита можно использовать в способах, предложенных в данном документе. Такие маркеры панкреатита описаны в таких публикациях, например, в главах 37 и 38 «Острый панкреатит и хронический панкреатит» в GI/Liver Secrets Plus, 4th edition, edited by McNally PR, 2010; Matull WR et al., J Clin Pathol 2006;59:340-344; Basnayake C. et al., Aust Prescr 2015;38:128-30; Carroll JK et al., Am Fam Physician 2007;75:1513-20; Kaphalia BS, главе 16 в Публикации «Biomarkers in Toxicology», ISBN: 978-0-12-404630-6, (2014); Jasdanwala Set al., Integr Mol Med, 2015; 2(3): 189-195; Buchler MW et al., BMC Gastroenterology 2009, 9:93; Duggan SN et al., World J Gastroenterol 2016; 22(7): 2304-2313; Etemad Bet al., Gastroenterology 2001;120:682-707, все из которых полностью включены в данный документ посредством ссылки. Специалист в данной области техники дополнительно поймет, что любая перестановка или комбинация маркеров, описанных выше и ниже, могут быть использованы в способах, предложенных в данном документе.

[00231] Соответственно, изобретение предусматривает, что пациенты, подходящие для способов, включают пациентов с повышенным уровнем одного или более серологических маркеров, связанных с мочой маркеров и фекальных маркеров, включая перечисленные маркеры, как описано в абзацах с [00219] по [00230]. Более конкретно, способы, предложенные в данном документе, можно использовать у пациентов, имеющих один или более маркеров с перечисленными значениями, как описано в абзацах с [00219] по [00230].

[00232] В изобретении также предусмотрено, что способы, предложенные в данном документе, могут привести к улучшению терапевтических эффектов в отношении пациентов путем реверсирования или улучшения любого одного или более или любой комбинации этих связанных с панкреатитом серологических маркеров, связанных с мочой маркеров и фекальных маркеров, как описано в абзацах [00219] - [00230], например, снижение уровня сывороточной амилазы, снижение сывороточной липазы или снижение уровня сывороточного СРБ.

6.2.2.2. Гистологические маркеры

[00233] Как обсуждалось выше, маркеры, основанные на аномалиях в гистологии поджелудочной железы (например, от гистологического окрашивания или окрашивания ИГХ образцов ткани поджелудочной железы), также можно использовать в способах, предложенных в данном документе. Такие гистологические маркеры включают аномалии экспрессии одного или более белков в поджелудочной железе, наличие или аномальное количество определенного типа непанкреатических клеток (например, иммунных клеток, включая лейкоциты, макрофаги и нейтрофилы) в поджелудочной железе, аномальные изменения в поджелудочной железе, относительно количество или количество определенных клеток в поджелудочной железе и аномалии в структуре клеток поджелудочной железы или тканей поджелудочной железы (например, аномалии паренхимы поджелудочной железы, протоков поджелудочной железы, островков Лангерганса и ацинарных клеток/тканей). Структурные аномалии поджелудочной железы могут быть локализованы в определенных областях или структурах поджелудочной железы, таких как паренхима поджелудочной железы, протоки поджелудочной железы, островки Лангерганса, ацинарные клетки/ткани, экзокринный компонент поджелудочной железы, эндокринный компонент поджелудочной железы или кисты.

[00234] Примеры гистологических маркеров в поджелудочной железе, приведенные при гистологическом окрашивании или окрашивании ИГХ поджелудочной железы или тканей поджелудочной железы, включают паренхиматозный фиброз, атрофию ацинарной ткани, деформацию протока, внутрипротоковую кальцификацию, инвазию или инфильтрацию иммунных клеток (например, инвазию/инфильтрацию макрофагов, нейтрофилов, и лейкоцитов), отложение коллагена, фиброзную ткань, жировой некроз, интерстициальный отек, деструкцию ацинарных клеток, увеличение железы (отек), атипичный склероз, потеря паренхимы поджелудочной железы, разрушение кровеносных сосудов поджелудочной железы, интерстициальное кровотечение, расширение протоков, большие сливающиеся некротические очаги вокруг поджелудочной железы, очаговое кровотечение, некроз ацинарных клеток, гомогенизацию ацинарных клеток, уровни экспрессии sLea и уровни экспрессии CA19-9. Эти гистологические маркеры можно использовать для различных стадий острого или хронического панкреатита. Повышенный уровень любого из гистологических маркеров можно использовать отдельно в способах, предложенных в данном документе, или в любой перестановке или комбинации с любыми маркерами, как описано в данном документе.

[00235] В некоторых вариантах осуществления гистологические маркеры хронического панкреатита могут включать атипичный склероз поджелудочной железы, потерю экзокринной паренхимы поджелудочной железы. В других вариантах осуществления жировой некроз, увеличенная железа (отек), большие сливающиеся очаги жирового некроза вокруг поджелудочной железы, очаговое кровотечение и некроз ацинарных клеток можно использовать в качестве маркеров острого панкреатита.

[00236] Как хорошо известно специалисту в данной области техники, были разработаны различные гистологические или ИГХ анализы для гистологических маркеров, которые могут быть использованы в способах, предложенных в данном документе, например, в анализах, описанных в публикации Matull WR et al., J Clin Pathol 2006;59:340-344; Basnayake C. et al., Aust Prescr 2015;38:128-30; Carroll JK et al., Am Fam Physician 2007;75:1513-20; Kaphalia BS, в главе 16 публикации Biomarkers in Toxicology, ISBN: 978-0-12-404630-6, (2014); Jasdanwala Set al., Integr Mol Med, 2015; 2(3): 189-195; Buchler MW et al., BMC Gastroenterology 2009, 9:93; Duggan SN et al., World J Gastroenterol 2016; 22(7): 2304-2313; Etemad Bet al., Gastroenterology 2001;120:682- 707, все из которых полностью включены в данный документ посредством ссылки.

[00237] Поскольку при помощи способов визуализации часто измеряют гистологические структуры, специалист в данной области техники поймет, что гистологические маркеры часто коррелируют со структурными аномалиями, обнаруженными с помощью визуализации, которые могут использоваться в качестве маркеров воспаления поджелудочной железы и повреждения поджелудочной железы. Соответственно, маркеры, например, аномалии, обнаруженные с помощью различных способов визуализации, могут использоваться в качестве гистологических маркеров панкреатита в способах, предложенных в данном документе. Структуры поджелудочной железы можно визуализировать, как описано ниже в Разделах 6.2.2.2 и 6.3.2.2. Иллюстративные гистологические маркеры воспаления поджелудочной железы и поражения поджелудочной железы, обнаруженные при визуализации, включают атрофию поджелудочной железы, обструкцию желчных протоков или протоков поджелудочной железы (например, желчные камни), расширенный проток поджелудочной железы, кальциноз поджелудочной железы, стриктуры желчных протоков, паренхиматозные и протоковые рубцы в поджелудочной железе, стриктуры поджелудочной железы. проток поджелудочной железы или любое их сочетание.

[00238] В некоторых вариантах осуществления гистологические маркеры в способах, предложенных в данном документе, включают аномальную морфологию поджелудочной железы, показанную при помощи компьютерной томографии (КТ), которая отражает воспаление или повреждения, вызванные панкреатитом, или отражает осложнения, связанные с панкреатитом. Например, гистологические маркеры, наблюдаемые на КТ-изображениях, которые отражают панкреатит, включают кальцификаты поджелудочной железы, такие как кальцификаты внутри протоков поджелудочной железы или паренхимы, расширенные протоки поджелудочной железы, такие как основные протоки, и атрофию поджелудочной железы, такую как атрофия паренхимы поджелудочной железы. Гистологические маркеры, наблюдаемые при КТ-изображениях, которые отражают осложнения панкреатита, псевдокисты, расширенный общий желчный проток, тромбоз селезеночной вены, варикозное расширение вен желудка, псевдоаневризму, стеноз двенадцатиперстной кишки, злокачественные новообразования и любые их комбинации.

[00239] Точно так же гистологические маркеры в способах, предложенных в данном документе, включают аномальную морфологию поджелудочной железы, показанную при эндоскопической ретроградной холангиопанкреатографии (ЭРХПГ), которая отражает воспаление или повреждения, вызванные панкреатитом, или отражают осложнения, связанные с панкреатитом. Например, гистологические маркеры, наблюдаемые при визуализации с помощью ЭРХПГ, которые отражают панкреатит, включают расширение и нерегулярность меньших протоков и ветвей поджелудочной железы при панкреатите легкой степени, расширение и нерегулярность основных протоков поджелудочной железы при панкреатите средней степени, а также извитость, стриктуру, кальцификаты, и кисты поджелудочной железы при панкреатите тяжелой степени. В некоторых вариантах осуществления изобретения гистологические маркеры поджелудочной железы, обнаруженные при ЭРХПГ, включая количество патологий протоков, расширенных боковых ветвей, дефекты внутрипротокового наполнения и патологии протоков (таких как множественные области стеноза, дилатация, нерегулярный характер ветвления протоков и внутрипротоковые камни), могут использоваться в качестве маркеров панкреатита в способах, предложенных в данном документе.

[00240] В других вариантах осуществления гистологические маркеры в способах, предложенных в данном документе, включают аномалии поджелудочной железы, показанные при эндоскопической ультрасонографии (EUS), которые отражают воспаление или повреждения, вызванные панкреатитом, или отражают осложнения, связанные с панкреатитом. В некоторых конкретных вариантах осуществления гистологические маркеры, наблюдаемые в EUS, которые отражают панкреатит средней степени, включают нерегулярный характер ветвления и дилатацию основного протока поджелудочной железы легкой степени, гиперэхогенные края протока и гиперэхогенные тяжи в паренхиме поджелудочной железы. Гистологические маркеры, наблюдаемые при EUS, которые отражают панкреатит тяжелой степени, включают дольчатый контур поджелудочной железы и дилатацию главного протока поджелудочной железы. Другие маркеры панкреатита, наблюдаемые при EUS, включают те, которые описаны в критериях Rosemont, такие как гиперэхогенные очаги с тяжами, дольчатость в виде«пчелиных сот», гиперэхогенные очаги, дольчатость, кисты, гиперэхогенные тяжи, камни, неровный контур главного протока поджелудочной железы, гиперэхогенный край главного протока поджелудочной железы, или любую их комбинацию.

[00241] В дополнительных вариантах осуществления гистологические маркеры в способах, предложенных в данном документе, включают аномалии поджелудочной железы, показанные при магнитно-резонансной томографии, такой как магнитно-резонансная холангиопанкреатография (MRCP), которые отражают воспаление или повреждения, вызванные панкреатитом, или отражают осложнения, связанные с панкреатитом. Такие гистологические маркеры, наблюдаемые при MRCP поджелудочной железы, включают расширенные протоки, сообщающиеся псевдокисты, короткие стриктуры, камень поджелудочной железы или протока или любую их комбинацию.

[00242] Дополнительные гистологические маркеры, показанные в тесте на визуализацию, также включают маркеры, описанные в публикации Etemad Bet al., Gastroenterology 2001;120:682-707; Duggan, SN, et al., World J Gastroenterol 2016; 22(7): 2304-2313; и главах 37 и 38 «Острый панкреатит и хронический панкреатит», соответственно, в GI/Liver Secrets Plus, 4th edition, edited by McNally PR, 2010, все из которых включены в данный документ посредством ссылки. Один или более гистологических маркеров можно использовать по отдельности или в любой комбинации любого количества других маркеров, как описано в данном документе, для способа, как предложено в данном документе.

[00243] Соответственно, изобретение предусматривает, что пациенты, подходящие для способов, включают пациентов с любым уровнем одного или более гистологических включая перечисленные гистологические маркеры, как описано в абзацах с [00233] по [00242].

[00244] В изобретении дополнительно предусмотрено, что способы, предложенные в данном документе, могут улучшить терапевтический эффект для пациентов путем реверсирования или улучшения любого одного или более или любой комбинации этих гистологических маркеров панкреатита, как описано в абзацах [00233] - [00242].

6.2.2.3. Функциональные маркеры

[00245] Поскольку степень тяжести панкреатита может отражаться на функциональности поджелудочной железы, маркеры панкреатита также могут включать функциональные маркеры. Функциональные маркеры относятся к любым маркерам, которые прямо или обратно коррелируют с функцией поджелудочной железы. Как будет понятно специалисту в данной области техники, две из основных функций поджелудочной железы - экзокринная функция поджелудочной железы и эндокринная функция поджелудочной железы. Соответственно, в изобретении предусмотрено, что недостаточность экзокринной функции поджелудочной железы, недостаточность эндокринной функции поджелудочной железы или и то, и другое могут быть использованы в качестве маркеров панкреатита в способах, предложенных в данном документе. Как также известно специалисту в данной области техники, экзокринные секреты поджелудочной железы имеют высокое содержание бикарбоната. Следовательно, тест на стимуляцию секретина с введением холецистокинина (CCK), или без него можно использовать для прямого измерения функции поджелудочной железы путем мониторинга объема этих секретов поджелудочной железы и концентрации бикарбоната после инъекции секретина. В некоторых вариантах осуществления уровень бикарбоната менее 50 мэкв/л в тесте на стимуляцию секретином (с введением или без введения CCK) может быть маркером для пациентов с панкреатитом и использоваться в способах, предложенных в данном документе. В других вариантах осуществления уровень бикарбоната составляет менее 5 мэкв/л, 10 мэкв/л, 15 мэкв/л, 20 мэкв/л, 25 мэкв/л, 30 мэкв/л, 35 мэкв/л, 40 мэкв/л, 45 мэкв/л, 50 мэкв/л, 55 мэкв/л, 60 мэкв/л, 65 мэкв/л, 70 мэкв/л, 75 мэкв/л или 80 мэкв/л в тесте на стимуляцию секретином (с введением или без введения CCK) могут быть маркером для пациентов с панкреатитом и использоваться в предложенных в данном документе способах.

[00246] Альтернативно, функция поджелудочной железы может быть определена путем измерения ферментов поджелудочной железы в сыворотке и кале или любых метаболитов ферментов в сыворотке или моче после перорального введения соединения. Поскольку эти маркеры отражают уровень нарушения пищеварения поджелудочной железы, чем более запущено заболевание, тем более чувствительными могут быть маркеры для выявления или диагностики панкреатита. Такие функциональные маркеры, которые можно использовать в способах, предложенных в данном документе, включают сывороточный трипсиноген, где очень низкое значение (например, 20 нг/мл или меньше) у пациентов указывает на прогрессирующий хронический панкреатит и стеаторею, фекальный химотрипсин, где фекальный химотрипсин ниже 3 Ед/г в кале указывает на прогрессирующий хронический панкреатит, фекальную эластазу, где фекальная эластаза менее 100 мкг/г в кале указывает на тяжелую недостаточность поджелудочной железы, и фекальный жир, при котором фекальный жир более 7 г/ сут указывает на панкреатит, а фекальный жир более 20 г/сут указывает на тяжелый панкреатит. Другие иллюстративные значения функциональных маркеров панкреатита включают уровень трипсиногена в сыворотке менее 5, 10, 15, 20, 25, 30, 35 или 40 нг/мл; фекальный химотрипсин ниже 1, 2, 3, 4, 5, 6, 7, 8, 9 или 10 Ед/г кала; фекальную эластазу менее 10, 20, 30, 40, 50, 60, 70, 80, 90, 100, 110, 120, 130, 140 или 150 мкг/г кала; фекальный жир более 5, 6, 7, 8, 9, 10, 11, 12, 13, 14, 15, 16, 17, 18, 19, 20, 21, 22, 23, 24, 25, 26, 27, 28, 29 или 30 г/сут фекального жира; или любую их комбинацию.

[00247] Специалисту в данной области техники будет понятно, что любые функциональные маркеры, которые могут коррелировать с панкреатитом, включая описанные в данном документе, могут быть использованы в способах, предложенных в данном документе. Другие функциональные маркеры, которые можно использовать в способах, предложенных в данном документе, дополнительно включают маркеры, описанные в публикации John G Lieb II and Peter V Draganov, World J Gastroenterol. 2008 May 28; 14(20): 3149-3158; Clain JE, et al., Surg Clin North Am 1999;79:829-845; Couper R. Can J Gastroenterol 1997;11:153-156; Layer P, et al., J Clin Gastroenterol 1999;28:3-10; Toskes PP. Curr Gastroenterol Rep 1999; 1: 145-153; в главе 38 «Хронический панкреатит» в GI/Liver Secrets Plus, 4th edition, edited by McNally PR, 2010; все из которых включены в данный документ посредством ссылки. Один или более функциональных маркеров можно использовать по отдельности или в любой комбинации любого количества других маркеров, как описано в данном документе, для способа, как предложено в данном документе.

[00248] Соответственно, изобретение предусматривает, что пациенты, подходящие для способов, включают пациентов с любым уровнем одного или более функциональных маркеров включая перечисленные гистологические маркеры, как описано в абзацах с [00245] по [00247].

[00249] В изображении дополнительно предусматривается, что способы, предложенные в данном документе, могут улучшить терапевтический эффект для пациентов путем реверсирования или улучшения любого одного или более из этих функциональных маркеров панкреатита, как описано в абзацах [00245] - [00247]. В некоторых конкретных вариантах осуществления изобретение предусматривает, что способы, предложенные в данном документе, могут улучшить терапевтический эффект для пациентов за счет повышения уровня бикарбоната в тесте стимуляции секретина, повышения уровня сывороточного трипсиногена, повышения содержания фекального химотрипсина, повышения фекальной эластазы, уменьшения содержания фекального жира или любую их комбинацию.

6.2.2.4. Сигнальные маркеры

[00250] В изобретении указывается, что панкреатит коррелирует с уровнями CA19-9 и сиалил-Льюис a в поджелудочной железе, а повышенные CA19-9 и сиалил-Льюис a являются факторами основного механизма, вызывающего панкреатит.

[00251] Кроме того, в изобретении указано, что повышенный уровень СА19-9 в поджелудочной железе активирует сигнальный путь рецептора эпидермального фактора роста (РЭФР) в поджелудочной железе. Активация сигналинга РЭФР запускается лиганд-индуцированной димеризацией рецептора, после которой внутренний киназный домен одного рецептора перекрестно фосфорилирует определенные остатки в C-концевом хвосте рецептора-партнера, обеспечивая, таким образом, каркас для рекрутирования других белков в сигнальный путь РЭФР (эффекторные и адаптерные белки). Это происходит через домены Src-гомологии 2 (SH2) и фосфотирозин-связывающие (PTB) домены на эффекторных белках и фосфотирозиновый мотив, присутствующий во внутриклеточном домене тирозинкиназы РЭФР. Активированные адаптерные и эффекторные белки будут дополнительно стимулировать соответствующие им сигнальные каскады, которые включают ось сигнального пути RAS, RAF, MEK и ERK, ось сигнального пути фосфоинозитид-3-киназы (PI3K), ось белка фосфолипазы C гамма сигнального пути, и путь PKB/Akt киназы и сигнальный путь STAT, который приводит к разнообразным биологическим ответам, включая пролиферацию клеток, ангиогенез, миграцию, выживаемость и адгезию.

[00252] Соответственно, в изобретении предусмотрено, что маркеры панкреатита могут включать все индикаторы активированного сигнального пути РЭФР, включая изменения уровня экспрессии, локальные изменения, изменения партнеров по связыванию или любые биохимические или биофизические изменения (такие как фосфорилирование, убиквитилирование и конформационные изменения) для молекулы в сигнальном пути РЭФР. В некоторых вариантах осуществления маркерами панкреатита, подходящими для предложенных в данном документе способов, могут быть фосфорилирование Akt в поджелудочной железе, фосфорилирование РЭФР в поджелудочной железе, фосфорилирование Erkl/2 в поджелудочной железе, активация RAS (например, загрузка RAS GTP) в поджелудочной железе, фосфорилирование RAF в поджелудочной железе и фосфорилирование MEK в поджелудочной железе. Другие маркеры активированного сигнального пути РЭФР, подходящие для предложенных в данном документе способов, дополнительно описаны в Seshacharyulu, P et al., Expert Opin Ther Targets. 2012 Jan; 16(1): 15-31; Normanna Net al., Gene. 2006 Jan l 7;366(1):2-16; Oda Ket al., Mol Syst Biol. 2005; 1: 2005.0010; Lurje Get al., Oncology. 2009;77(6):400-10; Yarden, Yet al., 2007; 131(5): 1018-1018, все из которых в данный документ посредством ссылки.

[00253] Кроме того, поскольку изобретение предусматривает, что панкреатит коррелирует с уровнями CA19-9 в поджелудочной железе и что повышенный CA19-9 является фактором основного механизма, вызывающего панкреатит, специалист в данной области техники поймет, что CA19-9 и любые другие сигнальные маркеры при панкреатите, которые могут быть индуцированы в ответ на повышенные уровни CA19-9, могут использоваться в качестве маркеров в способах, предложенных в данном документе. Кроме того, CA19-9 можно использовать либо отдельно, либо в комбинации с любыми маркерами, описанными выше и ниже в способах, предложенных в данном документе.

[00254] Соответственно, изобретение предусматривает, что пациенты, подходящие для применения в способах, включают пациентов, имеющих один или более сигнальных маркеров, включая перечисленные сигнальные маркеры, как описано в абзацах [00250] - [00253]. Изобретение также предусматривает, что способы, предложенные в данном документе, могут улучшить терапевтический эффект для пациентов путем реверсирования или улучшения любого одного или более из этих сигнальных маркеров панкреатита, как описано в абзацах [00250] - [00253].

6.2.2.5. Физиологический маркер

[00255] Поскольку панкреатит может влиять на физиологию и вызывать другие наблюдаемые симптомы у субъекта, любые маркеры, которые отражают физиологические симптомы пациента с панкреатитом, могут быть использованы в способах, предложенных в данном документе. Такие физиологические маркеры включают потерю массы, боль, такую как боль в животе, мальабсорбцию, атрофию поджелудочной железы, увеличение поджелудочной железы, воспаление поджелудочной железы и рефлюкс желчи. Такие физиологические маркеры можно непосредственно наблюдать или определять на основе описания симптоматических ощущений пациента. Соответственно, в изобретении предусмотрено, что пациенты, подходящие для этих способов, включают пациентов, имеющих один или более из этих физиологических маркеров, и способы, предложенные в данном документе, могут улучшить терапевтический результат для пациентов путем реверсирования или улучшения в любом одном или более из этих сигнальных маркеров панкреатита.

[00256] В определенных вариантах осуществления можно использовать любые 1, 2, 3, 4, 5, 6, 7, 8, 9, 10, 15, 20, 25, 30, 35, 40, 45, 50 или более маркеров, описанных в данном документе, в любой перестановке или комбинации в способах, предложенных в данном документе. В других вариантах осуществления любое количество маркеров, предложенных в данном документе, можно использовать в любой перестановке или комбинации с анализами, выбором популяций пациентов (например, с использованием любого одного или более маркеров в качестве критериев отбора пациентов), схемами применения (например, увеличение или снижение дозы на основе улучшения или ухудшения одного или более маркеров), терапевтических результатов (например, оценка улучшения одного или более маркеров) и/или терапевтических агентов (например, применение одного или более маркеров для подтверждения функционального свойства терапевтических агентов) в способах, предложенных в данном документе.

6.2.3 Схемы применения, фармацевтические композиции и способы введения

[00257] В одном варианте осуществления в способах, предложенных в данном документе, используется фармацевтическая композиция, содержащая терапевтический агент, который можно вводить системно для предотвращения, лечения, облегчения или контроля панкреатита. Такое введение может быть парентерально или чрескожно, например, перорально, буккально, назально, сублингвально, подслизисто или чрескожно. В некоторых вариантах осуществления введение является парентеральным, например, посредством внутривенной или внутрибрюшинной инъекции, внутриартериального, внутримышечного введения, внутрикожного введения и подкожного введения.

[00258] Для других путей введения, таких как использование перфузата, инъекция в орган или другое местное введение, будет предложена фармацевтическая композиция, которая приводит к аналогичным уровням терапевтического агента, как описано ниже.

[00259] Предлагаемые в данном документе фармацевтические композиции терапевтического агента могут содержать терапевтически эффективное количество терапевтического агента и фармацевтически приемлемый носитель. В конкретном варианте осуществления термин «фармацевтически приемлемый» обозначает одобренный регуляторным ведомством Федерального правительства или правительством штата, или приведенный в Фармакопее США или другой общепризнанной иностранной фармакопее для применения для животных, а более конкретно для человека. Термин «носитель» относится к разбавителю, адъюванту, эксципиенту или носителю, с которым вводят терапевтическое средство. Такие фармацевтические носители могут быть стерильными жидкостями, такими как солевые растворы в воде и маслах, включая растворы нефтяного, животного, растительного или синтетического происхождения, такие как арахисовое масло, соевое масло, минеральное масло, кунжутное масло и т.п. Солевой раствор может быть носителем при внутривенном введении фармацевтической композиции. Солевые растворы и водные растворы декстрозы и глицерина также можно использовать в качестве жидких носителей, в частности, для растворов для инъекций. Подходящие фармацевтические наполнители включают крахмал, глюкозу, лактозу, сахарозу, желатин, солод, рис, муку, мел, силикагель, стеарат натрия, моностеарат глицерин, тальк, хлорид натрия, сухое обезжиренное молоко, глицерин, пропиленгликоль воду, этанол и т. п. Композиция также может содержать незначительные количества смачивающих или эмульгирующих агентов или буферных агентов pH. Данные композиции могут находиться в форме растворов, суспензий, эмульсий, таблеток, пилюль, капсул, порошков, составов с замедленным высвобождением и т. п. Композицию можно готовить в виде суппозитория с традиционными связующими агентами и носителями, такими как триглицериды. Предложенные в данном документе терапевтические агенты могут быть составлены в нейтральных или солевых формах. Фармацевтически приемлемые соли включают соли, образованные со свободными аминогруппами, такими как соляная, фосфорная, уксусная, щавелевая, винная кислота и т.д., и соли, образованные со свободными карбоксильными группами, такими как группы, полученные из натрия, калия, аммония, кальция, железа гидроксиды, изопропиламин, триэтиламин, 2-этиламиноэтанол, гистидин, прокаин и т.д. Примеры подходящих фармацевтических носителей описаны в "Remington's Pharmaceutical Sciences" EW Martin, которая полностью включена в данный документ посредством ссылки. Такие композиции будут содержать терапевтически эффективное количество терапевтического агента, например, в очищенной или неочищенной форме, вместе с подходящим количеством носителя, чтобы обеспечить форму для соответствующего введения пациенту. Специалисту в данной области техники известно, что состав может быть выбран в соответствии со способом введения.

[00260] В данном документе также представлены составы для увеличения трансмукозной адсорбции терапевтического агента, такого как пептид. Фармацевтические композиции, адаптированные для перорального введения, могут быть представлены в виде капсул или таблеток; в виде порошков или гранул; в виде растворов, сиропов или суспензий (в водных или неводных жидкостях); в виде съедобной пены или взбитых сливок; или в виде эмульсий. Таблетки или твердые желатиновые капсулы могут содержать лактозу, крахмал или их производные, стеарат магния, сахарин натрия, целлюлозу, карбонат магния, стеариновую кислоту или их соли. Мягкие желатиновые капсулы могут содержать растительные масла, воски, жиры, полутвердые или жидкие полиолы и т.д. Растворы и сиропы могут содержать воду, полиолы и сахара.

[00261] Терапевтический агент, предназначенный для перорального введения, может быть покрыт или смешан с материалом, который задерживает распад и/или абсорбцию активного агента в желудочно-кишечном тракте (например, можно использовать моностеарат глицерина или дистеарат глицерина). Таким образом, замедленное высвобождение активного агента может быть достигнуто в течение многих часов, и, если необходимо, активный агент может быть защищен от деградации в желудке. Фармацевтические композиции для перорального введения могут быть составлены для облегчения высвобождения активного агента в конкретном месте желудочно-кишечного тракта из-за определенного pH или ферментативных условий.

[00262] Фармацевтические композиции, адаптированные для трансдермального введения, могут быть предложены в виде отдельных пластырей, предназначенных для сохранения тесного контакта с эпидермисом реципиента в течение длительного периода времени. Фармацевтические композиции, адаптированные для местного введения, могут быть представлены в виде мазей, кремов, суспензий, лосьонов, порошков, растворов, паст, гелей, спреев, аэрозолей или масел. Для местного нанесения на кожу, рот, глаза или другие внешние ткани можно использовать мазь или крем для местного применения. В составе мази активный ингредиент можно использовать либо с парафиновой, либо с смешивающейся с водой мазевой основой. Альтернативно, активный ингредиент может быть приготовлен в виде крема на основе масла в воде или воды в масле. Фармацевтические композиции, адаптированные для местного введения в глаза, включают глазные капли. В этих композициях активный ингредиент может быть растворен или суспендирован в подходящем носителе, например, в водном растворителе.

[00263] Фармацевтические композиции, адаптированные для парентерального введения, включают водные и неводные стерильные растворы или суспензии для инъекций, которые могут содержать антиоксиданты, буферы, бактериостатики и/или растворенные вещества, которые делают композиции практически изотоничными с кровью предполагаемого реципиента. Другие компоненты, которые могут присутствовать в таких композициях, включают, например, воду, спирты, полиолы, глицерин и растительные масла. Композиции, адаптированные для парентерального введения, могут быть представлены в контейнерах с единичной дозой или с несколькими дозами, например в запечатанных ампулах и флаконах, и могут храниться в высушенное сублимацией (лиофилизированном) состоянии, требующих только добавления стерильного жидкого носителя, например, стерильного физиологического раствора для инъекций, непосредственно перед применением. Инъекционные растворы и суспензии для немедленного применения могут быть приготовлены из стерильных порошков, гранул и таблеток. В одном варианте осуществления, автоинъектор, содержащий раствор терапевтического агента для инъекций, может быть предоставлен для экстренного использования в машинах скорой помощи, в отделениях неотложной помощи и даже для самостоятельного введения в домашних условиях, например, находящимся дома пациентом с панкреатитом.

[00264] В одном варианте осуществления композиция составлена в соответствии с обычными процедурами в виде фармацевтической композиции, адаптированной для внутривенного введения человеку. Как правило, композиции для внутривенного введения представляют собой растворы в стерильном изотоническом водном буфере. Когда существуют необходимости, композиция может также содержать солюбилизирующее средство и местный анестетик, такой как лидокаин, для облегчения боли в месте инъекции. Обычно ингредиенты в единичную дозированную форму вводятся по отдельности или смешанными вместе, например в виде сухого лиофилизированного порошка или безводного - концентрата в герметически ­ закрытом контейнере, таком как ампула или саше, с указанием количества действующего вещества. Когда предполагается введение композиции путем инфузии, ее можно наливать в бутылку для инфузий, содержащую воду или солевой раствор фармацевтического качества. Когда композицию вводят путем инъекции, то может прилагаться ампула со стерильным солевым раствором, чтобы ингредиенты можно было смешивать перед введением.

[00265] Суппозитории, как правило, содержат активный ингредиент в диапазоне от 0,5% до 10% по массе; пероральные составы могут содержать от 10% до 95% активного ингредиента.

[00266] В изобретении также предложен фармацевтический комплект или набор, содержащий один или более контейнеров, заполненных одним или более ингредиентами фармацевтических композиций одного или более терапевтических агентов, предложенных в данном документе. Необязательно, могут предоставляться связанная с таким контейром(-ами) информация в форме, предписанной правительственным органом, регулирующим производство, применение или продажу фармацевтических препаратов или биологических продуктов, которое отражает утверждение данным органом производства, применения или продажи для введения человеку.

[00267] В еще одном варианте осуществления, например, терапевтический агент может быть доставлен в системе с контролируемым высвобождением. Например, терапевтический агент можно вводить с использованием внутривенной инфузии, имплантируемого осмотического насоса, трансдермального пластыря, липосом или других способов введения. В одном варианте осуществления можно использовать насос (см. Langer, Science 249:1527-1533 (1990); Sefton, 1987, CRC Crit. Ref Biomed. Eng. 14:201; Buchwald et al., 1980, Surgery 88:507; Saudek et al., 1989, N. Engl. J. Med. 321:574, каждый из которых полностью включен в данный документ посредством ссылки). В еще одном варианте осуществления терапевтический агент может доставляться в везикуле, например, липосоме (см. Langer, Science 249:1527-1533 (1990); Treat et al., в Липосомах в публикации Therapy oflnfectious Disease and Cancer, Lopez-Berestein and Fidler (eds.), Liss, New York, pp. 353-365 (1989); WO 91/04014; патенте США № 4704355; Lopez-Berestein, ibid, pp. 317-327). В еще одном варианте осуществления изобретения могут использоваться полимерные материалы (см. Medical Applications of Controlled Release, Langer and Wise (eds.), CRC Press: Boca Raton, Florida, 1974; Controlled Drug Bioavailability, Drug Product Design and Performance, Smolen and Ball (eds.), Wiley: New York (1984); Ranger and Peppas, J. Macromol. Sci. Rev. Macromol. Chem. 23:61, 1953; см. также Levy et al., 1985, Science 228:190; During et al., 1989, Ann. Neurol. 25:351; Howard et al., 1989, J. Neurosurg. 71:105, все из которых полностью включены в данный документ посредством ссылки.

[00268] В еще одном варианте осуществления система с контролируемым высвобождением может быть размещена в непосредственной близости от терапевтической мишени, то есть клеток-мишеней, ткани или органа, что делает необходимым только часть системной дозы (см., например, Goodson, pp. 115-138 в Medical Applications of Controlled Release, vol. 2, 1984, которая полностью включена в данный документ посредством ссылки). Другие системы с контролируемым высвобождением обсуждаются в обзоре Langer (1990, Science 249: 1527-1533, который полностью включен в данный документ посредством ссылки).

[00269] В еще одном варианте осуществления терапевтический агент, составленный надлежащим образом, можно применять путем назального, буккального, перорального, ректального, глазного, трансдермального, парентерального, ингаляционного или сублингвального введения.

[00270] В конкретном варианте осуществления может быть желательно вводить терапевтический агент, предложенный в данном документе, локально в область, нуждающуюся в лечении; это может быть достигнуто, например, а не в качестве ограничения, с помощью местной инфузии во время операции, местного применения, например, путем инъекции, с помощью катетера, с помощью суппозитория или с помощью имплантата, при этом указанный имплантат может быть из пористого, непористого или гелеобразного материала, включая мембраны, такие как силикатные мембраны или волокна. Неограничивающий пример такого варианта осуществления включает стент или другой каркас, покрытый предложенным в данном документе терапевтическим агентом, который имплантируется в часть сосудистой сети, протока и т.д.

[00271] Выбор эффективной дозы будет легко определен квалифицированным специалистом на основе рассмотрения нескольких факторов, которые известны специалисту в данной области техники. Такие факторы включают конкретную форму терапевтического агента и его фармакокинетические параметры, такие как биодоступность, метаболизм, период полужизни и т.д., которые устанавливаются во время обычных процедур разработки, как правило, используемых для получения разрешения регулирующих органов на терапевтический агент. Дополнительные факторы при рассмотрении дозы включают состояние или стадию заболевания, подлежащего лечению, или пользу, которая должна быть достигнута у нормального человека, массу тела пациента, способ введения, является ли введение однократным или длительным, сопутствующие лекарственные препараты и другие факторы, которые, как хорошо известно, влияют на эффективность вводимых фармацевтических агентов.

[00272] Хотя предполагаемый реципиент терапевтического агента для целей настоящего описания является человеком, способы, описанные в данном документе, в равной степени применимы к другим млекопитающим, особенно домашним животным, домашнему скоту, домашним животным и животным из зоопарков. Однако способы, предложенные в данном документе, не являются ограничивающими, и преимущества могут быть применены к любому млекопитающему. В дополнительных аспектах способов, предложенных в данном документе, любой терапевтический агент, описанный в Разделе 6.2.1, можно использовать в любой комбинации или перестановке с составом, предложенным в данном документе.

[00273] В определенных вариантах осуществления изобретение относится к фармацевтической композиции в стандартной лекарственной форме, адаптированной для способов, предложенных в данном документе, которая содержит количество терапевтического агента в диапазоне от около 0,1 пг до 30 мг, от 0,5 пг до 25 мг, от 1 пг до 20 мг, от 500 пг до 10 мг, от 1 нг до 10 мг, от 500 нг до 10 мг, от 1 мкг до 10 мг, от 500 мкг до 10 мг, от 1 мг до 5 мг или от 1 мг до 10 мг терапевтического агента, и фармацевтически приемлемый носитель. В одном варианте осуществления количество терапевтического агента находится в диапазоне от около 0,5 пг до 1 мг.

[00274] Пациентам можно вводить ряд доз, как это предусмотрено в способах, предложенных в данном документе, в зависимости от типа и степени тяжести заболевания. В одном варианте осуществления пациенту вводят дозу от около 1 до 12 мг терапевтического агента. В определенных вариантах осуществления доза находится в диапазоне от около 2 мг до около 12 мг, от около 2 мг до около 11 мг, от около 3 мг до около 10 мг, от около 4 мг до около 9 мг, от около 5 мг до около 8 мг, или от около 6 мг до около 7 мг. В определенных вариантах осуществления доза составляет от около 2 мг до около 8 мг. В определенных вариантах осуществления доза составляет около 1 мг, около 2 мг, около 3 мг, около 4 мг, около 5 мг, около 6 мг, около 7 мг, около 8 мг, около 9 мг, около 10 мг, около 11 мг или около 12 мг. В определенных вариантах осуществления доза составляет 4 мг.

[00275] Доза, в которой терапевтический агент вводится пациентам, может зависеть от массы тела пациента. В одном таком варианте осуществления дозу от около 0,1 мкг/кг до около 120 мкг/кг массы тела терапевтического агента вводят пациенту. В определенных вариантах осуществления доза находится в диапазоне от около 0,4 мкг/кг до около 110 мкг/кг, от около 0,5 мкг/кг до около 100 мкг/кг, от около 1 мкг/кг до около 95 мкг/кг, от около 5 мкг/кг до около 90 мкг/кг, от около 10 мкг/кг до около 85 мкг/кг, от около 15 мкг/кг до около 80 мкг/кг, от около 20 мкг/кг до около 75 мкг/кг, от около 25 мкг/кг до около 70 мкг/кг, от около 30 мкг/кг до около 65 мкг/кг, от около 35 мкг/кг до около 60 мкг/кг или от около 40 мкг/кг до около 50 мкг/кг массы тела. В определенных вариантах осуществления доза терапевтического агента находится в диапазоне от около 0,2 мкг/кг до около 120 мкг/кг массы тела. В определенных вариантах осуществления доза находится в диапазоне от около 1 мкг/кг до около 60 мкг/кг, от около 10 мкг/кг до около 30 мкг/кг, от около 20 мкг/кг до около 50 мкг/кг или около 30 мкг/кг до около 60 мкг/кг. В определенных вариантах осуществления доза составляет около 1 мкг/кг, около 2 мкг/кг, около 3 мкг/кг, около 4 мкг/кг, около 5 мкг/кг, около 6 мкг/кг, около 7 мкг/кг, около 8 мкг/кг, около 9 мкг/кг, около 10 мкг/кг, около 11 мкг/кг, около 12 мкг/кг, около 13 мкг/кг, около 14 мкг/кг, около 15 мкг/кг, около 16 мкг/кг, около 17 мкг/кг, около 18 мкг/кг, около 19 мкг/кг, около 20 мкг/кг, около 21 мкг/кг, около 22 мкг/кг, около 23 мкг/кг, около 24 мкг/кг, около 25 мкг/кг, около 26 мкг/кг, около 27 мкг/кг, около 28 мкг/кг, около 29 мкг/кг, около 30 мкг/кг. В некоторых вариантах осуществления доза составляет менее около 80 мкг/кг, менее около 50 мкг/кг, менее около 30 мкг/кг, менее около 20 мкг/кг, менее около 15 мкг/кг, или менее около 10 мкг/кг. В определенных вариантах осуществления доза составляет 10 мкг/кг. В определенных вариантах осуществления доза составляет 30 мкг/кг. В других вариантах осуществления терапевтический агент, предложенный в данном документе, можно вводить системно в дозировке от около 1 нг до около 300 мкг/кг массы тела, около 5-150 мкг/кг массы тела или около 10-100 мкг/кг массы тела на одно введение.

[00276] В других вариантах осуществления способов, предложенных в данном документе, терапевтический агент вводят в диапазоне доз от около 0,1 мг/кг/доза до около 10 мг/кг/доза. В некоторых вариантах осуществления терапевтический агент вводят в дозе около 0,1 мг/кг/доза, около 0,2 мг/кг/доза, около 0,3 мг/кг/доза, около 0,4 мг/кг/доза, около 0,5 мг/кг/доза, около 0,6 мг/кг/доза, около 0,7 мг/кг/доза, или около 0,8 мг/кг/доза, около 0,9 мг/кг/доза, около1 мг/кг/доза, около 2 мг/кг/доза, около 3 мг/кг/доза, около 4 мг/кг/доза, около 5 мг/кг/доза, около 6 мг/кг/доза, около 7 мг/кг/доза, или около 8 мг/кг/доза, около 9 мг/кг/доза, около 10 мг/кг/доза или выше.

[00277] В определенных вариантах осуществления терапевтические агенты для применения в настоящих способах можно вводить в профилактически эффективном количестве. Профилактически эффективное количество относится к количеству терапевтического агента, достаточному для предотвращения панкреатита и/или повреждения, эффектов или симптомов, возникающих в результате панкреатита. Используемое в комбинации с количеством терапевтического агента, профилактически эффективное количество может включать количество, которое улучшает общую профилактику или усиливает профилактическую эффективность в предотвращении панкреатита или обеспечивает синергетический эффект с другим профилактическим агентом, который может предотвратить панкреатит.

[00278] Кроме того, терапевтические агенты в способах, предложенных в данном документе, можно вводить через равные интервалы времени. В некоторых таких вариантах осуществления терапевтические агенты вводят ежедневно, через день, один раз в неделю, один раз в 10 дней, один раз в две недели, один раз в три недели, один раз в четыре недели, один раз в шесть недель или один раз в восемь недель. В других вариантах осуществления введение терапевтических агентов можно повторять ежечасно, ежедневно, до тех пор, пока это клинически необходимо, или после соответствующего интервала, например, каждые 1-12 часов, каждые 6-12 часов; каждые 2-6 дней, каждые 2-4 дня; каждые 1-12 недель, каждые 1-3 недели. В дополнительных вариантах осуществления терапевтические агенты вводят один раз в месяц (ежемесячно), один раз в два месяца (раз в два месяца), один раз в три месяца, один раз в четыре месяца, один раз в пять месяцев или один раз в шесть месяцев.

[00279] В некоторых вариантах осуществления предложенные в данном документе терапевтические агенты в способах вводят в течение от около 1 недели до около 48 недель. В определенных вариантах осуществления предложенные в данном документе терапевтические агенты в способах в данном документе, вводят в течение от около 1 недели до около 44 недель; от около 1 недели до около 40 недель, от около 1 недели до около 36 недель; от около 1 недели до около 32 недель; от около 1 недели до около 28 недель; от около 1 недели до около 24 недель; от около 1 недели до около 20 недель; от около 1 недели до около 16 недель; или от около 1 недели до около 12 недель. В других вариантах осуществления предложенные в данном документе терапевтические агенты в способах вводят в течение от около 1 недели до около 48 недель; от около 4 недель до около 44 недель; от около 8 недель до около 40 недель; от около 12 недель до около 36 недель; от около 16 недель до около 32 недель; или от около 20 недель до около 28 недель. В некоторых вариантах осуществления предложенные в данном документе терапевтические агенты в способах вводят в течение от около 1 недели до около 24 недель; от около 2 недель до около 24 недель; от около 4 недель до около 24 недель; от около 6 недель до около 24 недель; от около 8 недель до около 24 недель; от около 10 недель до около 24 недель; от около 12 недель до около 24 недель; от около 14 недель до около 24 недель; от около 16 недель до около 24 недель; от около 18 недель до около 24 недель; от около 20 недель до около 24 недель; или от около 22 недель до около 24 недель.

[00280] В некоторых конкретных вариантах осуществления предложенные в данном документе терапевтические агенты в способах можно использовать для длительного введения. В некоторых вариантах осуществления введение может длиться до тех пор, пока у пациента есть панкреатит.

[00281] В других вариантах осуществления эффективное количество терапевтического агента и фармацевтически приемлемого носителя может быть упаковано во флакон с однократной дозой или другой контейнер. В дополнительных вариантах осуществления терапевтические агенты, которые способны проявлять описанные в данном документе активности, используются в течение длительного времени для борьбы с хроническим панкреатитом.

[00282] Как хорошо известно специалисту в данной области техники, составы, пути введения и дозы терапевтических белков, включая терапевтические антитела и терапевтический полипептид, могут быть разными. Различные составы, пути введения и дозы, специфичные для терапевтических белков, включая их антитела и терапевтический полипептид, хорошо известны в данной области техники. Иллюстративные составы, пути введения и дозы терапевтических антител описаны в WO2015112886 и WO2017019957; иллюстративные составы, пути введения и дозы терапевтических полипептидов описаны в WO 2007019545, WO 2009094172 и WO2015009820, которые полностью включены в данный документ посредством ссылки.

6.3 Анализы для тестирования терапевтических агентов

[00283] Различные анализы могут использоваться для определения активности и эффективности терапевтических агентов, описанных в Разделе 6.2.1, для использования в терапевтических способах, предложенных в данном документе. В данном документе также предложены анализы для различных маркеров. Изобретение также предусматривает, что активность, полезность и эффективность различных терапевтических агентов, как описано в Разделе 6.2.1, могут быть проанализированы в соответствии с биомаркерами или терапевтическим эффектом для пациента, как описано в Разделе 6.2.2. Кроме того, специалист в данной области техники поймет, что пригодность различных терапевтических агентов в способах, предложенных в данном документе, может быть подтверждена с помощью различных анализов панкреатита in vitro и in vivo , известных в данной области техники или предложенных в данном документе.

6.3.1 Анализы связывания

[00284] Можно использовать различные стандартные анализы для легкого определения связывания между терапевтическим агентом и CA19-9 или сиалил-Льюис a или между любыми двумя молекулами (например, между двумя белками) в способах, предложенных в данном документе. Примеры рутинных анализов связывания включают иммуногистохимический анализ, иммуноферментный анализ (EIA) или ИФА, анализ методом проточной цитометрии, анализ методом иммуноблоттинга, анализ методом поверхностного плазмонного резонанса (ППР), анализ методом коиммунопреципитации, хроматографию или анализ смещения геля, изотермическую титрационную калориметрию, различные анализы флуоресценции (такие как спектроскопия корреляции флуоресценции и флуоресцентная поляризация/анизотропия), конкурентно-связывающий анализ, равновесный диализ, анализ методом резонансного переноса энергии флуоресценции (FRET) и любые другие анализы для исследования связывания между двумя молекулами, известные специалисту в данной области техники. Подробности этих стандартных анализов описаны ниже и в Wu, Ge. Chapter 5, General Protein Binding Assay Formats, in Assay Development: Fundamentals and Practices, Online ISBN: 9780470583128; Print ISBN: 9780470191156 (2010); Wan H et al., Journal of Liquid Chromatography & Related Technologies, (2007) 30: 681-700, обе из которых включены в данный документ посредством ссылки.

[00285] Как хорошо известно специалисту в данной области техники, иммуногистохимический анализ используется для определения взаимодействия между терапевтическим агентом (например, белком, таким как антитело) и мишенью в клетке или ткани. В примере ИГХ анализа, в ИГХ анализе определяется связывание белка (такого как антитело) с молекулой-мишенью в клетках или тканях in situ, как правило, с использованием хромогенных или флуоресцентных сигналов, хорошо известных в данной области техники, в качестве итоговых показателей. В некоторых вариантах осуществления образец ткани приводят в контакт с белком (таким как первичное антитело), предназначенным для связывания конкретной мишени, в течение периода времени, достаточного для того, чтобы произошло связывание белка с мишенью. Связанный белок (например, связанное первичное антитело) может быть обнаружен с помощью прямых меток на самих белках, например, радиоактивных меток, флуоресцентных меток, гаптеновых меток, таких как биотин, или фермента, такого как пероксидаза хрена или щелочная фосфатаза. В качестве альтернативы немеченый белок (например, немеченое первичное антитело) используется вместе с меченым вторичным антителом, содержащим антисыворотку, поликлональную антисыворотку или моноклональное антитело, специфичное к белку (такое как первичное антитело). Таким образом, можно применять меченное ферментом вторичное антитело, которое специфически распознает белок (например, распознает изотип первичного антитела). Вторичное антитело реагирует с белком, связанным с образцом (например, с первичным антителом, связанным с образцом), с последующим развитием сигнала и/или детектированием. Антитела для обнаружения второго слоя могут быть помечены ферментом, таким как пероксидаза, который реагирует с хромогеном 3,3'-диаминобензидином (DAB) с образованием коричневого осадка в области реакции. Конечный сигнал от меток на вторичном антителе, такой как хромогенный сигнал, флуоресценция и радиоактивность, можно использовать для определения уровня, силы и специфичности связывания между белком (например, первичным антителом) с мишенью в клетке или ткани. Автоматизированные системы для ИГХ процессинга коммерчески доступны и позволяют рутинное выполнение анализа в формате от умеренной до высокой производительности. Система Leica BOND Autostainer и Leica Bond Refine Detection являются примером такой автоматизированной системы.

[00286] Альтернативно, для определения связывания между двумя белками, такими как терапевтический агент и CA19-9, стандартно можно использовать иммуноферментный анализ (EIA) или ИФА. В данной области техники известны анализы как на основе EIA, так и на основе ИФА. Доступен широкий диапазон форматов анализа на основе ИФА, см., например, патенты США №№ 4016043, 4424279 и 4018653, которые полностью включены в данный документ посредством ссылки. К ним относятся как одностадийные, так и двустадийные или сэндвич-анализы неконкурентных типов, а также традиционные анализы конкурентного связывания. Эти анализы также включают прямое связывание меченого антитела с целевым белком. Сэндвич-анализы также являются широко используемыми анализами. Доступен ряд вариаций анализа методом ИФА. Например, для проверки связывания между белком X и белком Y, белок X можно иммобилизовать на твердом субстрате, а белок Y или образец, содержащий белок Y, можно привести в контакт с иммобилизованным белком X. После подходящего периода инкубации, в течение периода времени, достаточного для образования связывающего комплекса белка X и белка Y, затем добавляют второе антитело, специфическое к белку Y, меченное репортерной молекулой, способной производить детектируемый сигнал, и инкубируют в течение времени, достаточного для образования другого комплекса белка X, белка Y и меченого вторичного антитела. Любой непрореагировавший материал отмывается, и связывание между белком X и белком Y определяется путем наблюдения сигнала, производимого репортерной молекулой. Результаты могут быть качественными, путем простого наблюдения за видимым сигналом, или могут быть количественно оценены путем определения уровней связывания в серии возрастающих концентраций или белка X, или белка Y и подбора кривых связывания, как известно специалисту в данной области техники.

[00287] В некоторых вариантах осуществления анализов на основе EIA или ИФА фермент конъюгирован со вторым антителом. В других вариантах осуществления флуоресцентно меченные вторичные антитела могут использоваться вместо меченных ферментом вторичных антител для получения детектируемого сигнала в формате анализа на основе ИФА. При активации путем освещения светом определенной длины волны меченное флуорохромом антитело адсорбирует световую энергию, вызывая возбужденное состояние в молекуле с последующим излучением света характерного цвета, определяемого детекторным оборудованием. Как и в EIA и ИФА, флуоресцентно меченному антителу позволяют связываться с комплексом, образованным парой тестируемых связывающих белков. После отмывки несвязавшегося реагента оставшийся третичный комплекс затем подвергается воздействию света с подходящей длиной волны, и при соответствующем контроле, известном специалисту в данной области техники, наблюдаемая флуоресценция указывает уровень, силу и специфичность связывания. Методы иммунофлуоресценции и EIA очень хорошо известны в данной области техники и описаны в данном документе. Как хорошо известно специалисту в данной области техники, выполнение анализов на основе EIA или ИФА для проверки связывания между двумя молекулами является рутинным, и рутинным является адаптация таких анализов для формата с высокой пропускной способностью.

[00288] Точно так же иммуноблоттинг можно использовать для определения связывания между двумя белками, такими как терапевтический агент и CA19-9. Подробности анализов методом иммуноблоттинга описаны в Разделе 6.3.2.5. В одном варианте осуществления CA19-9 может находиться на мембране, и связывание терапевтического антитела с CA19-9 можно определить с помощью любых анализов методом иммуноблоттинга, описанных в Разделе 6.3.2.5.

[00289] Кроме того, анализ методом проточной цитометрии можно использовать для определения связывания между двумя белками, такими как терапевтический агент и CA19-9. Подробности анализов методом проточной цитометрии были дополнительно описаны в Разделе 6.3.2.5. В одном варианте осуществления клетка, которая обычно не экспрессирует CA19-9, может быть сконструирована для экспрессии одного или нескольких CA19-9 и связывания между терапевтическим агентом (таким как терапевтическое антитело, терапевтический белок или терапевтический пептид) и CA19-9 можно определить в любых анализах методом проточной цитометрии, описанных в Разделе 6.3.2.5, путем измерения увеличения связывания терапевтических агентов с клетками, экспрессирующими CA19-9, по сравнению с контрольными клетками, не экспрессирующими CA19-9.

[00290] Связывание терапевтического агента с CA19-9 также можно определить в анализе методом иммунопреципитации, анализе методом соосаждения или анализе методом коиммунопреципитации. В анализе методом иммунопреципитации антитело (например, терапевтическое антитело) против конкретного целевого белка (такого как CA19-9) образует иммунный комплекс с этой мишенью в образце, таком как клеточный лизат. Затем иммунный комплекс захватывается или осаждается на подложке из гранул, на которой иммобилизован связывающий антитело белок (такой как белок A или G), и любые белки, не осажденные на гранулах, отмываются. Наконец, целевой белок (и антитело, если оно не связано ковалентно с гранулами и/или при использовании денатурирующих буферов) элюируется с носителя и анализируется различными способами, такими как масс-спектрометрия (с ферментным расщеплением или без него) или электрофорезом в полиакриламидном геле с додецилсульфатом натрия (ДСН-ПААГ-электрофорез) (часто в комбинации с вестерн-блоттингом).

[00291] Коиммунопреципитация представляет собой расширение иммунопреципитации, основанное на потенциале реакций иммунопреципитации для захвата и очистки первичной мишени (такой как CA19-9), а также других макромолекул, которые связаны с первичной мишенью посредством взаимодействий в растворе образца. Например, если белок X может связываться с белком Y, иммунопреципитация белка X, как описано выше, вызовет коиммунопреципитацию некоторого белка Y, потому что белок Y связан с белком X. Белок Y может быть элюирован из иммунопреципитированного комплекса и проанализирован с помощью различных методов, таких как масс-спектрометрия (с ферментативным расщеплением или без него) или электрофорез в полиакриламидном геле с додецилсульфатом натрия (ДСН-ПААГ-электрофорез) (часто в комбинации с вестерн-блоттингом). Таким образом, можно определить связывание между белком X и белком Y. Анализ методом соосаждения выполняется по существу в соответствии с тем же принципом и форматом, что и анализ методом иммунопреципитации или коиммунопреципитации, за исключением того, что в анализе методом соосаждения не используются антитела. Например, глутатион-агарозные гранулы можно использовать для осаждения слитого с GST белка X. Белок Y, связанный с белком X, можно идентифицировать вместе с белком X в осаждающем веществе различными способами, например, при иммунопреципитации и таком соосаждении белка X и белка Y указывают на то, что два белка могут взаимодействовать.

[00292] В анализе методом иммунопреципитации, анализе методом коиммунопреципитации или анализе методом соосаждения партнер по связыванию осажденного целевого белка также может быть обнаружен или определен с помощью масс-спектрометрии (включая комбинацию жидкостной хроматографии и масс-спектрометрии, ЖХ-МС) для идентификации тысяч партнеров по связыванию в одном анализе. Например, если CA19-9 является целевым белком, осаждаемым в любом из предложенных в данном документе анализов методом осаждения, любые и все взаимодействующие партнеры, связанные с CA19-9, могут быть элюированы и подвергнуты масс-спектрометрии (включая ЖХ-МС) для идентификации. Таким образом, если CA19-9 приводили в контакт с библиотекой молекул, все молекулы из библиотеки, которые могут связываться с CA19-9, могут быть идентифицированы все сразу в одном анализе. Как хорошо известно специалисту в данной области техники, как правило, проводят анализ методом иммунопреципитации, анализ совместной иммунопреципитации или анализ совместной преципитации для проверки связывания между двумя молекулами и рутинную процедуру адаптации таких анализов для формата с высокой пропускной способностью.

[00293] Кроме того, связывание терапевтического агента и CA19-9 также можно определить с помощью анализа методом поверхностного плазмонного резонанса (ППР). В анализах методом ППР целевые молекулы, чаще всего белки, иммобилизуются на подготовленной поверхности золотого сенсора, и образец, содержащий потенциального взаимодействующего партнера в растворе, вводится по поверхности через ряд проточных кювет. В процессе взаимодействия поляризованный свет направляется к поверхности датчика, и определяется угол отраженного света минимальной интенсивности. Этот угол изменяется по мере связывания и диссоциации молекул, и, таким образом, профиль взаимодействия записывается в реальном времени в виде сенсограммы. В примере такого анализа методом ППР для связывания между сиалил-Льюис a и терапевтическим антителом, меченный биотином одновалентный sLea (кат. № 02-044) или поливалентный sLea-PAA-биотин (кат. № 01-044) может быть связан с отдельными проточными кюветами с биосенсорным чипом SPA в соответствии с инструкциями производителя. Проточная кювета, заблокированная HSA, и культуральная среда, содержащая свободный биотин, используется в качестве контрольной кюветы. Кинетические параметры связывания можно определить по нескольким известным концентрациям антитела, разведенного в буфере HBS-EP (10 ммоль/л HEPES, pH 7,4, 150 ммоль/л NaCl, 3,4 ммоль/л ЭДТА, 0,005% поверхностно-активного вещества P20) с использованием проточной ячейки, покрытой sLea-PAA-биотином. Программное обеспечение для построения кривой, поставляемое с прибором Biacore, затем используется для получения скоростей ассоциации и диссоциации, на основании которых рассчитывается аффинность. Доступна коммерческая система анализа методом ППР, такая как Biacore 3000 (GE Healthcare). Примеры реализованных анализов методом ППР описаны в патенте США 9475874. Как хорошо известно специалистам в данной области техники, обычно проводят анализ методом ППР для проверки связывания между двумя молекулами.

[00294] Кроме того, для измерения взаимодействий между терапевтическим агентом и CA19-9 (или сиалил-Льюис a), как правило, используют хроматографию или анализы смещения геля, как описано в Hellman LM et al., Nat Protoc. 2007; 2(8): 1849-1861; Mallik R et al., J Chromatogr A 2010 Apr 23; 1217(17): 2796-2803; Koeplinger KA et al., Analytical Biochemistry (1996) 243(1): 66-73; Chan Jet al., Mol Cell Proteomics. 2012 Jul; 11(7): Ml 11.016642. Bloustine J, et al., Biophys J. 2003 Oct; 85(4): 2619-2623, все из которых полностью включены в данный документ посредством ссылки. Также обычно используют изотермическую титрационную калориметрию для измерения взаимодействий между терапевтическим агентом и CA19-9 (или сиалил-Льюис a), как описано в Freyer MW et al., Methods Cell Biol. 2008; 84: 79-113, все из которых полностью включены в данный документ посредством ссылки.

[00295] Кроме того, для измерения взаимодействий между терапевтическим агентом и CA19-9 (или сиалил-Льюис a), как правило, используются флуоресцентные анализы (такие как флуоресцентная корреляционная спектроскопия и флуоресцентная поляризация/анизотропия), как описано в Langowski J, Methods Cell Biol. 2008;85:471-84; Lagerkvist AC et al., Protein Science (2001), 10:1522-1528; Melo AM, et al., Quantifying Lipid-Protein Interaction by Fluorescence Correlation Spectroscopy (FCS). In: Engelborghs Y., Visser A (eds) Fluorescence Spectroscopy and Microscopy. Methods in Molecular Biology (Methods and Protocols), vol 1076. Humana Press, Totowa, NJ; Hall MD et al., Methods and Applications in Fluorescence, 2016; volume 4, number 2, 022001; Gijsbers A et al., J Vis Exp. 2016 Oct 21;(116); James NG et al., Methods Mol Biol. 2014;1076:29-42; Jameson DM et al., Methods Mol Biol. 2005;305:301-22, все они включены в данный документ посредством ссылки.

[00296] Специалист в данной области техники может также использовать рутинные анализы конкурентного связывания для измерения взаимодействий между терапевтическим агентом и CA19-9 (или сиалил-Льюис a), как описано в Hu Let al., Anal Chem. 2013 May 21;85(10):5071-7; Crolla LJ et al., Clinical Chemistry, Chapter 3, pp 57-68, ACS Symposium Series, Vol. 36, ISBN13: 9780841203457; Schmidt KJ et al., Laboratory Medicine, October 1972 page 42-45, все из которых полностью включены в данный документ посредством ссылки.

[00297] Аналогичным образом, также обычно используют метод резонансного переноса энергии флуоресценции (FRET) для измерения взаимодействий между терапевтическим агентом и CA19-9 (или сиалил-Льюис a), как описано в Margineanu A et al, Sci Rep. 2016 Jun 24;6:28186; Vercruysse T et al., RNA Biology, 8:2, 316-324; Du Yet al., Assay Drug Dev Technol. 2013 Jul; 11(6): 367-381, все из которых включены в данный документ посредством ссылки. В том же духе обычным делом является применение метода резонансного переноса энергии биолюминесценции (BRET) для измерения взаимодействий между терапевтическим агентом и CA19-9 (или сиалил-Льюис a) в способах, предложенных в данном документе, как описано в Cui B, et al., MBio , 5 (3), е01050-14; Dimri Set al., Methods Mol Biol. 2016; 1443: 57-78; Мягкий JG и др., Mol Biotechnol (2018). pp 1-11, все из которых полностью включены в данный документ посредством ссылки.

[00298] Другие доступные хорошо известные рутинные анализы связывания описаны в Ligand - Binding Assays: Development, Validation, and Implementation in the Drug Development Arena, Edited by Khan MN and Findlay JW, ISBN:9780470041383; Golemis E Protein­ protein interactions: A molecular cloning manual. Cold Spring Harbor (NY): Cold Spring Harbor Laboratory Press. p ix, 682. (2002); Phizicky EM, et al., Protein-protein interactions: Methods for detection and analysis. Microbiol Rev (1995) 59: 94-123, все из которых полностью включены в данный документ посредством ссылки.

6.3.2 Анализы терапевтической активности в отношении панкреатита

[00299] Как описано выше, основной причиной панкреатита является воспаление поджелудочной железы и повреждение поджелудочной железы. Следовательно, анализы, полезные для оценки эффективности способов, предложенных в данном документе, для предотвращения, лечения, облегчения или контроля панкреатита, могут включать использование одной или более стадий способов, предложенных в данном документе, например, введение с помощью различных схем введения терапевтического агента, предложенного в данном документе, в систему анализа, определение одного или более показаний системы анализа и сравнение показаний между группой, получающей терапевтический агент, и контрольной (получающей плацебо) группой (или эталонным диапазоном). Изменения в показаниях используются для определения активности терапевтического агента в отношении предотвращения, лечения, облегчения или контроля панкреатита.

[00300] Как описано в Разделе 6.2.2, панкреатит можно определить и наблюдать путем определения, измерения или наблюдения за различными индикаторами и/или маркерами. Следовательно, в системах анализа, описанных в этом Разделе, могут использовать одно или более показаний на основе одного или более маркеров, как описано выше в Разделе 6.2.2 «Биомаркеры».

6.3.2.1. Иммуногистохимические (ИГХ) анализы или анализы методом гистологической окраски для панкреатита

[00301] Как описано в Разделе 6.2.2, маркеры панкреатита включают аномалии в гистологии поджелудочной железы (например, по гистологическому окрашиванию или ИГХ окрашиванию образцов ткани поджелудочной железы). Такие гистологические маркеры включают аномалии экспрессии одного или более белков в поджелудочной железе, наличие или аномальное количество определенного типа непанкреатических клеток (например, иммунных клеток, включая лейкоциты, макрофаги и нейтрофилы) в поджелудочной железе, аномальные изменения в поджелудочной железе, относительное количество или количество определенных клеток в поджелудочной железе и аномалии в структуре клеток поджелудочной железы или тканей поджелудочной железы (например, аномалии паренхимы поджелудочной железы, протоков поджелудочной железы, островков Лангерганса и ацинарных клеток/тканей). Таким образом, анализы, полезные для оценки эффективности предложенных в данном документе способов предотвращения, лечения, облегчения или контроля панкреатита, включают анализы методом гистопатологического окрашивания и/или ИГХ анализы для обнаружения таких аномалий в гистологии поджелудочной железы.

[00302] В некоторых вариантах осуществления анализа в способах, предложенных в данном документе, терапевтический агент вводят в соответствии со способами, предложенными в данном документе, в модельную систему анализа, как обсуждается дополнительно ниже в Разделе 6.3.3, и один или более гистологических маркеров определяются с помощью анализов как описано в этом Разделе. Терапевтические агенты, которые реверсируют аномалии гистологических маркеров при панкреатите или изменяют гистологические маркеры к нормальному эталонному уровню или уровня у здорового контрольного субъекта, могут использоваться в способах, предложенных в данном документе.

[00303] Как хорошо известно специалисту в данной области техники, выполнение ИГХ анализа для определения любого из гистологических маркеров панкреатита является рутинным. Для ИГХ анализов, методы ИГХ, в которых используются антитело для зондирования и визуализации клеточных антигенов in situ, как правило, хромогенными или флуоресцентными методами, хорошо известны в данной области техники. Первичные антитела или антисыворотки, такие как поликлональные антисыворотки и моноклональные антитела, которые специфически связываются с белком-мишенью, можно использовать для определения уровней мишени в ИГХ анализе. В некоторых вариантах осуществления образец ткани приводят в контакт с первичным антителом к конкретной мишени в течение периода времени, достаточного для того, чтобы произошло связывание антитела с мишенью. Антитела могут быть обнаружены с помощью прямых меток на самих антителах, например, радиоактивных меток, флуоресцентных меток, гаптеновых меток, таких как биотин, или фермента, такого как пероксидаза хрена или щелочная фосфатаза.Альтернативно, немеченое первичное антитело используется вместе с меченым вторичным антителом, таким как антисыворотка, поликлональная антисыворотка или моноклональное антитело, специфичное для первичного антитела. Затем можно применить меченное ферментом вторичное антитело, которое специфически распознает изотип первичного антитела (второй слой). Вторичное антитело реагирует с первичным антителом и может сопровождаться проявлением сигнала детекции, такого как нанесение субстрата-хромогена. Антитела второго слоя могут быть помечены ферментом, таким как пероксидаза, который реагирует с хромогеном 3,3'-диаминобензидином (DAB) с образованием коричневого осадка в месте реакции. Этот способ является чувствительным и универсальным из-за возможности усиления сигнала за счет применения системы усиления сигнала. Протоколы и наборы для ИГХ хорошо известны в данной области техники и коммерчески доступны. Автоматизированные системы для подготовки препаратов и ИГХ процессинга доступны в продаже. Система Leica BOND Autostainer и Leica Bond Refine Detection являются примером такой автоматизированной системы.

[00304] В предлагаемых в данном документе анализах также можно использовать рутинное гистопатологическое окрашивание с использованием молекул, отличных от антител, для визуализации гистологических структур поджелудочной железы и обнаружения аномалий в гистологии поджелудочной железы. При гистопатологическом окрашивании один или более красителей используются для мечения клеток, тканей, нуклеиновых кислот, белков, липидов и/или других клеточных или тканевых компонентов, чтобы помочь в микроскопическом исследовании гистологических препаратов поджелудочной железы. Типичная процедура гистопатологического окрашивания включает фиксацию, процессинг, заливку, получение срезов, окрашивание, промывку/проявление, как описано в Alturkistani et al., Histological Stains: A Literature Review and Case Study, Glob J Health Sci., (March 2016), 8(3): 72-79, или коммерчески доступны от Leica Biosystems (например, Infinity Stain Kit System от Leica). Примером гистопатологического окрашивания является окрашивание гематоксилином и эозином (H&E), которое обычно используется со всеми образцами тканей для выявления подлежащих тканевых структур и патологических состояний. Как ясно для специалиста в данной области техники, гистопатологическое окрашивание и ИГХ можно комбинировать в различных перестановках и комбинациях для анализов, предусмотренных данным изобретением.

[00305] Соответственно, в некоторых вариантах осуществления анализа для терапевтических агентов или способов, предложенных в данном документе, терапевтический агент вводят в соответствии со способами, предложенными в данном документе, в модельную систему анализа, как обсуждается дополнительно ниже в Разделе 6.3.3, и аномалии в поджелудочной железе определяется гистопатологическим и/или ИГХ окрашиванием, как описано в этом Разделе. В способах, предложенных в данном документе, можно использовать терапевтические агенты, которые уменьшают, изменяют или реверсируют аномалии в гистологии поджелудочной железы к нормальной эталонной гистологии поджелудочной железы или здоровому контрольному субъекту.

6.3.2.2. Анализы на панкреатит с помощью визуализации

[00306] Как обсуждалось выше, маркеры панкреатита также можно обнаружить с помощью анализов на основе визуализации. Аномалии в структурах поджелудочной железы могут быть визуализированы, например, с помощью ультразвука (такого как EUS), компьютерной томографии, эндоскопической ретроградной холангиопанкреатографии (ЭРХПГ) и магнитно-резонансной томографии (такой как MRCP), с контрастным усилением или без него, что хорошо известно специалисту в данной области техники. Иллюстративные маркеры панкреатита, обнаруженные при визуализации, были описаны выше в Разделе 6.2.2.2. Следовательно, в некоторых вариантах осуществления анализов активности терапевтических агентов, предложенных в данном документе, терапевтические агенты вводятся в соответствии со способами, предложенными в данном документе, в модельную систему анализа, как дополнительно обсуждается ниже в Разделе 6.3.3, и определяются аномалии в поджелудочной железе с помощью анализов на основе визуализации, как описано в этом Разделе. Терапевтические агенты, которые уменьшают, улучшают, изменяют или реверсируют аномалии в маркерах панкреатита (описанные в Разделах 6.2.2 и 6.2.1), обнаруженные с помощью анализов на основе визуализации, к нормальному эталонному диапазону маркеров или уровня у здорового контрольного субъекта, могут использоваться в способах, предложенных в данном документе.

[00307] Как хорошо известно специалисту в данной области техники, выполнение анализа на основе визуализации для определения любого из маркеров панкреатита, предложенных в данном документе, является рутинным. Подробные протоколы анализов на основе визуализации хорошо известны специалисту в данной области и описаны в Etemad Bet al., Gastroenterology 2001;120:682-707; Duggan, SN, et al., World J Gastroenterol 2016; 22(7): 2304-2313; и главах 37 и 38 «Острый панкреатит» и «Хронический панкреатит», соответственно, в публикации GI/Liver Secrets Plus, 4th edition, edited by McNally PR, 2010; Sai JK et al, World J Gastroenterol 2008 February 28; 14(8): 1218-1221; Banks PA et al., Gut 2013;62:102-111; Iglesias-Garia Jet a., Gut 2006;55:1661- 1684, все из которых включены в данный документ посредством ссылки.

6.3.2.3. Анализы на панкреатит на основе серологических маркеров

[00308] Серологические, связанные с мочой и фекальные маркеры, представленные в Разделе 6.2.2.1, могут быть обнаружены с помощью биохимических анализов, таких как иммунологический анализ, который хорошо известен специалисту в данной области техники. Формат таких анализов может включать анализ на основе ИФА, тест-полоску, анализ методом проточной цитометрии на основе гранул, анализ методом вестерн-блоттинга, хроматографический анализ (например, FPLC и HPLC), спектроскопический анализ, колориметрический анализ и масс-спектрометрию.

[00309] В некоторых вариантах осуществления анализа в способах, предложенных в данном документе, терапевтический агент вводят в соответствии со способами, предложенными в данном документе, в модельную систему анализа, как обсуждается дополнительно ниже в Разделе 6.3.3, и один или более серологических маркеров определяются с помощью анализов как описано в этом Разделе. В способах, предложенных в данном документе, могут быть использованы терапевтические агенты, которые реверсируют аномалии в серологических маркерах при панкреатите или изменяют уровень серологических маркеров к нормальному эталонному диапазону или к уровню здорового контрольного субъекта.

[00310] Сывороточная амилаза, липаза, СРБ и другие маркеры, представленные в Разделе 6.2.2.1, могут быть обнаружены с помощью иммуноанализов, таких как иммуноферментный анализ (EIA) или ИФА. Оба анализа на основе EIA и ИФА известны в данной области техники, например, для анализа широкого спектра тканей и образцов, включая кровь, мочу, сыворотку или ткани поджелудочной железы. Доступен широкий спектр форматов анализа на основе ИФА, см., например, патент США №№ 4016043, 4424279 и 4018653, которые полностью включены в данный документ посредством ссылки. К ним относятся как одностадийные, так и двустадийные или сэндвич-анализы неконкурентных типов, а также традиционные анализы конкурентного связывания. Эти анализы также включают прямое связывание меченого антитела с целевым белком. Как правило, используются сэндвич-анализы. Существует ряд вариаций методики сэндвич-анализа. Например, в иллюстративном прямом анализе немеченое антитело иммобилизуют на твердом субстрате, а тестируемый образец приводят в контакт с иммобилизованным антителом. После подходящего периода инкубации, в течение периода времени, достаточного для образования комплекса антитело-антиген, затем добавляют второе специфическое к антигену антитело, меченное репортерной молекулой, способной генерировать детектируемый сигнал, и инкубируют, давая время достаточное для образования другого комплекса антитело-антиген-меченое антитело. Любой непрореагировавший материал отмывают, а присутствие антигена определяют путем наблюдения сигнала, генерируемого репортерной молекулой.Результаты могут быть качественными, путем простого наблюдения за видимым сигналом, или могут быть количественно оценены путем сравнения с контрольным образцом, содержащим известные количества целевого белка.

[00311] В некоторых вариантах осуществления анализов на основе EIA или ИФА фермент конъюгирован со вторым антителом. В других вариантах осуществления флуоресцентно меченные вторичные антитела могут использоваться вместо меченных ферментом вторичных антител для получения детектируемого сигнала в формате анализа на основе ИФА. При активации путем освещения светом определенной длины волны меченное флуорохромом антитело адсорбирует световую энергию, вызывая возбужденное состояние в молекуле с последующим излучением света характерного цвета, определяемого детекторным оборудованием. Как и в EIA и ИФА, флуоресцентно меченному антителу позволяют связываться с первым комплексом антитело-целевой белок. После отмывки несвязавшегося реагента оставшийся третичный комплекс затем подвергается воздействию света соответствующей длины волны, и наблюдаемая флуоресценция указывает на присутствие или количество представляющего интерес целевого белка.Методы иммунофлуоресценции и EIA очень хорошо известны в данной области техники и описаны в данном документе.

[00312] В одном варианте осуществления в анализе, предложенном в данном документе, используется метод количественного иммуноферментного анализа сэндвич-типа. Моноклональное антитело, специфичное для маркера панкреатита, предложенного в данном документе, предварительно наносят на микропланшет. Стандарты и образцы (например, образцы крови или сыворотки) вносятся пипеткой в лунки, и любой присутствующий маркер связывается иммобилизованным антителом. После промывки любых несвязавшихся веществ в лунки добавляют специфичные для маркера поликлональные антитела, связанные с ферментом. После промывки для удаления любого несвязавшегося реагента антитело-фермент в лунки добавляется раствор субстрата, и цвет развивается пропорционально количеству маркера, связанного на начальной стадии, что коррелирует с уровнем маркера в образце (например, в крови или образцы сыворотки). Проявление цвета прекращается и измеряется интенсивность окраски. Измерения используются в качестве показателя для уровня маркера в образце (например, в образцах крови или сыворотки).

[00313] Как хорошо известно специалисту в данной области техники, выполнение анализа на основе EIA или ИФА для определения любого из маркеров панкреатита, предложенных в данном документе, является рутинным. Примеры коммерческих анализов для измерения сывороточной амилазы, сывороточной липазы, СРБ и других маркеров панкреатита представлены в Разделе 6.2.2.1. Соответственно, в некоторых вариантах осуществления анализа в способах, предложенных в данном документе, терапевтический агент вводят в соответствии со способами, предложенными в данном документе, в модельную систему анализа, как обсуждается дополнительно ниже в Разделе 6.3.3, и уровни серологического маркера, такого как амилаза, липаза или СРБ определяется с помощью анализов, как описано в этом Разделе. Терапевтические агенты, которые снижают уровень маркера или изменяют уровень маркера к нормального эталонному диапазону или уровню у здорового контрольного субъекта, можно использовать в способах, предложенных в данном документе.

[00314] В некоторых вариантах осуществления способы, предложенные в данном документе, можно использовать с некоторыми конкретными анализами амилазы, липазы и СРБ, которые хорошо известны специалисту в данной области техники. Примеры таких специфических анализов на амилазу, липазу, СРБ и другие серологические маркеры описаны в главе 16 «Биомаркеры острого и хронического панкреатита» Kaphalia BS в Biomarkers in Toxicology, edited by Gupta R. ISBN: 978-0-12-404630-6 (2014); Sutton PA, et al., Ann R Coll Surg Engl 2009; 91: 381-384; Matull WR, et al., J Clin Pathol 2006;59:340-344; Basnayake C et al., Aust Prescr 2015;38:128-30; и Jasdanwala Set al., Integr Mol Med, 2015; 2(3): 189-195, все из которых включены в данный документ посредством ссылки.

6.3.2.4. Анализы функции поджелудочной железы

[00315] В некоторых вариантах осуществления анализа в способах, предложенных в данном документе, терапевтический агент вводится в соответствии со способами, предложенными в данном документе, в модельную систему анализа, как обсуждается дополнительно ниже в Разделе 6.3.3, а функцию поджелудочной железы определяют с помощью анализов, как описано в этой секции. Терапевтические агенты, которые восстанавливают функцию поджелудочной железы или изменяют уровень функции поджелудочной железы к нормальному эталонному диапазону или уровню у здорового контрольного субъекта, могут использоваться в способах, предложенных в данном документе. Различные подробные протоколы для анализа функции поджелудочной железы хорошо известны специалисту в данной области техники, и процедуры их выполнения, как описано, например, в John G Lieb II and Peter V Draganov, World J Gastroenterol. 2008 May 28; 14(20): 3149-3158; Clain JE, et al., Surg Clin North Am 1999;79:829-845; Couper R. Can J Gastroenterol 1997;11:153-156; Layer P, et al., J Clin Gastroenterol 1999;28:3-10; Toskes PP. Curr Gastroenterol Rep 1999;1:145-153; главе 38 «Хронический панкреатит» в GI/Liver Secrets Plus, 4th edition, edited by McNally PR, 2010; все из которых включены в данный документ посредством ссылки.

6.3.2.5. Анализы сигнальных маркеров

[00316] В некоторых вариантах осуществления анализа в способах, предложенных в данном документе, терапевтический агент вводят в соответствии со способами, предложенными в данном документе, в модельную систему анализа, как обсуждается дополнительно ниже в Разделе 6.3.3, и один или более сигнальных маркеров определяются с помощью анализов как описано в этом Разделе. Терапевтические агенты, которые снижают уровень сигнальных маркеров или изменяют уровень сигнальных маркеров в сторону нормального эталонного диапазона или уровня у здорового контрольного субъекта, могут использоваться в способах, предложенных в данном документе. Сигнальные маркеры, которые можно использовать в анализах, описаны выше в Разделе 6.2.2.4.

[00317] В некоторых вариантах осуществления сигнальные маркеры могут быть обнаружены с помощью описанных в данном документе антител с использованием анализа методом иммуноблоттинга. В некоторых вариантах осуществления анализ методом иммуноблоттинга белки можно (но не обязательно) разделять с помощью электрофореза и переносить на мембраны (обычно мембрану из нитроцеллюлозы или ПВДФ), например, в анализе методом вестерн-блоттинга. Подобно ИГХ анализам, первичные антитела или антисыворотки, такие как поликлональные антисыворотки и моноклональные антитела, которые специфически нацелены на сигнальный маркер, могут использоваться для определения уровня сигнального маркера. В некоторых вариантах осуществления мембрану приводят в контакт с первичным антителом к конкретной мишени в течение периода времени, достаточного для возникновения связывания антитело-антиген, и связанные антитела могут быть обнаружены с помощью прямых меток на самих первичных антителах, например с радиоактивными метками, флуоресцентными метками, гаптеновыми метками, такими как биотин, или ферментами, такими как пероксидаза хрена или щелочная фосфатаза. В других вариантах осуществления немеченое первичное антитело используется в непрямом анализе, как описано выше для ИГХ анализов, в сочетании с меченым вторичным антителом, специфичным для первичного антитела. Как описано в данном документе, вторичные антитела могут быть помечены, например, ферментами или другими детектируемыми метками, такими как флуоресцентные метки, люминесцентные метки, колориметрические метки или радиоизотопы. Протоколы и наборы иммуноблоттинга хорошо известны в данной области техники и коммерчески доступны. Автоматизированные системы для иммуноблоттинга, например, iBind Western Systems для вестерн-блоттинга (ThermoFisher, Уолтем, штат Массачусетс, USA 02451) коммерчески доступны. Иммуноблоттинг включает, но не ограничивается, вестерн-блоттинг, внутриклеточный вестерн-блоттинг и дот-блоттинг. Дот-блоттинг представляет собой упрощенную процедуру, при которой образцы белка не разделяются электрофорезом, а наносятся непосредственно на мембрану. Вестерн-блоттинг клеток включает посев клеток в планшеты для микротитрования, фиксацию/повышение проницаемости клеток и последующее обнаружение меченым первичным антителом или немеченым первичным антителом с последующим меченым вторичным антителом, как описано в данном документе.

[00318] В других вариантах осуществления уровни сигнальных маркеров также могут быть обнаружены с помощью описанных в данном документе антител с помощью анализа проточной цитометрии, включая анализ методом проточной цитометрии (FACS). Подобно ИГХ анализам или анализам методом иммуноблоттинга, первичные антитела или антисыворотки, такие как поликлональные антисыворотки и моноклональные антитела, которые специфически нацелены на сигнальный маркер, могут использоваться для определения уровней сигнального маркера в анализе методом проточной цитометрии. В некоторых вариантах осуществления клетки окрашивают первичными антителами против специфического сигнального маркера в течение периода времени, достаточного для возникновения связывания антитело-антиген, и связанные антитела могут быть обнаружены с помощью прямых меток на первичных антителах, например, флуоресцентных меток или гаптеновых меток, таких как биотин, на первичных антителах. В других вариантах осуществления немеченое первичное антитело используется в непрямом анализе, как описано выше для ИГХ анализов, в сочетании с флуоресцентно меченым вторичным антителом, специфичным для первичного антитела. Проточная цитометрия обеспечивает метод сортировки или анализа смеси флуоресцентно меченых биологических клеток, по одной клетке за раз, на основе специфического светорассеяния и флуоресцентных характеристик каждой клетки. Таким образом, проточный цитометр определяет и записывает интенсивность свечения антитела, меченного флуорохромом, что указывает на уровни сигнального маркера в каждой клетке. Следовательно, уровни сигнальных маркеров можно определять с помощью антител против сигнального маркера. Цитоплазматический сигнальный маркер также можно наблюдать путем окрашивания пермеабилизированных клеток. Способы выполнения окрашивания и анализа методом проточной цитометрии хорошо известны специалисту в данной области техники и описаны в Teresa S. Hawley и Robert G. Hawley в Flow Cytometry Protocols, Humana Press, 2011 (ISBN 1617379506, 9781617379505). Специалистом в данной области техники выполнение анализа методом проточной цитометрии и анализа методом иммуноблоттинга для определения любого из сигнальных маркеров, предложенных в данном документе, является рутинным.

[00319] Как известно специалисту в данной области техники, уровни сигнальных маркеров также можно обычно определять с помощью иммуноанализов, таких как иммуноферментный анализ (EIA) или ИФА, как описано выше в Разделе 6.3.2.3.

6.3.3 Модельные системы для анализов

6.3.3.1. Животные модели

[00320] В изобретении предложены животные модели (например, модель трансгенных мышей), в которых животное (например, мышь) генетически сконструировано для экспрессии CA19-9 в поджелудочной железе и развития панкреатита. Следующие ниже описания представлены с использованием мыши в качестве иллюстративной животной модели, но специалист в данной области техники поймет, что изобретение включает и применимо к другим животным, например, обезьянам, свиньям, собакам, крысам и/или кроликам. В изобретении также предусматривается, что CA19-9 образуется путем постадийного добавления различных сахарных фрагментов к цепям предшественников типа 1, что завершается связыванием α1,4-фукозы с GlcNAc. В данном контексте Fut3 относится к фукозилтрансферазе со способностью присоединять фукозные фрагменты через α1,4 линкер. В одном варианте осуществления модели панкреатита у трансгенной мыши могут быть получены мышиные эмбриональные стволовые клетки (mESC), при этом mESC экспрессируют Fut3 и β3GALT5 с помощью индуцибельного промотора, зависящего от тканеспецифической экспрессии Cre, рекомбинации LoxP-фланкированной стоп-кассеты (LSL) и приема доксициклина (Dox). Мышей можно получить из mESC с трансфекцией Cre и без нее для создания линий, которые либо зависят, либо не зависят от экспрессии Cre. У этих трансгенных мышей экспрессия Fut3 и β3Ga1T5 и, следовательно, экспрессия CA19-9 может быть индуцирована введением Dox. Таким образом, в изобретении предложены мыши, у которых экспрессия CA19-9 может быть индуцирована во всей поджелудочной железе, мыши, у которых экспрессия CA19-9 может быть индуцирована в фокальных областях поджелудочной железы, и мыши, у которых CA19-9 может быть индуцирована во всем теле. Эти мыши называются моделями CA19-9 мыши, и каждая из них может быть использована в способах, предложенных в данном документе.

[00321] Во всех моделях CA19-9 мыши, в которых экспрессия CA19-9 индуцируется в поджелудочной железе, непанкреатические ткани демонстрируют нормальную гистологию по сравнению с генетически отрицательными контрольными животными из однопометников после курса применения Dox. Индукция экспрессии CA19-9 в поджелудочной железе в мышиной модели приводит к панкреатиту, включая множественные физиологические, гистологические и серологические признаки панкреатита (например, ацинарную атрофию, инвазию иммунных клеток, отложение коллагена, повышение липазы и амилазы), тогда как панкреатит не наблюдается у получавших Dox генетически отрицательных контрольных мышей или не получавших лечение мышей. Кроме того, СА19-9 мыши, у которых индуцирована экспрессия СА19-9 во всем теле, демонстрируют потерю массы тела и атрофию поджелудочной железы после экспрессии СА19-9, в некоторых случаях приводящую к потере более 20% массы тела и последующей эвтаназии. Все ткани, кроме поджелудочной железы, остаются здоровыми у CA19-9 мышей, индуцируя экспрессию CA19-9 во всем теле мышей, демонстрируя, что панкреатит у CA19-9 мышей после экспрессии CA19-9 не является аутоиммунным.

[00322] У CA19-9 мышей, у которых индуцирована экспрессия CA19-9 во всей поджелудочной железе, развивается высокопенетрантный панкреатит и повышенные уровни амилазы и липазы без потери массы тела или массы поджелудочной железы. Типы иммунных клеток, присутствующих в селезенке, лимфатических узлах и поджелудочной железе CA19-9 мышей, у которых индуцирована экспрессия CA19-9 во всей поджелудочной железе, сопоставимы с церулеиновой моделью (обсуждается ниже) острого панкреатита. Как CA19-9 мыши с индуцированной экспрессией CA19-9 во всей поджелудочной железе, так и в церулеиновых моделях проявляется зависимый от лечения приток воспалительных моноцитов и макрофагов в поджелудочную железу без каких-либо изменений в представленности типов иммунных клеток в селезенке или лимфатических узлах. У CA19-9 мышей, у которых индуцирована экспрессия CA19-9 в фокальных областях поджелудочной железы, развиваются меньшие очаги панкреатита и повышенные уровни амилазы и липазы по сравнению с генетическим и не получавшим лечение контролем без потери массы тела или массы поджелудочной железы, и демонстрируют ожидаемый профиль экспрессии CA19-9. Все модели CA19-9 мыши демонстрируют хронический панкреатит с множественными гистологическими маркерами хронического панкреатита. CA19-9 также обнаруживается в плазме модели CA19-9 мыши, имеющей экспрессию CA19-9 во всем теле, и модели CA19-9 мыши, имеющей экспрессию CA19-9 во всей поджелудочной железе. В одном варианте осуществления СА19-9 мыши, имеющие экспрессию СА19-9 во всей поджелудочной железе, обеспечивают высокую пенетрантность фенотипа панкреатита без потери массы. В данном контексте пенетрантность панкреатита относится к проценту площади поджелудочной железы, пораженной панкреатитом: чем выше процент пораженных областей, тем выше пенетрантность.

[00323] Кроме того, модели панкреатита, подходящие для представленных в данном документе способов, включают пациентов с клиническим панкреатитом человека. Такие пациенты для клинического тестирования могут быть идентифицированы в соответствии с маркерами панкреатита и схемой классификации, как описано выше в Разделе 6.2.2.

6.3.3.2. Клеточные модели

[00324] Альтернативно, клеточные модели, в которых повторно захватываются некоторые или все сигнальные пути или механизмы при панкреатите, могут использоваться в способах, предложенных в данном документе, для идентификации терапевтических агентов, подтверждения активности терапевтических агентов в снижении или увеличении сигнальных маркеров, как описано выше, определения терапевтических эффектов терапевтических агентов при панкреатите и тестирование эффективности терапевтических агентов при панкреатите.

Кроме того, как обсуждалось выше, любую из предложенных в данном документе клеточных моделей можно использовать в любой перестановке или комбинации с анализами, описанными в данном документе. Эти клеточные модели, подходящие для представленных здесь способов, включают клеточные линии аденокарциномы протока поджелудочной железы (PDAC) мыши, которые были сконструированы для экспрессии CA19-9 (например, путем введения экспрессии Fut3 и/или β3GALT5 в мышиные клетки PDAC) и человеческие линии клеток PDAC (например, Suit2). В изобретении предусмотрено, что клетки PDAC, экспрессирующие CA19-9, естественно или рекомбинантно, воспроизводят некоторые или все сигнальные пути и механизмы, лежащие в основе панкреатита человека, и могут использоваться в способах и анализах, предложенных в данном документе.

[00325] Кроме того, первичные ацинарные клетки, выделенные от животных (таких как свиньи, обезьяны или люди), или линии ацинарных клеток (такие как линия ацинарных клеток поджелудочной железы крысы AR42J) могут быть использованы в качестве клеточных моделей в способах, предложенных в данном документе, для идентификации терапевтических агентов, подтверждая активности терапевтических агентов в снижении или увеличении сигнальных маркеров, как описано выше, для определения терапевтических эффектов терапевтических агентов при панкреатите и тестировании эффективности терапевтических агентов при панкреатите. Одиночные, двойные и большие кластерные ацинарные клетки получают с использованием протокола расщепления коллагеназой, как описано в Burnham DB, et al., J Physiol 349: 475-482, 1984; Criddle DN, et al., J Gastroenterol Hepatol 21 Suppl 3: S14-17, 2006; Peikin SR, et al., Am J Physiol 235(6): E743-749, 1978; Schultz GS, et al., Exp Cell Res 130(1): 49-62, 1980; Williams JA, et al., Am J Physiol 235(5): 517-524, 1978, все из которых включены в данный документ посредством ссылки. В изобретении предусмотрено, что ацинарные клетки воспроизводят некоторые или все сигнальные пути и механизмы, лежащие в основе панкреатита человека, и могут использоваться в способах и анализах, предложенных в данном документе.

[00326] Трехмерные (3D) культуры клеток, либо 3-мерные культуры in vitro, либо 3-мерные структуры, выделенные из поджелудочной железы животных, также могут использоваться в качестве клеточных моделей в способах, предложенных в данном документе, как обсуждалось выше. Такие 3-мерные культуры воспроизводят некоторые или все сигнальные пути и механизмы, лежащие в основе панкреатита человека, включая как внутриклеточный сигналинг, так и межклеточный сигналинг, и могут использоваться в способах и анализах, предложенных в данном документе. 3-мерные структуры, выделенные из поджелудочной железы животных, включают дольки поджелудочной железы, органоиды поджелудочной железы и срез поджелудочной железы.

[00327] Как известно специалисту в данной области техники, дольки поджелудочной железы можно приготовить, раздвинув их друг от друга путем инъекции бикарбонатного буфера Кребса-Рингера в рыхлую соединительную ткань поджелудочной железы и затем индивидуально иссекая дольки путем микродиссекции под стереомикроскопом. Эта процедура сводит к минимуму повреждение ацинарных клеток, поскольку большая часть хирургической травмы ограничивается протоками и сосудами. Иссеченные дольки сохраняют общую ацинарную архитектуру ткани и их небольшой размер, а также обеспечивают легкое проникновение кислорода и растворенных веществ из инкубационной среды. Следуя этому способу, дольки можно поддерживать в течение нескольких часов в культуре и использовать для последующих анализов, включая высокопроизводительные анализы. Процедура выделения долек поджелудочной железы, подходящих для анализов, и способы подробно описаны в Barreto SG, et al., Am J Physiol Gastrointest Liver Physiol 299(1): G10-22, 2010; Barreto SG, et al., Am J Physiol Gastrointest Liver Physiol 297(2): G333-339, 2009; Flowe KM, et al., Pancreas 9(4): 513-517, 1994; Linari G, et al., Pharmacol Res Society 43(3): 219-223, 2001; Scheele GA et al., J Biol Chem 250(7): 2660-2670, 1975; Schloithe AC, et al., Neurogastroenterol Motil 20(9): 1060-1069, 2008, все из которых включены в данный документ посредством ссылки.

[00328] Как известно, органоиды относятся к трехмерным культурам клеток, тканей или органов. Органоиды поджелудочной железы могут быть быстро образованы из резецированных опухолей поджелудочной железы, тканей поджелудочной железы и биопсий поджелудочной железы после расщепления коллагеназой XI и посева в матригель со сниженным содержанием фактора роста. Кондиционирование среды фактором роста R-спондином способствует увеличению популяции преимущественно протоковых клеток. Эти органоиды поджелудочной железы выдерживают криоконсервацию и проявляют характеристики протоков и стадии заболевания. Кроме того, органоиды поджелудочной железы мышей точно воспроизводили физиологически значимые аспекты прогрессирования заболевания in vitro. После ортотопической трансплантации органоиды поджелудочной железы были способны восстанавливать нормальную архитектуру протоков. В конкретном варианте осуществления для получения органоидов поджелудочной железы протоки из поджелудочной железы могут быть получены после ферментативного расщепления 0,012% коллагеназы XI (Sigma) и 0,12% диспазы (GIBCO) в DMEM, содержащей 1% FBS (GIBCO), и включены в 100% матригель со сниженным содержанием фактора роста (GFR) (BD) для поддержания выделенных органоидов поджелудочной железы. Подробные процедуры выделения и культивирование органоидов поджелудочной железы описано в Boj SF, et al., Cell 160(1-2): 324-338, 2015; Huch M, et al., EMBO J 32(20): 2708-2721, 2013, оба из которых полностью включены в данный документ посредством ссылки.

[00329] Для получения среза поджелудочной железы агарозный гель с низкой температурой плавления может быть введен в проток поджелудочной железы анестезированной мыши посредством трансдуоденальной пункции и канюляции общего желчного протока. Затем поджелудочную железу можно вырезать и иссечь. Агароза делает поджелудочную железу достаточно твердой, чтобы ее можно было разрезать с помощью вибратома до толщины 80-140 мкм. Более того, агароза пористая и, таким образом, обеспечивает свободный обмен ткани с буфером, обеспечивая оптимальное состояние в культуре до двух суток. Подробные процедуры выделения и культивирования срезов поджелудочной железы описаны в Huang YC, et al., J Physiol 589(Pt 2): 395-408, 2011; Huch M, et al., EMBO J 32(20): 2708-2721, 2013, обе из которых полностью включены в данный документ посредством ссылки.

[00330] Эти клетки и 3-мерные клеточные структуры можно использовать в любых анализах, как предусмотрено в данном документе, для измерения любых или любой комбинации маркеров панкреатита, как предусмотрено в данном документе, например, сигнальных маркеров, гистологических маркеров, физиологических маркеров, функциональных маркеров и серологических маркеров. В некоторых конкретных вариантах осуществления клетки и 3-мерные клеточные структуры используются для тестирования терапевтических агентов с использованием сигналинга РЭФР, например, фосфорилирования РЭФР, фосфорилирования Erkl/2, фосфорилирования Akt или любой их комбинации, в качестве показателя анализа. В других конкретных вариантах осуществления клетки и 3-мерные клеточные структуры используются для тестирования терапевтических агентов с использованием CA19-9, сиалил-Льюис a или любой их комбинации в качестве показателя анализа.

6.3.4 Анализы методом высокопроизводительного скрининга

[00331] Анализы с использованием клеток и3-мерных клеточных структур могут представлять собой высокопроизводительный анализ. Как известно специалисту в данной области техники, любой из анализов, описанных в Разделах 6.3.1, 6.3.2 и в примерах, может быть адаптирован для высокопроизводительного анализа при использовании клеток или 3-мерных клеточных структур в качестве модельной системы. Анализ может быть разработан для скрининга с использованием 36-луночного, 64-луночного, 96-луночного, 384-луночного и 1536-луночного планшета путем измерения любого из сигнальных маркеров, гистологических маркеров и серологических маркеров, как описано в данном документе. Для организации таких высокопроизводительных анализов в данной области техники известны системы дозирования жидкостей для переноса терапевтических агентов и других реагентов для анализа, например, системы PlateMate Plus от Matrix (Хадсон, Нью-Гэмпшир) и MiniTrak и Multiprobe II HTEX от PerkinElmer systems.Данные, основанные на показателях любого из сигнальных маркеров, гистологических маркеров и серологических маркеров, как описано в данном документе, могут быть собраны с использованием коммерчески доступных систем визуализации, таких как система визуализации ViewLux (PerkinElmer). В конкретном варианте осуществления клетки дикого типа, 3-мерные клеточные структуры дикого типа, клетки от здоровых субъектов или 3-мерные клеточные структуры от здоровых субъектов могут использоваться в качестве контроля в высокопроизводительных анализах для обозначения нормального или эталонного диапазона показателей любого из сигнальных маркеров, гистологических маркеров и серологических маркеров.

[00332] В некоторых конкретных вариантах осуществления любой из предложенных в данном документе анализов связывания можно обычно применять в формате высокопроизводительного анализа для быстрого тестирования связывания тысяч пар партнеров по связыванию, например, между терапевтическим агентом и CA19-9 (или сиалил-Льюис a), для скрининга библиотеки молекул на терапевтический агент, который связывает CA19-9 (или сиалил-Льюис a), или для идентификации или скрининга библиотеки CA19-9.

[00333] Альтернативно, любой из предложенных в данном документе анализов может быть объединен с масс-спектрометрией, такой как ЖХ-МС, для идентификации CA19-9 или терапевтического агента из библиотеки потенциальных молекул. Например, анализы методом иммунопреципитации, коиммунопреципитации или соосаждения могут быть объединены с масс-спектрометрией (МС) или жидкостной хроматографией - масс-спектрометрией (ЖХ-МС) для идентификации CA19-9 путем осаждения антитела к сиалил-Льюис a или идентификации молекулы, которая связывается с CA19-9 путем осаждения CA19-9. В одном варианте осуществления такого адаптированного высокопроизводительного анализа методом коиммунопреципитации с антителом к сиалил-Льюис a комбинируется с ЖХ-МС для идентификации перечня CA19-9.

[00334] Как хорошо известно специалисту в данной области техники, обычно применяют один или более анализов, предложенных в данном документе, в высокопроизводительном формате для проверки связывания между терапевтическим агентом и CA19-9 (или сиалил-Льюис a) и проверки эффектов терапевтического агента на один или более маркеров в модельной системе, предложенной в данном документе. Подробные протоколы и различные форматы для адаптации анализов для высокопроизводительных анализов описаны в Szymanski Pet al., Int J Mol Sci. 2012; 13(1): 427-452; Klumpp, M., et al., Journal ofbiomolecular screening, 11(6), 617-633; Mayr, L. M., et al., Journal of Biomolecular Screening, 2008; 13(6), 443-448; Mayr, L. M., et al., 2009; 9(5), 580-588; D Cronk, D, главе 8, в Drug Discovery and Development (Second Edition), 2013, edited by Hill RG, ISBN: 978-0-7020-4299-7, все из которых включены в данный документ посредством ссылки.

7. ПРИМЕРЫ

Пример 1

[00335] Материалы, используемые в вариантах осуществления в ПРИМЕРАХ, были подготовлены, изготовлены, приобретены, закуплены, определены, оценены, подтверждены и/или получены следующим образом.

[00336] Образцы от человека:

[00337] Образцы от человека были получены после одобрения Комитетом по этике и проведению клинических исследований с участием людей: Ethikkommission an der Technischen Universitat Dresden (Институт патологии, Университетская больница Дрездена, Дрезден, Германия) и Институционального наблюдательного совета (IRB) лаборатории Cold Spring Harbor. Нормальная ткань поджелудочной железы была получена в результате программ трансплантации островков в Университете Иллинойса в Чикаго и Медицинской школе Миллера Университета Майами. Тканевая матрица была получена из образцов от пациентов с хроническим панкреатитом, которые отбирали после получения соответствующего информированного согласия в Дрездене (Институт патологии, Университетская клиника Дрездена). Информированное согласие было получено для каждого пациента после рассмотрения Комитетом по этике и проведению клинических исследований с участием людей: Ethikkommission an der Technischen Universitat Dresden (EK59032007). Образцы тканей от больных хроническим панкреатитом были собраны с 1993 по 2009 год у пациентов, перенесших операцию. Диагноз хронического панкреатита подтвержден патологоанатомом (документы приложены). Окончательный диагноз был установлен патологоанатомом на основании гистологического исследования, а PDAC исключен в группах заболевания при среднем сроке наблюдения 24 месяца. Для пациентов с панкреатитом критерии включения для всех когорт включали письменное информированное согласие, данное пациентами, и предсуществующий хронический панкреатит. Диагноз хронического панкреатита ставился, если соблюдался один или более из следующих критериев и никакой другой диагноз не был более вероятным (Mayerle, J. et al., Dtsch Arztebl Int 110, 387-393, (2013), который включен в данный документ во всей полноте посредством ссылки): повторяющиеся приступы боли в поджелудочной железе с документально подтвержденным повышением активности амилазы или липазы в течение более одного года и радиологическими доказательствами, подтверждающими диагноз, кальцификаты поджелудочной железы, гистологическое подтверждение хронического панкреатита, однозначные изменения морфологии протока поджелудочной железы, серьезные отклонения от нормы в функциональных панкреатических пробах с мальдигестией. Кальцификаты были выявлены на компьютерной томографии, диабет был диагностирован в соответствии с определением ВОЗ, а внешнесекреторная недостаточность определялась либо измерением фекальной эластазы, либо одновременным добавлением ферментов поджелудочной железы. Критериями исключения были другие сопутствующие злокачественные заболевания, радикальное лечение злокачественных новообразований в течение последних 2 лет до набора, сопутствующие кистозные заболевания поджелудочной железы, беременность или пациенты, неспособные дать информированное согласие. Определение CA19-9 проводили централизованно в сертифицированной клинической лаборатории.

[00338] Антитела:

[00339] CD4 (100428, клон GK1.5), CD8 (100714, клон 53.6.7), клон ТКР-бета (109222, клон H57-597), гамма/дельта ТКР (118106, клон GL3), CD19 (152406, клон 1D3), CD45 (103138, клон 30-Fl 1), NKp46 (137716, клон 29Al.4), CD11b (101224, клон Ml/70), CD11c (117318, клон N418), Ly6C (128016, клон HKI.4), Ly6G (27606, клон 1A8), PDGFRa (APA5), антикрысиное BV421 (4054) и стрептавидин (405214) были приобретены у Biolegend. CA19-9 (r5B-l, Mabvax (Sawada, R. et al. Clin Cancer Res 17, 1024-1032, (2011); Viola-Villegas, N. T. et al. Journal of nuclear medicine: официальное издание, Society of Nuclear Medicine 54, 1876-1882, (2013), обе из которых включены в данный документ посредством ссылки)), CA19-9 (гибридома под номером ATCC 1116-NS-19-9 HB8059), фосфо-РЭФР (8G6.2, EMD Millipore, IHC), фосфо-ERKI/2 (4370, Cell Signaling), ERKI/2 (4695, Cell Signaling), фосфо-Akt (4060,2965, Cell Signaling), Akt (4685, Cell Signaling), фосфор-рибосомальный S6 (4858, Cell Signaling), и рибосомный белок S6 (2317, Cell Signaling), фосфо-РЭФР (3777, Cell Signaling), РЭФР (71655, Cell Signaling), РЭФР (4267, Cell Signaling), рекомбинантный мышиный РЭФР-Fc (RnD), Ki67 (Spring Bioscience M3062), CK19 (TROMA III, DSHB), eGFP (A-11122, Thermofisher), FLAG (Sigma, F7425), человеческий изотипический контроль (Synagis), мышиный изотипический контроль (MOPC21).

Пример 2

[00340] Клонирование:

[00341] кДНК человеческого FUT3 амплифицировали с помощью ПЦР, субклонировали в pBabe-Neo и подтверждали с помощью секвенирования по Сэнгеру. Человеческие FUT3 и β3Ga1T5 (Dharmacon, экспрессия лентивируса CCSB-Broad OHS6085-213580074) были амплифицированы с помощью ПЦР и субклонированы в виде гибридов T2A (Fut3-T2A-β3GALT5) в pBabe-Neo и в нацеливающую кассету ColA1 (Beard C, et al., Genesis. 2006;44(1):23-8).

[00342] Нацеливание на эмбриональные стволовые клетки:

[00343] Клетки mES D34 (гибрид 129/C57B1/6J Fl), содержащие предварительно нацеленный на ColA1 сайт FRT для опосредованного рекомбиназой обмена кассет (Beard, C., Genesis 44, 23-28, (2006), которая полностью включена в данный документ посредством ссылки) и аллели CAGS-LSL-rtTA3-IRES-mKate2 (Dow LE, et al., PLoS One. 2014;9(4):e95236, который полностью включен в данный документ посредством ссылки) были использованы для введения управляемого TRE конструкта Fut3-T2A-β3GALT5-IRES-eGFP. Вкратце, линия клеток mES D34 размораживалась в среде для клеток mES, содержащей LIF, при 3-ем пассаже на облученных мышиных эмбриональных фибробластных DR4 в покрытых желатином планшетах для культивирования тканей и переводилась в условия 2i (Ying, Q. L. et al., Nature 453, 519-523 (2008), которая полностью включена в данный документ посредством ссылки) 48 часов спустя. Клетки mES обрабатывали трипсином и облученным питающим клеткам DR4 давали возможность повторно прикрепиться в течение 45 минут при 37°C. Электропорацию проводили с использованием 2,5 мкг FLPE и 5 мкг нацеливающей кассеты, содержащей трансген TRE-Fut3-T2A-β3GALT5-IRES-eGFP. 600000 клеток mES ресуспендировали в буфере для электропорации (P3, Amaxa от Lonza), смешивали с ДНК, переносили в лунки с полосками для электропорации и подвергали электропорации с использованием программы для электропорации Amaxa, оптимизированной для клеток mES. После электропорации клетки mES переносили на планшеты диаметром 6 см, содержащие облученные питающие клетки DR4. Отбор гигромицином B (140 мкг/мл, Roche) начинали через 48 часов, а выжившие колонии отбирали через 11 дней для размножения и оценки. Клоны клеток mES обрабатывали в отдельном планшете с генетицином для подтверждения правильной рекомбинации 364 и восстановления чувствительности к неомицину. Кроме того, в дополнительном планшете клетки mES трансфицировали CRE и обрабатывали доксициклином для подтверждения Cre-зависимой флуоресценции mKate и Cre- и Dax-зависимой флуоресценции eGFP.

[00344] Мышей получали с использованием клеток mES с трансфекцией Cre и без нее для создания линий, которые либо зависят, либо не зависят от экспрессии Cre. Получали мышей, несущих Rosa26:CAGGS-rtTA-mKate, и ColA1:TRE-Fut3- β3Ga1T5-GFP (R;F- целое тело), Pdx1- OR p48 -Cre, Rosa26:CAGGS-LSL-rtTA371 mKate, и Co1Al:TRE-LSL-Fut3- β3GaIT5-GFP (CPDX/p48;RLSL;FLSL - фокальные области поджелудочные железы), и Pdxl-Cre, Rosa26:CAGGS-LSL­ rtTA-mKate, и ColA1:TRE-Fut3- β3Ga1T5-GFP (C PDX;RLSL;F -целая поджелудочная железа).

[00345] Выделение гДНК для саузерн-блоттинга:

[00346] гДНК клеток mES собирали из 15 клонов (Gentra, Puregene). Вкратце, клетки дважды промывали PBS и добавляли 300 мкл раствора для лизиса клеток на лунку, и клетки соскребали с помощью скребка для клеток. Лизат переносили в новую пробирку и инкубировали при 37°C в течение 45 минут. Добавляли 100 мкл раствора для осаждения белка и пробирку переворачивали десять раз. Лизат центрифугировали 2 минуты на максимальной скорости и супернатант переносили в новую пробирку. Добавляли 300 мкл изопропанола и пробирку переворачивали 50 раз с последующим центрифугированием в течение 2 минут на максимальной скорости. Супернатант осторожно декантировали, промокали абсорбирующей бумагой и давали высохнуть на воздухе. Осадок ДНК ресуспендировали в 50 мкл воды и инкубировали при 65°C в течение одного часа и комнатной температуре при осторожном встряхивании в течение 4 часов перед хранением при -20 °C.

[00347] Саузерн-блоттинг и ПЦР:

[00348] гДНК клеток ES расщепляли EcoRI (NEB) при 37°C в течение 18 часов при осторожном встряхивании. Расщепленную гДНК обрабатывали на 0,8% агарозном геле TAE в течение 22 часов при 20-35 В. Гель окрашивали бромидом этидия при вращении в течение 10 минут и визуализировали перед промывкой в воде. Гель инкубировали в денатурирующем растворе (0,5 н. NaOH, 1,5 M NaCl) при вращении в течение 30 минут с последующей промывкой водой. Гель инкубировали в течение 30 минут в нейтрализующем растворе (1 M Tris, 3M NaCl, pH 7,0) при вращении в течение 30 минут с последующей промывкой водой. Гель переносили капиллярным потоком в 20x SSC в течение ночи при комнатной температуре на нейлоновую мембрану (Schleicher & Schuell Nytran). Мембрану промывали 2x SSC и помещали на ватманскую бумагу для сушки на воздухе с последующим УФ-сшиванием в течение 60 секунд. Мембрану помещали в 10 мл раствора Pre-Hyb в пробирку Роббинса и инкубировали при 68°C в течение 30 минут при вращении. Промывку Pre-hyb повторяли при 42°C при вращении. Затем мембрану инкубировали в течение ночи в растворе для гибридизации, содержащем соответствующий зонд, при 42°C при вращении. Зонды были созданы против eGFP (482958 CPM, Rediprime) и пуромицина (186409 CPM, Rediprime). Затем мембрану дважды промывали 3 x SSC/0,5% SDS при 68°C в течение 30 минут при вращении перед экспонированием пленки в течение ночи при -80 °C. гДНК также была отправлена в Transnetyx для генотипирования на eGFP, чтобы исключить клоны с сигналом выше, чем подтвержденные вставки одной копии. Клоны FB8 и FB12 были отобраны в отношении тетраплоидной комплементации (NYU), при помощи которых получали основателей с трансмиссией зародышевой линии. Оба клона демонстрировали одинаковый профиль экспрессии CA19-9, и основатели клона FB12 были отобраны для дальнейшей оценки.

[00349] Мыши:

[00350] Мыши KPC (Kras+/LSL-G12D ; Trp53+/Rl72H; Pdxl-Cre) были описаны ранее (Hingorani SR, et al., Cancer Cell. 2003;4(6):437-50; Hingorani SR, et al., Cancer Cell.2005;7(5):469-83) и были скрещены с фоном C57Bl/6J (The Jackson Laboratory, штамм 000664). Все эксперименты на животных проводили в соответствии с процедурами, утвержденными IACUC в лаборатории Cold Spring Harbor. Мыши были включены в экспериментальные исследования в возрасте от 6 до 8 недель. Мышам вводили доксициклин с питьевой водой (0,5-2 мг/мл) с добавлением 10 нг/мл сахарозы в течение исследования продолжительностью до одной недели. Доксициклин вводили с пищей для экспериментальных исследований продолжительностью более одной недели, что рассчитано для доставки 2-3 мг доксициклина в день, исходя из потребления 4-5 г/день на мышь (Harlan Teklad, dietTD.01306, 625 мг доксициклина). EdU (300 мкг, Santa Cruz) вводили внутрибрюшинно два раза в день в течение трех дней подряд. Церулеин вводили 8-часовыми дозами по 200 мкл (10 мкг/мл) внутрибрюшинно в течение 48 часов, и мышам C57Bl/6J давали возможность восстановиться в течение 24 или 72 часов. Уровни глюкозы в крови измеряли с помощью ACCU-CHECK Nano (Roche) на 414 боковой подкожной вене.

[00351] Получение ретровирусов и инфекция:

[00352] Экотропные клетки Phoenix (ATCC) высевали из расчета 4×106 клеток на 10-сантиметровый планшет для культуры ткани. Через 24 часа клетки сливались на 70-80%. За час до трансфекции среду заменяли 10% FBS, 25 мкм хлорохина в DMEM. 10 мкг плазмидной ДНК в общем объеме 438 мкл воды добавляли к 62 мкл CaCl2. При добавлении смеси ДНК/CaCl2 по каплям к 500 мкл 2x HBS через раствор одновременно барботировали воздух. Смесь инкубировали при комнатной температуре в течение 30 минут. Раствор встряхивали и затем по каплям добавляли в планшеты для тканевых культур. Через 16 часов среду заменяли DMEM с добавлением 10% FBS. Вирусный супернатант собирали через 24 и 48 часов и фильтровали (0,45 мкм). Один объем концентратора Retro-X (Clontech) добавляли к трем объемам вирусного супернатанта и инкубировали при 4°C в течение ночи. После центрифугирования при 1500 x g в течение 45 минут при 4°C вирусный осадок ресуспендировали в подходящей среде для инфицирования. Для инфицирования монослойных клеток вирус ресуспендировали в среде DMEM с добавлением 10% FBS, содержащей 10 мкг/мл полибрена. Отбор начинали через 48 часов после инфицирования. Для инфицирования органоидов вирусный осадок ресуспендировали в среде для органоидов, содержащей 10 мкг/мл полибрена и 10,5 мкМ ингибитора Rho-киназы Y-27632 (Sigma). Органоиды инфицировали после диссоциации отдельных клеток с использованием центрифужной инокуляции при 600 RCF в течение 1 часа при комнатной температуре (100000-250000 клеток) с последующим ресуспендированием в матригеле и размножением в виде органоидов в присутствии 10,5 мкМ ингибитора Rho-киназы Y-27632 (Sigma) в течение первых 72 часов. Через два дня после заражения органоиды обрабатывали 1 мг/мл генетицина (Life Technologies) или бластицидином (10 мкг/мл, конечная концентрация) для селекции.

[00353] Иммуногистохимия:

[00354] Из блоков, зафиксированных формалином и залитых парафином, делали срезы и их депарафинизировали. Демаскировку антигена проводили в цитратном буфере в течение 6 минут в скороварке, если не указано иное. ИГХ фосфо-РЭФР выполняли, как описано ранее (Ardito CM, et al., Cancer Cell. 2012; 22 (3): 304-17), после 30 минут демаскировки антигена цитратным буфером. Эндогенную пероксидазу гасили 3% перекисью водорода в TBS в течение 20 минут при комнатной температуре. Затем микропрепараты промывали водопроводной водой и переносили в систему Cadenza. Микропрепараты блокировали 3% BSA в TBST в течение одного часа при комнатной температуре и инкубировали с первичным антителом в течение ночи. Микропрепараты трижды промывали TBST, затем инкубировали со вторичными антителами, конъюгированными с пероксидазой хрена, в течение одного часа при комнатной температуре. Микропрепараты трижды промывали в TBST и извлекали из системы Cadenza. ImmPACT DAB (Vector) инкубировали в течение 1-10 минут с последующей промывкой водой и инкубацией в контрастном красителе гематоксилине. Затем микропрепараты обезвоживали и заключали под покровное стекло в cytoseal 60.

[00355] Автоматизированную иммуногистохимию проводили на фиксированных формалином, залитых парафином срезах размером 5 мкм, собранных на предметных стеклах Plus Slides (Fischer Scientific) и хранящихся при комнатной температуре. Перед окрашиванием микропрепараты инкубировали в течение 1 часа при 60°C в конвекционной сушилке. Хромогенную иммуногистохимию выполняли на платформе Ventana Medical Systems Discovery XT с депарафинизацией в реальном времени с использованием реагентов и наборов для обнаружения Ventana, если не указано иное и как описано ранее (Perez-Aso M, et al., FASEB J. 2016;30(1):457-65). Вкратце, срезы депарафинизировали в ксилоле (3 смены), регидратировали с помощью градуированных спиртов (3 смены 100% этанола, 3 смены 95% этанола) и промывали в дистиллированной воде. Индуцированную нагреванием демаскировку эпитопа выполняли в микроволновой печи мощностью 1200 Вт при 100% мощности в 10 мМ натрий-цитратном буфере, pH 6,0, в течение 20 минут. Срезам давали остыть в течение 30 минут, а затем ополаскивали дистиллированной водой. Блокировали эндогенную пероксидазную активность. Первичные антитела разводили 1: 1000-1: 10000 в трис-буферном солевом растворе (25 мМ Трис, 0,15 М NaCl) и инкубировали в течение 10 часов при комнатной температуре. Вторичные антитела, конъюгированные с пероксидазой хрена (Jackson ImmunoResearch Laboratories), разводили 1: 200 в Трис-буфере и инкубировали в течение 1 часа при 37 °C. Комплекс был визуализирован с помощью 3,3-диаминобензидина и усилен сульфатом меди. Микропрепараты промывали дистиллированной водой, контрастировали гематоксилином, обезвоживали и фиксировали постоянной монтирующей средой. Отрицательные контроли заменяли первичное антитело только разбавителем антител.

[00356] Гистологическая количественная оценка:

[00357] Микропрепараты сканировали с помощью сканера Aperio CS2 (Leica), а общую площадь занимаемых пикселей рассчитывали в Imagescope (Leica). Пораженные панкреатитом участки на микропрепаратах, окрашенных гематоксилином и эозином, вручную аннотировали, а невовлеченные и пораженные участки измеряли. Зоны панкреатита определяли по наличию инфильтрирующих лимфоцитов, ацинарного интралобулярного отека, ацинарной метаплазии протоков, фиброза и замещения жировыми клетками. Число Ki67-положительных ядер подсчитывали вручную в пяти репрезентативных полях зрения под большим увеличением от по меньшей мере четырех животных в группе.

[00358] Количественное определение серологических маркеров:

[00359] Уровни амилазы и липазы в плазме (литий-гепарин, BD biosciences) измеряли при помощи сервисов IDEXX Pathology. Уровни CA19-9 измеряли с использованием анализа биомаркеров злокачественного новообразования человека (EMD Millipore) на платформе для мультиплексного ИФА MagPIX (Luminex). Уровни глюкозы в крови измеряли с помощью Accu-chek NANO Smartview Monitor (Roche) на боковой подкожной вене. Уровни антител, направленных против CA19-9, измеряли путем покрытия плоскодонных планшетов из полистирола с высокой степенью связывания 275 единицами CA19-9 (MyBioSource, MBS318287) в течение ночи при комнатной температуре. Покрытые CA19-9 планшеты промывали 0,05% Твина 20 в PBS и блокировали 1% BSA в промывочном буфере перед инкубацией 10 мкл мышиной плазмы в конечном объеме 100 мкл блокирующего буфера

[00360] Количественное определение фекальных маркеров:

[00361] Свежие образцы фекалий собирали и измельчали вручную при помощи гомогенизатора (Biomasher II) в каждом соответствующем буфере для анализа. Количественное определение химотрипсина (BioVision) и эластазы (EnzChek, ThermoFisher) проводили в соответствии с инструкциями производителя.

[00362] Органоиды, эксплантат ацинуса, линии клеток, культивируемые монослоем, и условия культивирования:

[00363] Подробные процедуры выделения и размножения культур органоидов протоков поджелудочной железы были описаны ранее (Boj Sylvia F, et al., Cell. 2015;160(1-2):324-38). Вкратце, протоки поджелудочной железы собирали после ферментативного расщепления 0,012% коллагеназы XI (Sigma) и 0,12% диспазы (GIBCO) в среде DMEM, содержащей 1% FBS (GIBCO), и заключали в 100% матригель со сниженным содержанием фактора роста (GFR) (BD). Органоиды обрабатывали доксициклином в конечной концентрации 100 нг - 1 мкг/мл. При необходимости (например, кривые роста) органоиды диссоциировали в суспензию отдельных клеток с использованием 2 мг/мл диспазы с последующей 10-минутной инкубацией с TrypLE при 37 °C. Клетки фильтровали с помощью 40 мкм фильтра для клеток. Концентрацию клеток определяли с использованием акридинового апельсина и йодида пропидия на Nexcelom Cellometer. Отдельные клетки органоида высевали в 384-луночные планшеты по 500 клеток на лунку в 10% матригеле для анализа кривой роста с использованием CellTiter-Glo. Эксперименты по блокированию антител проводили с использованием 2-4 мкг антител.

[00364] Эксплантаты ацинусов были получены из измельченной ткани поджелудочной железы после короткого расщепления в течение 5-10 минут в Advanced DMEM/Fl2 (GIBCO), содержащей 5 мг/мл коллагеназы II (GIBCO), 1 мг/мл диспазы (GIBCO), 2,50% FBS (GIBCO), и 1 мг/мл ингибитора трипсина сои (GIBCO). Кластеры ацинусов контролировали каждые 3-5 минут при расщеплении при 37°C до тех пор, пока кластеры ацинусов не достигли размера кластера в около 20-200 клеток. Кластеры ацинусов промывали один раз и затем помещали в Advanced DMEM/Fl2 (GIBCO), содержащую 1x Glutamax (GIBCO), 1x Пенициллин/Стрептомицин (P/S, GIBCO), 1x HEPES (GIBCO), 3 x NEAA (GIBCO) и 0,1% BSA (Sigma-Aldrich).

[00365] Линии клеток, культивируемые монослоем, из опухолей поджелудочной железы мышей были созданы путем рассечения первичной опухоли от соседней нормальной поджелудочной железы и вручную измельчены на фрагменты размером 1 мм3. Измельченную ткань ферментативно расщепляли в 100 мг/мл коллагеназы V в течение 45 минут при 37 C при вращении. Расщепление останавливали 10% FBS, P/S в DMEM, и расщепленный материал центрифугировали при 300 RCF в течение 5 минут. Супернатант отбрасывали, а расщепленный материал ресуспендировали в 10% FBS, P/S, DMEM 10-сантиметровый планшет для культуры ткани для криоконсервации и размножения. Клеточные линии рака поджелудочной железы человека, Capan2, Suit2, Miapaca2 (ATCC) и hM1-2D размножали в 10% FBS, P/S в RPMI (GIBCO).

[00366] Суспензия одиночных клеток первичных тканей мыши для проточной цитометрии:

[00367] Селезенки и лимфатические узлы механически диссоциировали, гомогенизировали и пропускали через нейлоновый клеточный фильтр (BD Falcon) в буфере для проточной цитометрии (eBioscience). Поджелудочную железу механически диссоциировали и расщепляли с помощью 0,4 мг/мл либеразы, 0,05 мг/мл коллагеназы D и 0,1 мг/мл ДНКазы I (Roche) в среде DMEM (Gibco) с добавлением 10% FCS при 37 C в течение 30 минут и суспензии пропускали через нейлоновый фильтр для клеток.

[00368] Анализы методом проточной цитометрии:

[00369] Окрашивание проводили путем инкубации клеток на шейкере для планшетов в течение 15 мин при 4 C с антителами в буфере для проточной цитометрии (eBioscience). Анализ методом многоцветной проточной цитометрии проводили с использованием цитометра LSR Fortessa (BD Biosciences). Стратегии гейтирования для всех экспериментов по проточной цитометрии описаны ниже.

[00370] Вестерн-блоттинг:

[00371] Для иммуноблоттинга использовали стандартные способы. Вкратце, лизаты белков разделяли на 4-12% гелях Bis-Tris NuPAGE (Life technologies), переносили на мембрану из ПВДФ (Millipore) и блокировали в 3% BSA (Sigma) в 0,1% Твин-20 в TBS в течение одного часа. Затем мембраны инкубировали с первичным антителом в течение ночи при качании при 4 C с последующей инкубацией в соответствующих вторичных антителах, конъюгированных с пероксидазой хрена, в течение одного часа и детектированием с помощью ECL (GE Healthcare). Нормализованные изменения указанных целевых белков определяли количественно относительно контроля для нанесения кофилина и необработанной временной точки.

[00372] Выделение белка из линии клеток:

[00373] Планшеты с тканевыми культурами трижды промывали ледяным PBS и лизировали на планшете в 1% TritonX-100, 50 мМ Tris-HCl pH7.5, 150 мM NaCl, 5 мM ЭДТА с коктейлями 1X протеазы и ингибиторов фосфатазы на льду в течение 30 минут. Лизат переносили в микроцентрифужную пробирку и осветляли при 16100 RCF в течение 10 минут при 4°C и аликвоты вносили в новые пробирки для хранения при -20 °C.

[00374] Выделение белка из органоидов:

[00375] Жидкую верхнюю среду аспирировали из органоидов и ледяного раствора для восстановления клеток (Corning), содержащего 0,5x коктейля ингибиторов протеазы Complete Mini Protease Inhibitor Cocktail (Roche, без ЭДТА) и 0,5x PhosSTOP (Roche). Органоиды инкубировали в CRS с 0,5x ингибиторами протеазы и фосфатазы на льду в течение 10 минут с последующим центрифугированием при 1500 RCF в течение 5 минут при 4 °C. Супернатант отбрасывали, а органоиды один раз промывали в CRS с 0,5x ингибиторами протеазы и фосфатазы. Осадки органоидов мгновенно замораживали в жидком азоте и хранили при -80 °C. Органоиды лизировали в 1% Triton X-100, 50 мМ Tris HCl pH 7,5, 150 мМ NaCl, 5 мМ ЭДТА с 1x коктейлями ингибиторов протеазы и фосфатазы на льду в течение 30 минут, осветляли при 16100 RCF в течение 10 минут при 4°C и аликвоты вносили в новые пробирки для хранения при -20 °C.

[00376] Иммунопреципитация:

[00377] Иммунопреципитацию CA19-9 проводили в буфере для IP, содержащем 20 мМ HEPES, 150 мМ NaCl в присутствии 0,5x коктейля ингибиторов протеазы полного коктейля Complete Mini Protease Inhibitor Cocktail (Roche, без ЭДТА). Моноклональные антитела конъюгировали с M-270 Epoxy Dynabead (Thermo Fisher) в соответствии с инструкциями производителя. 100 мкл мкАт-конъюгированных Dynabead промывали 3 раза в буфере для IP и инкубировали с 500 мкг лизатов цельных клеток из линий клеток, культивируемых монослоем, в 1 мл буфера для IP в микроцентрифужной пробирке LoBind объемом 1,5 мл (Eppendorf) или с 4 мл кондиционированной органоидами среды в пробирке LoBind объемом 5,0 мл (Eppendorf) при вращении при 4°C в течение одного часа. Образцам позволяли связываться с магнитом в течение одной минуты перед удалением супернатанта и трижды промывали гранулы в буфере для IP.

[00378] Иммунопреципитацию Flag проводили в TBS (50 мМ Tris, pH 7,6; 150 мМ NaCl) с использованием 5 мл кондиционированной среды, 10 мкг кроличьих антител к Flag (Sigma) и Dynabead, конъюгированных с белком G (ThermoFisher), в соответствии с инструкциями производителя. Иммунопреципитированные белки элюировали на льду с использованием пептида DYK (100 мкг/мл) при осторожном встряхивании в течение 1 часа или ледяным аминосодержащим буфером для элюирования IgG с низким pH (ThermoFisher) и гасили 10 × TBS.

[00379] Иммунопреципитацию РЭФР выполняли в 1% Triton X-100, 150 мМ NaCl и 50 мМ Tris, pH 7,5.

[00380] Выделение РНК. Синтез кДНК и количественная ОТ-ПЦР из органоидов:

[00381] РНК экстрагировали из культур клеток и органоидов с использованием Trizol и набора для выделения РНК PureLink в соответствии с инструкциями производителя (Thermo Fisher). кДНК синтезировали с использованием 1 мкг общей РНК и реагентов для обратной транскрипции TaqMan (Applied Biosystems). Все мишени были амплифицированы (40 циклов) с использованием ген-специфических праймеров Taqman и наборов зондов (Applied Biosystems) на приборе QuantStudio 6-flex для ПЦР в реальном времени (Applied Biosystems). Количественную оценку относительной экспрессии генов проводили с использованием метода DDCt с программным обеспечением QuantStudio Real-Time PCR vl. l (Applied Biosystems). Уровни экспрессии были нормализованы к Hprt. Иллюстративные анализируемые гены включает: Mm01187858_ml (EGFR); Mm0065854l_ml (Her2); Mm01159999_ml (Erbb3); Mm01256793_ml (Erbb4); Mm00438696_ml (EGF); Mm00446232_ml (TGFa); Mm01354339_ml (Areg); Mm00514794_ml (Ereg); Mm00446968_ml (Hprt).

[00382] Секвенирование и анализ РНК

[00383] Секвенирование РНК было выполнено в Judith Sulzberger Columbia Genome Center с 60-кратным охватом и парно-концевого чтением 100 пар оснований на приборе Illumina HiSeq 2500. При помощи Kallisto 0.44 (Bray, N. L., et al., Nat Biotechnol 34, 525-527 (2016), которая полностью включена в данный документ посредством ссылки) определяли количественное содержание транскриптов с использованием мышиного транскриптома Ensembl GRCh38 в комбинации с кДНК для β3GALT5 (ENST00000380620.8, ENST00000475838.l, ENST00000380618.5, ENST00000398714.3, ENST00000615480.4, ENST00000615480.4), FUT3 (ENST00000458379.6, ENST00000458379.6, ENST00000303225.10, ENST00000589620.5, ENST00000589620.5, ENST00000587048.l, ENST00000587048.l, ENST00000585715.l, ENST00000587183.l, ENST00000588539.l), eGFP (pBS3 l'-RBGpA\TRE), rtTA3 (pRosa-pA-CAGGs-L), и mKate2 (Akama-Garren, E. H. et al. Sci Rep 6, 16836, (2016), которая полностью включена в данный документ посредством ссылки).

[00384] Копийность на уровне транскриптов указана в виде сводных данных на уровне гена с использованием tximport 1.8 (R/Bioconductor (Soneson, C., et al., Fl000Research 4, 1036 (2015), который полностью включен в данный документ посредством ссылки)). При помощи DESeq2 1.2 (R/Bioconductor (Love, M. I., et al., Genome Biol 15, 550, (2014), который полностью включен в данный документ посредством ссылки)) выполняли дифференциальную экспрессию на уровне генов со следующими временными точками и различиями в условиях: генетически отрицательные органоиды для 4 часов и генетически отрицательные органоиды для 0 часов, генетически отрицательные органоиды для 24 часов и генетически отрицательные органоиды для 0 часов, генетически отрицательные органоиды для 24 часов и генетически отрицательные органоиды для 4 часов, CPDX RLSL F органоиды для 4 часов и CPDX RLSL F органоиды для 0 часов CPDX RLSL F органоиды для 24 часов и CPDX RLSL F органоиды для 0 часов и CPDX RLSL F органоиды для 24 часов и CPDX RLSL F органоиды для 4 часов. Репортерный ген eGFP и человеческие трансгены β3GALT5 и FUT3 были исключены, чтобы избежать систематических ошибок в анализах дифференциальной экспрессии (которые объединяют информацию по генам). Гены Oprdl и Gstm5 были идентифицированы как резко отклоняющиеся значения из-за их экстремальных значений дифференциальной экспрессии и также были исключены.

[00385] Гены ранжировали с использованием показателя -log10 (q-значение) * (log2 кратности изменения), где q-значения представляет собой p-значение, скорректированное для множественного тестирования (метод Бенджамини и Хохберга). Обогащение набора генов выполняли в ранжированном перечне генов с обработкой для 24 часов и обработкой для 0 часов, используя GSEA 3.0 (Subramanian, A et al. Proc Natl Acad Sci US A 102, 15545-15550, (2005), которая полностью включена в данный документ посредством ссылки) со следующими базами данных MSigDB 6.1: C2 KEGG, C5, C6 и H. GSEA использовали следующие нестандартные параметры: -nperm 2000, - set_min 10, -set_max 1000. Гены, дифференциально экспрессируемые генетически отрицательные органоиды для 24 часов по сравнению с противопоставляющимся вариантом генетически отрицательными органоидами для 0 часов, были удалены из ранжированного перечня генов перед запуском GSEA.

[00386] Для визуализаций необработанные данные были нормализованы к контролю в отношении размера библиотеки и соотношений дисперсии и средних значений с использованием функции преобразования стабилизации дисперсии DESeq2.

[00387] Триптическое расщепление и мечение iTRAQ:

[00388] Гранулы восстанавливали 20 мкл 50 мМ триэтиламмонийбикарбонатного буфера (TEAB). RapiGest добавляли до конечной концентрации 0,1%, а трис(2- карбоксиэтил)фосфина (TCEP) добавляли до конечной концентрации 5 мМ. Затем образцы нагревали до 55°C в течение 20 минут, давали остыть до комнатной температуры и добавляли метилметантиосульфонат (MMTS) до конечной концентрации 10 мМ. Образцы инкубировали при комнатной температуре в течение 20 мин до полного блокирования свободных сульфидрильных групп. Затем к образцам добавляли 2 мкг трипсина для секвенирования (Promega), и они расщеплялись в течение ночи при 37 °C. После расщепления супернатант удаляли с гранул и сушили в вакууме. Пептиды восстанавливали в 50 мкл 0,5 М TEAB/70% этанола и метили реагентом 8-plex iTRAQ в течение 1 часа при комнатной температуре (Ross PL, et al., Mol Cell Proteomics. 2004; 3 (12): 1154-69). Меченые образцы затем подкисляли до pH 4, используя муравьиную кислоту, объединяли и концентрировали в вакууме до тех пор, пока не осталось ~ 10 мкл.

[00389] 2-мерное фракционирование с использованием центрифужных колонок:

[00390] Пептиды фракционировали с использованием набора Pierce High pH Reversed-Phase Peptide Fractionation Kit (Thermo Scientific) в соответствии с инструкциями производителя с небольшими изменениями. Вкратце, пептиды восстанавливали в 150 мкл 0,1% TFA, загружали на центрифужную колонку и центрифугировали при 3000 g в течение 2 минут. Колонку промывали водой, а затем пептиды элюировали следующим процентным содержанием ацетонитрила (ACN) в 0,1% триэтиламине (TEA): 5%, 7,5%, 10%, 12,5%, 15%, 20%, 30% и 50%. Затем каждую из 8 фракций отдельно вводили в масс-спектрометр с использованием капиллярной ЖХ с обращенной фазой при низком pH.

[00391] 2-мерное фракционирование с помощью ЖК:

[00392] Пептиды фракционировали, используя стратегию разделения с обращенной фазой при высоком и низком pH (адаптировано из Gilar, M., et al., Journal of separation science 28, 1694-1703 (2005), которая полностью включена в данный документ посредством ссылки). Для первого измерения (высокий pH) пептиды фракционировали на колонке 10 см x 1,0 мм, заполненной смолой Gemini 3u Cl8 (Phenomenex, Вентура, штат Калифорния), при скорости потока 100 мкл/мин. Подвижная фаза A состояла из 20 мМ формиата аммония, pH 10, а подвижная фаза B состояла из 90% ацетонитрила/20 мМ формиата аммония, pH 10. Образцы восстанавливали 50 мкл подвижной фазы A, и весь образец вводили в колонку. Пептиды разделяли с использованием 35-минутного линейного градиента от 5% B до 70% B, а затем увеличивали подвижную фазу до 95% B в течение 10 минут. Фракции собирали каждую минуту в течение 40 минут, а затем объединяли в 8 фракций с использованием стратегии конкатенации, описанной Wang, Y. et al. Proteomics 11, 2019-2026 (2011) (которая полностью включена в данный документ посредством ссылки). Затем каждую из 8 фракций отдельно вводили в масс-спектрометр с использованием капиллярной ЖХ с обращенной фазой при низком pH.

[00393] Масс-спектрометрия (Velos):

[00394] Масс-спектрометр Orbitrap Velos Pro (Thermo Scientific), оснащенный источником наноионов для распыления, был подключен к системе EASY-nLC (Thermo Scientific). Система для жидкостной хроматографии Nanoflow LC System была сконфигурирована с капиллярной предколонкой из плавленого кварца с внутренним диаметром 180 мкм, содержащей 3 см материала Aqua 5-μm C18 (Phenomenex), и самоупаковывающимся аналитической колонки с внутренним диаметром 100 мкм с эмиттером 8 мкм PicoFrit™ (New Objective, Woburn, MA), заполненной до 15 см материалом Aqua 3-μm Cl8 (Phenomenex). Подвижная фаза А состояла из 2% ацетонитрила; % муравьиной кислоты, и подвижная фаза B состояла из 90% ацетонитрила; 0,1% муравьиной кислоты. 3 мкл каждого образца, растворенного в подвижной фазе А, вводили через автоматический пробоотборник в предколонку. Затем пептиды разделяли с использованием следующих ступеней линейного градиента при скорости потока 400 нл/мин: 5% B в течение 1 минуты, от 5% B до 35% B в течение 70 минут, от 35% B до 75% B в течение 15 минут, выдерживая при 75% B в течение 8 минут, от 75% B до 8% B в течение 1 минуты и последние 5 минут выдерживают при 8% B.

[00395] Элюированные пептиды напрямую подвергали электрораспылению в масс-спектрометре Orbitrap Velos Pro с применением дистального напряжения 2,3 кВ при распылении и температуры капилляров 275 °C. За каждым масс-спектром полного сканирования (Res=60000; 380-1700 m/z) следовали МС/МС-спектры для 12 верхних масс. Использовали диссоциацию, индуцируемую высокоэнергетическим соударением, (HCD) с нормализованной энергией соударения, установленной на 35 для фрагментации, шириной изоляции, установленной на 1,2, и временем активации, равным 0,1. Длительность 70 секунд была установлена для динамического исключения с размером перечня исключений, равным 500, числом повторений, равным 1, и шириной исключения массы, равной 10 ppm. Мы использовали выбор моноизотопного предшественника для зарядовых состояний 2+ и выше, и все данные были получены в профильном режиме.

[00396] Масс-спектрометрия (Fusion):

[00397] Масс-спектрометр Orbitrap Fusion Lumos (Thermo Scientific), оборудованный источником распыления наноионов, был соединен с системой EASY-nLC 1200 (Thermo Scientific). Система для ЖХ была сконфигурирована с самоупаковывающейся аналитической колонкой PicoFrit™ с внутренним диаметром 75 мкм с эмиттером 8 мкм (New Objective, Уоберн, штат Массачусетс), заполненной до 25 см материалом ReproSil-Pur Cl8-AQ, 1,9 мкм (Dr. Maish GmbH). Подвижная фаза А состояла из 2% ацетонитрила; 0,1% муравьиной кислоты и подвижная фаза B состояла из 90% ацетонитрила; 0,1% муравьиной кислоты. Затем пептиды разделяли с использованием следующих стадий: при скорости потока 200 нл/мин: от 2% B до 6% B в течение 1 минуты, от 6% B до 30% B в течение 84 минут, от 30% B до 60% B в течение 9 минут, от 60% B до 90% B в течение 1 минуты, выдержка при 90% B в течение 5 минут, от 90% B до 50% B в течение 1 мин, а затем скорость потока была увеличена до 500 нл/мин, поскольку 50% B удерживались в течение 9 мин.

[00398] Элюированные пептиды непосредственно подвергали электрораспылению в масс-спектрометре Fusion Lumos с применением дистального напряжения 2,3 кВ при распылении и температуры капилляров 300°C. Масс-спектр полного сканирования (Res=60000; 400-1600 m/z) сопровождался МС/МС с использованием метода «максимальной скорости» для селекции. Использовали диссоциацию, индуцируемую высокоэнергетическим соударением, (HCD) с нормализованной энергией соударения, установленной на 35 для фрагментации, шириной изоляции, установленной на 1,2, и длительность 10 секунд была установлена для динамического исключения с шириной массы исключения 10 ppm. Мы использовали выбор моноизотопного предшественника для зарядовых состояний 2+ и выше, и все данные были получены в профильном режиме.

[00399] Поиск в базе данных:

[00400] Файлы Peaklist (.MGF) были созданы Mascot Distiller 2.6 (Matrix Science). Идентификацию и количественную оценку белков проводили с использованием Mascot 2.6 (Perkins, D. N. et al., Electrophoresis 20, 3551-3567 (1999), который полностью включен в данный документ посредством ссылки), который обеспечивает поиск по эталонным протеомам UniProt мыши или человека (60725 и 93799 последовательностей, соответственно). Метилтиолирование цистеина, а также N-концевые и лизиновые модификации iTRAQ были установлены как фиксированные модификации, окисление и дезамидирование метионина (NQ) - как вариабельные. В качестве фермента расщепления использовали трипсин с допуском одного пропущенного расщепления. Допуск по массе был установлен на уровне 30 ppm для массы интактного пептида и 0,3 Да для фрагментных ионов. Результаты поиска были повторно оценены, чтобы получить окончательный 1% или 5% FDR с использованием рандомизированной версии тех же баз данных Uniprot для людей или мышей. Отношения iTRAQ на уровне белка рассчитывали как взвешенные по интенсивности с использованием только пептидов с ожидаемыми значениями <1% или 5% FDR. Поскольку это были эксперименты по иммунопреципитации белков, глобальная нормализация для соотношений не применялась. Затем рассчитывали обогащение белком путем деления истинных соотношений белков в образцах на соответствующие соотношения в контрольных образцах со значением 1,8, используемым в качестве порогового значения для обогащения (> 2 СО).

[00401] Экспрессия CA19-9 повышена у пациентов с панкреатитом:

[00402] Панкреатит представляет собой тяжелое и распространенное заболевание, которое может привести к смерти или хроническому патологическому состоянию со значительной заболеваемостью, системной воспалительной реакцией и синдромами полиорганной недостаточности. Панкреатит также связан с повышенным в 16,5 раз риском развития рака поджелудочной железы (Lowenfels, A. B. et al. N Engl J Med 328, 1433-1437 (1993), которая полностью включена в данный документ посредством ссылки), что ясно указывает на то, что в дальнейшем необходимо изучение этиологии и лечения панкреатита. Изменения гликозилирования, включая повышение CA19-9, были отмечены в сыворотке некоторых пациентов с панкреатитом (10-30%), но этому гликановому эпитопу не приписывается никакой роли в прогрессировании заболевания (Haglund, C. et al., Br J Cancer 53, 189-195 (1986); Makovitzky, J. Virchows Archiv. B, Cell pathology including molecular pathology 51, 535-544 (1986); обе из которых включены в данный документ посредством ссылки). Мы оценили тканевый микрочип (ТМА) образцов резецированного панкреатита и обнаружили, что СА19-9 преимущественно экспрессируется в протоковых, но не ацинарных эпителиальных клетках более чем у 90% пациентов (Фиг. 1A, 1B), демонстрируя его заметное присутствие при этом заболевании. CA19-9 образуется путем постадийного добавления различных сахарных фрагментов к цепям-предшественникам типа 1, что завершается связыванием α1,4-фукозы с N-ацетилглюкозамином (GlcNAc) (Фиг. 1С), и его можно мультивалентно добавлять к секретируемым и клеточным поверхностным белкам. Оценка функциональной значимости CA19-9 у мышей затруднена из-за отсутствия у них Fut3, который является псевдогеном у грызунов (Xia, B. et al., Anal Biochem 387, 162-170 (2009); Narimatsu, H. in Handbook of Glycosyltransferases and Related Genes (eds Naoyuki Taniguchi et al.) 218-225 (Springer Japan, 2002); оба документа включены в данный документ посредством ссылки). Fut3 представляет собой единственную фукозилтрансферазу, способную присоединять фукозные фрагменты через α1,4 линкер. Мы обнаружили, что экспрессия как FUT3, так и β3GALT5, которая необходима для производства предшественников цепи типа I (Ishijima, N. et al. J Biol Chem 286, 25256-25264 (2011), которая полностью включена в данный документ посредством ссылки), была необходима для продукции CA19-9 (сиалил-Льюис a, SLea) в культурах клеток аденокарциномы протока поджелудочной железы (PDAC) мышей (Фиг. 1C-E). Экспрессия как FUT3, так и β3GALT5 приводила к экспрессии CA19-9 на клеточной поверхности на уровнях, эквивалентных уровням, наблюдаемым в линии раковых клеток человека (Colo205) (Фиг. 1E). Чтобы подтвердить, что эпитоп CA19-9 экспрессируется соответствующим образом в сконструированных клетках PDAC мыши, их сравнивали с линиями клеток PDAC человека и было обнаружено, что они также демонстрируют ожидаемую мембранную локализацию в культуре (Фиг. 1F). Кроме того, белки, конъюгированные с CA19-9, секретировались in vivo после ортотопической трансплантации, демонстрируя продукцию CA19-9 на уровнях, сравнимых с уровнями реципиентов трансплантата линии клеток PDAC человека (Фиг. 1G).

[00403] Чтобы определить, присоединен ли CA19-9 к белкам в системе экспрессии грызунов фиктивно, модифицированные белки CA19-9, присутствующие в линиях сконструированных клеток PDAC мыши, сравнивали с эндогенными модифицированными белками CA19-9, присутствующими в клетках PDAC человека. Белки-носители CA19-9 были иммунопреципитированы (IP) и идентифицированы посредством масс-спектрометрического (МС) сравнения клеток, экспрессирующих CA19-9 (FB), с контролями, трансдуцированными пустым вектором (Neo) (Фиг. 2A). Различия в относительном содержании белка между положительными и отрицательными клетками CA19-9 определяли с использованием изобарических меток для относительного и абсолютного количественного анализа (iTRAQ) (Ross, PL et al. Mol Cell Proteomics 3, 1154-1169 (2004), которая включена в данный документ полностью посредством ссылки). Два клона антитела к CA19-9 были отобраны на основании их использования в литературе (5B1, NS19-9) (Koprowski, H. et al. Somatic Cell Genet 5, 957-971 (1979); Sawada, R. et al. Clin. Cancer Res 17, 1024-1032 (2011); обе из которых включены в данный документ посредством ссылки). С использованием любого антитела к CA19-9 белки-носители CA19-9 были определены как носители с повышенной по меньшей мере в 1,5 раза экспрессией у положительных по CA19-9 образцов относительно отрицательных образцов. В этих анализах идентифицировали известные белки-носители CA19-9 в клетках мыши FB, включая Mucl, Lgals3bp, CD44 и Muc5ac.(Sperandio, M. et al., Immunological reviews 230, 97-113 (2009); Yue, T. et al. PLoS One 6, e29180 (2011); Yue, T. et al. Proteomics 11, 3665-3674 (2011); Hirao, Y. et al., Journal of Molecular Biomarkers & Diagnosis 03, (2012); все из которых включены в данный документ посредством ссылки). Линия клеток PDAC человека, MiaPaCa-2, является CA19-9-отрицательной и используется в качестве контроля для идентификации ядерных белков CA19-9 человека в CA19-9-положительных линиях клеток, Capan2, Suit2 и hMl-2D (Фиг. 2B). Мы сравнили белки-носители CA19-9 мыши и человека и обнаружили, что в среднем 72,3% (95% ДИ 60,3-84,3%) модифицированных белков CA19-9, идентифицированных в трех из трех линий клеток PDAC человека, также были обнаружены в трех мышиных линиях клеток FB PDAC, демонстрирующие, что экспрессия FUT3 и β3GALT5 в клетках мыши в значительной степени повторяет профиль носителя CA19-9 человека (Фиг. 2C). Всего 4260 неизбыточных белков, которые являются носителями сиалил-Льюис a в трех клетках протоковой аденокарциномы поджелудочной железы (PDAC) мышиной модели, всего 1521 общий белок, которые являются носителями сиалил-Льюис a в трех клетках PDAC мышиной модели, всего 3017 неизбыточных белков, которые являются носителями сиалил-Льюис a в трех клетках PDAC человеческой модели, и всего было идентифицировано 926 общих белков, которые являются носителями сиалил-Льюис a в трех клетках PDAC человеческой модели.

[00404] Экспрессия CAl9-9 вызывает панкреатит:

[00405] (Мы создали эмбриональные стволовые клетки мыши (mES), которые мультигенно экспрессируют FUT3, β3GALT5 и eGFP через индуцибельный и условный промотор, регулируемый LoxP-фланкированной кассетой STOP (LSL) и чувствительным к тетрациклину промоторным элементом (TRE) (Фиг. 3A-3D) Beard, C. et al., Genesis 44, 23-28 (2006), которая полностью включена в данный документ посредством ссылки). Было создано несколько типов мышиных моделей, которые включали или экспрессию во всем теле (R;F), или во всей поджелудочной железе (cPDx;RLSL;F) или фокальных областях поджелудочной железы (CPDX или P 48;RLSL;FLSL) CA19-9. Во всех моделях CA19-9 мышей непанкреатические ткани демонстрировали нормальную гистологию по сравнению с генетически отрицательными контролями из однопометных потомков после курса применения Dox (Фиг. 4-24). Удивительно, но все модели выборочно демонстрировали физиологические, гистологические и серологические признаки панкреатита (ацинарная атрофия, инвазия иммунных клеток, отложение коллагена, повышенная липаза и амилаза), тогда как панкреатит не наблюдался у получавших Dox генетически отрицательных контрольных животных или не получавших лечение мышей (Фиг. 25A- 25C, 26-27, 28A-28C).

[00406] Экспрессия eGFP и CA19-9 после введения Dox указывает на экспрессию в ожидаемых тканях каждой CA19-9 мышиной модели (Фиг. 25A, Фиг. 29A-29B, Фиг. 30A-30B, Фиг. 31-47). В R;F и CPDX RLSL F моделях экспрессия eGFP была обнаружена с помощью иммуногистохимии (ИГХ) в большинстве протоков поджелудочной железы и ацинарных клеток мозаичным образом в островках и никогда - в строме поджелудочной железы или эндотелиальных компартментах (Фиг. 29А, 30А-30В, 31). eGFP также был обнаружен Dax-зависимым образом во всех других органах R;F мышей (Фиг. 32-33). Напротив, CPDXP48;RLSL\ FLSL модели проявляли положительную реакцию на eGFP спорадически в ацинарном компартменте, редко в протоковом компартменте и никогда в островковых, стромальных или эндотелиальных компартментах поджелудочной железы (Фиг. 29A). Как и ожидалось, рекомбинация, управляемая промотором PDX, также привела к Dox-зависимой мозаичной экспрессии eGFP в двенадцатиперстной кишке и желчном пузыре, тогда как рекомбинация, опосредованная p48-CRE, не привела к экспрессии eGFP в непанкреатических органах (Фиг. 34-39). В R;F и C;RLSL\F моделях CA19-9 преимущественно обнаруживался во внутрилобулярных и интеркалированных протоковых клетках и островковых клетках поджелудочной железы, с редкими положительными ацинарными клетками (Фиг. 25A, Фиг. 29B). CA19-9 был в первую очередь обнаружен в ацинарном компартменте и редко в протоковых клетках C; RLSL;FLSL модели с использованием либо PDXI-, либо p48-управляемой CRE со спорадической положительностью островков, ограниченной моделью, управляемой PDX-Cre (Фиг. 29B). У R;F мышей CA19-9 был обнаружен во всех тканях, исследованных после обработки Dox (Фиг. 40-43). Экспрессия CA19-9 была ограничена поджелудочной железой, двенадцатиперстной кишкой и желчным пузырем в моделях, управляемых PDX1-CRE, но не наблюдалась непанкреатическая экспрессия CA19-9 у мышей, управляемых p48-CRE (Фиг. 44-47). Детальная иммунофлуоресцентная оценка R;F поджелудочной железы выявила совместную экспрессию CA19-9, eGFP и протокового маркера CK19. Интересно, что хотя ацинарные клетки часто также экспрессировали eGFP, они оставались CA19-9-отрицательными. Кроме того, островки часто были дважды положительными по eGFP и CA19-9, хотя некоторые eGFP-отрицательные островковые клетки были также положительными по CA19-9. Экспрессия CA19-9 была также обнаружена в eGFP-отрицательных клетках сосудистой сети и стромальных клетках. Дополнительные иммунофлуоресцентные анализы показали, что eGFP-отрицательные, подопланин-положительные клетки (фибробласты) существуют как в положительном, так и в отрицательном состояниях в отношении CA19-9. Эти данные демонстрируют накопление секретируемого CA19-9 в отрицательной по eGFP сосудистой сети и строме (Фиг. 29B, 30A-30B, и 31).

[00407] У R;F мышей наблюдали высокопенетрантный панкреатит, потерю массы тела и атрофию поджелудочной железы после экспрессии CA19-9, что в некоторых случаях приводило к потере более 20% массы тела и последующей эвтаназии (Фиг. 48A-48B). R;F мыши не вырабатывали заметного количества антител, направленных против CA19-9 (Фиг. 49A), и все непанкреатические ткани выглядели гистологически здоровыми (Фиг. 4-6), , что указывает на то, что наблюдаемый панкреатит не является аутоиммунным. Вместо этого вполне вероятно, что потеря массы у R;F после введения Dox связана с высокой пенетрантностью панкреатита, учитывая, что эта модель не основана на Cre-опосредованной рекомбинации. Действительно, внешнесекреторная недостаточность поджелудочной железы часто наблюдается при хроническом панкреатите и сопровождается резкой потерей массы у пациентов (Struyvenberg MR et al., BMC Med.;15(1):29-, (Feb 10, 2017)). Значительная степень атрофии поджелудочной железы, наблюдаемая в R;F модели (Фиг. 48B), и недостаточная продукция пищеварительных ферментов (Фиг. 49B) предполагает, что эти мыши страдают экзокринной недостаточностью поджелудочной железы. Также маловероятно, что потеря массы происходит из-за потери гликемической регуляции, поскольку при случайном кормлении в статусе R;F и cPDx;RLSL\F мыши, экспрессирующие CA19-9, демонстрировали нормальные уровни глюкозы в крови по сравнению с получавшими носитель и не получавшими аналоги (Фиг. 49C).

[00408] При применении Dox cPDx;RLSL\F мышей также выявлены высокопенетрантный панкреатит и повышенные уровни амилазы и липазы без потери массы тела или массы поджелудочной железы (Фиг. 25A-25C и 48A-48B). При лечении CPDXp 48;RLSL\FLSL мышей выявлены меньшие очаги панкреатита и повышенные уровни амилазы и липазы по сравнению с генетическим и не получавшим лечение контролем без потери массы тела или массы поджелудочной железы (Фиг. 26-27, 28A-28C и 48A-48B). Все модели показали нормализацию уровней амилазы и липазы после 4 недель применения Dox, но показали гистологические признаки хронического панкреатита (Фиг. 25A-25C, 26-27 и 28A-28C). Повышенные уровни CA19-9 обнаруживались в плазме R;F и C;RLSL\F мышей после применения Dox, но не в cPDx;RLSL\FLSL модели (Фиг. 49D и 50A). Дальнейшие исследования были сосредоточены на cPDx;RLSL\F мышах с учетом высокой пенетрантности фенотипа панкреатита без панкреатической недостаточности и потери массы с правильной локализацией поджелудочной железы и секрецией CA19-9.

[00409] Типы иммунных клеток, присутствующие в селезенке, лимфатических узлах и поджелудочной железе cPDx;RLSL\F мышей относительно церулеиновой модели острого панкреатита были охарактеризованы с помощью проточной цитометрии и было определено, что приток воспалительных моноцитов и макрофагов в поджелудочную железу для обеих моделей не изменяет представленности типов иммунных клеток в селезенке или лимфатических узлах после индукции панкреатита (Фиг. 50B и 51A). Ни одна из моделей не демонстрировала рекрутирования Т- или В-клеток в исследуемые моменты времени (1-3 дня) (Фиг. 51В).

Пример 3

[00410] Способы и анализы, описанные в Примере 2, включены в этот Пример.

[00411] Экспрессия CA19-9 вызывает пролиферацию протоков и изменения сигналинга:

[00412] Экспрессия CA19-9 в генетической мышиной модели приводила к увеличению пролиферации поджелудочной железы, в частности, в протоковых клетках и иммунных клетках, как было оценено с помощью иммуногистохимии на Ki67 (ИГХ) и включения Edu in vivo (Фиг. 52A и 53A-53B). Не было доказательств Dax-зависимой индукции Atf4 и Bip в культурах ацинарных эксплантатов, несмотря на стимуляцию высвобождения фермента, что снижает вероятность того, что протеотоксический стресс играет роль в наблюдаемом панкреатите (Фиг. 52B-52C).

[00413] Чтобы проанализировать изменения в сигнальном пути, которые происходят при прямом ответе на экспрессию CA19-9, мы выделили протоковые органоиды поджелудочной железы от cPDx;RLSL\F мышей (Boj, Sylvia F. et al. Cell 160, 324-338 (2015), который включен полностью посредством ссылки). Анализ методом секвенирования РНК cPDx;RLSL\F органоидов после индукции экспрессии CA19-9 выявил ожидаемые изменения в экспрессии трансгена (Фиг. 54A-54F) и обеспечил экспрессию FUT3 и β3GALT5 в протоковых органоидах мыши на уровнях в пределах диапазона, эндогенно наблюдаемого в протоковых органоидах человека (Фиг. 54D) (Tiriac, H. et al. CancerDiscov, doi: 10.1158/2159- 8290.CD-18-0349. [Epub ahead of print] (2018), который полностью включен посредством ссылки). При помощи анализа представленности групп генов (GSEA) выявлено уменьшение набора генов реакции на несвернутые белки и обогащение путей, связанных с хемокином, сигналинга ТФР-бета после экспрессии CA19-9 (Фиг. 55A-55C и 56A-56B). Мы дополнительно исследовали обогащение сигналинга Erbb, PI3K и Akt после экспрессии CA19-9 (Фиг. 55A-55C и 56A-56B). Dax-индуцированная экспрессия CA19-9 в cPDx;RLSL\F органоидах избирательно и заметно повышала фосфорилирование РЭФР при одновременном снижении уровней общего РЭФР, что указывает на больший поток через этот путь (Фиг. 57A). Увеличение фосфо-РЭФР сопровождалось повышенными уровнями фосфо-Akt и фосфо-Erkl/2 (Фиг. 57A).Не наблюдалось устойчивых изменений общего или фосфо-S6, Her2 и p65. (Фиг. 57B). Эти результаты не зависели от включения мышиного Egf в культуральную среду (Фиг. 57C). Кроме того, фосфо-РЭФР присутствовал in vivo в протоках поджелудочной железы C;RLSL\F мышей после применения Dox (Фиг. 57D). Экспрессия CA19-9 не изменяла пролиферацию C;RLSL\F, R;F или C;RLSL\FLSL после индукции при помощи Dox экспрессии CA19-9, а также в нормальных протоковых органоидах поджелудочной железы мышей с конститутивной экспрессией CA19-9 (Фиг. 58A-58D), предполагая, что для увеличения пролиферации в протоках in vivo необходимы дополнительные внешние сигналы.

[00414] Сообщалось, что состояние гликозилирования РЭФР может влиять на его способность активировать и отвечать на целевые ингибиторы киназ (Liu, Y. C. et al. Proc Natl Acad Sci US A 108, 11332-11337 (2011); Matsumoto, K. et al. Cancer science 99, 1611-1617 (2008); обе из которых полностью включены в данный документ посредством ссылки), но мы не обнаружили модификацию CA19-9 в РЭФР (Фиг. 59A). Кроме того, экспрессия CA19-9 также не влияла на ЭК50 или ингибирующий рост фенотип ингибиторов киназы ERBB эрлотиниба и нератиниба на cPDx;RLSL\F органоиды(Фиг. 59B-59C). С другой стороны, добавления моноклонального антитела к CA19-9 было достаточно для блокирования фосфорилирования РЭФР в нормальных органоидах, индуцированного экспрессией CA19-9 с помощью Dox (Фиг. 60).

Пример 4

[00415] Способы и анализы, описанные в Примерах 2 и 3, включены в данный пример.

[00416] Панкреатит, вызванный CA19-9, обратим, и его можно лечить с помощью антител, специфичных к CA19-9:

[00417] Мы также обнаружили на генетической мышиной модели, что панкреатит, опосредованный CA19-9, был полностью обратимым после 3-дневного введения Dox и 4-дневного периода восстановления (Фиг. 61A-61B). Эти данные предполагают, что нацеливание на CA19-9 может быть терапевтически полезным для уменьшения степени тяжести и рецидивов эпизодов панкреатита. Важно отметить, что антитела, направленные к CA19-9, также улучшали гистологические и серологические признаки панкреатита и снижали гиперактивацию РЭФР in vivo в случаях острого панкреатита (24 часа 2 г/л Dox, клон NS19-9) и острого панкреатита тяжелой степени (7 дней после 0,5 г/л Dox, клон 5B1), что позволяет предположить роль гликана и основных полипептидов, к которым он присоединен, в патогенезе заболевания (Фиг. 62A-62D, 63A-63C и 64A-64C). Однако ингибитор РЭФР, эрлотиниб, парадоксальным образом не смог заменить терапию антителом к CA19-9, так как лечение эрлотинибом за 24 часа до индукции панкреатита приводило к серьезной потере массы более чем на 20%, что привело к гуманной конечной точке до завершения исследования. Атрофия поджелудочной железы была очевидна при некропсии, а вакуолизация ацинарного компартмента была очевидна при гистологическом исследовании (Фиг. 65A-65B). Эти эффекты не были связаны с токсичностью, связанной с эрлотинибом у нормальных мышей (C57Bl/6J) (Фиг. 65C-65D). Эти данные предполагают, что активация РЭФР служит защитным механизмом для ацинарного компартмента после инициирования воспалительного каскада с помощью CA19-9.

[00418] Чтобы определить, вызвана ли CA19-9-зависимая активация РЭФР растворимым лигандом, оценивали кондиционированную среду из CA19-9-положительных органоидов, и было обнаружено, что она стимулирует фосфорилирование РЭФР в контрольных протоковых органоидах мышей (Фиг. 66A). Эта активность ослаблялась добавлением РЭФР-Fc (ловушка РЭФР), дополнительно поддерживая присутствие одного или более лигандов РЭФР (Фиг. 66B). Поскольку эти результаты предполагали присутствие модифицированного CA19-9 секретируемого лиганда РЭФР, типичные модифицированные CA19-9 белки были идентифицированы с помощью IP/MS (Таблица 3 и Таблица 4 ниже).

Таблица 3. Данные IP/MS для CA19-9 из кондиционированных сред C;RLSL;F или генетически отрицательный органоид (A220 и A217, соответственно) после 8 часов обработки Dox. «17 0H NS19» означает органоиды A217 до обработки NS19-9; «17 8H NS19» означает органоиды A217 после 8 часов обработки NS19-9; «17 0H 5B1» означает органоиды A217 до обработки 5B1; «17 8H 5B1» означает органоиды A217 после 8 часов обработки 5B1; «20 0H NS19» означает органоиды A220 до обработки NS19-9; «20 8H NS19» означает органоиды A220 после 8 часов обработки NS19-9; «20 0H 5B1» означает органоиды A220 до обработки 5B1; «20 8H 5B1» означает органоиды A220 после 8 часов обработки 5B1.

Семейство Член Номер доступа UniProt_мышь 170H NS19 178H NS19 170H
5B1
178H
5B1
200H NS19 208H NS19 200H
5B1
208H
5B1
Описание
1 1 1 P01868 1 1,113 0,158 0,094 1,102 1,139 0,098 0,181 С-область гамма1-цепи lg, секретируемая форма, OS=Mus musculus GN=lghg1 PE=1 SV=1 1 2 AOA075B5P4 1 1,116 0,152 0,09 1,099 1,136 0,092 0,171 С-область гамма1-цепи lg, секретируемая форма (фрагмент), OS=Mus musculus GN=lghg1 PE=1 SV=1 2 1 P07724 1 1,1 0,409 0,388 1,072 1,113 0,288 0,405 Сывороточный альбумин, OS=Mus musculus GN=Alb PE=1 SV=3 3 1 P01637 1 0,661 0,17 0,158 0,991 1,149 0,133 0,202 T1 V-V-области каппа-цепи lg, OS=Mus musculus PE=4 SV=1 3 2 AOAI40T8P9 1 0,548 0,235 0,197 0,987 1,184 0,173 0,313 Вариабельная область каппа-цепи иммуноглобулина 14-111 (фрагмент), OS=Mus musculus GN=lgkv14-111 PE=4 SV=2 4 1 P01837 1 0,885 0,072 0,091 0,931 1,189 0,057 0,103 С-область каппа-цепи lg, OS=Mus musculus PE=1 SV=1 4 2 AOA075B5P2 1 0,882 0,072 0,09 0,932 1,192 0,057 0,103 Константная область каппа-цепи иммуноглобулина (фрагмент), OS=Mus musculus GN=lgkc PE=1 SV=1 5 1 P20152 1 0,527 10,657 10,327 0,566 0,661 10,501 10,411 Виментин, OS=Mus musculus GN=Vim PE=1 SV=3 5 2 P50446 1 1,21 1,494 0,796 0,708 0,462 1,064 1,845 Цитоскелетный кератин 6А, тип II, OS=Mus musculus GN=Krt6a PE=1 SV=3 5 3 Q922U2 1 1,206 1,435 0,816 0,707 0,482 1,016 1,859 Цитоскелетный кератин 5, тип II, OS=Mus musculus GN=Krt5 PE=1 SV=1 5 4 E9QlZO 1 1,128 1,417 0,778 0,71 0,468 0,988 1,828 Кератин 90, OS=Mus musculus GN=Krt90 PE=1 SV=1 5 5 P04104 1 1,547 1,458 0,711 0,521 0,596 1,083 2,299 Цитоскелетный кератин 1, тип II, OS=Mus musculus GN=Krt1 PE=1 SV=4 5 6 P11679 1 1,075 3,427 3,472 0,475 0,566 2,793 3,151 Цитоскелетный кератин 8, тип II, OS=Mus musculus GN=Krt8 PE=1 SV=4 5 7 P31001 1 0,743 22,1 21,134 0,914 1,1 20,623 20,94 Десмин, OS=Mus musculus GN=Des PE=1 SV=3 5 8 Q6IFZ6 1 2,003 1,722 0,85 0,434 0,57 1,282 2,155 Цитоскелетный кератин 1b, тип II, OS=Mus musculus GN=Krt77 PE=1 SV=1 5 9 Q3TTY5 1 2,077 1,234 0,65 0,466 0,496 1,285 1,328 Цитоскелетный кератин 2, тип II, эпидермальный, OS=Mus musculus GN=Krt2 PE=1 SV=1 5 10 Q3UV17 1 1,383 1,233 0,725 0,829 0,433 1,003 1,926 Цитоскелетный кератин 2, тип II, пероральный, OS=Mus musculus GN=Krt76 PE=1 SV=1 5 11 Q8VED5 1 1,679 2,503 0,726 0,478 0,383 1,138 1,565 Цитоскелетный кератин 79, тип II, OS=Mus musculus GN=Krt79 PE=1 SV=2 5 12 Q9DCV7 1 1,01 4,42 3,691 0,557 0,578 3,596 3,895 Цитоскелетный кератин 7, тип II, OS=Mus musculus GN=Krt7 PE=1 SV=1 6 1 Q68FD5 1 0,654 3,27 3,203 0,549 0,569 2,822 3,475 Тяжелая цепь 1 клатрина, OS=Mus musculus GN=Cltc PE=1 SV=3 7 1 P52480 1 0,517 5,698 6,066 0,592 0,633 5,275 6,739 Пируваткиназа PKM, OS=Mus musculus GN=Pkm PE=1 SV=4 8 1 Q9WVF5 1 1,022 0,277 0,206 1,044 0,325 0,288 0,925 Рецептор эпидермального фактора роста, OS=Mus musculus GN=EgfrPE=1 SV=1 9 1 P05213 1 0,679 6,255 6,52 0,623 0,665 4,707 6,258 Тубулин, альфа-1B цепь, OS=Mus musculus GN=Tuba1b PE=1 SV=2 9 2 P68373 1 0,65 6,066 6,264 0,588 0,627 4,46 5,891 Тубулин, альфа-1C цепь, OS=Mus musculus GN=Tuba1c PE=1 SV=1 110 1 P11499 1 0,678 5,162 5,452 0,681 0,748 4,681 5,627 Белок теплового шока HSP90-бета, OS=Mus musculus GN=Hsp90ab1 PE=1 SV=3 10 2 P07901 1 0,689 4,213 4,407 0,616 0,728 3,683 4,413 Белок теплового шока HSP90-альфа, OS=Mus musculus GN=Hsp90aa1 PE=1 SV=4 10 3 P08113 1 0,927 3,5 3,435 0,525 0,585 2,739 3,536 Эндоплазмин, OS=Mus musculus GN=Hsp90b1 PE=1 SV=2 11 1 P99024 1 0,649 4,289 4,365 0,567 0,615 3,894 4,685 Тубулин, бета-5 цепь, OS=Mus musculus GN=Tubb5 PE=1 SV=1 11 2 P68372 1 0,585 4,286 4,135 0,593 0,671 3,906 4,686 Тубулин, бета-4B цепь, OS=Mus musculus GN=Tubb4b PE=1 SV=1 11 3 Q9CWF2 1 0,687 4,532 4,413 0,612 0,674 4,113 4,992 Тубулин, бета-2B цепь, OS=Mus musculus GN=Tubb2b PE=1 SV=1 12 1 AOA075B5T3 1 1,062 0,242 0,177 0,944 0,958 0,178 0,34 Вариабельная область тяжелой цепи иммуноглобулина 6-6 (фрагмент), OS=Mus musculus GN=lghv6-6 PE=4 SV=1 12 2 P01796 1 0,872 0,201 0,164 0,867 0,951 0,159 0,267 А4 V-III-области тяжелой цепи lg, OS=Mus musculus PE=1 SV=1 13 1 P26443 1 0,564 6,728 7,206 0,637 0,609 6,1 7,041 Глутаматдегидрогеназа 1, митохондриальная, OS=Mus musculus GN=Glud1 PE=1 SV=1 14 1 P58252 1 0,555 4,768 5,051 0,55 0,638 4,22 5,289 Фактор элонгации 2, OS=Mus musculus GN=Eef2 PE=1 SV=2 15 1 AOA075B5P3 1 1,005 0,466 0,454 1,157 1,16 0,397 0,454 Константная область тяжелой цепи гамма 2B иммуноглобулина (фрагмент), OS=Mus musculus GN=lghg2b PE=1 SV=1 15 2 P01867 1 1,002 0,442 0,439 1,135 1,193 0,388 0,419 С-область цепи гамма-2B lg, OS=Mus musculus GN=lgh-3 PE=1 SV=3 15 3 P01863 1 0,984 0,471 0,46 1,392 1,411 0,417 0,488 С-область цепи гамма-2А lg, аллель A, OS=Mus musculus Gn=lghg PE=1 SV=1 16 1 P50247 1 0,536 6,74 7,244 0,646 0,64 5,616 7,209 Аденозилгомоцистеиназа, OS=Mus musculus GN=Ahcy PE=1 SV=3 17 1 A2A513 1 1,771 1,267 0,488 0,484 0,464 1,177 1,743 Цитоскелетный кератин 10, тип l, OS=Mus musculus GN=Krt10 PE=1 SV=1 17 2 Q9QWL7 1 0,727 3,614 0,892 0,406 0,368 0,848 1,769 Цитоскелетный кератин 17, тип l, OS=Mus musculus GN=Krt17 PE=1 SV=3 17 3 BlAQ77 1 1,273 1,809 0,654 0,433 0,447 1,023 1,772 Кератин 15, изоформа CRA_a, OS=Mus musculus GN=Krt15 PE=1 SV=1 17 4 Q9Z2Kl 1 1,553 1,366 0,566 0,469 0,498 1,182 1,796 Цитоскелетный кератин 16, тип l, OS=Mus musculus GN=Krt16 PE=1 SV=3 17 5 P19001 1 0,774 2,718 1,015 0,367 0,379 0,775 1,614 Цитоскелетный кератин 19, тип l, OS=Mus musculus GN=Krt19 PE=1 SV=1 18 1 035565 1 0,678 6,079 6,439 0,77 0,847 6,246 7,582 Фактор роста фибробластов 10, OS=Mus musculus GN=Fgf10 PE=2 SV=1 19 1 P63017 1 0,77 6,36 6,817 0,778 0,746 5,57 6,947 Когнатный белок теплового шока массой 71 кДа, OS=Mus musculus GN=Hspa8 PE=1 SV=1 19 2 P17879 1 0,65 3,157 3,557 0,511 1,538 3,1 3,903 Белок теплового шока 1B, массой 70 кДа, OS=Mus musculus GN=Hspa1b PЕ=1 SV=3 19 3 P16627 1 0,657 3,45 3,954 0,55 1,549 3,284 4,238 Белок 1, подобный белку теплового шока, массой 70 кДа, OS=Mus musculus GN=Hspall PE=1 SV=4 19 4 P20029 1 0,748 5,836 6,854 0,833 0,721 5,533 7,259 Регулируемый глюкозой белок массой 78 кДа, OS=Mus musculus GN=Hspa5 PE=1 SV=3 20 1 Q9ZlR9 1 1,142 0,931 0,878 0,182 0,169 0,282 0,231 MCG124046, OS=Mus musculus GN=Prss1 PE=1 SV=1 20 2 Q792Y8 1 1,165 0,901 0,816 0,151 0,137 0,24 0,17 MCG15081, OS=Mus musculus GN=Gm10334 PE=3 SV=1 21 1 P14206 1 0,674 5,639 5,687 0,707 0,791 5,321 6,366 40S рибосомный белок SA, OS=Mus musculus GN=Rpsa PE=1 SV=4 22 1 Q61838 1 1,026 0,396 0,354 1,187 1,182 0,309 0,339 Белок зоны беременности, OS=Mus musculus GN=Pzp PE=1 SV=3 23 1 AOA075B5P6 1 1,032 0,45 0,468 1,045 0,973 0,41 0,531 С-область мю-цепи lg (фрагмент), OS=Mus musculus GN=Ighm PE=1 SV=1 24 1 AOAOAOMQF6 1 0,717 7,518 7,779 0,795 0,656 6,46 8,331 Глицеральдегид-3-фосфатдегидрогеназа, OS=Mus musculus GN=Gapdh PE=1 SV=1 25 1 P10126 1 0,652 5,036 4,381 0,694 0,804 3,724 4,767 Фактор элонгации 1-альфа 1, OS=Mus musculus GN=Eef1a1 PE=1 SV=3 25 25 2 P62631 1 0,615 5,35 4,606 0,687 0,783 4,076 5,042 Фактор элонгации 1-альфа 2, OS=Mus musculus GN=Eef1a2 PE=1 SV=1 26 1 P97466 1 0,71 10,036 10,991 0,805 0,762 9,104 10,895 Ноггин, OS=Mus musculus GN=Nog PE=2 SV=1 27 1 P68040 1 0,639 4,614 4,672 0,69 0,617 3,944 5,059 Рецепторный белок RACK1, OS=Mus musculus GN=Rack1 PE=1 SV=3 28 1 P80314 1 0,712 2,306 2,255 0,731 0,642 1,964 2,584 Субъединица бета T-комплексного белка 1, OS=Mus musculus GN=Cct2 PE=1 SV=4 29 1 Q07797 1 0,777 4,31 4,679 0,613 0,795 4,024 6,366 Галектин-3-связывающий белок, OS=Mus musculus GN=Lgals3bp PE=1 SV=1 30 1 P80315 1 0,596 2,439 2,546 0,462 0,599 2,235 2,701 Субъединица дельта T-комплексного белка 1, OS=Mus musculus GN=Cct4 PE=1 SV=3 30 2 P80316 1 0,44 3,653 2,923 0,648 0,526 2,631 3,033 Субъединица эпсилон T-комплексного белка 1, OS=Mus musculus GN=Cct5 PE=1 SV=1 31 1 P99027 1 0,448 4,432 4,951 0,523 0,625 4,357 4,495 60S кислый рибосомный белок P2, OS=Mus musculus GN=Rplp2 PE=1 SV=3 32 1 Q02053 1 0,563 3,51 3,389 0,499 0,55 2,73 3,229 Убиквитин-подобный модификатор-активирующий фермент 1, OS=Mus musculus GN=Ubal PE=1 SV=1 33 1 Q9ET01 1 0,651 2,278 2,313 0,5 0,366 1,898 2,282 Гликогенфосфорилаза, печеночная форма, OS=Mus musculus GN=Pyg1 PE=1 SV=4 33 2 E9PUM3 1 0,522 2,479 2,508 0,457 0,424 2,245 2,793 Альфа-1,4-глюканфосфорилаза, OS=Mus musculus GN=Pygm PE=1 SV=1 34 1 Q9D8NO 1 0,711 3,914 3,944 0,68 0,54 3,488 4,008 Фактор элонгации 1-гамма, OS=Mus musculus GN=Eef1g PE=1 SV=3 35 1 AOAOAOMQA3 1 0,966 0,444 0,372 0,882 0,942 0,291 0,285 Альфа-1-антитрипсин 1-1, OS=Mus musculus GN=Serpina1a PE=1 SV=1 35 2 P22599 1 1,003 0,416 0,39 0,9 0,944 0,277 0,297 Альфа-1-антитрипсин 1-2, OS=Mus musculus GN=Serpina1b PE=1 SV=2 35 3 Q00897 1 1,015 0,385 0,397 0,869 0,935 0,282 0,284 Альфа-1-антитрипсин 1-4, OS=Mus musculus GN=Seroina1d PE=1 SV=1 36 1 P60710 1 0,835 2,534 1,997 0,762 0,661 1,67 1,935 Цитоплазматический актин 1, OS=Mus musculus GN=Actb PE=1 SV=1 37 1 P01670 1 1,113 0,134 0,095 0,775 0,921 0,066 0,142 PC 6684 V-III-области каппа-цепи lg, OS=Mus musculus PE=l SV=l 37 2 P01654 1 0,717 0,676 0,844 0,849 0,875 0,743 0,894 PC 2880/PC 1229 V-III-области каппа-цепи lg, OS=Mus musculus PE=1 SV=1 37 3 P01659 1 0,711 0,557 0,746 0,844 0,915 0,652 0,816 TEPC 124 V-III-области каппа-цепи lg, OS=Mus musculus PE=1 SV=1 37 4 P01644 1 1,128 0,107 0,072 0,774 0,92 0,045 0,077 HP Rl6.7 V-V-области каппа-цепи lg, OS=Mus musculus PE=1 SV=1 38 1 035490 1 0,438 4,545 4,685 0,493 0,407 4,172 5,147 Бетаин-гомоцистеин-S-метилтрансфераза 1, OS=Mus musculus GN=BhmtPE=1 SV=1 39 1 P24270 1 0,606 3,37 3,427 0,565 0,629 3,106 3,732 Каталаза, OS=Mus musculus GN=Cat PE=1 SV=4 40 1 F8VQJ3 1 0,589 3,141 3,222 0,559 0,591 2,723 3,368 Субъединица гамма-1 ламинина, OS=Mus musculus GN=Lamc1 PE=1 SV=1 41 1 P35979 1 0,817 3,185 2,918 0,545 0,622 2,718 3,167 60S рибосомный белок L12, OS=Mus musculus GN=Rpl12 PE=1 SV=2 42 1 E9QOFO 1 1,094 1,235 0,783 0,652 0,524 0,83 2,297 Кератин 78, OS=Mus musculus GN=Krt78 PE=1 SV=1 43 1 AOA1BOGSR9 1 0,599 3,14 3,281 0,451 0,587 2,911 3,571 L-лактатдегидрогеназа, OS=Mus musculus GN=Ldha PE=1 SV=1 43 2 P16125 1 0,614 3,417 3,424 0,491 0,548 2,825 3,633 В-цепь L-лактатдегидрогеназы, OS=Mus musculus GN=Ldhb PE=1 SV=2 44 1 Q3V117 1 0,706 3,971 4,041 0,551 0,65 3,59 4,242 АТФ-цитратсинтаза, OS=Mus musculus GN=Acly PE=1 SV=1 45 1 Q06890 1 1,306 2,559 3,943 0,65 0,929 1,709 3,742 Кластерин, OS=Mus musculus GN=Clu PE=1 SV=1 46 1 P62827 1 0,535 3,969 3,832 0,588 0,624 3,991 4,723 ГТФ-связывающий ядерный белок Ran, OS=Mus musculus GN=RanPE=1 SV=3 47 1 P11983 1 0,605 3,461 3,706 0,603 0,562 3,052 3,845 Субъединица альфа T-комплексного белка 1, OS=Mus musculus GN=Tcp1 PE=1 SV=3 48 1 P17182 1 0,499 2,205 2,195 0,396 0,419 1,789 2,184 Альфа-енолаза, OS=Mus musculus GN=Enol PE=1 SV=3 49 1 Q8BSL7 1 0,495 1,545 1,57 0,321 0,349 1,376 1,671 Фактор АДФ-рибозилирования 2, OS=Mus musculus GN=Arf2 PE=1 SV=2 50 1 P05784 1 0,888 1,55 2,148 0,563 0,485 1,589 1,915 Цитоскелетный кератин 18, тип I, OS=Mus musculus GN=Krt18 PE=1 SV=5 51 1 P55937 1 0,697 2,495 2,198 0,538 0,51 1,942 2,181 Гольджин, подсемейство A, член 3, OS=Mus musculus GN=Golga3 PE=1 SV=3 52 1 P80318 1 0,584 5,751 5,943 0,645 0,613 4,809 6,133 Субъединица гамма Т-комплексного белка 1, OS=Mus musculus GN=Cct3 PE=1 SV=1 53 1 P47738 1 0,665 2,599 2,783 0,433 0,411 2,399 2,839 Альдегиддегидрогеназа, митохондриальная, OS=Mus musculus GN=Aldh2 PE=1 SV=1 54 1 Q8C483 1 0,615 5,397 5,208 0,527 0,6 4,274 5,248 Серин-тРНК лигаза, цитоплазматическая, OS=Mus musculus GN=Sars PE=1 SV=1 55 1 Q61753 1 0,617 4,268 3,794 0,665 0,543 3,294 3,744 D-3-фосфоглицератдегидрогеназа, OS=Mus musculus GN=Phgdh PE=1 SV=3 56 1 AOA075B5P5 1 0,9 0,713 0,622 0,896 0,913 0,526 0,562 Константная область тяжелой цепи гамма 3 иммуноглобулина (фрагмент), OS=Mus musculus GN=Ighg3 PE=4 SV=1 57 1 P80317 1 0,66 2,494 2,42 0,466 0,696 2,041 2,439 Субъединица дзета T-комплексного белка1, OS=Mus musculus GN=Cct6a PE=1 SV=3 58 1 F8VQ40 1 0,673 4,307 3,634 0,625 0,532 3,366 3,523 Субъединица альфа-1 ламинина, OS=Mus musculus GN=Lama1 PE=1 SV=1 59 1 P61164 1 0,722 3,698 3,748 0,827 0,979 3,399 4,202 Альфа-центрактин, OS=Mus musculus GN=Actrla PE=1 SV=1 60 1 P14869 1 0,534 5,899 6,377 0,489 0,497 5,955 6,89 60S кислый рибосомный белок P0, OS=Mus musculus GN=Rplp0 PE=1 SV=3 61 1 G3UY38 1 0,705 4,154 4,438 0,492 0,667 3,312 4,421 Гетерогенный ядерный рибонуклеопротеин L, OS=Mus musculus GN=Hmnpl PE=1 SV=1 62 1 Q9DBJ1 1 0,714 2,958 2,747 0,584 0,514 2,313 2,967 Фосфоглицератмутаза 1, OS=Mus musculus GN=Pgam1 PE=1 SV=3 63 1 Q00623 1 0,86 10,507 11,86 0,911 0,735 8,414 11,419 Аполипопротеин A-I, OS=Mus musculus GN=Apoal PE=1 SV=2 64 1 H3BL49 1 0,677 5,168 4,93 0,505 0,574 4,114 5,44 Субъединица тета Т-комплексного белка 1, OS=Mus musculus GN=Cct8 PE=1 SV=1 65 1 AOA087WPL5 1 0,791 5,944 7,331 0,502 0,93 6,152 6,652 АТФ-зависимая РНК-хеликаза А, OS=Mus musculus GN=Dhx9 PE=1 SV=1 66 1 Q5XJF6 1 0,67 5,135 5,499 0,621 0,587 5,037 5,953 Рибосомный белок, OS=Mus musculus GN=Rpll0a PE=1 SV=1 67 1 B2MlR6 1 0,339 3,136 2,928 0,346 0,64 2,275 2,869 Гетерогенный ядерный рибонуклеопротеин К, OS=Mus musculus GN=Hmnpk PE=1 SV=1 68 1 P01027 1 0,758 1,291 1,298 0,716 0,786 1,026 1,333 Компонент комплемента C3, OS=Mus musculus GN=C3 PE=1 SV=3 69 1 D3YX34 1 0,708 12,653 9,271 1,254 1,49 7,798 9,476 Субъединица 1 динактина, OS=Mus musculus GN=Dctnl PE=1 SV=1 70 1 P09411 1 0,798 3,736 3,461 0,631 0,542 2,25 2,901 Фосфоглицераткиназа 1, OS=Mus musculus GN=Pgkl PE=1 SV=4 71 1 AOA087WR50 1 1,051 1,541 2,37 0,785 0,885 1,116 1,747 Фибронектин, OS=Mus musculus GN=Fn1 PE=1 SV=1 72 1 Q3U367 1 0,47 2,658 2,622 0,526 0,684 2,35 2,634 4-триметиламинобутиральдегиддегидрогеназа, OS=Mus musculus GN=Aldh9a1 PE=1 SV=1 73 1 Q9CPN9 1 0,707 1,371 1,106 0,339 0,347 0,752 0,708 Ген кДНК 2210010C04 из RIKEN, OS=Mus musculus GN=2210010C04Rik PE=1 SV=1 74 1 P10493 1 0,472 2,974 2,984 0,412 0,485 2,449 3,146 Нидоген-1, OS=Mus musculus GN=Nid1 PE=1 SV=2 75 1 AOA140T8P6 1 0,657 1,018 0,803 0,764 0,97 0,823 1,101 Вариабельная область каппа цепи иммуноглобулин 12-46 (фрагмент), OS=Mus musculus GN=Igkv12-46 PE=1 SV=2 75 2 AOA140T8Ql 1 0,849 0,604 0,577 1,073 1,247 0,449 0,425 Белок lgkv 12-41 (фрагмент), OS=Mus musculus GN=Igkv12-41 PE=1 SV=2 76 1 AOA075B5K2 1 0,719 0,488 0,496 0,856 0,858 0,341 0,379 Вариабельная область каппа-цепи иммуноглобулина 9-124, OS=Mus musculus GN=Igkv9-124 PE=1 SV=7 77 1 Q8Cl96 1 0,633 2,958 3,227 0,469 0,478 2,679 3,558 Карбамоилфосфатсинтаза [аммиак], митохондриальная, OS=Mus musculus GN=Cps1 PE=1 SV=2 78 1 P80313 1 0,704 2,255 2,089 0,558 0,556 1,829 2,158 Субъединица эта T-комплексного белка 1, OS=Mus musculus GN=Cct7 PE=1 SV=1 79 1 P12023 1 1,207 1,775 3,393 0,44 1,229 1,115 4,568 Белок амилоид-бета A4, OS=Mus musculus GN=App PE=1 SV=3 80 1 D6RGQO 1 0,893 0,923 0,899 0,761 0,869 0,842 0,816 Фактор комплемента, H OS=Mus musculus GN=Cfh PE=1 SV=1 81 1 P20918 1 0,973 0,987 0,903 0,983 1,044 0,756 0,879 Плазминоген, OS=Mus musculus GN=Plg PE=1 SV=3 82 1 P60122 1 0,608 2,081 1,961 0,469 0,544 1,597 2,044 RuvB-подобный белок 1, OS=Mus musculus GN=Ruvb11 PE=1 SV=1 83 1 P01786 1 0,976 0,93 0,786 1,034 1,028 0,724 0,703 MOPC 47A V-области тяжелой цепи lg, OS=Mus musculus PE=1 SV=1 84 1 AOA171KXD3 1 0,789 3,859 3,809 0,616 0,553 3,271 4,228 Белок аргинин-N-метилтрансфераза 1, OS=Mus musculus GN=Prmt1 PE=1 SV=1 85 1 070475 1 0,596 2,177 1,917 0,367 0,574 1,929 2,18 УДФ-глюкозо-6-дегидрогеназа, OS=Mus musculus GN=Ugdh PE=1 SV=1 86 1 070310 1 0,643 2,454 2,24 0,699 0,691 2,047 2,201 Глицилпептид N-тетрадеканоилтрансфераза 1, OS=Mus musculus GN=Nmt1 PE=l SV=l 87 1 AOA140T8V5 1 0,73 3,129 3,124 0,687 0,803 2,62 3,306 Ядерный антиген пролиферирующих клеток, OS=Mus musculus GN=Pcna-ps2 PE=3 SV=1 88 1 AOAOUlRNJl 1 0,789 3,48 3,49 0,568 0,494 3,075 3,575 Синтаза жирных кислот, OS=Mus musculus GN=FasnPE=1 SV=1 89 1 P19324 1 0,505 2,255 2,356 0,447 0,413 2,045 2,588 Серпин H1, OS=Mus musculus GN=Serpinh1 PE=1 SV=3 90 1 Q9CQ62 1 0,557 2,269 2,301 0,284 0,366 1,91 2,611 2,4-диеноил-КоА редуктаза, митохондриальная, OS=Mus musculus GN=Decr1 PE=1 SV=1 91 1 G3X8Q5 1 0,837 0,468 0,388 0,696 0,931 0,347 0,436 Церулоплазмин, OS=Mus musculus GN=Cp PE=1 SV=1 92 1 G3UXL2 1 0,23 0,995 0,713 0,168 0,213 0,818 0,931 Белок 3, подобный фосфорибозилпирофосфатсинтетазе 1, OS=Mus musculus GN=Prps113 PE=3 SV=1 93 1 AOA140LI59 1 0,679 1,403 0,984 0,391 0,608 0,956 1,137 Отсутствующий в злокачественных опухолях мозга белок 1, OS=Mus musculus GN=Dmbt1 PE=1 SV=1 94 1 AOAOG2JE99 1 1,075 0,737 0,674 1,146 1,166 0,662 0,884 Константная область 1 лямбда-цепи иммуноглобулина (фрагмент), OS=Mus musculus GN=Ig1c1 PE=4 SV=1 95 1 P70168 1 0,404 1,805 1,796 0,316 0,235 1,571 1,906 Субъединица бета-1 импортина, OS=Mus musculus GN=Kpnb1 PE=1 SV=2 96 1 P52196 1 0,484 4,304 4,508 0,806 0,39 3,105 4,241 Тиосульфат сертрансфераза, OS=Mus musculus GN=TstPE=1 SV=3 97 1 AOA140T8N9 1 0,988 0,246 0,208 0,999 1,139 0,203 0,196 Вариабельная область каппа цепи иммуноглобулин 6-32 (фрагмент), OS=Mus musculus GN=Igkv6-32 PE=4 SV=2 98 1 D3YYM6 1 0,765 3,263 3,719 0,878 1,101 3,14 3,89 40S рибосомный белок S5 (фрагмент), OS=Mus musculus GN=Rps5
PE=1 SV=1
99 1 P62908 1 0,529 3,92 4,071 0,491 0,533 3,44 4,57 40S рибосомный белок S3, OS=Mus musculus GN=Rps3 PE=1 SV=1 100 1 Q9ERK4 1 0,669 7,384 8,429 0,701 0,659 5,471 8,396 Экспортин-2, OS=Mus musculus GN=Cse11 PE=1 SV=1 101 1 P28665 1 0,906 0,755 0,583 0,864 0,837 0,447 0,473 Муриноглобулин-1, OS=Mus musculus GN=Mug1 PE=1 SV=3 102 1 P62264 1 0,704 3,021 2,647 0,5 0,58 2,435 3,4 40S рибосомный белок S14, OS=Mus musculus GN=Rps14 PE=1 SV=3 103 1 P31254 1 0,694 2,673 3,007 0,445 0,364 2,462 3,477 Убиквитин-подобный модификатор-активирующий фермент 1 Y, OS=Mus musculus GN=Uba1y PE=1 SV=2 104 1 G5E866 1 0,72 1,673 1,776 0,349 0,484 1,517 1,707 Субъединица 1 фактора сплайсинга 3B, OS=Mus musculus GN=Sf3b1 PE=1 SV=1 105 1 E9Q035 1 0,776 0,456 0,52 0,739 0,757 0,436 0,371 Прогнозируемый ген 20425, OS=Mus musculus GN=Gm20425 PE=4 SV=1 106 1 P24549 1 0,713 5,531 5,654 0,547 0,572 4,672 5,436 Ретинальная дегидрогеназа 1, OS=Mus musculus GN=Aldh1a1 PE=1 SV=5 107 1 AOA140T8NO 1 0,712 0,639 0,79 1,113 0,761 0,457 0,467 Вариабельная область каппа-цепи иммуноглобулина 9-120 (фрагмент), OS=Mus musculus GN=Igkv9-120 PE=1 SV=2 108 1 AOA075B5K8 1 0,891 0,183 0,175 0,782 0,913 0,235 0,151 Вариабельная область каппа цепи иммуноглобулин 1-99, OS=Mus musculus GN=Igkv1-99 PE=4 SV=7 109 1 P07759 1 0,955 0,782 0,945 0,858 0,934 0,95 1,165 Ингибитор сериновой протеазы A3K, OS=Mus musculus GN=Serpina3k PE=1 SV=2 110 1 F6VW30 1 0,683 2,926 2,422 0,438 0,62 1,985 2,674 14-3-3 белок тета (фрагмент), OS=Mus musculus GN=YwhaqPE=1 SV=1 111 1 E9QOU1 1 0,955 0,997 0,996 0,254 0,189 0,632 0,97 Не-АТФазная регуляторная субъединица 13 26S протеасомы, OS=Mus musculus GN=Psmd13 PE=1 SV=1 112 1 Q8RlB4 1 0,281 1,054 0,914 0,236 0,315 0,96 1,002 Субъединица C эукариотического фактора инициации трансляции 3, OS=Mus musculus GN=Eif3c PE=1 SV=1 113 1 P60843 1 0,617 3,747 3,945 0,571 0,554 2,78 3,653 Эукариотический фактор инициации 4A-1, OS=Mus musculus GN=Eif4a1 PE=1 SV=1 114 1 Q9DCH4 1 0,378 3,567 3,033 0,607 0,519 2,683 3,151 Субъединица F эукариотического фактора инициации трансляции 3, OS=Mus musculus GN=Eif3f PE=1 SV=2 115 1 Q8VDM4 1 0,322 0,882 1,196 0,279 0,354 0,932 1,387 Не-АТФазная регуляторная субъединица 2 26S протеасомы, OS=Mus musculus GN=Psmd2 PE=1 SV=1 116 1 AOA075B666 1 0,857 0,479 0,496 0,876 0,966 0,539 0,582 Вариабельная область каппа-цепи иммуноглобулина 13-85 (фрагмент), OS=Mus musculus GN=lgkv13-85 PE=4 SV=5 117 1 Q99LF4 1 0,711 1,252 1,032 0,705 0,754 0,765 0,844 Гомолог лигазы тРНК сплайсинга RtcB, OS=Mus musculus GN=Rtcb PE=1 SV=1 118 1 E9QN70 1 0,691 5,329 5,611 0,373 0,241 4,703 5,203 Субъединица бета-1 ламинина, OS=Mus musculus GN=Lamb1 PE=1 SV=1 119 1 P01675 1 0,863 1,7 1,759 1,09 0,799 1,768 1,771 XRPC 44 V-Vl-области каппа-цепи lg, OS=Mus musculus PE=1 SV=1 120 1 P56480 1 0,622 2,126 2,174 0,312 0,293 1,758 1,902 Бета-субъединица АТФ-синтазы, митохондриальная, OS=Mus musculus GN=Atp5b PE=1 SV=2 121 1 AOA075B5Q4 1 0,907 1,108 0,961 0,849 0,878 0,776 1,366 Вариабельная область тяжелой цепи иммуноглобулина 5-12 (фрагмент), OS=Mus musculus GN=lghv5-12 PE=4 SV=1 122 1 P01806 1 0,897 0,85 0,663 1,175 1,18 0,639 0,615 V-область тяжелой цепи lg 441, OS=Mus musculus PE=4 SV=1 122 2 P18524 1 1,131- - -1,305 1,188 2,4 2,359 1,014 1,061 RF V-области тяжелой цепи lg, OS=Mus musculus PE=1 SV=l 123 1 D3YYB1 1 0,472 6,722 7,098 0,94 1,072 5,336 6,996 Септин-2 (фрагмент), OS=Mus musculus GN=Sept2 PE=1 SV=1 124 1 AOA075B5Kl 1 1,467 0,646 0,456 1,598 1,499 0,467 0,483 Вариабельная область каппа цепи иммуноглобулин 11-125, OS=Mus musculus GN=Igkv11-125 PE=4 SV=7 125 1 AOA075B663 1 0,962 0,392 0,334 1,195 1,289 0,303 0,335 Вариабельная область лямбда-цепи иммуноглобулина 1 (фрагмент), OS=Mus musculus GN=Iglvl PE=4 SV=l 126 1 Q8R2K3 1 0,387 2,152 2,022 0,453 0,309 1,458 1,69 Связывающий одноцепочечную ДНК белок 1, OS=Mus musculus GN=Ssbp1 PE=1 SV=1 127 1 Q6ZWY9 1 0,825 1,189 1,261 0,755 0,77 0,965 1,144 Гистон H2B типа 1-C/E/G, OS=Mus musculus GN=Histlh2bc PE=1 SV=3 128 1 AOAOR4J039 1 0,531 0,504 0,44 0,415 0,459 0,324 0,453 Богатый гистидином гликопротеин, OS=Mus musculus GN=Hrg PE=1 SV=1 129 1 Q3U741 1 0,367 2,749 2,768 0,314 0,319 2,176 2,404 DEAD (Asp-Glu-Ala-Asp)-бокс полипептид 17, изоформа CRA_a, OS=Mus musculus GN=Ddx17 PE=1 SV=1 130 1 AOAOG2JGC1 1 0,642 2,827 2,814 0,679 0,43 2,401 2,729 Серин/треониновая протеинфосфатаза, OS=Mus musculus GN=Ppplcc PE=1 SV=1 131 1 AOAOAOMQ68 1 0,266 7,236 6,761 0,403 0,189 3,793 7,116 Глутарил-КоА дегидрогеназа, митохондриальная, OS=Mus musculus GN=Gcdh PE=1 SV=1 132 1 Q9CXY6 1 0,299 0,953 1,028 0,171 0,201 0,822 1,052 Фактор 2, связывающий энхансер интерлейкина, OS=Mus musculus GN=I1f2 PE=1 SV=1 133 1 Q91VC3 1 0,595 2,581 1,984 0,6 0,621 2,076 2,196 Эукариотический фактор инициации 4A-III, OS=Mus musculus GN=Eif4a3 PE=1 SV=3 134 1 D3YVB4 1 1,095 2,686 3,063 0,881 0,525 2,888 3,237 40S рибосомный белок S15a (фрагмент), OS=Mus musculus GN=Rps15a PE=1 SV=1 135 1 Q3TYH2 1 0,382 1,547 1,566 0,432 0,517 1,304 1,603 Ras-связанный белок Rab-15, OS=Mus musculus GN=Rab15 PE=1 SV=1 136 1 AOAOB4J1Il 1 0,922 0,624 0,773 0,652 0,356 0,297 0,634 Вариабельная область каппа цепи иммуноглобулин 16-104 (фрагмент), OS=Mus musculus GN=Igkv16-104 PE=4 SV=1 137 1 P60229 1 0,576- - 1,577 1,379 0,594 0,613 1,597 1,421 Субъединица E эукариотического фактора инициации трансляции 3, OS=Mus musculus GN=Eif3e PE=1 SV=1 138 1 A2AL12 1 0,827 3,032 3,011 0,54 0,53 2,714 3,239 Гетерогенный ядерный рибонуклеопротеин A3, OS=Mus musculus GN=Hmnpa3 PE=1 SV=1 139 1 AOAOB4JIH7 1 0,887 0,515 0,447 0,789 0,824 0,424 0,487 Вариабельная область каппа цепи иммуноглобулин 1-135 (фрагмент), OS=Mus musculus GN=Igkv1-135 PE=4 SV=1 140 1 AOAOG2JFB4 1 0,629 2,67 2,762 0,503 0,501 3,114 3,355 Эукариотический фактор инициации 4E, OS=Mus musculus GN=Eif4e PE=1 SV=1 141 1 A2AWQ2 1 0,206 0,921 0,599 0,155 0,349 0,649 0,649 Белок RCC2 (фрагмент), OS=Mus musculus GN=Rcc2 PE=1 SV=1 142 1 Q8BGQ7 1 0,555 2,945 2,891 0,412 0,567 2,559 2,638 Аланин-тРНК лигаза, цитоплазматическая, OS=Mus musculus GN=Aars PE=1 SV=1 143 1 Q9CWJ9 1 0,716 1,491 1,223 0,546 0,696 1,099 1,417 Бифункциональный белок биосинтеза пурина PURH, OS=Mus musculus GN=Atic PE=1 SV=2 144 1 AOA075B5Vl 1 0,808 0,458 0,317 1,218 1,466 0,283 0,265 Вариабельная область тяжелой цепи иммуноглобулина 1-31 OS=Mus musculus GN=Ighv1-31 PE=4 SV=1 145 1 Q8BWT1 1 0,344 2,253 2,21 0,218 0,285 1,806 2,223 3-кетоацил-КоА-тиолаза, митохондриальная, OS=Mus musculus GN=Acaa2 PE=1SV=3 146 1 Q8BHOO 1 0,558 3,014 2,803 0,585 0,525 2,783 3,523 Альдегиддегидрогеназа, семейство 8, член A1, OS=Mus musculus GN=Aldh8a1 PE=1 SV=1 147 1 AOAOR4JlE2 1 0,674 2,127 2,067 0,493 0,615 1,481 1,7 Фактор элонгации 1-дельта, OS=Mus musculus GN=Eef1d PE=1 SV=1 148 Q3THK7 1 0,747 2,58 2,592 0,699 0,653 2,124 2,54 ГМФ-синтаза [гидролизующий глутамин] OS=Mus musculus GN=Gmps PE=1 SV=2 149 1 Q3UH59 1 0,545 2,477 1,898 0,313 0,308 1,684 2,31 Миозин-10, OS=Mus musculus GN=Myh1O PE=1 SV=1 149 2 Q8VDD5 1 0,936 2,228 1,89 0,624 0,47 1,638 1,937 Миозин-9, OS=Mus musculus GN=Myh9 PE=1 SV=4 150 1 D3YVC1 1 0,693 3,287 3,337 0,493 0,586 3,002 3,478 40S рибосомный белок S2 (фрагмент), OS=Mus musculus GN=Rps2 PE=1 SV=1 151 1 Q9EPL8 1 0,552 1,741 2,393 0,382 0,335 1,635 2,319 Импортин-7, OS=Mus musculus GN=Ipo7 PE=1 SV=2 152 1 Q04447 1 0,673 3,09 2,713 0,421 0,685 1,888 2,804 Креатинкиназа B-типа, OS=Mus musculus GN=Ckb PE=1 SV=1 153 1 P62855 1 0,977 2,823 2,867 0,462 0,523 2,057 3,891 40S рибосомный белок S26, OS=Mus musculus GN=Rps26 PE=1 SV=3 154 1 AOA087WS46 1 0,558 3,435 2,962 0,703 0,676 2,743 3,453 Эукариотический фактор элонгации трансляции 1-бета 2, OS=Mus musculus GN=Eef1b2 PE=1 SV=1 155 1 P60766 1 0,616 2,402 2,179 0,408 0,421 1,597 1,894 Гомолог белка 42 контроля клеточного цикла деления, OS=Mus musculus GN=Cdc42 PE=1 SV=2 156 1 A0Al40LIM5 1 0,545 2,759 2,667 0,612 0,472 2,019 2,837 Белок митотической контрольной точки BUB3, OS=Mus musculus GN=Bub3 PE=1 SV=1 157 1 AOA140T8N7 1 1,052 0,316 0,258 1,19 1,444 0,253 0,242 Вариабельная область каппа-цепи иммуноглобулина 6-25 (фрагмент), OS=Mus musculus GN=Igkv6-25 PE=4 SV=2 157 2 AOA075B5N7 1 0,954 0,267 0,215 0,888 1,086 0,212 0,215 Вариабельная область каппа цепи иммуноглобулин 6-13, OS=Mus musculus GN=Igkv6-13 PE=1 SV=7 158 1 Q91X72 1 0,661 1,347 0,697 0,662 0,941 0,649 0,738 Гемопексин, OS=Mus musculus GN=Hpx PE=1 SV=2 159 1 AOA075B5R4 1 0,829 0,575 0,568 0,922 0,843 0,55 0,593 Вариабельная область тяжелой цепи иммуноглобулина 14-1 (фрагмент), OS=Mus musculus GN=Ighv14-1 PE=4 SV=1 160 1 AOAlLlSSTO 1 0,683 4,099 4,39 0,552 0,821 4,053 5,038 Пептидил-пролил-цис/транс-изомераза, OS=Mus musculus GN=Ppia PE=1 SV=1 161 1 AOA075B5M7 1 1,107 0,336 0,388 0,968 1,205 0,432 0,271 Вариабельная область каппа цепи иммуноглобулин 5-39, OS=Mus musculus GN=Igkv5-39 PE=1 SV=7 162 1 P62305 1 0,459 1,19 0,955 0,438 0,41 0,906 0,912 Малый ядерный рибонуклеопротеин E, OS=Mus musculus GN=Snrpe PE=й SV=1 163 1 P97351 1 0,664 2,005 1,73 0,438 0,376 1,336 ,611 40S рибосомный белок S3a, OS=Mus musculus GN=Rps3a PE=1 SV=3 164 1 AOA087WP24 1 0,215 1,002 0,804 0,112 0,059 0,712 0,874 Белок ABHD14B (фрагмент), OS=Mus musculus GN=Abhd14b PE=1 SV=1 165 1 I7HIQ2 1 0,734 1,17 1,547 0,587 0,983 1,072 1,996 Хемокин 16 с CXC мотивом (фрагмент), OS=Mus musculus GN=Cxcl16 PE=1 SV=1 166 1 AOAOA6YW67 1 0,699 2,344 1,81 0,54 0,718 1,418 1,512 MCG23377, изоформа CRA_b, OS=Mus musculus GN=Gm8797 PE=4 SV=1 167 1 Q3U2G2 1 0,934 3,186 2,905 0,746 0,588 2,703 3,188 Белок теплового шока 4 массой 70 кДа, OS=Mus musculus GN=Hspa4 PE=1 SV=1 168 1 AOAOG2JGQ8 1 0,871 0,426 0,359 0,703 0,649 0,434 0,483 С-область лямбда-3 цепи lg (фрагмент), OS=Mus musculus GN=Iglc3 PE=1 SV=1 169 1 AOA075B5W4 1 1,101 0,186 0,152 1,099 1,097 0,112 0,183 Вариабельная область тяжелой цепи иммуноглобулина V8-6 OS=Mus musculus GN=Ighv8-6 PE=4 SV=1 170 1 AOAOR4J038 1 0,761 1,46 0,879 0,92 0,956 0,865 1,951 Кининоген-1, OS=Mus musculus GN=Kng1 PE=1 SV=1 171 1 AOA1W2P733 1 0,613 1,997 1,523 0,458 0,53 1,294 1,772 C-1-тетрагидрофолатсинтаза, цитоплазматическая, OS=Mus musculus GN=Mthfd1 PE=l SV=l 172 1 G3UY93 1 0,387 3,882 3,251 0,396 0,362 3,07 3,604 Валин-тРНК лигаза, цитоплазматическая (фрагмент), OS=Mus musculus GN=Vars PE=1 SV=1 173 1 P63325 1 0,825 2,226 2,15 0,775 0,663 1,537 1,784 40S рибосомный белок S10, OS=Mus musculus GN=Rps10 PE=1 SV=1 174 1 Q01853 1 0,773 1,352 1,814 0,443 0,536 1,283 1,618 АТФаза переходной эндоплазматической сети, OS=Mus musculus GN=Vcp PE=1 SV=4 175 1 P23116 1 0,436 3,536 3,66 0,572 0,598 3,444 4,49 Субъединица А эукариотического фактора инициации трансляции 3, OS=Mus musculus GN=Eif3a PE=1 SV=5 176 1 088844 1 0,735 3,39 2,947 0,536 0,585 2,088 2,763 Изоцитратдегидрогеназа [НАДФ], цитоплазматическая, OS=Mus musculus GN=Idh1 PE=1 SV=2 177 1 AOAOA6YX19 1 0,595 0,61 0,511 0,523 0,566 0,408 0,468 Вариабельная область тяжелой цепи иммуноглобулина V6-4 (фрагмент), OS=Mus musculus GN=Ighv6-4 PE=4 SV=1 178 1 P14131 1 0,356 1,975 1,839 0,275 0,342 1,656 1,966 40S рибосомный белок S16, OS=Mus musculus GN=Rps16 PE=1 SV=4 179 1 Q6P5F9 1 0,494 2,119 1,927 0,494 0,591 1,524 1,994 Экспортин-1, OS=Mus musculus GN=Xpol PE=1 SV=1 180 1 AOA1BOGRW3 1 0,583 8,795 9,344 0,737 1,042 8,734 8,967 RuvB-подобная хеликаза (фрагмент), OS=Mus musculus GN=Ruvbl2 PE=1 SV=1 181 1 P62715 1 0,814 3,192 3,071 0,723 0,703 2,716 3,299 Каталитическая субъединица бета серин/треониновой протеинфосфатазы 2А, изоформа, OS=Mus musculus GN=Ppp2cb PE=1 SV=1 182 1 A2A5F5 1 0,717 3,079 3,471 0,539 0,572 2,769 3,56 Ras-связанный белок Rab-5C (фрагмент), OS=Mus musculus GN=Rab5c PE=1 SV=1 183 1 P18528 1 0,679 1,187 0,387 0,957 0,939 0,369 0,366 V-область тяжелой цепи lg 6.96, OS=Mus musculus PE=4 SV=1 184 1 P40142 1 0,524 2,337 1,672 0,311 0,193 1,923 1,611 Транскетолаза, OS=Mus musculus GN=TktPE=1 SV=1 185 1 P98086 1 0,082 0,236 0,151 0,085 0,112 0,068 0,135 Субъединица А компонента комплемента Clq, OS=Mus musculus GN=Clqa PE=1 SV=2 186 1 AOA1Y7VKY1 1 1,04 19,293 19,615 0,837 0,935 16,389 20,137 MCG116671, OS=Mus musculus GN=mCG 116671 PE=3 SV=1 187 1 H3BKL5 1 1,564 10,925 12,367 4,29 1,025 9,639 12,804 3-кетоацил-КоА-тиолаза, пероксисомальная, OS=Mus musculus GN=Acaala PE=1 SV=1 188 1 AOA075B5S9 1 0,83 0,711 0,786 3,619 3,835 0,49 0,822 Вариабельная область тяжелой цепи иммуноглобулина 9-4 OS=Mus musculus GN=Ighv9-4 PE=4 SV=1 189 1 Q9ZlZ2 1 0,914 3,069 2,843 0,738 0,658 2,352 2,934 Белок, связанный с рецептором серин-треонинкиназы, OS=Mus musculus GN=Strap PE=1 SV=2 190 1 Q9IBU4 1 0,538 1,357 1,14 0,291 0,325 1,088 1,125 Тяжелая цепь 1 цитоплазматического динеина 1, OS=Mus musculus GN=Dync1h1 PE=1 SV=2 191 1 Q8BH95 --- --- --- --- --- --- --- --- Эноил-КоА-гидратаза, митохондриальная, OS=Mus musculus GN=Echs1 PE=1 SV=1 192 1 Q61171 1 0,513 1,942 2,046 0,51 0,507 1,655 2,44 Пероксиредоксин-2, OS=Mus musculus GN=Prdx2 PE=1 SV=3 193 1 P62806 1 0,796 2,562 1,797 0,521 0,859 1,499 1,654 Гистон H4, OS=Mus musculus GN=Histlh4a PE=1 SV=2 194 1 I7HFT9 1 0,714 1,104 0,895 0,69 0,525 0,933 1,072 Гистон Hlt, OS=Mus musculus GN=Histlhlt PE=1 SV=1 195 1 Q8JZQ9 1 0,455 1,607 1,39 0,397 0,434 1,286 1,475 Субъединица В эукариотического фактора инициации трансляции 3, OS=Mus musculus GN=Eif3b PE=1 SV=1 196 1 P02104 1 0,977 3,916 3,568 0,602 0,812 2,878 3,735 Субъединица эпсилон-Y2 гемоглобина, OS=Mus musculus GN=Hbb-y PE=1 SV=2 197 1 055135 1 0,402 2,848 2,479 --- 0,687 1,496 2,106 Эукариотический фактор инициации 6, OS=Mus musculus GN=Eif6 PE=1 SV=2 198 1 Q8BHN3 1 0,476 5,616 6,225 0,867 0,631 4,305 5,769 Нейтральная альфа-глюкозидаза AB, OS=Mus musculus GN=Ganab PE=1 SV=1 199 1 Q6PE01 1 0,17 2,914 3,131 0,62 0,396 2,697 2,906 Малый ядерный рибонуклеопротеин U5, белок массой 40 кДа, OS=Mus musculus GN=Smnp40 PE=1 SV=1 200 1 AOA075B6A3 1 0,975 1,966 1,423 0,844 0,928 1,037 1,596 Константная область тяжелой цепи альфа иммуноглобулина (фрагмент), OS=Mus musculus GN=Igha PE=1 SV=1 201 1 P60867 1 0,708 2,743 2,328 0,777 0,754 1,677 2,143 40S рибосомный белок S20, OS=Mus musculus GN=Rps20 PE=1 SV=1 202 1 AOA140T8N2 1 0,857 2,045 1,563 0,726 0,806 1,284 1,539 Белок Igkv5-48 (фрагмент), OS=Mus musculus GN=Igkv5-48 PE=1 SV=2 203 1 Q8BP47 1 0,588 2,357 2,31 0,613 0,549 1,962 2,34 Аспарагин-тРНК лигаза, цитоплазматическая, OS=Mus musculus GN=Nars PE=1 SV=2 204 1 A2A7S7 1 0,659 3,017 3,098 0,412 0,505 2,508 3,12 Тирозин-тРНК лигаза, OS=Mus musculus GN=Yars PE=1 SV=1 205 1 P21614 1 0,901 0,609 0,365 0,767 0,928 0,412 0,659 Белок, связывающий витамин D, OS=Mus musculus GN=Gc PE=1 SV=2 206 1 E9Q718 1 0,989 3,378 3,203 1,158 0,793 2,934 3,103 Проколлаген-лизин, 2-оксоглутарат 5-диоксигеназа 2, OS=Mus musculus GN=Plod2 PE=1 SV=1 207 1 070514 1 0,606 2,317 3,106 0,656 0,694 1,595 3,708 Белок 1, связывающий фактор роста фибробластов, OS=Mus musculus GN=Fgfbn1 PE=1 SV=1 208 1 AOA075B5L8 1 0,281 0,432 0,357 0,223 0,296 0,409 0,29 Вариабельная область каппа цепи иммуноглобулин 4-79 (фрагмент), OS=Mus musculus GN=Igkv4-79 PE=4 SV=2 209 1 D3Z5M7 1 0,588 2,844 2,785 0,425 0,758 2,348 2,342 Гомолог пероксидазина, OS=Mus musculus GN=Pxdn PE=1 SV=2 210 1 P63038 1 0,534 1,687 1,65 0,45 0,547 1,241 1,434 Белок теплового шока массой 60 кДа, митохондриальный, OS=Mus musculus GN=Hspd1 PE=1 SV=1 211 1 P51150 1 0,671 1,645 1,178 0,493 0,53 1,253 1,16 Ras-связанный белок Rab-7a, OS=Mus musculus GN=Rab7aPE=1 SV=2 212 1 P10639 1 0,442 1,254 1,833 0,368 0,353 1,19 1,885 Тиоредоксин, OS=Mus musculus GN=Txn PE=1 SV=3 213 1 D6RDC7 1 0,487 3,274 2,775 --- 0,384 2,327 3,359 Содержащий WD-повторы белок 61, OS=Mus musculus GN=Wdr61 PE=1 SV=2 214 1 E9Q7D8 1 0,527 1,612 1,444 0,596 0,547 1,503 1,84 Поли(rC)-связывающий белок 3, OS=Mus musculus GN=Pcbp3 PE=1 SV=1 215 1 P32261 1 0,345 3,046 3,193 0,421 0,408 2,519 3,052 Антитромбин-III, OS=Mus musculus GN=Serpinc1 PE=1 SV=1 216 1 Q3THE2 1 1,372 6,315 5,784 0,484 0,697 4,18 5,643 Миозин, регуляторная легкая цепь 12B, OS=Mus musculus GN=Myl12b PE=1 SV=2 217 1 Q921I9 1 0,62 1,712 1,445 0,471 0,54 0,996 1,83 Компонент экзосомального комплекса RRP41, OS=Mus musculus GN=Exosc4 PE=l SV=3 218 1 AOAOJ9YKD4 1 --- 42,422 39,008 0,894 1,008 29,919 38,247 Креатинкиназа М-типа, OS=Mus musculus GN=Ckm PE=1 SV=1 219 1 Q9JHU9 1 0,219 1,548 1,629 0,08 0,159 1,283 1,42 Инозитол-3-фосфатсинтаза 1, OS=Mus musculus GN=Isyna1 PE=1 SV=1 220 1 AOA075B6D5 1 0,875 0,582 0,541 1,199 1,34 0,687 0,616 Вариабельная область каппа-цепи иммуноглобулина 19-93, OS=Mus musculus GN=Igkvl9-93 PE=1 SV=7 221 1 Q9QWK4 1 0,536 0,774 0,455 0,655 0,456 0,67 0,55 Белок, подобный антигену CD5, OS=Mus musculus GN=Cd51 PE=1 SV=3 222 1 G3X8P9 1 0,419 5,103 5,022 0,738 0,706 6,295 8,275 Альдегидоксидаза 1, OS=Mus musculus GN=Aox1 PE=1 SV=1 223 1 Q6PDM2 1 0,234 0,997 0,883 0,214 0,269 0,809 0,879 Богатый серином/аргинином фактор сплайсинга1, OS=Mus musculus GN=Srsf1 PE=1 SV=3 224 1 Q91VB8 1 0,45 2,337 2,3 0,669 0,478 1,884 2,099 Альфа-глобин 1, OS=Mus musculus GN=Hba-a2 PE=1 SV=1 225 1 P61161 1 0,405 2,223 1,903 0,48 0,544 1,744 2,012 Связанный с актином белок 2, OS=Mus musculus GN=Actr2 PE=1 SV=1 226 1 AOA075B5L7 1 0,482 0,979 0,767 0,378 0,357 0,933 1,005 Вариабельная область каппа цепи иммуноглобулин 4-80 (фрагмент), OS=Mus musculus GN=Igkv4-80 PE=4 SV=2 227 1 E9QlG8 1 0,56 1,883 2,321 0,478 0,501 1,933 2,256 Септин-7, OS=Mus musculus GN=Sept7 PE=1 SV=2 228 1 D3YUG4 1 0,582 3,576 2,537 0,67 0,469 2,335 2,531 Ацил-протеинтиоэстераза 1 (фрагмент), OS=Mus musculus GN=Lypla1 PE=1 SV=1 229 1 Q8R317 1 0,684 1,305 0,595 0,631 0,572 0,798 1,503 Убиквилин-1, OS=Mus musculus GN=Ubq1n1 PE=1 SV=1 230 1 P27641 1 --- 3,472 3,891 --- --- 3,988 5,176 ентгеноконтрастный белок 5 репарации ДНК, OS=Mus musculus GN=Xrcc5 PE=1 SV=4 231 1 Q6ZQ38 1 0,164 2,632 2,648 0,324 0,369 1,833 2,094 Куллин-ассоциированный NEDD8-диссоциированный белок 1, OS=Mus musculus GN=Cand1 PE=1 SV=2 232 1 AOAI40T8M4 1 0,771 1,063 1,01 0,779 0,926 1,073 0,667 Вариабельная область каппа цепи иммуноглобулин 8-19, OS=Mus musculus GN=Igkv8-19 PE=1 SV=2 233 1 Q8CIH9 1 0,848 2,005 1,656 0,543 0,891 1,507 1,925 Амидофосфорибозилтрансфераза, OS=Mus musculus GN=PpatPE=1 SV=1 234 1 AOA075B5L2 1 1,618 0,869 0,58 1,297 1,512 0,707 0,596 Вариабельная область каппа-цепи иммуноглобулина 4-91 (фрагмент), OS=Mus musculus GN=Igkv4-91 PE=4 SV=2 235 1 AOA075B5R6 1 1,07 0,084 0,118 1,421 1,81 --- 0,15 Вариабельная область тяжелой цепи иммуноглобулина 11-1 (фрагмент), OS=Mus musculus GN=Ighv11-1 PE=4 SV=1 236 1 A2AFQ2 1 0,528 1,617 1,628 0,393 0,267 0,776 1,206 3-гидроксиацил-КоА дегидрогеназа типа 2, OS=Mus musculus GN=Hsd17b10 PE=1 SV=1 237 1 Q8VIJ6 1 0,874 4,604 4,737 0,799 0,654 3,735 4,567 Богатый пролином и глютамином фактор сплайсинга, OS=Mus musculus GN=Sfpq PE=1 SV=1 238 1 AOA1W2P6P4 1 0,369 0,706 0,725 0,154 0,127 0,49 0,611 РНК-связывающий белок Nova-I (фрагмент), OS=Mus musculus GN=Noval PE=1 SV=1 239 1 Q9WU78 1 1,143 1,766 1,966 3,037 0,475 1,201 1,952 Белок, взаимодействующий с белком запрограммированной смерти клетки 6, OS=Mus musculus GN=Pdcd6ip PE=1 SV=3 240 1 AOA1C7ZMZ5 1 0,65 0,989 0,86 0,52 0,8 0,668 0,655 Глутатионпероксидаза (фрагмент), OS=Mus musculus GN=Gpx3 PE=1 SV=1 241 1 P59016 1 0,297 2,626 1,678 0,113 0,258 1,306 1,554 Белок 33В, связанный с сортировкой вакуолярных белков, OS=Mus musculus GN=Vps33b PE=1 SV=1 242 1 AOA140LJ59 1 0,838 4,938 4,606 0,474 0,435 3,987 4,082 Субъединица К эукариотического фактора инициации трансляции 3, OS=Mus musculus GN=Eif3k PE=1 SV=1 243 1 F6RV17 1 0,511 1,423 1,147 0,239 0,165 1,297 1,313 Регуляторная субъединица бета серин/треониновой протеинфосфатазы 2А массой 55 кДа, OS=Mus musculus GN=Ppp2r2d PE=1 SV=2 244 1 Q3TGU7 1 0,397 1,061 1,051 0,652 0,812 1,125 1,148 Ассоциированный с пролиферацией 2G4, OS=Mus musculus GN=Pa2g4 PE=1 SV=1 245 1 A2CEK3 1 0,555 1,813 1,523 0,433 0,504 1,154 1,418 Фосфоглюкомутаза-2, OS=Mus musculus GN=Pgm2 PE=1 SV=1 246 1 Q8BGJ5 1 0,466 2,224 1,5 0,319 0,486 1,944 2,36 MCG13402, изоформа CRA_a, OS=Mus musculus GN=Ptbpl1 PE=1 SV=1 247 1 Q9CZD3 1 0,441 5,688 5,299 1,021 1,066 4,688 4,333 Глицин-тРНК лигаза, OS=Mus musculus GN=Gars PE=1 SV=1 248 1 P97310 1 0,409 1,542 1,411 0,512 0,44 1,777 2,25 Фактор лицензирования репликации ДНК MCM2, OS=Mus musculus
GN=Mcm2 PE=1 SV=3
249 1 Q64674 1 0,569 2,696 3,056 0,412 0,466 2,561 3,135 Спермидинсинтаза, OS=Mus musculus GN=Srm PE=1 SV=1 250 1 Q6PFB2 1 0,247 9,766 9,927 0,467 0,574 8,042 9,76 Регулятор конденсации хромосом, OS=Mus musculus GN=Rcc1 PE=1 SV=1 251 1 Q3UE92 1 0,842 1,966 1,961 0,633 0,56 1,66 1,535 X-пролиламинопептидаза (аминопептидаза P) 1, растворимая, изоформа
CRA_b, OS=Mus musculus GN=Xpnpep1 PE=1 SV=1
252 1 AOA1BOGR44 1 0,616 1,44 1,073 0,53 0,469 1,068 1,077 Малый ядерный рибонуклеопротеин Ul массой 70 кДа (фрагмент), OS=Mus musculus GN=Smnp70 PE=1 SV=1 253 1 AOA1LlSSH9 1 0,545 2,279 1,444 0,401 0,483 1,601 2,096 SPARC, OS=Mus musculus GN=Sparc PE=1 SV=1 254 1 Q99KP6 1 0,411 4,136 3,436 0,514 0,591 3,364 4,537 Фактор пре-мРНК-процессинга 19, OS=Mus musculus GN=Prpf19 PE=1 SV=1 255 1 Q9QZD9 1 0,455 3,088 3,321 0,427 0,338 2,689 2,871 Субъединица I эукариотического фактора инициации трансляции 3, OS=Mus musculus GN=Eif3i PE=1 SV=1 256 1 Q6P5H2 1 1,712 1,513 0,707 0,553 0,582 1,036 2,072 Нестин, OS=Mus musculus GN=Nes PE=1 SV=1 257 1 F6RPJ9 1 0,385 1,047 0,65 0,157 0,215 0,737 0,975 Разрушающий инсулин фермент (фрагмент), OS=Mus musculus GN=Ide PE=1 SV=1 258 1 P52955 1 0,826 0,11 0,108 0,643 0,732 0,092 0,084 Фактор транскрипции LBX1, OS=Mus musculus GN=Lbxl PE=1 SV=2 259 1 035988 --- --- --- --- --- --- --- --- Синдекан-4, OS=Mus musculus GN=Sdc4 PE=1 SV=1 260 1 P61407 1 0,823 0,571 0,525 0,185 0,224 0,299 --- Белок 6, содержащий Tudor-домен, OS=Mus musculus GN=Tdrd6 PE=1 SV=1 261 1 AOA075B5N4 1 0,92 1,061 1,095 1,518 1,742 0,846 1,239 Вариабельная область каппа-цепи иммуноглобулина 8-27, OS=Mus musculus GN=Igkv8-27 PE=4 SV=1 262 1 AOAOB4J1I5 1 0,818 0,286 0,254 0,798 0,786 0,217 0,256 Вариабельная область каппа-цепи иммуноглобулина 4-70 (фрагмент), OS=Mus musculus GN=Igkv4-70 PE=4 SV=1 263 1 AOA075B5T9 1 1,1 0,778 0,907 0,606 0,542 0,474 0,52 Вариабельная область тяжелой цепи иммуноглобулина Vl-9 OS=Mus musculus GN=Ighvl-9 PE=4 SV=1 264 1 AOA075B5V8 1 0,889 0,661 0,553 1,051 1,289 0,855 0,576 Вариабельная область тяжелой цепи иммуноглобулина 1-47 OS=Mus musculus GN=Ighv1-47 PE=4 SV=1 265 1 AOAOA6YXN4 1 0,594 0,727 0,677 1,999 1,876 0,521 0,789 Вариабельная область тяжелой цепи иммуноглобулина V1-18 (фрагмент), OS=Mus musculus GN=Ighv1-18 PE=1 SV=1 266 1 Q8VGI4 1 0,255 3,468 3,627 0,322 0,366 3,109 3,6 Рецепторы обоняния 476, OS=Mus musculus GN=Olfr476 PE=3 SV=1 267 1 Q8VEK3 1 0,595 2,14 2,123 0,665 0,658 1,932 1,931 Гетерогенный ядерный рибонуклеопротеин U, OS=Mus musculus GN=Hmnpk PE=1 SV=1 268 1 F8WHL2 1 0,632 2,507 1,658 0,567 0,548 1,993 2,252 Субъединица альфа коатомера, OS=Mus musculus GN=Copa PE=1 SV=1 269 1 P53994 1 0,459 0,562 0,541 1,278 0,775 0,584 0,527 Ras-связанный белок Rab-2A, OS=Mus musculus GN=Rab2aPE=1 SV=1 270 1 L7MTU6 1 0,522 2,822 2,248 0,64 0,374 1,801 1,848 Интерферон-альфа B, OS=Mus musculus GN=Ifnab PE=3 SV=1 271 1 Q61646 1 1,119 0,356 0,181 1,098 0,849 0,214 0,467 Гаптоглобин, OS=Mus musculus GN=Hp PE=1 SV=1 272 1 B8JK32 1 0,602 1,644 1,661 0,272 0,432 1,681 2,273 Гетерогенный ядерный рибонуклеопротеин M, OS=Mus musculus GN=Hmnpk PE=1 SV=1 273 1 A2A4Jl 1 0,398 3,341 3,345 0,386 0,305 1,98 2,971 Субъединица 3 комплекса активаторов протеасомы (фрагмент), OS=Mus musculus GN=Psme3 PE=1 SV=1 274 1 Q9D892 1 0,855 1,766 2,106 0,278 0,635 1,611 2,111 Инозинтрифосфатпирофосфатаза, OS=Mus musculus GN=Itpa PE=1 SV=2 275 1 Q8QZY1 1 0,853 3,805 3,518 0,79 1,255 2,789 3,222 Субъединица L эукариотического фактора инициации трансляции 3, OS=Mus musculus GN=Eif3l PE=1 SV=1 276 1 Q9JKR6 1 0,486 2,282 2,379 0,728 0,521 3,009 2,585 Белок с повышенным уровнем экспрессии при гипоксии 1 OS=Mus musculus GN=Hyou1 PE=1 SV=1 277 1 D3Z6N3 1 0,601 1,4 1,368 0,583 0,617 1,317 1,481 Фактор лицензирования репликации ДНК MCM7, OS=Mus musculus GN=Mcm7 PE=1 SV=1 278 1 G3UXG7 1 0,548 2,638 1,143 0,348 0,662 1,637 1,452 Бета-субъединица казеин киназы II, OS=Mus musculus GN=Csnk2b PE=1 SV=1 279 1 Q9D8E6 1 0,665 1,529 1,612 0,437 0,615 1,246 1,554 60S рибосомный белок L4, OS=Mus musculus GN=Rpl4 PE=1 SV=3 280 1 AOAOR4J1Nl 1 0,708 0,956 0,865 0,496 0,309 0,869 0,937 Интер-альфа-ингибитор трипсина, тяжелая цепь 4, OS=Mus musculus GN=Itih4 PE=1 SV=1 281 1 P17751 1 0,734 1,87 1,45 0,73 0,882 1,528 1,534 Триозофосфат-изомераза, OS=Mus musculus GN=Tpi1 PE=1 SV=4 282 1 P62334 1 0,561 1,651 1,432 0,524 0,454 1,279 1,73 Регуляторная субъединица 10В 26S протеасомы, OS=Mus musculus GN=Psmc6 PE=1 SV=1 283 1 Q8C2Q7 1 0,404 3,867 2,918 0,454 0,286 2,215 2,192 Гетерогенный ядерный рибонуклеопротеин H, OS=Mus musculus GN=Hmnpl PE=1 SV=1 284 1 S4Rll6 1 0,563 2,671 2,6 0,786 0,709 2,209 2,164 MCG2872, изоформа CRA_b OS=Mus musculus GN=Ddx5 PE=1 SV=1 286 1 Q6ZWN5 1 0,849 3,088 3,404 0,637 0,586 2,497 3,102 40S рибосомный белок S9, OS=Mus musculus GN=Rps9 PE=1 SV=3 287 1 F6YZU5 1 0,779 1,055 1,159 0,453 0,558 0,728 0,8 Гомолог 5 белка размера пластинок (фрагмент), OS=Mus musculus GN=Dlg5 PE=1 SV=1 288 1 A2AW05 1 0,675 2,062 1,466 0,544 0,49 0,983 1,427 уСубъединица комплекса FACT SSRP1 (фрагмент), OS=Mus musculus GN=Ssrp1 PE=1 SV=1 289 1 AOAOR4Jl87 1 0,68 1,446 1,537 0,714 0,948 0,913 1,425 Рентгеноконтрастный белок 6 репарации ДНК, OS=Mus musculus GN=Xrcc6 PE=1 SV= l 290 1 Q9QZE5 1 0,139 1,108 1,278 0,14 0,121 1,15 1,413 Субъединица гамма 1 коатомера, OS=Mus musculus GN=Copg1 PE=1 SV=1 291 1 Q9DB16 1 1,149 1,254 1,843 0,826 4,987 1,682 1,847 Белок, подобный кальций-связывающему белку 39, OS=Mus musculus GN=Cab391 PE=1 SV=3 292 1 P62962 1 0,347 1,223 1,112 0,603 0,804 1,099 1,127 Профилин-1 OS=Mus musculus GN=Pfn1 PE=1 SV=2 293 1 F6XI62 1 0,74 1,544 0,92 0,223 0,435 1,142 1,34 60S рибосомный белок L7 (фрагмент), OS=Mus musculus GN=Rpl7 PE=1 SV=1 294 1 F8WIV5 1 0,248 0,84 0,965 0,206 0,165 0,74 0,913 Динамин-2, OS=Mus musculus GN=Dnm2 PE=1 SV=2 295 1 AOA075B5P8 1 0,916 0,462 0,425 0,92 0,975 0,391 0,424 Вариабельная область тяжелой цепи иммуноглобулина 2-2 (фрагмент), OS=Mus musculus GN=Ighv2-2 PE=4 SV=1 296 1 P62702 1 0,891 3,453 2,239 0,603 0,663 2,145 2,252 40S рибосомный белок S4, изоформа X, OS=Mus musculus GN=Rps4x PE=1 SV=2 297 1 055142 1 0,555 2,709 1,631 0,568 0,815 1,045 1,647 60S рибосомный белок L35a, OS=Mus musculus GN=Rpl35a PE=1 SV=2 298 1 AOA1Y7VJM8 1 0,388 1,598 1,726 0,381 0,35 1,092 1,161 Белки «цинковые пальцы» 934, OS=Mus musculus GN=Zfp934 PE=4 SV=1 299 1 Q9JJN6 1 1,192 2,975 3,304 1,111 0,337 1,111 0,93 Белок 1, взаимодействующий с бета-катенином, OS=Mus musculus GN=Ctnnbip1 PE=1 SV=1 300 1 Q9DCC4 1 0,614 2,17 1,789 0,831 0,195 2,244 3,024 Пирролин-5-карбоксилатредуктаза 3, OS=Mus musculus GN=Pycr3 PE=1 SV=2 301 1 P32233 1 0,465 1,123 0,577 0,122 0,269 0,459 0,738 Регулируемый в процессе развития ГТФ-связывающий белок 1, OS=Mus musculus GN=Drg1 PE=1 SV=1 302 1 D3Z4Q4 1 0,874 1,145 1,259 0,601 0,509 0,672 0,923 Хинон оксидоредуктаза (фрагмент), OS=Mus musculus GN=Cryz PE=1 SV=1 303 1 A2AC16 1 0,626 3,389 3,384 0,57 0,268 3,272 3,683 Дикарбонил L-ксилулозоредуктаза, изоформа CRA_a, OS=Mus musculus GN=Dcxr, PE=1 SV=1 304 1 Q8BVN8 1 0,656 4,731 4,234 1,352 1,133 4,175 4,589 Промежуточный полипептид легкой цепи динеина из аксонем 1 OS=Mus musculus GN=Dnali1 PE=1 SV=1 305 1 Q9D964 1 0,442 1,699 1,883 0,456 0,518 1,674 1,752 Глицинамидинотрансфераза, митохондриальная, OS=Mus musculus GN=Gatrn PE=1 SV=1 306 1 Q6GQT1 1 0,494 1,798 1,95 0,154 0,214 1,105 1,629 Альфа-2-макроглобулин-P, OS=Mus musculus GN=A2m PE=2 SV=2

Таблица 4. Данные IP/MS для CA19-9 из кондиционированных сред C;RLSL;F или генетически отрицательный органоид (A225 и A223, соответственно) после 8 часов обработки Dox. «25 0H NS19» означает органоиды A225 до обработки NS19-9; «25 8H NS19» означает органоиды A225 после 8 часов обработки NS19-9; «25 0H 5B1» означает органоиды A225 до обработки 5B1; «25 8H 5B1» означает органоиды A225 после 8 часов обработки 5B1; «23 0H NS19» означает органоиды A223 до обработки NS19-9; «23 8H NS19» означает органоиды A223 после 8 часов обработки NS19-9; «23 0H 5B1» означает органоиды A223 до обработки 5B1; «23 8H 5B1» означает органоиды A223 после 8 часов обработки 5B1.

Семейство Член Номер доступа UniProt_мышь 250H NS19 258H NS19 250H
5B1
258H
5B1
230H NS19 238H NS19 230H
5B1
238H
5B1
Описание
1 1 P01868 1 1,069 0,117 0,069 1,086 0,956 0,091 0,177 С-область гамма1-цепи lg, секретируемая форма, OS=Mus musculus GN=lghg1 PE=1 SV=1 1 2 AOA075B5P4 1 1,072 0,112 0,066 1,088 0,957 0,088 0,164 С-область гамма1-цепи lg, секретируемая форма (фрагмент), OS=Mus musculus GN=lghg1 PE=1 SV=1 2 1 P01637 1 1,139 0,285 0,202 2,018 1,655 0,243 0,336 T1 V-V-области каппа-цепи lg, OS=Mus musculus PE=4 SV=1 2 2 AOAI40T8P9 1 1,105 0,31 0,166 1,879 1,578 0,207 0,29 Вариабельная область каппа-цепи иммуноглобулина 14-111 (фрагмент), OS=Mus musculus GN=lgkv14-111 PE=4 SV=2 3 1 P01837 1 1,164 0,109 0,081 1,443 1,363 0,058 0,142 С-область каппа-цепи lg, OS=Mus musculus PE=1 SV=1 3 2 AOA075B5P2 1 1,153 0,107 0,081 1,433 1,347 0,058 0,141 Константная область каппа-цепи иммуноглобулина (фрагмент), OS=Mus musculus GN=lgkc PE=1 SV=1 4 1 P07724 1 0,929 0,204 0,187 1,061 0,903 0,146 0,27 Сывороточный альбумин, OS=Mus musculus GN=Alb PE=1 SV=3 5 1 P20152 1 0,542 11,23 9,977 0,724 0,767 10,68 14,82 Виментин, OS=Mus musculus GN=Vim PE=1 SV=3 5 2 P50446 1 0,685 1,22 1,07 0,934 0,691 1,425 1,126 Цитоскелетный кератин 6А, тип II, OS=Mus musculus GN=Krt6a PE=1 SV=3 5 3 P11679 1 0,895 1,633 1,507 0,791 0,683 2,206 2,604 Цитоскелетный кератин 8, тип II, OS=Mus musculus GN=Krt8 PE=1 SV=4 5 4 P04104 1 0,646 1,089 0,866 0,804 0,547 1,751 0,905 Цитоскелетный кератин 1, тип II, OS=Mus musculus GN=Krt PE=1 SV=4 5 5 P31001 1 0,295 11,52 9,866 0,409 0,458 13,22 15,16 Десмин, OS=Mus musculus GN=Des PE=1 SV=3 5 6 8VED5 1 0,851 1,532 1,103 1,045 0,696 1,186 1,292 Цитоскелетный кератин 79, тип II, OS=Mus musculus GN=Krt79 PE=1 SV=2 5 7 Q6NXH9 1 0,653 1,123 0,848 0,989 0,665 1,323 1,156 Цитоскелетный кератин 73, тип II, OS=Mus musculus GN=Krt73 PE=1 SV=1 5 8 Q9DCV7 1 0,872 1,337 1,401 0,846 0,656 1,772 2,35 Цитоскелетный кератин 7, тип II, OS=Mus musculus GN=Krt7 PE=1 SV=1 5 9 Q3TTY5 1 0,754 1,446 0,913 0,921 0,753 1,105 1,215 Цитоскелетный кератин 2, тип II, эпидермальный, OS=Mus musculus GN=Krt2 PE=1 SV=1 5 10 Q3UV17 1 0,658 1,197 0,991 1,028 0,651 1,621 1,025 Цитоскелетный кератин 2, тип II, пероральный, OS=Mus musculus GN=Krt76 PE=1 SV=1 5 11 P07744 1 0,82 1,422 1,192 1,102 0,83 1,561 1,751 Цитоскелетный кератин 4, тип II, OS=Mus musculus GN=Krt4 PE=1 SV=2 6 1 AOA075B5T3 1 1,127 0,303 0,276 1,156 1,077 0,323 0,514 Вариабельная область тяжелой цепи иммуноглобулина 6-6 (фрагмент), OS=Mus musculus GN=Ighv6-6 PE=4 SV=1 6 2 P01796 1 1,112 0,337 0,301 1,535 1,245 0,343 0,512 А4 V-III-области тяжелой цепи lg, OS=Mus musculus PE=1 SV=1 7 1 P05213 1 0,75 4,685 4,035 0,727 0,665 3,521 5,493 Тубулин, альфа-1В цепь, OS=Mus musculus GN=Tuba1b PE=1 SV=2 8 1 P52480 1 0,571 5,34 4,177 0,653 0,569 4,463 6,417 Пируваткиназа PKM, OS=Mus musculus GN=PkmPE=1 SV=4 9 1 P11499 1 0,818 4,865 3,988 0,922 0,76 3,98 5,618 Белок теплового шока HSP90-бета, OS=Mus musculus GN=Hsp90ab1 PE=1 SV=3 9 2 P07901 1 0,848 3,685 3,04 0,913 0,784 2,998 4,086 Белок теплового шока HSP90-альфа, OS=Mus musculus GN=Hsp90aa1 PE=1 SV=4 9 3 P08113 1 0,832 3,586 2,899 0,715 0,779 3,001 3,873 Эндоплазмин, OS=Mus musculus GN=Hsp90b1 PE=1 SV=2 10 1 Q68FD5 1 0,765 3,631 3,184 0,854 0,723 2,825 4,176 Тяжелая цепь 1 клатрина OS=Mus musculus GN=Cltc PE=1 SV=3 11 1 P26443 1 0,681 8,259 6,636 0,947 0,77 6,399 8,311 Глутаматдегидрогеназа 1, митохондриальная, OS=Mus musculus GN=Glud1 PE=1 SV=1 12 1 AOA075B5P3 1 0,897 0,331 0,27 0,975 0,846 0,257 0,29 Константная область тяжелой цепи гамма 2B иммуноглобулина (фрагмент), OS=Mus musculus GN=lghg2b PE=1 SV=1 12 2 P01867 1 0,9 0,318 0,262 0,973 0,859 0,259 0,292 С-область цепи гамма-2B lg, OS=Mus musculus GN=lgh-3 PE=1 SV=3 12 3 P01863 1 0,798 0,245 0,227 0,997 0,879 0,19 0,244 С-область цепи гамма-2А lg, аллель A, OS=Mus musculus Gn=lghg PE=1
SV=1
13 1 Q61838 1 0,855 0,243 0,208 0,959 0,856 0,202 0,212 Белок зоны беременности, OS=Mus musculus GN=Pzp PE=1 SV=3 14 1 P58252 1 0,737 4,985 4,221 0,824 0,806 4,117 5,373 Фактор элонгации 2, OS=Mus musculus GN=Eef2 PE=1 SV=2 14 2 A2AH85 1 0,776 3,331 2,779 0,634 0,659 2,615 3,589 Компонент U5 малого ядерного рибонуклеопротеина массой 116 кДа,
OS=Mus musculus GN=Eftud2 PE=1 SV=1
15 1 Q9ZlR9 1 3,838 2,933 3,243 3,829 3,089 1,806 1,209 MCG124046, OS=Mus musculus GN=Prss1 PE=1 SV=1 15 2 Q792Y8 1 3,987 2,916 3,244 3,904 3,133 1,63 1,07 MCG15081, OS=Mus musculus GN=Gm10334 PE=3 SV=1 15 3 Q792Zl 1 4,18 3,033 3,368 4,081 3,265 1,651 1,092 MCG140784, OS=Mus musculus GN=Try10 Pe=1 SV=1 16 1 P63017 1 0,81 5,69 4,331 0,939 0,841 4,318 6,09 Когнатный белок теплового шока массой 71 кДа, OS=Mus musculus
GN=Hspa8 PE=1 SV=1
16 2 P17879 1 0,753 4,922 3,812 0,758 1,484 3,99 5,519 Белок теплового шока 1B, массой 70 кДа, OS=Mus musculus GN=Hspa1b
PЕ=1 SV=3
16 3 P16627 1 0,782 5,422 4,224 0,779 1,774 4,494 6,214 Белок 1, подобный белку теплового шока, массой 70 кДа, OS=Mus
musculus GN=Hspall PE=1 SV=4
16 4 P20029 1 0,697 5,037 4,064 0,821 0,688 4,271 5,732 Регулируемый глюкозой белок массой 78 кДа, OS=Mus musculus GN=Hspa5 PE=1 SV=3 17 1 P99024 1 0,963 4,791 3,931 1,143 0,766 3,722 5,468 Тубулин, бета-5 цепь, OS=Mus musculus GN=Tubb5 PE=1 SV=1 17 2 P68372 1 0,932 4,251 3,488 1,103 0,855 3,267 4,92 Тубулин, бета-4B цепь, OS=Mus musculus GN=Tubb4b PE=1 SV=1 18 1 A2A513 1 0,751 1,352 0,812 0,914 0,699 1,102 1,021 Цитоскелетный кератин 10, тип I, OS=Mus musculus GN=Krt10
PE=1 SV=1
18 2 P19001 1 0,883 1,432 1,473 0,776 0,588 1,738 1,856 Цитоскелетный кератин 19, типа I, OS=Mus musculus GN=Krt19
PE=1 SV=1
18 3 Q61781 1 0,845 1,295 1,106 0,917 0,816 1,16 1,543 Цитоскелетный кератин 14, тип I, OS=Mus musculus GN=Krt14
PE=1 SV=2
19 1 P50247 1 0,586 7,664 6,361 0,736 0,693 6,445 8,288 Аденозилгомоцистеиназа, OS=Mus musculus GN=Ahcy PE=1 SV=3 20 1 AOAOAOMQF6 1 0,919 7,123 6,146 1,076 0,88 5,781 8,724 Глицеральдегид-3-фосфатдегидрогеназа, OS=Mus musculus GN=Gapdh PE=1 SV=1 21 1 P14206 1 0,679 3,016 2,309 0,65 0,605 2,401 3,355 40S рибосомный белок SA, OS=Mus musculus GN=Rpsa PE=1 SV=4 22 1 035565 1 0,798 6,656 5,286 0,898 0,87 4,8 7,394 Фактор роста фибробластов 10, OS=Mus musculus GN=Fgf10 PE=2 SV=1 23 1 AOA140LI59 1 1,507 1,729 1,959 0,882 0,721 1,57 2,088 Отсутствующий в злокачественных опухолях мозга белок 1, OS=Mus musculus GN=Dmbt1 PE=1 SV=1 24 1 Q06890 1 2,011 2,26 4,091 0,94 0,775 1,915 2,594 Кластерин, OS=Mus musculus GN=Clu PE=1 SV=1 25 1 P97466 1 0,93 24,74 21,19 1,461 1,273 19,15 25,6 Ноггин, OS=Mus musculus GN=Nog PE=2 SV=1 26 1 AOA075B5P6 1 0,905 0,292 0,253 1,017 0,869 0,202 0,235 С-область мю-цепи lg (фрагмент), OS=Mus musculus GN=Ighm PE=1 SV=1 27 1 Q07797 1 0,959 3,086 2,687 0,701 0,663 7,637 10,25 Галектин-3-связывающий белок, OS=Mus musculus GN=Lgals3bp PE=1 SV=1 28 1 P99027 1 0,831 4,398 2,989 0,98 0,658 2,758 4,68 60S кислый рибосомный белок P2, OS=Mus musculus GN=Rplp2 PE=1 SV=3 29 1 AOAOAOMQA3 1 0,969 0,269 0,193 0,964 0,924 0,196 0,187 Альфа-1-антитрипсин 1-1, OS=Mus musculus GN=Serpina1a PE=1 SV=1 29 2 Q00897 1 0,972 0,394 0,321 0,983 0,908 0,309 0,33 Альфа-1-антитрипсин 1-4, OS=Mus musculus GN=Serpina1d PE= 1 SV=1 29 3 P22599 1 0,937 0,321 0,218 0,935 0,901 0,227 0,203 Альфа-1-антитрипсин 1-2, OS=Mus musculus GN=Serpina1b PE=1 SV=2 30 1 P01654 1 0,889 0,884 0,741 1,005 0,828 0,759 0,816 PC 2880/PC 1229 V-III-области каппа-цепи lg, OS=Mus musculus PE=1 SV=1 30 2 P01670 1 1,493 0,117 0,076 1,446 1,375 0,067 0,055 PC 6684 V-III-области каппа-цепи lg, OS=Mus musculus PE=1 SV=1 30 3 P01644 1 1,493 0,11 0,073 1,447 1,376 0,063 0,053 HP Rl6.7 V-V-области каппа-цепи lg, OS=Mus musculus PE=1 SV=1 31 1 E9QlF2 1 1 2,055 1,8 0,728 0,681 1,843 2,192 Цитоплазматический актин 1, OS=Mus musculus GN=Actb PE=1 SV=1 32 1 035490 1 0,678 6,665 5,406 0,973 0,775 5,071 6,826 Бетаин-гомоцистеин-S-метилтрансфераза 1, OS=Mus musculus GN=BhmtPE=1 SV=1 33 1 P05784 1 0,78 2,038 1,825 0,685 0,489 2,324 2,98 Цитоскелетный кератин 18, тип l, OS=Mus musculus GN=Krt18 PE=1 SV=5 34 1 Q9WVF5 1 1,078 0,287 0,241 0,979 0,499 1,161 0,887 Рецептор эпидермального фактора роста, OS=Mus musculus GN=EgfrPE=1 SV=1 35 1 Q9D8NO 1 0,816 5,581 4,469 1,407 0,84 4,612 6,075 Фактор элонгации 1-гамма, OS=Mus musculus GN=Eef1g PE=1 SV=3 36 1 Q02053 1 0,681 4,983 3,921 0,662 0,701 3,541 5,333 Убиквитин-подобный модификатор-активирующий фермент 1, OS=Mus musculus GN=Ubal PE=1 SV=1 36 2 P31254 1 0,669 3,674 3,008 0,687 0,699 2,289 3,93 Убиквитин-подобный модификатор-активирующий фермент 1 Y, OS=Mus musculus GN=Ubaly PE=1 SV=2 37 1 E9QOFO 1 0,696 1,095 1,01 1,003 0,687 1,598 0,949 Кератин 78, OS=Mus musculus GN=Krt78 PE=1 SV=1 38 1 P68040 1 0,791 5,071 4,13 0,87 0,748 3,508 6,026 Рецепторный белок RACK1, OS=Mus musculus GN=Rack1 PE=1 SV=3 39 1 AOAOR4JlH6 1 0,616 3,521 2,512 0,697 0,651 3,101 3,308 Гольджин, подсемейство A, член 3, OS=Mus musculus GN=Golga3 PE=1 SV=1 40 1 AOA087WR50 1 0,617 0,763 1,423 0,559 0,5 0,582 0,766 Фибронектин, OS=Mus musculus GN=Fn1 PE=1 SV=1 41 1 Q3Vll7 1 0,442 1,513 1,21 0,44 0,418 1,312 1,657 АТФ-цитратсинтаза, OS=Mus musculus GN=Acly PE=1 SV=1 42 1 AOA075B5P5 1 0,899 0,434 0,399 0,951 0,845 0,368 0,443 Константная область тяжелой цепи гамма 3 иммуноглобулина (фрагмент), OS=Mus musculus GN=Ighg3 PE=4 SV=1 43 1 Q9ET01 1 0,683 3,434 2,589 0,744 0,693 2,841 3,593 Гликогенфосфорилаза, печеночная форма, OS=Mus musculus GN=Pyg1 PE=1 SV=4 44 1 P07759 1 0,906 0,366 0,325 0,999 0,863 0,36 0,315 Ингибитор сериновой протеазы A3K, OS=Mus musculus GN=Serpina3k PE=1 SV=2 45 1 Q6PHC1 1 0,695 2,278 1,775 1,08 0,761 2,074 2,582 Альфа-енолаза, OS=Mus musculus GN=Enol PE=l SV=l 46 1 P80313 1 0,772 2,707 2,055 0,762 0,655 2,115 2,694 Субъединица эта T-комплексного белка 1, OS=Mus musculus GN=Cct7 PE=1 SV=1 47 1 P10126 1 0,903 7,373 5,512 1,136 0,954 5,789 7,761 Фактор элонгации 1-альфа 1, OS=Mus musculus GN=Eef1a1 PE=1 SV=3 47 2 P62631 1 0,848 7,304 5,43 1,075 0,891 5,657 7,616 Фактор элонгации 1-альфа 2, OS=Mus musculus GN=Eef1a2 PE=1 SV=1 48 1 F8VQJ3 1 0,828 4,689 4,676 0,991 0,819 4,401 4,925 Субъединица гамма-1 ламинина, OS=Mus musculus GN=Lamc1 PE=1 SV=1 49 1 P62827 1 0,656 4,222 3,003 0,709 0,669 2,961 4,721 ГТФ-связывающий ядерный белок Ran, OS=Mus musculus GN=RanPE=1 SV=3 50 1 P80318 1 0,761 5,679 4,817 0,928 0,87 5,117 6,078 Субъединица гамма Т-комплексного белка 1, OS=Mus musculus GN=Cct3 PE=1 SV=1 51 1 P47738 1 0,756 3,736 3,021 0,847 0,771 3,327 4,109 Альдегиддегидрогеназа, митохондриальная, OS=Mus musculus GN=Aldh2 PE=1 SV=1 52 1 P80317 1 0,597 2,931 2,39 0,67 0,594 2,25 2,964 Субъединица дзета T-комплексного белка1, OS=Mus musculus GN=Cct6a PE=1 SV=3 53 1 AOA1BOGSR9 1 0,612 3,981 4,162 0,868 0,646 2,106 5,322 L-лактатдегидрогеназа? OS=Mus musculus GN=Ldha PE=1 SV=1 54 1 AOA075B5K2 1 0,902 0,466 0,505 1,049 0,919 0,446 0,851 Вариабельная область каппа-цепи иммуноглобулина 9-124, OS=Mus musculus GN=Igkv9-124 PE=1 SV=7 55 1 Q00623 1 0,891 12,55 11,79 1,144 0,789 11,71 13,38 Аполипопротеин A-I, OS=Mus musculus GN=Apoa1 PE=1 SV=2 56 1 P11983 1 0,672 2,953 2,222 0,727 0,616 2,329 2,897 Субъединица альфа T-комплексного белка 1, OS=Mus musculus GN=Tcp1 PE=1 SV=3 57 1 P80315 1 0,791 2,472 1,835 0,804 0,734 1,783 2,212 Субъединица дельта T-комплексного белка 1, OS=Mus musculus GN=Cct4 PE=1 SV=3 57 2 P80316 1 0,468 2,224 1,598 0,448 0,637 1,177 1,906 Субъединица эпсилон T-комплексного белка 1, OS=Mus musculus GN=Cct5 PE=1 SV=1 58 1 P24270 1 0,653 3,375 2,819 0,648 0,636 2,665 3,665 Каталаза, OS=Mus musculus GN=Cat PE=1 SV=4 59 1 Q9CPN9 1 1,328 2,28 1,42 1,086 1,029 1,495 1,245 Ген кДНК 2210010C04 из RIKEN, OS=Mus musculus GN=2210010C04Rik PE=1 SV=1 60 1 P35979 1 0,919 2,929 2,082 0,768 0,902 1,99 2,755 60S рибосомный белок L12, OS=Mus musculus GN=Rpll2 PE=1 SV=2 61 1 Q61753 1 0,647 5,947 4,971 0,937 0,699 5,211 6,535 D-3-фосфоглицератдегидрогеназа, OS=Mus musculus GN=Phgdh PE=1 SV=3 62 1 P16125 1 0,749 5,136 4,409 0,743 0,923 4,467 5,374 В-цепь L-лактатдегидрогеназы, OS=Mus musculus GN=Ldhb PE=1 SV=2 63 1 F8VQ40 1 0,577 2,046 1,465 0,594 0,538 1,559 1,939 Субъединица альфа-1 ламинина, OS=Mus musculus GN=Lama1 PE=lSV=l 64 1 P14869 1 0,515 4,374 3,251 0,58 0,49 3,427 4,934 60S кислый рибосомный белок P0, OS=Mus musculus GN=Rplp0 PE=1 SV=3 65 1 AOAOG2JE99 1 0,86 0,559 0,454 0,935 0,775 0,46 0,681 Константная область 1 лямбда-цепи иммуноглобулина (фрагмент), OS=Mus musculus GN=Ig1c1 PE=4 SV=1 66 1 A2AFSO 1 0,714 6,183 4,995 0,775 0,72 3,808 6,214 Серин-тРНК лигаза, цитоплазматическая (фрагмент), OS=Mus musculus GN=Sars PE=1 SV=1 67 1 P61164 1 0,635 2,686 1,837 0,906 0,786 2,038 2,084 Альфа-центрактин, OS=Mus musculus GN=Actrla PE=1 SV=1 68 1 AOA140T8P6 1 0,772 0,9 0,611 1,086 0,837 0,794 0,885 Вариабельная область каппа цепи иммуноглобулин 12-46 (фрагмент), OS=Mus musculus GN=Igkv12-46 PE=1 SV=2 68 2 AOA140T8Ql 1 0,718 0,485 0,313 1,063 0,897 0,399 0,324 Белок Igkvl2-41 (фрагмент), OS=Mus musculus GN=Igkvl2-41 PE=1 SV=2 69 1 P10493 1 0,534 1,72 1,254 0,466 0,451 1,561 2,03 Нидоген-1, OS=Mus musculus GN=Nid1 PE=1 SV=2 70 1 P80314 1 0,837 2,152 1,558 0,637 0,851 1,543 1,551 Субъединица бета T-комплексного белка 1, OS=Mus musculus GN=Cct2 PE=1 SV=4 71 1 AOA075B5L8 1 0,986 0,464 0,483 1,332 1,19 0,447 0,557 Вариабельная область каппа цепи иммуноглобулин 4-79 (фрагмент), OS=Mus musculus GN=Igkv4-79 PE=4 SV=2 72 1 AOA075B666 1 0,85 0,59 0,559 0,989 0,759 0,551 0,487 Вариабельная область каппа-цепи иммуноглобулина 13-85 (фрагмент), OS=Mus musculus GN=Igkv13-85 PE=4 SV=5 73 1 P01027 1 0,634 0,647 0,555 0,755 0,659 0,499 0,474 Компонент комплемента C3, OS=Mus musculus GN=C3 PE=1 SV=3 74 1 Q5XJF6 1 0,918 5,197 4,599 1,07 0,713 3,512 6,136 Рибосомный белок, OS=Mus musculus GN=Rpll0a PE=1 SV=1 75 1 AOAOB4JlH7 1 1,057 0,283 0,227 1,095 1,076 0,239 0,254 Вариабельная область каппа цепи иммуноглобулин 1-135 (фрагмент), OS=Mus musculus GN=Igkv1-135 PE=4 SV=1 76 1 Q8BHOO 1 0,971 8,707 5,73 1,256 0,712 7,142 8,854 Альдегиддегидрогеназа, семейство 8, член A1, OS=Mus musculus GN=Aldh8a1 PE=1 SV=1 77 1 AOA075B5Vl 1 0,894 0,146 0,117 0,969 0,871 0,076 0,139 Вариабельная область тяжелой цепи иммуноглобулина 1-31 OS=Mus musculus GN=Ighv1-31 PE=4 SV=1 78 1 P09411 1 0,913 4,417 3,703 0,909 0,72 3,796 3,6 Фосфоглицераткиназа 1, OS=Mus musculus GN=Pgkl PE=1 SV=4 79 1 AOAOB4Jll9 1 1,115 0,544 0,482 1,345 1,118 0,539 0,537 Вариабельная область каппа цепи иммуноглобулин 4-55 (фрагмент), OS=Mus musculus GN=Igkv4-55 PE=1 SV=1 80 1 P61205 1 0,621 2,889 1,862 0,618 0,567 1,905 2,099 Фактор АДФ-рибозилирования 3, OS=Mus musculus GN=Arf3 PE=2 SV=2 81 1 Q8Cl96 1 0,592 4,622 3,601 0,544 0,598 3,901 4,472 Карбамоилфосфатсинтаза [аммиак], митохондриальная, OS=Mus musculus GN=Cps1 PE=1 SV=2 82 1 AOAOUlRNJl 1 0,646 3,434 3,151 0,816 0,544 2,52 4,353 Синтаза жирных кислот, OS=Mus musculus GN=FasnPE=1 SV=1 83 1 Q91X72 1 0,771 1,287 0,407 0,882 0,924 0,64 0,52 Гемопексин, OS=Mus musculus GN=Hpx PE=1 SV=2 84 1 AOA087WPL5 1 0,496 2,36 1,85 0,487 0,606 2,273 3,053 АТФ-зависимая РНК-хеликаза А, OS=Mus musculus GN=Dhx9 PE=1 SV=1 85 1 070475 1 0,596 1,243 0,962 0,623 0,57 1,03 1,347 УДФ-глюкозо-6-дегидрогеназа, OS=Mus musculus GN=Ugdh PE=1 SV=1 86 1 E9Q035 1 0,874 0,473 0,474 0,945 0,788 0,402 0,356 Прогнозируемый ген 20425, OS=Mus musculus GN=Gm20425 PE=4 SV=1 87 1 AOA075B5K8 1 1,063 0,379 0,106 1,094 1,122 0,17 0,129 Вариабельная область каппа цепи иммуноглобулин 1-99, OS=Mus musculus GN=Igkv1-99 PE=4 SV=7 88 1 G3X8Q5 1 1,046 0,683 0,639 1,057 0,948 0,632 0,7 Церулоплазмин, OS=Mus musculus GN=Cp PE=1 SV=1 89 1 P60843 1 0,803 1,821 1,395 0,875 0,818 1,333 1,596 Эукариотический фактор инициации 4A-I OS=Mus musculus GN=Eif4al PE=1 SV=1 90 1 AOA171KXD3 1 0,669 4,437 3,854 0,757 0,772 3,222 4,845 Белок аргинин-N-метилтрансфераза 1, OS=Mus musculus GN=Prmtl PE=1 SV=1 91 1 Q9CQ62 1 1,242 2,245 2,229 1,1 1,078 2,376 2,962 2,4-диеноил-КоА редуктаза, митохондриальная, OS=Mus musculus GN=Decr1 PE=1 SV=1 92 1 H3BL49 1 0,96 2,355 1,784 1,091 0,855 1,923 2,541 Субъединица тета T-комплексного белка 1, OS=Mus musculus GN=Cct8 PE=l SV=l 93 1 Q9DBJ1 1 0,669 2,125 1,66 0,655 0,65 1,363 2,045 Фосфоглицерат мутаза 1, OS=Mus musculus GN=Pgam1 PE=1 SV=3 94 1 AOA075B6A3 1 0,959 0,886 0,652 1,179 0,991 0,815 0,777 Константная область тяжелой цепи альфа иммуноглобулина (фрагмент), OS=Mus musculus GN=Igha PE=1 SV=1 95 1 D6RGQO 1 0,798 1,123 0,787 0,832 0,644 0,733 0,828 Фактор H комплемента, OS=Mus musculus GN=Cfh PE=1 SV=l 96 1 AOA075B5Q4 1 0,74 0,468 0,33 0,969 0,715 0,528 0,54 Вариабельная область тяжелой цепи иммуноглобулина 5-12 (фрагмент), OS=Mus musculus GN=lghv5-12 PE=4 SV=1 97 1 Q8VDD5 1 0,669 1,14 1,011 0,638 0,545 0,992 1,244 Миозин-9 OS=Mus musculus GN=Myh9 PE=1 SV=4 98 1 P20918 1 0,592 0,746 0,487 0,759 0,707 0,464 0,682 Плазминоген, OS=Mus musculus GN=Plg PE=1 SV=3 99 1 B2MlR6 1 0,823 2,359 1,977 0,664 0,789 2,092 2,45 Гетерогенный ядерный рибонуклеопротеин K, OS=Mus musculus GN=Hnrnpk PE=1 SV=1 100 1 A2AKJ6 1 0,802 2,573 2,422 0,621 0,408 2,226 2,769 Синтетин-1 (фрагмент), OS=Mus musculus GN=Sdcbp PE=1 SV=1 101 1 D3YYM6 1 1,054 5,753 4,191 1,059 0,849 3,93 5,708 40S рибосомный белок S5 (фрагмент), OS=Mus musculus GN=Rps5 PE=1 SV=1 102 1 G5E866 1 0,698 3,211 2,738 0,619 0,537 2,469 3,562 Субъединица 1 фактора сплайсинга 3B, OS=Mus musculus GN=Sf3b1 PE=1 SV=1 103 1 Q8BWT1 1 0,557 2,794 2,312 0,465 0,792 2,157 3,201 3-кетоацил-КоА-тиолаза, митохондриальная, OS=Mus musculus GN=Acaa2 PE=1SV=3 104 1 AOA075B5Kl 1 0,772 0,639 0,495 0,856 0,759 0,516 0,514 Вариабельная область каппа цепи иммуноглобулин 11-125, OS=Mus musculus GN=lgkv11-125 PE=4 SV=7 105 1 P01806 1 0,858 0,792 0,599 0,958 0,802 0,594 0,751 V-область тяжелой цепи lg 441, OS=Mus musculus PE=4 SV=1 106 1 Q8R2K3 1 0,528 2,234 1,797 0,591 0,658 1,677 1,733 Связывающий одноцепочечную ДНК белок 1, OS=Mus musculus GN=Ssbp1 PE=1 SV=1 107 1 AOAOG2JGQ8 1 0,884 0,544 0,401 0,999 0,79 0,617 0,417 С-область лямбда-3 цепи lg (фрагмент), OS=Mus musculus GN=lglc3 PE=1 SV=1 108 1 P28665 1 0,936 0,405 0,38 1,184 1,04 0,373 0,492 Муриноглобулин-1, OS=Mus musculus GN=Mug1 PE=1 SV=3 109 1 AOAOB4Jlll 1 0,986 --- 0,161 1,099 0,589 0,181 0,224 Вариабельная область каппа цепи иммуноглобулин 16-104 (фрагмент), OS=Mus musculus GN=lgkv16-104 PE=4 SV=1 110 1 AOA140T8M3 1 0,913 0,369 0,364 1,235 1,038 0,375 0,445 Вариабельная область каппа-цепи иммуноглобулина 8-30 (фрагмент), OS=Mus musculus GN=Igkv8-30 PE=4 SV=2 111 1 Q6ZWY9 1 1,434 1,176 1,527 0,811 0,735 0,941 1,167 Гистон H2B типа 1-C/E/G, OS=Mus musculus GN=Histlh2bc PE=1 SV=3 112 1 AOAOA6YW67 1 1,138 2,633 2,465 0,715 0,551 2,181 2,53 MCG23377, изоформа CRA_b, OS=Mus musculus GN=Gm8797 PE=4 SV=1 113 1 P14131 1 0,574 4,228 4,052 0,57 0,541 4,522 6,059 40S рибосомный белок S16, OS=Mus musculus GN=Rps16 PE=1 SV=4 114 1 P01675 1 1,304 1,889 1,658 1,721 1,52 2,056 1,925 V-VI область XRPC 44 цепи lg каппа, OS=Mus musculus PE=1 SV=1 115 1 Q91VC3 1 0,817 2,843 1,736 0,793 0,875 1,653 2,195 Эукариотический фактор инициации 4A-III, OS=Mus musculus GN=Eif4a3 PE=1 SV=3 116 1 D3YV76 --- --- --- --- --- --- --- --- Септин-2 (фрагмент), OS=Mus musculus GN=Sept2 PE=1 SV=1 117 1 Q8BKC5 1 0,805 3,081 2,221 0,763 0,963 2,833 3,389 Импортин-5, OS=Mus musculus GN=Ipo5 PE=1 SV=3 118 1 P12023 1 1,458 1,244 3,728 0,673 0,588 1,016 1,259 Белок амилоид-бета A4, OS=Mus musculus GN=App PE=1 SV=3 119 1 P62264 1 0,61 2,494 1,853 0,507 0,666 1,532 2,602 40S рибосомный белок S14, OS=Mus musculus GN=Rps14 PE=1 SV=3 120 1 Q99LF4 1 0,862 1,955 1,269 0,875 0,774 1,39 2,119 Гомолог лигазы тРНК сплайсинга RtcB, OS=Mus musculus GN=Rtcb PE=1 SV=1 121 1 B1ASC1 1 0,586 2,543 2,2 0,612 0,551 2,265 3,046 Гомолог R-спондина (Xenopus laevis), OS=Mus musculus GN=Rspol PE=2 SV=1 122 1 P24549 1 0,652 3,779 2,987 0,831 0,581 2,88 3,877 Ретинальная дегидрогеназа 1, OS=Mus musculus GN=Aldh1a1 PE=1 SV=5 123 1 Q04447 1 0,413 1,231 1,006 0,533 0,485 1,068 1,529 Креатинкиназа B-типа, OS=Mus musculus GN=Ckb PE=1 SV=1 124 1 Q3U367 1 0,695 4,579 3,932 1,149 0,803 3,815 5,041 4-триметиларнинобутиральдегиддегидрогеназа, OS=Mus musculus GN=Aldh9a1 PE=1 SV=1 125 1 AOA075B663 1 0,908 0,527 0,479 1,343 1,118 0,557 0,454 Вариабельная область лямбда-цепи иммуноглобулина 1 (фрагмент), OS=Mus musculus GN=Iglvl PE=4 SV=l 126 1 AOA087WP24 1 0,061 0,474 0,454 0,074 0,262 0,432 0,649 Белок ABHD14B (фрагмент), OS=Mus musculus GN=Abhd14b PE=1 SV=1 127 1 E9QN70 1 0,662 4,071 3,185 0,631 0,617 3,203 4,593 Субъединица бета-1 ламинина, OS=Mus musculus GN=Lamb 1 PE=1 SV=1 128 1 AOA140T8M4 1 0,819 0,618 0,482 0,909 0,82 0,596 0,604 Вариабельная область каппа цепи иммуноглобулин 8-19, OS=Mus musculus GN=Igkv8-19 PE=1 SV=2 128 2 AOA075B5N3 1 0,793 0,71 0,508 0,881 0,825 0,692 0,617 Вариабельная область каппа цепи иммуноглобулин 8-28, OS=Mus musculus GN=Igkv8-28 PE=1 SV=7 129 1 P25444 1 0,785 3,186 1,785 0,82 0,682 2,471 3,23 40S рибосомный белок S2, OS=Mus musculus GN=Rps2 PE=1 SV=3 130 1 P70168 1 0,539 4,492 3,545 0,521 0,575 4,218 6,126 Субъединица бета-1 импортина, OS=Mus musculus GN=Kpnb1 PE=1 SV=2 131 1 F6ZEW4 1 0,83 3,768 1,979 0,596 0,677 2,003 4,373 Экспортин-2 (фрагмент), OS=Mus musculus GN=Csell PE=1 SV=1 132 1 AOAOA6YX19 1 1,155 0,559 0,389 1,537 1,25 0,525 0,445 Вариабельная область тяжелой цепи иммуноглобулина V6-4 (фрагмент), OS=Mus musculus GN=Ighv6-4 PE=4 SV=1 133 1 Q9CXY6 1 0,51 1,72 1,464 0,304 0,447 1,414 1,656 Фактор 2, связывающий энхансер интерлейкина, OS=Mus musculus GN=Ilf2 PE=1 SV=1 134 1 AOA075B5R4 1 0,664 0,609 0,617 0,671 0,533 0,553 0,74 Вариабельная область тяжелой цепи иммуноглобулина 14-1 (фрагмент), OS=Mus musculus GN=Ighv14-1 PE=4 SV=1 135 1 P63038 1 0,798 2,367 2,301 0,694 0,633 2,059 2,225 Белок теплового шока массой 60 кДа, митохондриальный, OS=Mus musculus GN=Hspd1 PE=1 SV=1 136 1 P18528 1 0,73 1,01 0,283 1,083 0,742 0,206 0,242 V-область тяжелой цепи lg 6.96, OS=Mus musculus PE=4 SV=1 137 1 070310 1 0,708 2,875 2,291 0,873 0,748 2,11 2,722 Глицилпептид N-тетрадеканоилтрансфераза 1, OS=Mus musculus GN=Nmt1 PE=l SV=l 138 1 P52196 1 0,742 9,942 8,506 1,497 0,901 9,523 12,71 Тиосульфат сертрансфераза, OS=Mus musculus GN=Tst PE=1 SV=3 139 1 AOA140T8NO 1 0,71 0,47 0,44 1,022 0,906 0,255 0,451 Вариабельная область каппа-цепи иммуноглобулина 9-120 (фрагмент), OS=Mus musculus GN=Igkv9-120 PE=1 SV=2 140 1 AOA075B5U4 1 0,822 0,465 0,317 1,16 0,758 0,568 0,535 Вариабельная область тяжелой цепи иммуноглобулина V1-18 OS=Mus musculus GN=Ighv1-18 PE=1 SV=1 141 1 AOA140T8N2 1 0,85 2,578 0,967 1,003 0,979 0,724 0,965 Белок Igkv5-48 (фрагмент), OS=Mus musculus GN=Igkv5-48 PE=1 SV=2 142 1 AOAOA6YXF6 1 0,566 2,457 1,54 0,519 0,674 1,654 1,901 Трансформирующий белок RhoA (фрагмент), OS=Mus musculus GN=Rhoa PE=1 SV=1 143 1 P62908 1 0,786 2,418 1,699 0,811 0,84 1,86 2,706 40S рибосомный белок S3, OS=Mus musculus GN=Rps3 PE=1 SV=1 144 1 P19324 1 0,539 3,575 2,845 0,604 0,55 2,902 4,009 Серпин H1, OS=Mus musculus GN=Serpinh1 PE=1 SV=3 145 1 Q9ZlZ2 1 0,812 2,715 1,945 0,745 0,575 1,599 2,388 Белок, связанный с рецептором серин-треонинкиназы, OS=Mus musculus GN=Strap PE=1 SV=2 146 1 P23116 1 0,64 3,48 2,798 0,603 0,556 3,719 3,382 Субъединица А эукариотического фактора инициации трансляции 3, OS=Mus musculus GN=Eif3a PE=1 SV=5 147 1 AOA140T8N7 1 0,627 0,306 0,276 1,256 0,797 0,238 0,237 Вариабельная область каппа-цепи иммуноглобулина 6-25 (фрагмент), OS=Mus musculus GN=Igkv6-25 PE=4 SV=2 148 1 Q922D8 1 1,045 3,527 2,432 1,031 0,708 2,798 3,674 C-1-тетрагидрофолатсинтаза, цитоплазматическая, OS=Mus musculus GN=Mthfd1 PE=1 SV=4 149 1 P56480 1 0,773 1,813 1,371 0,723 0,567 1,378 1,609 Бета-субъединица АТФ-синтазы, митохондриальная, OS=Mus musculus GN=Ato5b PE=1 SV=2 150 1 P62806 1 1,939 1,724 2,005 0,716 0,733 1,387 1,866 Гистон H4, OS=Mus musculus GN=Histlh4a PE=1 SV=2 151 1 P60229 1 0,502 2,269 1,69 0,438 0,565 3,016 2,497 Субъединица E эукариотического фактора инициации трансляции 3, OS=Mus musculus GN=Eif3e PE=1 SV=1 152 1 Q9Z204 1 0,897 2,679 1,695 0,788 0,831 1,806 2,301 Гетерогенные ядерные рибонуклеопротеины C1/C2, OS=Mus musculus GN=Hnrnpc PE1 SV=1 153 1 Q9CWJ9 1 0,663 1,121 0,831 0,969 0,739 1,186 1,274 Бифункциональный белок биосинтеза пурина PURH, OS=Mus musculus GN=Atic PE=1 SV=2 154 1 F6RV17 1 0,629 2,732 1,901 0,339 0,617 2,154 3,066 Регуляторная субъединица бета серин/треониновой протеинфосфатазы 2А массой 55 кДа, OS=Mus musculus GN=Ppp2r2d PE=1 SV=2 155 1 Q8RlB4 1 0,543 2,75 2,33 0,528 0,454 2,333 3,091 Субъединица C эукариотического фактора инициации трансляции 3, OS=Mus musculus GN=Eif3c PE=1 SV=1 156 1 AOAOG2JFF1 1 0,641 3,91 2,733 0,786 0,924 2,983 3,887 Серин/треониновая протеинфосфатаза (фрагмент), OS=Mus musculus GN=Ppp1cc PE=1 SV=1 157 1 Q8BGJ5 1 0,979 4,003 3,142 0,527 0,335 3,705 4,143 MCG13402, изоформа CRA_a, OS=Mus musculus GN=Ptbpl1 PE=1 SV=1 158 1 AOAI40T8N9 1 0,99 0,109 0,107 1,032 0,94 0,107 0,114 Вариабельная область каппа цепи иммуноглобулин 6-32 (фрагмент), OS=Mus musculus GN=Igkv6-32 PE=4 SV=2 159 1 F7D439 1 1,602 3,631 2,671 1,331 1,011 3,021 3,901 Аргининосукцинатлиаза (фрагмент), OS=Mus musculus GN=Asl PE=1 SV=2 160 1 AOAOR4JlE2 1 0,559 2,128 2,002 0,855 0,703 2,074 2,565 Фактор элонгации 1-дельта, OS=Mus musculus GN=Eef1d PE=1 SV=1 161 1 P21614 1 0,791 0,598 0,515 0,731 0,662 0,485 0,491 Белок, связывающий витамин D, OS=Mus musculus GN=Gc PE=1 SV=2 162 1 Q922B2 1 0,11 0,253 0,287 0,084 0,175 0,168 0,401 Аспартат-тРНК лигаза, цитоплазматическая, OS=Mus musculus GN=Dars PE=1 SV=2 163 1 Q3U741 1 0,335 3,982 2,718 0,415 0,278 3,047 3,797 DEAD (Asp-Glu-Ala-Asp)-бокс полипептид 17, изоформа CRA_a, OS=Mus musculus GN=Ddx17 PE=1 SV=1 164 1 Q8BH95 1 1,051 21,16 22,42 1,342 1,957 16,57 28,68 Эноил-КоА-гидратаза, митохондриальная, OS=Mus musculus GN=Echs1 PE=1 SV=1 165 1 Q61171 1 0,73 2,132 1,704 0,523 0,5 1,814 2,604 Пероксиредоксин-2, OS=Mus musculus GN=Prdx2 PE=1 SV=3 166 1 F6ZDS4 1 1,181 2,139 1,56 0,834 0,454 1,627 1,347 Нуклеопротеин TPR, OS=Mus musculus GN=Tpr PE=1 SV=1 167 1 P01741 1 1,17 1,141 0,923 1,256 1,199 0,912 1,116 V-область тяжелой цепи lg, OS=Mus musculus PE=1 SV=1 168 1 AOAOR4J038 1 0,84 0,556 0,238 0,928 0,75 0,182 0,392 Кининоген-1, OS=Mus musculus GN=Kng1 PE=1 SV=1 169 1 Q60972 1 0,606 2,145 1,544 0,641 0,668 1,741 1,73 Гистон-связывающий белок RBBP4, OS=Mus musculus GN=Rbbp4 PE=1 SV=5 170 1 A0Al40LIM5 1 0,691 1,942 1,625 1,344 1,218 1,653 1,917 Белок митотической контрольной точки BUB3, OS=Mus musculus GN=Bub3 PE=1 SV=1 171 1 P40124 1 0,541 1,505 1,145 0,432 0,342 1,139 1,146 Связанный с аденилатциклазой белок 1, OS=Mus musculus GN=Cap1 PE=1 SV=4 172 1 P01592 1 0,672 0,384 0,273 0,711 0,679 0,401 0,434 J-цепь иммуноглобулина, OS=Mus musculus GN=Jchain PE=1 SV=4 173 1 P01786 1 0,648 0,976 0,736 0,787 0,764 0,881 0,703 MOPC 47A V-области тяжелой цепи lg, OS=Mus musculus PЕ=1 SV=1 174 1 AOA075B5QO 1 0,752 0,94 0,556 0,669 0,675 0,827 0,655 Вариабельная область тяжелой цепи иммуноглобулина 5-6 (фрагмент), OS=Mus musculus GN=lghv5-6 PE=4 SV=1 175 1 AOAIL1SV25 1 0,99 1,259 0,912 0,811 0,537 1,245 1,262 Альфа-актинин-4, OS=Mus musculus GN=Actn4 PE=1 SV=1 176 1 Q6PDM2 1 0,339 1,964 1,135 0,342 0,216 1,55 2,017 Богатый серином/аргинином фактор сплайсинга1, OS=Mus musculus GN=Srsf1 PE=1 SV=3 177 1 Q9QWK4 1 0,717 0,696 0,497 0,721 0,695 0,469 0,566 Белок, подобный антигену CD5, OS=Mus musculus GN=Cd51 PE=1 SV=3 178 1 P62305 1 0,354 1,164 0,863 0,528 0,304 0,895 1,062 Малый ядерный рибонуклеопротеин E, OS=Mus musculus GN=Snrpe PE=1 SV=1 179 1 Q8JZQ9 1 0,817 2,585 1,903 0,89 0,709 2,229 2,667 Субъединица В эукариотического фактора инициации трансляции 3, OS=Mus musculus GN=Eif3b PE=1 SV=1 180 1 P10639 1 0,771 1,301 0,916 0,602 0,664 1,283 1,6 Тиоредоксин, OS=Mus musculus GN=Txn PE=1 SV=3 181 1 P62267 1 0,597 1,519 1,175 0,543 0,582 1,179 1,855 40S рибосомный белок S23, OS=Mus musculus GN=Rps23 PE=1 SV=3 182 1 P97351 1 0,789 1,784 1,398 0,872 0,633 1,351 1,844 40S рибосомный белок S3a, OS=Mus musculus GN=Rps3a PE=1 SV=3 183 1 Q3U2G2 1 0,686 2,57 2,18 0,662 0,366 2,07 3,023 Белок теплового шока 4 массой 70 кДа, OS=Mus musculus GN=Hspa4 PE=1 SV=1 184 1 F8WHL2 1 0,601 1,941 1,322 0,711 0,829 1,331 1,651 Субъединица альфа коатомера, OS=Mus musculus GN=Copa PE=1 SV=1 185 1 Q8BGQ7 1 1,395 4,22 2,427 0,811 0,564 2,555 2,632 Аланин-тРНК лигаза, цитоплазматическая, OS=Mus musculus GN=Aars PE=1 SV=1 186 1 H7BXC3 1 0,651 1,294 1,139 0,682 0,775 1,177 1,362 Триозофосфат изомераза, OS=Mus musculus GN=Tpil PE=1 SV=1 188 1 AOAOJ9YKD4 1 0,471 7,699 5,593 0,472 0,744 6,653 8,402 Креатинкиназа M-типа, OS=Mus musculus GN=Ckm PE=1 SV=1 189 1 Q9JKK7 1 0,972 5,912 4,983 0,829 0,982 4,575 7,092 Тропомодулин-2, OS=Mus musculus GN=Tmod2 PE=1 SV=2 190 1 G3UYR8 1 0,571 2,114 1,386 0,637 0,653 1,364 1,74 Альфа-аминоадипиновая полуальдегиддегидрогеназа, OS=Mus musculus GN=Aldh7a1 PE=1 SV=1 191 1 AOA075B5W4 1 0,988 0,08 0,083 1,101 1,037 0,093 0,079 Вариабельная область тяжелой цепи иммуноглобулина V8-6 OS=Mus musculus GN=Ighv8-6 PE=4 SV=1 192 1 E9QlG8 1 0,386 1,968 1,927 0,581 0,474 1,439 1,984 Септин-7, OS=Mus musculus GN=Sept7 PE=1 SV=2 193 1 Q61646 1 1,065 0,521 0,449 1,072 0,864 0,461 0,446 Гаптоглобин, OS=Mus musculus GN=Hp PE=1 SV=1 194 1 Q3UH59 1 0,65 2,34 1,833 0,547 0,384 1,817 1,717 Миозин-10, OS=Mus musculus GN=Myh1O PE=1 SV=1 195 1 A2AFQ2 1 0,313 0,888 0,378 0,245 0,399 0,253 0,421 3-гидроксиацил-КоА дегидрогеназа типа 2, OS=Mus musculus GN=Hsd17b10 PE=1 SV=1 196 1 AOA075B5R6 1 0,73 0,091 0,064 0,83 0,625 0,084 0,279 Вариабельная область тяжелой цепи иммуноглобулина 11-1 (фрагмент), OS=Mus musculus GN=Ighv11-1 PE=4 SV=1 197 1 AOAOU1RQ71 1 0,705 1,893 1,404 0,988 0,848 1,465 1,84 40S рибосомный белок S13, OS=Mus musculus GN=Rps13 PE=1 SV=1 198 1 P29699 1 0,78 0,638 0,56 0,947 0,467 0,514 0,547 Альфа-2-HS-гликопротеин, OS=Mus musculus GN=Ahsg PE=1 SV=1 199 1 AOAOG2JFB4 1 0,78 3,393 3,102 0,947 0,731 2,011 5,569 Эукариотический фактор инициации 4E, OS=Mus musculus GN=Eif4e PE=1 SV=1 200 1 AOAlLlSSTO 1 1,42 3,701 5,268 0,583 0,472 1,758 8,143 Пептидил-пролил-цис/транс-изомераза, OS=Mus musculus GN=Ppia PE=1 SV=1 201 1 AOA1BOGR44 1 0,669 1,342 1,061 0,66 0,689 0,965 1,089 Малый ядерный рибонуклеопротеин Ul массой 70 кДа (фрагмент), OS=Mus musculus GN=Smnp70 PE=1 SV=1 202 1 Q01853 1 0,676 1,251 1,048 0,612 0,862 1,085 1,421 АТФаза переходной эндоплазматической сети, OS=Mus musculus GN=Vcp PE=1 SV=4 203 1 Q60749 1 0,624 3,408 2,905 0,798 0,587 2,493 3,944 Содержащий KH-домен, РНК-связывающий белок, связанный с сигнальной трансдукцией1 OS=Mus musculus GN=Khdrbs1 PE=1 SV=2 204 1 AOA1Y7VKY1 1 0,442 7,321 7,263 0,495 0,692 6,824 11,35 MCG116671, OS=Mus musculus GN=mCG 116671 PE=3 SV=1 205 1 Q9JMA2 1 0,564 1,636 1,208 0,431 0,603 1,284 1,426 Каталитическая субъединица 1 хинин тРНК-рибозилтрансферазыOS=Mus musculus GN=Qtrtl PE=1 SV=2 206 1 P62715 1 0,899 2,474 2,39 1,319 0,993 1,872 2,717 Каталитическая субъединица бета серин/треониновой протеинфосфатазы 2А, изоформа, OS=Mus musculus GN=Ppp2cb PE=1 SV=1 207 1 AOAOR4J039 1 0,756 0,75 0,523 0,664 0,631 0,703 0,54 Богатый гистидином гликопротеин, OS=Mus musculus GN=Hrg PE=1 SV=1 208 1 AOAOR4Jl87 1 0,501 1,78 1,823 0,636 0,542 1,376 2,66 Рентгеноконтрастный белок 6 репарации ДНК, OS=Mus musculus GN=Xrcc6 PE=1 SV= l 209 1 P98086 1 0,159 0,323 0,449 0,139 0,245 0,206 0,172 Компонент комплемента Clq, субъединица А, OS=Mus musculus GN=Clqa PE=1 SV=2 210 1 I7HIQ2 1 0,933 1,068 0,993 0,577 0,648 0,843 1,107 Хемокин 16 с CXC мотивом (фрагмент), OS=Mus musculus GN=Cxcl16 PE=1 SV=1 211 1 P60867 1 0,647 3,082 2,083 1,342 0,794 1,787 2,503 40S рибосомный белок S20, OS=Mus musculus GN=Rps20 PE=1 SV=1 212 1 Q3UW83 1 0,647 2,877 2,172 0,479 0,584 2,52 3,016 40S рибосомный белок S10, OS=Mus musculus GN=Rps10 PE=1 SV=1 213 1 Q91Z50 1 0,942 4,109 3,591 1,232 1,161 3,891 5,233 Флэп-эндонуклеаза 1, OS=Mus musculus GN=Fen1 PE=1 SV=1 214 1 P62334 1 0,576 1,367 1,037 0,815 0,623 1,176 1,751 Регуляторная субъединица 10В 26S протеасомы, OS=Mus musculus GN=Psmc6 PE=1 SV=1 215 1 P62259 1 1,086 2,463 2,3 1,552 0,884 2,109 2,692 Белок 14-3-3 эпсилон, OS=Mus musculus GN=Ywhae PE=1 SV=1 216 1 P40142 1 0,51 1,608 1,303 0,563 0,472 1,76 1,48 Транскетолаза, OS=Mus musculus GN=Tkt PE=1 SV=1 217 1 D3Z5M7 1 0,816 2,945 2,318 0,725 0,634 1,654 3,259 Гомолог пероксидазина, OS=Mus musculus GN=Pxdn PE=1 SV=2 218 1 A2AC16 1 0,958 3,258 2,421 0,655 0,766 2,743 3,667 Дикарбонил L-ксилулозоредуктаза, изоформа CRA_a OS=Mus musculus GN=DcxrPE=1 SV=1 219 1 G3UY38 1 0,416 2,856 2,158 0,935 0,943 2,207 3,335 Гетерогенный ядерный рибонуклеопротеин L, OS=Mus musculus GN=Hnrnpl PE=1 SV=1 220 1 P57784 1 0,6 2,382 1,774 0,952 0,524 1,629 2,484 Малый ядерный рибонуклеопротеин U2 A', OS=Mus musculus GN=SnrpalPE=lSV=2 221 1 AOAOR4J1Nl 1 0,817 0,725 0,415 0,984 0,716 0,419 0,451 Интер-альфа-ингибитор трипсина, тяжелая цепь 4, OS=Mus musculus GN=Itih4 PE=1 SV=1 222 1 AOA1BOGRW3 1 0,551 5,757 5,295 0,896 0,823 4,836 6,175 RuvB-подобная хеликаза (фрагмент), OS=Mus musculus GN=Ruvbl2 PE=1 SV=1 223 1 G3UWL2 1 0,768 1,683 1,493 0,388 0,595 1,853 2,25 Регуляторная субъединица А серин/треониновой протеинфосфатазы 2А массой 65 кДа, альфа-изоформа (фрагмент), OS=Mus musculus GN=Ppp2rla PE=1 SV=1 224 1 Q8C2Q7 1 0,595 3,223 2,042 0,569 0,469 2,529 3,748 Гетерогенный ядерный рибонуклеопротеин H, OS=Mus musculus GN=Hnrnphl PE=1 SV=1 225 1 BlAWD8 1 1,082 5,08 4,94 0,926 0,939 4,153 6,096 Легкая цепь клатрина, OS=Mus musculus GN=Clta PE=1 SV=1 226 1 AOA075B5L2 1 1,059 0,519 0,38 1,033 1,01 0,38 0,397 Вариабельная область каппа-цепи иммуноглобулина 4-91 (фрагмент), OS=Mus musculus GN=Igkv4-91 PE=4 SV=2 227 1 V9GWYO 1 0,835 - - 2-.199 1,811 0,26 0,415 1,626 2,482 40S рибосомный белок S4, OS=Mus musculus GN=Gml5013 PE=3 SV=1 228 1 Q3THK7 1 0,64 1,606 1,179 0,753 0,486 1,36 1,278 ГМФ-синтаза [гидролизующий глутамин] OS=Mus musculus GN=Gmps PE=1 SV=2 229 1 A2AWQ2 1 0,344 1,932 1 0,562 1,199 1,1 0,966 Белок RCC2 (фрагмент), OS=Mus musculus GN=Rcc2 PE=1 SV=1 230 1 P60766 1 0,582 2,072 1,481 0,687 0,672 1,104 1,633 Гомолог белка 42 контроля клеточного цикла деления, OS=Mus musculus GN=Cdc42 PE=1 SV=2 231 1 AOA087WNS9 1 1,117 4,913 3,616 0,86 0,561 2,397 5,72 Лимфоцитарный антиген 6Е (фрагмент), OS=Mus musculus GN=Ly6e PE=1 SV=6 232 1 AOA1C7ZMZ5 1 0,501 1,013 0,719 0,53 0,708 0,885 0,764 Глутатионпероксидаза (фрагмент), OS=Mus musculus GN=Gpx3 PE=1 SV=1 233 1 P32233 1 0,352 1,29 0,902 0,186 0,328 1,039 1,249 Регулируемый в процессе развития ГТФ-связывающий белок 1, OS=Mus musculus GN=Drg1 PE=1 SV=1 234 1 AOAOB4Jll5 1 1,001 0,511 0,404 1,199 1,217 0,361 0,369 Вариабельная область каппа-цепи иммуноглобулина 4-70 (фрагмент), OS=Mus musculus GN=Igkv4-70 PE=4 SV=1 235 1 AOA1W2P6P4 1 0,898 4,327 3,723 0,847 1,075 4,47 5,501 РНК-связывающий белок Nova-1 (фрагмент), OS=Mus musculus GN=Noval PE=1 SV=1 236 1 BlAXW5 1 0,844 2,601 2,066 1,097 0,646 3,007 3,446 Пероксиредоксин-1 (фрагмент), OS=Mus musculus GN=Prdx1 PE=1 SV=8 237 1 AOA140T8V5 1 0,703 2,519 1,723 0,817 0,705 1,221 1,876 Ядерный антиген пролиферирующих клеток, OS=Mus musculus GN=Pcna-ps2 PE=3 SV=1 238 1 P46664 1 0,639 3,463 2,71 0,717 0,599 3,222 3,957 Изофермент 2 аденилосукцинатсинтетазы, OS=Mus musculus GN=Adss PE=1 SV=2 239 1 AOA075B5J9 1 0,722 0,238 0,317 0,893 0,713 0,152 0,291 Вариабельная область каппа цепи иммуноглобулин 17-127, OS=Mus musculus GN=Igkv17-127 PE=4 SV=7 240 1 AOA1BOGRR3 1 0,603 1,916 1,799 1,021 0,306 1,717 1,482 40S рибосомный белок S11, OS=Mus musculus GN=Rps11 PE=1 SV=1 241 1 P01029 1 1,517 2,155 1,795 1,651 1,178 2,882 2,078 Комплемент C4-B, OS=Mus musculus GN=C4b PE=1 SV=3 242 1 AOA087WS46 1 0,95 10,1 6,903 0,715 1,096 6,002 9,535 Эукариотический фактор элонгации трансляции 1-бета 2, OS=Mus musculus GN=Eef1b2 PE=1 SV=1 243 1 A2A7S7 1 0,715 3,249 2,641 1,017 0,526 2,289 3,412 Тирозин-тРНК лигаза, цитоплазматическая, OS=Mus musculus GN=Yars PE=1 SV=1 244 1 Q8BHN3 1 0,948 4,175 3,14 0,737 0,752 3,069 4,272 Нейтральная альфа-глюкозидаза AB, OS=Mus musculus GN=Ganab PE=1 SV=1 245 1 P51881 1 0,798 1,039 1,116 0,628 0,475 0,908 1,481 АДФ/АТФ транслоказа 2 OS=Mus musculus GN=Slc25a5 PE=1 SV=3 246 1 Q6P5H2 1 0,694 1,281 0,855 1,057 0,684 1,845 0,812 Нестин, OS=Mus musculus GN=Nes PE=1 SV=1 247 1 Q8JZK9 1 0,643 1,079 0,805 0,519 0,506 0,999 1,157 Гидроксиметилглутарил-КоА-синтаза, цитоплазматическая, OS=Mus musculus GN=Hmgcs1 PE=1 SV=1 248 1 P97310 1 0,553 2,77 1,723 0,608 0,568 2,23 2,508 Фактор лицензирования репликации ДНК MCM2, OS=Mus musculus GN=Mcm2 PE=1 SV=3 249 1 Q91VB8 1 0,67 2,657 1,646 0,622 0,569 2,44 3,115 Альфа-глобин 1, OS=Mus musculus GN=Hba-a2 PE=1 SV=1 250 1 Q9JHU4 1 0,288 1,94 1,655 0,308 0,284 1,785 2,339 Тяжелая цепь 1 цитоплазматического динеина 1, OS=Mus musculus GN=Dync1h1 PE=1 SV=2 251 1 Q8BP47 1 0,256 1,381 0,972 0,208 0,29 1,067 1,751 Аспарагин-тРНК лигаза, цитоплазматическая, OS=Mus musculus GN=Nars PE=1 SV=2 252 1 Q9ZlF9 1 0,795 1,577 1,046 0,5 0,754 1,08 1,258 Субъединица 2 SUMO-активирующего фермента, OS=Mus musculus GN=Uba2 PE=1 SV=1 253 1 A2AAW9 1 0,748 2,627 1,897 1,018 1,212 1,731 2,578 Субъединица 3 эукариотического фактора инициации трансляции 2, X-связанная, OS=Mus musculus GN=Eif2s3x PE=1 SV=1 254 1 P11103 1 0,423 3,322 2,828 0,731 0,485 2,75 2,51 Поли[АДФ-рибоза] полимераза 1, OS=Mus musculus GN=Parp1 PE=1 SV=3 255 1 AOA075B5Yl 1 0,78 0,601 0,484 0,775 0,682 0,267 0,528 Вариабельная область тяжелой цепи иммуноглобулина Vl-74 OS=Mus musculus GN=Ighvl-74 PE=4 SV=1 256 1 G3UXL2 1 1,318 6,131 5,212 1,095 1,168 3,681 7,362 Белок 3, подобный фосфорибозилпирофосфатсинтетазе 1, OS=Mus musculus GN=Prps113 PE=3 SV=1 257 1 Q9CR49 1 0,622 1,032 5,211 0,773 0,779 0,758 5,878 Глобин b1, OS=Mus musculus GN=Hbb-y PE=1 SV=1 258 1 AOA140T8M5 1 0,759 0,557 0,499 1,163 1,017 0,441 0,596 Вариабельная область каппа цепи иммуноглобулин 6-15 (фрагмент), OS=Mus musculus GN=Igkv6-15 PE=1 SV=2 259 1 AOAOAOMQ68 1 0,497 1,552 1,494 0,202 0,33 1,788 2,288 Глутарил-КоА дегидрогеназа, митохондриальная, OS=Mus musculus GN=Gcdh PE=1 SV=1 260 1 AOA087WP86 1 0,137 1,201 0,946 0,234 --- 1,135 1,151 Связанный с актином белок 3 (фрагмент), OS=Mus musculus GN=Actr3 PE=1 SV=1 261 1 AOA075B5K9 1 0,708 1,305 0,869 1,045 0,949 2,026 0,941 Вариабельная область каппа цепи иммуноглобулин 12-98, OS=Mus musculus GN=Igkv12-98 PE=4 SV=7 262 1 Q63870 1 0,762 8,637 8,601 2,41 0,796 11,59 10,74 Альфа-l(VII) цепи коллагена, OS=Mus musculus GN=Co17a1 PE=1 SV=3 263 1 S4Rll6 1 0,583 1,989 1,672 0,757 0,557 1,714 2,148 MCG2872, изоформа CRA_b OS=Mus musculus GN=Ddx5 PE=1 SV=1 264 1 Q9QXK3 1 0,239 1,444 1,214 0,308 0,374 1,218 1,822 Субъединица гамма 2 коатомера, OS=Mus musculus GN=Copg2 PE=1 SV=1 265 1 Q9DBM2 1 0,647 2,24 1,909 0,715 0,636 1,734 2,203 Пероксисомальный бифункциональный фермент, OS=Mus musculus GN=Ehhadh PE=1 SV=4 266 1 AOA075B6D5 1 0,439 0,689 0,46 0,664 0,645 0,462 0,51 Вариабельная область каппа-цепи иммуноглобулина 19-93, OS=Mus musculus GN=Igkvl9-93 PE=1 SV=7 267 1 Q921M3 1 0,66 1,836 1,273 0,455 0,587 1,506 2,593 Субъединица 3 фактора сплайсинга 3B, OS=Mus musculus GN=Sf3b3 PE=1 SV=1 268 1 AOA075B5L4 1 1,021 2,049 1,249 1,053 0,897 2,002 2,169 Вариабельная область каппа-цепи иммуноглобулина 12-89, OS=Mus musculus GN=Igkv12-89 PE=4 SV=7 269 1 G3UY93 1 0,304 4,516 3,545 0,504 0,606 4,105 4,936 Валин-тРНК лигаза, цитоплазматическая (фрагмент), OS=Mus musculus GN=Vars PE=1 SV=1 270 1 D3YW60 1 0,571 1,2 1,144 0,445 0,538 1,162 1,567 RuvB-подобная хеликаза (фрагмент), OS=Mus musculus GN=Ruvbl1 PE=1 SV=1 271 1 Q9CZD3 1 0,609 2,335 1,447 0,583 0,699 1,325 1,647 Глицин-тРНК лигаза, OS=Mus musculus GN=Gars PE=1 SV=1 272 1 Q9D892 1 1,197 1,796 1,328 1,036 1,643 1,366 1,483 Инозинтрифосфатпирофосфатаза, OS=Mus musculus GN=ItoaPE=1 SV=2 273 1 E9QOU7 1 0,687 2,999 2,083 0,529 0,738 2,032 2,387 Белок теплового шока массой 105 кДа OS=Mus musculus GN=Hsph1 PE=1 SV=1 274 1 Q9D8E6 1 0,982 1,863 0,85 1,229 0,873 1,51 2,251 60S рибосомный белок L4, OS=Mus musculus GN=Rpl4 PE=1 SV=3 275 1 AOA075B5V8 1 0,826 0,303 0,151 1,223 0,752 0,083 0,095 Вариабельная область тяжелой цепи иммуноглобулина 1-47 OS=Mus musculus GN=Ighv1-47 PE=4 SV=1 276 1 Q9EQH3 1 0,506 1,431 1,263 0,444 0,434 1,231 1,506 Белок 35, связанный с сортировкой вакуолярных белков, OS=Mus musculus GN=Vps35 PE=1 SV=1 277 1 Q8K2G4 1 0,318 1,008 0,544 0,324 0,345 0,755 0,899 Гомолог белка 7 синдрома Барде-Бидла, OS=Mus musculus GN=Bbs7 PE=1 SV=1 278 1 P32261 1 0,572 1,315 1,028 0,633 0,309 1,164 1,288 Антитромбин-III, OS=Mus musculus GN=Serpinc1 PE=1 SV=1 279 1 Q9D964 1 0,56 2,718 2,328 1,064 0,883 2,362 2,36 Глицинамидинотрансфераза, митохондриальная, OS=Mus musculus GN=Gatm PE=1 SV=1 280 1 AOA075B5Q5 1 1,001 4,747 3,097 2,198 1,585 7,816 4,239 Вариабельная область тяжелой цепи иммуноглобина 2-9 (фрагмент), OS=Mus musculus GN=Ighv2-9 PE=4 SV=1 281 1 AOA1W2P6F6 1 0,732 2,193 1,027 0,764 0,857 1,399 1,959 Полипептид легкой цепи миозина 6, OS=Mus musculus GN=Myl6 PE=1 SV=1

[00419] Дисбаланс в гликозилировании обычно описывается при заболеваниях человека, но биологическая роль изменений гликанов в опосредовании болезни в значительной степени не исследована. Хотя повышение CA19-9 коррелировало с панкреатитом, ранее не считалось, что он напрямую влияет на патогенез заболевания. Способность экспрессии CA19-9 вызывать и поддерживать панкреатит у мышей предполагает, что этот гликановый эпитоп и его последующие эффекторные пути могут представлять собой новые стратегии лечения для разрешения панкреатита и предотвращения онкогенеза в поджелудочной железе. В настоящее время возможности лечения пациентов с панкреатитом остаются ограниченными, несмотря на риск заболеваемости и возникновения злокачественного новообразования поджелудочной железы. Антитела к CA19-9, предложенные в данном документе (Sawada, R. et al. Clin Cancer Res 17, 1024-1032 (2011), которая полностью включена в данный документ посредством ссылки), могут облегчить быстрый перевод анти-CA19-9 терапии в клинику для лечения пациентов с панкреатитом.

--->

ПЕРЕЧЕНЬ ПОСЛЕДОВАТЕЛЬНОСТЕЙ

<110> Cold Spring Harbor Laboratory

<120> СПОСОБЫ ЛЕЧЕНИЯ ПАНКРЕАТИТА

<130> 2013237-0019

<140> US 62/729354

<141> 2018-09-10

<160> 20

<170> FastSEQ для Windows, версия 4.0

<210> 1

<211> 426

<212> ДНК

<213> Искусственная последовательность

<220>

<223> домен VH клона 5B1

<400> 1

atggagtttg ggctgagctg gctttttctt gtggctattt taaaaggcgt acagtgccag 60

gtgcagctgg tggagtctgg gggaggctcg gtgcagcctg gcaggtccct gagactctcc 120

tgtgaagcct ctggattcac ctttgaggcc tatgccatgc actgggtccg gcaacctcca 180

gggaagggcc tggagtgggt ctcaagtatt aattggaata gtggtcgcat agcctatgcg 240

gactctgtga agggccgatt caccatctcc agagacaacg ccaggaattc cctgtatctg 300

caaatgaaca gtctgagact tgaggacacg gccttctatt actgtgcaaa agatatacgg 360

aggtttagta ccgggggggc ggagtttgag tactggggcc agggaaccct ggtcaccgtc 420

tcctca 426

<210> 2

<211> 142

<212> БЕЛОК

<213> Искусственная последовательность

<220>

<223> домен VH клона 5B1

<400> 2

Met Glu Phe Gly Leu Ser Trp Leu Phe Leu Val Ala Ile Leu Lys Gly

1 5 10 15

Val Gln Cys Gln Val Gln Leu Val Glu Ser Gly Gly Gly Ser Val Gln

20 25 30

Pro Gly Arg Ser Leu Arg Leu Ser Cys Glu Ala Ser Gly Phe Thr Phe

35 40 45

Glu Ala Tyr Ala Met His Trp Val Arg Gln Pro Pro Gly Lys Gly Leu

50 55 60

Glu Trp Val Ser Ser Ile Asn Trp Asn Ser Gly Arg Ile Ala Tyr Ala

65 70 75 80

Asp Ser Val Lys Gly Arg Phe Thr Ile Ser Arg Asp Asn Ala Arg Asn

85 90 95

Ser Leu Tyr Leu Gln Met Asn Ser Leu Arg Leu Glu Asp Thr Ala Phe

100 105 110

Tyr Tyr Cys Ala Lys Asp Ile Arg Arg Phe Ser Thr Gly Gly Ala Glu

115 120 125

Phe Glu Tyr Trp Gly Gln Gly Thr Leu Val Thr Val Ser Ser

130 135 140

<210> 3

<211> 390

<212> ДНК

<213> Искусственная последовательность

<220>

<223> домен VL клона 5B1

<400> 3

atggccggct tccctctcct cctcaccctc ctcactcact gtgcagggtc ttgggcccag 60

tctgtgctga ctcagccgcc ctcagcgtct gggacccccg ggcagagggt caccatctct 120

tgttctggaa gcagctccaa catcggaagt aattttgtat actggtacca gcagctccca 180

ggaacggccc ccaaactcct catatatagg aataatcagc ggccctcagg ggtccctgac 240

cgattctctg gctccaggtc tggcacctca gcctccctgg ccatcagtgg actccggtcc 300

gaggatgagg ctgattatta ctgtgcagca tgggatgaca gcctgggagg ccattatgtc 360

ttcggaactg ggaccaaggt caccgtcctt 390

<210> 4

<211> 130

<212> БЕЛОК

<213> Искусственная последовательность

<220>

<223> домен VL клона 5B1

<400> 4

Met Ala Gly Phe Pro Leu Leu Leu Thr Leu Leu Thr His Cys Ala Gly

1 5 10 15

Ser Trp Ala Gln Ser Val Leu Thr Gln Pro Pro Ser Ala Ser Gly Thr

20 25 30

Pro Gly Gln Arg Val Thr Ile Ser Cys Ser Gly Ser Ser Ser Asn Ile

35 40 45

Gly Ser Asn Phe Val Tyr Trp Tyr Gln Gln Leu Pro Gly Thr Ala Pro

50 55 60

Lys Leu Leu Ile Tyr Arg Asn Asn Gln Arg Pro Ser Gly Val Pro Asp

65 70 75 80

Arg Phe Ser Gly Ser Arg Ser Gly Thr Ser Ala Ser Leu Ala Ile Ser

85 90 95

Gly Leu Arg Ser Glu Asp Glu Ala Asp Tyr Tyr Cys Ala Ala Trp Asp

100 105 110

Asp Ser Leu Gly Gly His Tyr Val Phe Gly Thr Gly Thr Lys Val Thr

115 120 125

Val Leu

130

<210> 5

<211> 426

<212> ДНК

<213> Искусственная последовательность

<220>

<223> домен VH клона 9H3

<400> 5

atggagtttg ggctgagctg gctttttctt gtggctattt taaaaggcgt acagtgcgaa 60

gtgcagctgt tggagtctgg gggaggcttg gtacagcctg gcaggtccct gagactctcc 120

tgtgcggcct ctggatttac ctttgatgat tatgtcatgc actgggtccg gcaagctcca 180

gggaagggcc tggagtgggt ctcaagtatt agttggaata gtggtagcat aggctatgcg 240

gactctgtga agggccgatt catcatctcc agagacaacg ccaagaactc cctgtatctg 300

caaatgaaca gtctgagagc tgaggacacg gccttgtatt actgtgcaaa agatcgtcgt 360

attaggggtg actcggggtt cgagggtgac tactggggcc agggaaccct ggtcaccgtc 420

tcctca 426

<210> 6

<211> 142

<212> БЕЛОК

<213> Искусственная последовательность

<220>

<223> домен VH клона 9H3

<400> 6

Met Glu Phe Gly Leu Ser Trp Leu Phe Leu Val Ala Ile Leu Lys Gly

1 5 10 15

Val Gln Cys Glu Val Gln Leu Leu Glu Ser Gly Gly Gly Leu Val Gln

20 25 30

Pro Gly Arg Ser Leu Arg Leu Ser Cys Ala Ala Ser Gly Phe Thr Phe

35 40 45

Asp Asp Tyr Val Met His Trp Val Arg Gln Ala Pro Gly Lys Gly Leu

50 55 60

Glu Trp Val Ser Ser Ile Ser Trp Asn Ser Gly Ser Ile Gly Tyr Ala

65 70 75 80

Asp Ser Val Lys Gly Arg Phe Ile Ile Ser Arg Asp Asn Ala Lys Asn

85 90 95

Ser Leu Tyr Leu Gln Met Asn Ser Leu Arg Ala Glu Asp Thr Ala Leu

100 105 110

Tyr Tyr Cys Ala Lys Asp Arg Arg Ile Arg Gly Asp Ser Gly Phe Glu

115 120 125

Gly Asp Tyr Trp Gly Gln Gly Thr Leu Val Thr Val Ser Ser

130 135 140

<210> 7

<211> 387

<212> ДНК

<213> Искусственная последовательность

<220>

<223> домен VL клона 9H3

<400> 7

atggccggct tccctctcct cctcaccctc ctcactcact gtgcagggtc ttgggcccag 60

tctgtgttga cgcagccgcc ctcagcgtct gggacccccg ggcagagggt caccatctct 120

tgttctggaa gcagctccaa catcggaagt aattatgtat actggtacca gcagctccca 180

ggaacggccc ccaaactcct catctatagg aataatcagc ggccctcagg ggtccctgac 240

cgattctctg gctccaagtc tggcacctca gcctccctgg ccatcagtgg gctccggtcc 300

gaggatgagg ctgattatta ctgtgcagca tgggatgcca gcctgagtgg tgtggtattc 360

ggcggaggga ccaagctgac cgtccta 387

<210> 8

<211> 129

<212> БЕЛОК

<213> Искусственная последовательность

<220>

<223> домен VL клона 9H3

<400> 8

Met Ala Gly Phe Pro Leu Leu Leu Thr Leu Leu Thr His Cys Ala Gly

1 5 10 15

Ser Trp Ala Gln Ser Val Leu Thr Gln Pro Pro Ser Ala Ser Gly Thr

20 25 30

Pro Gly Gln Arg Val Thr Ile Ser Cys Ser Gly Ser Ser Ser Asn Ile

35 40 45

Gly Ser Asn Tyr Val Tyr Trp Tyr Gln Gln Leu Pro Gly Thr Ala Pro

50 55 60

Lys Leu Leu Ile Tyr Arg Asn Asn Gln Arg Pro Ser Gly Val Pro Asp

65 70 75 80

Arg Phe Ser Gly Ser Lys Ser Gly Thr Ser Ala Ser Leu Ala Ile Ser

85 90 95

Gly Leu Arg Ser Glu Asp Glu Ala Asp Tyr Tyr Cys Ala Ala Trp Asp

100 105 110

Ala Ser Leu Ser Gly Val Val Phe Gly Gly Gly Thr Lys Leu Thr Val

115 120 125

Leu

<210> 9

<211> 426

<212> ДНК

<213> Искусственная последовательность

<220>

<223> домен VH клона 5H11

<400> 9

atggagtttg ggctgagctg gctttttctt gtggctattt taaaaggcgt acagtgccag 60

gtgcagctgt tggagtctgg gggaggcttg gtacagcctg gcaggtccct gagactctcc 120

tgtgcagcct ctggattcac ctttgatgaa tatgccatgc actgggtccg gcaagctcca 180

gggaagggcc tggagtgggt ctcaagtgtt agttggaata gtggtagcat aggctatgcg 240

gactctgtga agggccgatt caccatctcc agagacaacg ccaagaactc cctgtatcta 300

caaatgaaca gtctgagagc tgaggacacg gccttgtatt actgtgcaaa agatatacgg 360

acctatagca ccgggggggc ggagtttgcc tcctggggcc agggaaccct ggtcaccgcc 420

tcctca 426

<210> 10

<211> 142

<212> БЕЛОК

<213> Искусственная последовательность

<220>

<223> домен VH клона 5H11

<400> 10

Met Glu Phe Gly Leu Ser Trp Leu Phe Leu Val Ala Ile Leu Lys Gly

1 5 10 15

Val Gln Cys Gln Val Gln Leu Leu Glu Ser Gly Gly Gly Leu Val Gln

20 25 30

Pro Gly Arg Ser Leu Arg Leu Ser Cys Ala Ala Ser Gly Phe Thr Phe

35 40 45

Asp Glu Tyr Ala Met His Trp Val Arg Gln Ala Pro Gly Lys Gly Leu

50 55 60

Glu Trp Val Ser Ser Val Ser Trp Asn Ser Gly Ser Ile Gly Tyr Ala

65 70 75 80

Asp Ser Val Lys Gly Arg Phe Thr Ile Ser Arg Asp Asn Ala Lys Asn

85 90 95

Ser Leu Tyr Leu Gln Met Asn Ser Leu Arg Ala Glu Asp Thr Ala Leu

100 105 110

Tyr Tyr Cys Ala Lys Asp Ile Arg Thr Tyr Ser Thr Gly Gly Ala Glu

115 120 125

Phe Ala Ser Trp Gly Gln Gly Thr Leu Val Thr Ala Ser Ser

130 135 140

<210> 11

<211> 390

<212> ДНК

<213> Искусственная последовательность

<220>

<223> домен VL клона 5H11

<400> 11

atggccggct tccctctcct cctcaccctc ctcactcact gtgcagggtc ttgggcccag 60

tctgtgttga cgcagccgcc ctcagcgtct gggacccccg ggcagagggt caccatctct 120

tgttctggaa gcagctccaa catcggaagt aattatgtat actggtacca gcaggtccca 180

ggaacggccc ccaaactcct catctatagg aataatcagc ggccctcagg ggtccctgac 240

cgattctctg gctccaagtc tggcacctca gcctccctgg ccatcagtgg gctccggtcc 300

gaggatgagg ctgattatta ctgtgcagca tgggatgaca gcctgagtgg ccattatgtc 360

ttcggaactg ggaccaaggt caccgtccta 390

<210> 12

<211> 130

<212> БЕЛОК

<213> Искусственная последовательность

<220>

<223> домен VL клона 5H11

<400> 12

Met Ala Gly Phe Pro Leu Leu Leu Thr Leu Leu Thr His Cys Ala Gly

1 5 10 15

Ser Trp Ala Gln Ser Val Leu Thr Gln Pro Pro Ser Ala Ser Gly Thr

20 25 30

Pro Gly Gln Arg Val Thr Ile Ser Cys Ser Gly Ser Ser Ser Asn Ile

35 40 45

Gly Ser Asn Tyr Val Tyr Trp Tyr Gln Gln Val Pro Gly Thr Ala Pro

50 55 60

Lys Leu Leu Ile Tyr Arg Asn Asn Gln Arg Pro Ser Gly Val Pro Asp

65 70 75 80

Arg Phe Ser Gly Ser Lys Ser Gly Thr Ser Ala Ser Leu Ala Ile Ser

85 90 95

Gly Leu Arg Ser Glu Asp Glu Ala Asp Tyr Tyr Cys Ala Ala Trp Asp

100 105 110

Asp Ser Leu Ser Gly His Tyr Val Phe Gly Thr Gly Thr Lys Val Thr

115 120 125

Val Leu

130

<210> 13

<211> 435

<212> ДНК

<213> Искусственная последовательность

<220>

<223> домен VH клона 7E3

<400> 13

atggagtttg ggctgagctg gctttttctt gtggctattt taaaaggcgt acagtgccaa 60

gtgcagctgt tggagtctgg gggaggcgtg gtccagcctg ggaggtccct gagactctcc 120

tgtgcagcct ctggattcac cttcagtttc tatggcatgc actgggtccg ccaggctcca 180

ggcaaggggc tggagtgggt ggcagctata tcatatgatg gaagtaataa atactatgca 240

gactccgtga agggccgatt caccatctcc agagacaatt ccaagaacac gctgtatctg 300

caaatgaaca gcctgagagc tgaggacacg gctgtgtatt actgtgcgaa aaggcccaac 360

caattttatt gtagtgatgg tagatgctac tccattgact actggggcca gggaaccctg 420

gtcaccgtct cctca 435

<210> 14

<211> 145

<212> БЕЛОК

<213> Искусственная последовательность

<220>

<223> домен VH клона 7E3

<400> 14

Met Glu Phe Gly Leu Ser Trp Leu Phe Leu Val Ala Ile Leu Lys Gly

1 5 10 15

Val Gln Cys Gln Val Gln Leu Leu Glu Ser Gly Gly Gly Val Val Gln

20 25 30

Pro Gly Arg Ser Leu Arg Leu Ser Cys Ala Ala Ser Gly Phe Thr Phe

35 40 45

Ser Phe Tyr Gly Met His Trp Val Arg Gln Ala Pro Gly Lys Gly Leu

50 55 60

Glu Trp Val Ala Ala Ile Ser Tyr Asp Gly Ser Asn Lys Tyr Tyr Ala

65 70 75 80

Asp Ser Val Lys Gly Arg Phe Thr Ile Ser Arg Asp Asn Ser Lys Asn

85 90 95

Thr Leu Tyr Leu Gln Met Asn Ser Leu Arg Ala Glu Asp Thr Ala Val

100 105 110

Tyr Tyr Cys Ala Lys Arg Pro Asn Gln Phe Tyr Cys Ser Asp Gly Arg

115 120 125

Cys Tyr Ser Ile Asp Tyr Trp Gly Gln Gly Thr Leu Val Thr Val Ser

130 135 140

Ser

145

<210> 15

<211> 390

<212> ДНК

<213> Искусственная последовательность

<220>

<223> домен VL клона 7E3

<400> 15

atggacatga gggtccccgc tcagctcctg gggctcctgc tactctggct ccgaggtgcc 60

cggtgtgaaa ttgtaatgac gcagtctcca gccaccctgt ctgtgtctcc aggggagaga 120

gccaccctct cctgcagggc cagtcagagt gttagcagca acttagcctg gtaccagcag 180

aaacctggcc aggctcccag gctcctcatc tatggtgcat ccaccagggc cactggtatc 240

ccagccaggt tcagtggcag tgggtctggg acagacttca ctctcaccat cagcagcctg 300

cagtctgtag attctgcagt ttattactgt cagcagtata ataactggcc tccgtacact 360

tttggccagg ggaccaagct ggagatcaaa 390

<210> 16

<211> 130

<212> БЕЛОК

<213> Искусственная последовательность

<220>

<223> домен VL клона 7E3

<400> 16

Met Asp Met Arg Val Pro Ala Gln Leu Leu Gly Leu Leu Leu Leu Trp

1 5 10 15

Leu Arg Gly Ala Arg Cys Glu Ile Val Met Thr Gln Ser Pro Ala Thr

20 25 30

Leu Ser Val Ser Pro Gly Glu Arg Ala Thr Leu Ser Cys Arg Ala Ser

35 40 45

Gln Ser Val Ser Ser Asn Leu Ala Trp Tyr Gln Gln Lys Pro Gly Gln

50 55 60

Ala Pro Arg Leu Leu Ile Tyr Gly Ala Ser Thr Arg Ala Thr Gly Ile

65 70 75 80

Pro Ala Arg Phe Ser Gly Ser Gly Ser Gly Thr Asp Phe Thr Leu Thr

85 90 95

Ile Ser Ser Leu Gln Ser Val Asp Ser Ala Val Tyr Tyr Cys Gln Gln

100 105 110

Tyr Asn Asn Trp Pro Pro Tyr Thr Phe Gly Gln Gly Thr Lys Leu Glu

115 120 125

Ile Lys

130

<210> 17

<211> 750

<212> ДНК

<213> Искусственная последовательность

<220>

<223> последовательность диатела 5B1CysDb

<400> 17

cagtctgtgc tgacgcagcc gccctcagcg tctgggaccc ccgggcagag ggtcaccatc 60

tcttgttctg gaagcagctc caacatcgga agtaattttg tatactggta ccagcagctc 120

ccaggaacgg cccccaaact cctcatatat aggaataatc agcggccctc aggggtccct 180

gaccgattct ctggctccag gtctggcacc tcagcctccc tggccatcag tggactccgg 240

tccgaggatg aggctgatta ttactgtgca gcatgggatg acagcctggg aggccattat 300

gtcttcggaa ctgggaccaa ggtcaccgtc ctttctggtg gtggtggtca ggtgcagctg 360

gtggagtctg ggggaggctc ggtgcagcct ggcaggtccc tgagactctc ctgtgaagcc 420

tctggattca cctttgaggc ctatgccatg cactgggtcc ggcaacctcc agggaagggc 480

ctggagtggg tctcaagtat taattggaat agtggtcgca tagcctatgc ggactctgtg 540

aagggccgat tcaccatctc cagagacaac gccaggaatt ccctgtatct gcaaatgaac 600

agtctgagac ttgaggacac ggccttctat tactgtgcaa aagatatacg gaggtttagt 660

accggggggg cggagtttga gtactggggc cagggaaccc tggtcaccgt ctcctcaggt 720

tctcaccatc accatcacca tggcggttgc 750

<210> 18

<211> 250

<212> БЕЛОК

<213> Искусственная последовательность

<220>

<223> последовательность диатела 5B1CysDb

<400> 18

Gln Ser Val Leu Thr Gln Pro Pro Ser Ala Ser Gly Thr Pro Gly Gln

1 5 10 15

Arg Val Thr Ile Ser Cys Ser Gly Ser Ser Ser Asn Ile Gly Ser Asn

20 25 30

Phe Val Tyr Trp Tyr Gln Gln Leu Pro Gly Thr Ala Pro Lys Leu Leu

35 40 45

Ile Tyr Arg Asn Asn Gln Arg Pro Ser Gly Val Pro Asp Arg Phe Ser

50 55 60

Gly Ser Arg Ser Gly Thr Ser Ala Ser Leu Ala Ile Ser Gly Leu Arg

65 70 75 80

Ser Glu Asp Glu Ala Asp Tyr Tyr Cys Ala Ala Trp Asp Asp Ser Leu

85 90 95

Gly Gly His Tyr Val Phe Gly Thr Gly Thr Lys Val Thr Val Leu Ser

100 105 110

Gly Gly Gly Gly Gln Val Gln Leu Val Glu Ser Gly Gly Gly Ser Val

115 120 125

Gln Pro Gly Arg Ser Leu Arg Leu Ser Cys Glu Ala Ser Gly Phe Thr

130 135 140

Phe Glu Ala Tyr Ala Met His Trp Val Arg Gln Pro Pro Gly Lys Gly

145 150 155 160

Leu Glu Trp Val Ser Ser Ile Asn Trp Asn Ser Gly Arg Ile Ala Tyr

165 170 175

Ala Asp Ser Val Lys Gly Arg Phe Thr Ile Ser Arg Asp Asn Ala Arg

180 185 190

Asn Ser Leu Tyr Leu Gln Met Asn Ser Leu Arg Leu Glu Asp Thr Ala

195 200 205

Phe Tyr Tyr Cys Ala Lys Asp Ile Arg Arg Phe Ser Thr Gly Gly Ala

210 215 220

Glu Phe Glu Tyr Trp Gly Gln Gly Thr Leu Val Thr Val Ser Ser Gly

225 230 235 240

Ser His His His His His His Gly Gly Cys

245 250

<210> 19

<211> 750

<212> ДНК

<213> Искусственная последовательность

<220>

<223> последовательность диатела 7E3CysDb

<400> 19

gatgttgtgc tgacgcagtc tccagccacc ctgtctgtgt ctccagggga gagagccacc 60

ctctcctgca gggccagtca gagtgttagc agcaacttag cctggtacca gcagaaacct 120

ggccaggctc ccaggctcct catctatggt gcatccacca gggccactgg tatcccagcc 180

aggttcagtg gcagtgggtc tgggacagac ttcactctca ccatcagcag cctgcagtct 240

gaagattctg cagtttatta ctgtcagcag tataataact ggcctccgta cacttttggc 300

caggggacca aggtggatat caaatctggt ggtggtggtg aagtgcagct ggtggagtct 360

gggggaggcg tggtccagcc tgggaggtcc ctgagactct cctgtgcagc ctctggattc 420

accttcagtt tctatggcat gcactgggtc cgccaggctc caggcaaggg gctggagtgg 480

gtggcagcta tatcatatga tggaagtaat aaatactatg cagactccgt gaagggccga 540

ttcaccatct ccagagacaa ttccaagaac acgctgtatc tgcaaatgaa cagcctgaga 600

gctgaggaca cggctgtgta ttactgtgcg aaaaggccca accaatttta ttgtagtgat 660

ggtagatgct actccattga ctactggggc cagggaaccc tggtcaccgt ctcctcaggt 720

tctcaccatc accatcacca tggcggttgc 750

<210> 20

<211> 249

<212> БЕЛОК

<213> Искусственная последовательность

<220>

<223> последовательность диатела 7E3CysDb

<400> 20

Asp Val Val Leu Thr Gln Ser Pro Ala Thr Leu Ser Val Ser Pro Gly

1 5 10 15

Glu Arg Ala Thr Leu Ser Cys Arg Ala Ser Gln Ser Val Ser Ser Asn

20 25 30

Leu Ala Trp Tyr Gln Gln Lys Pro Gln Ala Pro Arg Leu Leu Ile Tyr

35 40 45

Gly Ala Ser Thr Arg Ala Thr Gly Ile Pro Ala Arg Phe Ser Gly Ser

50 55 60

Gly Ser Gly Thr Asp Phe Thr Leu Thr Ile Ser Ser Leu Gln Ser Glu

65 70 75 80

Asp Ser Ala Val Tyr Tyr Cys Gln Gln Tyr Asn Asn Trp Pro Pro Tyr

85 90 95

Thr Phe Gly Gln Gly Thr Lys Val Asp Ile Lys Ser Gly Gly Gly Gly

100 105 110

Glu Val Gln Leu Val Glu Ser Gly Gly Gly Val Val Gln Pro Gly Arg

115 120 125

Ser Leu Arg Leu Ser Cys Ala Ala Ser Gly Phe Thr Phe Ser Phe Tyr

130 135 140

Gly Met His Trp Val Arg Gln Ala Pro Gly Lys Gly Leu Glu Trp Val

145 150 155 160

,Ala Ala Ile Ser Tyr Asp Gly Ser Asn Lys Tyr Tyr Ala Asp Ser Val

165 170 175

Lys Gly Arg Phe Thr Ile Ser Arg Asp Asn Ser Lys Asn Thr Leu Tyr

180 185 190

Leu Gln Met Asn Ser Leu Arg Ala Glu Asp Thr Ala Val Tyr Tyr Cys

195 200 205

Ala Lys Arg Pro Asn Gln Phe Tyr Cys Ser Asp Gly Arg Cys Tyr Ser

210 215 220

Ile Asp Tyr Trp Gly Gln Gly Thr Leu Val Thr Val Ser Ser Gly Ser

225 230 235 240

His His His His His His Gly Gly Cys

245

<---

Похожие патенты RU2839356C2

название год авторы номер документа
НУКЛЕИНОВЫЕ КИСЛОТЫ, КОДИРУЮЩИЕ АНТИТЕЛА ПРОТИВ СИАЛИРОВАННОГО АНТИГЕНА ЛЬЮИСА ЧЕЛОВЕКА 2014
  • Савада Рицуко
  • Сунь Шу-Мань
  • Шольцвольфганг
RU2699289C2
НУКЛЕИНОВЫЕ КИСЛОТЫ, КОДИРУЮЩИЕ АНТИТЕЛА ПРОТИВ СИАЛИРОВАННОГО АНТИГЕНА ЛЬЮИСА ЧЕЛОВЕКА 2014
  • Савада, Рицуко
  • Сунь, Шу-Мань
  • Шольц, Вольфганг
RU2791967C2
АНТИТЕЛА, СПЕЦИФИЧЕСКИЕ К РЕЦЕПТОРУ ПОЛИОВИРУСА (PVR) ЧЕЛОВЕКА 2017
  • Мандельбойм Офер
  • Кайнан Ноа С.
  • Цукерман Пинхас
  • Жонжик Стипан
RU2756275C2
АНТИТЕЛА, СПЕЦИФИЧНЫЕ К НЕКТИНУ-4 ЧЕЛОВЕКА 2019
  • Мандельбойм, Офер
  • Рехес, Ади
  • Йонич, Стипан
  • Цукерман, Пинхас
RU2825839C2
АНТИТЕЛО К CD40, ЕГО АНТИГЕНСВЯЗЫВАЮЩИЙ ФРАГМЕНТ И ЕГО МЕДИЦИНСКОЕ ПРИМЕНЕНИЕ 2018
  • Янь, Шудэ
  • Цзян, Цзяхуа
  • Ху, Циюэ
  • Чжан, Ляньшань
  • Цао, Гоцин
  • Цянь, Сюэмин
  • Тэн, Фэй
RU2779128C2
АНТИТЕЛА, СПЕЦИФИЧНЫЕ В ОТНОШЕНИИ НЕКТИНА-2 ЧЕЛОВЕКА 2020
  • Мандельбойм, Офер
  • Цукерман, Пинхас
  • Йонич, Стипан
  • Ленац Ровиш, Тихана
  • Кучан Брлич, Паола
RU2820275C2
НОВЫЕ АНТИ-CD19-АНТИТЕЛА 2018
  • Ли, Цзин
  • Лю, Цзеин
RU2791445C2
АНТИТЕЛА К ФАКТОРУ XI 2017
  • Ван, Вэньи
  • Юй, Цюань
  • Лю, Сяоу
RU2800719C2
МОНОКЛОНАЛЬНЫЕ АГЕНТЫ, СВЯЗЫВАЮЩИЕ сМЕТ, ИХ КОНЪЮГАТЫ С ЛЕКАРСТВЕННЫМИ СРЕДСТВАМИ И ИХ ПРИМЕНЕНИЯ 2017
  • Коронелла, Джулия
  • Блот, Винсент
  • Гимнопулос, Марко
  • Тиммер, Анджули
  • Фудзита, Рё
  • Ньюман, Роланд
RU2744914C2
ИНГИБИТОРЫ ПУТИ IL-4/IL-13 ДЛЯ ПОВЫШЕННОЙ ЭФФЕКТИВНОСТИ ПРИ ЛЕЧЕНИИ ЗЛОКАЧЕСТВЕННЫХ НОВООБРАЗОВАНИЙ 2020
  • Лайот, Кэролайн
  • Кунерт, Франк
RU2836467C2

Иллюстрации к изобретению RU 2 839 356 C2

Реферат патента 2025 года СПОСОБЫ ЛЕЧЕНИЯ ПАНКРЕАТИТА

Группа изобретений относится к области фармацевтики и медицины, а именно к способам профилактики, лечения, облегчения или контроля панкреатита у субъекта, нуждающегося в этом, где субъект имеет повышенный уровень CA19-9 в проточной области поджелудочной железы, включающим введение субъекту антитела, которое связывается с сиалил-Льюиса. Технический результат заключается в профилактике, лечении, облегчении или контроле панкреатита у субъекта, имеющего повышенный уровень CA19-9 в проточной области поджелудочной железы. 2 н. и 31 з.п. ф-лы, 67 ил., 4 табл., 4 пр.

Формула изобретения RU 2 839 356 C2

1. Способ профилактики, лечения, облегчения или контроля панкреатита у субъекта, нуждающегося в этом, где субъект имеет повышенный уровень CA19-9 в проточной области поджелудочной железы, включающий введение субъекту терапевтически эффективного количества антитела, которое связывается с сиалил-Льюиса (анти-sLea), где указанное антитело к sLea содержит:

(a) вариабельный домен тяжелой цепи (VH), причем указанный домен VH содержит три определяющие комплементарность области (CDR) VH, присутствующие в аминокислотной последовательности SEQ ID NO: 2; и

(b) вариабельный домен легкой цепи (VL), причем указанный домен VL содержит три определяющие комплементарность области (CDR) VL, присутствующие в аминокислотной последовательности SEQ ID NO: 4.

2. Способ профилактики, лечения, облегчения или контроля панкреатита у субъекта, нуждающегося в этом, где субъект имеет повышенный уровень CA19-9 в проточной области поджелудочной железы, включающий:

(1) введение субъекту в первой дозе антитела, которое связывается с сиалил-Льюисa (анти-sLea),

(2) определение степени тяжести панкреатита у указанного субъекта, и

(3) введение второй дозы антитела, которое связывается с sLea, в том же или меньшем количестве, чем первая доза, если степень тяжести панкреатита у субъекта снижена по сравнению со степенью тяжести панкреатита у субъекта до введения анти-sLea, или введение второй дозы анти-sLea в большем количестве, чем первая доза, если степень тяжести панкреатита у субъекта не снижена, где указанное антитело к sLea содержит:

(a) вариабельный домен тяжелой цепи (VH), причем указанный домен VH содержит три определяющие комплементарность области (CDR) VH, присутствующие в аминокислотной последовательности SEQ ID NO: 2; и

(b) вариабельный домен легкой цепи (VL), причем указанный домен VL содержит три определяющие комплементарность области (CDR) VL, присутствующие в аминокислотной последовательности SEQ ID NO: 4.

3. Способ по любому из пп. 1, 2, в котором указанное антитело к sLea содержит вариабельный домен тяжелой цепи (VH) и вариабельный домен легкой цепи (VL), причем указанный домен VH и указанный домен VL, соответственно, содержат аминокислотную последовательность, выбранную из группы, состоящей из остатков 20-142 SEQ ID NO:2 и остатков 20-130 SEQ ID NO: 4.

4. Способ по любому из пп. 1-3, в котором указанное антитело к sLea выбрано из группы, состоящей из Fab, Fab', F(ab')2, scFV, диатела, триатела, миниантитела и однодоменного антитела (sdAB).

5. Способ по п. 4, в котором указанное антитело к sLea представляет собой диатело.

6. Способ по любому из пп. 1-3, в котором указанное антитело к sLea представляет собой моноклональное антитело.

7. Способ по любому из пп. 1-3, в котором указанное антитело к sLea относится к изотипу IgG или IgM.

8. Способ по п. 7, в котором указанное антитело IgG относится к подклассу IgG1, IgG2, IgG3 или IgG4.

9. Способ по любому из пп. 1-8, в котором антитело к sLea составляют в виде фармацевтической композиции, содержащей фармацевтически приемлемый носитель.

10. Способ по любому из пп. 1-9, в котором антитело вводят парентеральным путем.

11. Способ по п. 10, в котором парентеральное введение выбрано из группы, состоящей из подкожной инъекции, внутримышечной инъекции и внутривенной инъекции.

12. Способ по любому из пп. 1-11, в котором антитело вводят в диапазоне доз от около 0,1 мг/кг/доза до около 10 мг/кг/доза.

13. Способ по любому из пп. 1-12, в котором антитело вводят еженедельно, раз в две недели, ежемесячно или два раза в месяц.

14. Способ по п. 13, в котором антитело вводят в течение около одного, двух, трех, четырех, пяти или шести месяцев.

15. Способ по любому из пп. 1-14, в котором панкреатит характеризуется одним или более маркерами.

16. Способ по любому из пп. 2-14, в котором степень тяжести панкреатита определяется одним или более маркерами.

17. Способ по любому из пп. 1-16, в котором у субъекта повышены уровни одного или более маркеров панкреатита.

18. Способ по любому из пп. 1-17, в котором введение антитела или его функционального фрагмента приводит к снижению уровней одного или более маркеров панкреатита у субъекта.

19. Способ по любому из пп. 15-18, в котором один или более маркеров выбраны из группы, состоящей из физиологического маркера, гистологического маркера, серологического маркера и сигнального маркера.

20. Способ по п. 19, в котором гистологический маркер выбран из группы, состоящей из инвазии иммунных клеток, отложения коллагена, фиброзной ткани, жирового некроза, интерстициального отека, разрушения ацинарных клеток и кровеносных сосудов, интерстициального кровотечения, расширения протоков, гомогенизации в ацинарных клетках и уровня экспрессии CA19-9.

21. Способ по любому из пп. 15-20, в котором один или более маркеров включают уровень экспрессии СА19-9.

22. Способ по любому из пп. 20, 21, в котором один или более маркеров определяют при помощи иммуногистохимии.

23. Способ по п. 19, отличающийся тем, что серологический маркер выбран из группы, состоящей из уровня сывороточной липазы, уровня сывороточной амилазы и уровня сывороточного C-реактивного белка.

24. Способ по п. 23, в котором уровень сывороточной липазы составляет более 200 Ед/л.

25. Способ по п. 23, в котором уровень сывороточной амилазы составляет более 200 Ед/л.

26. Способ по п. 23, в котором уровень сывороточной амилазы в три раза превышает верхний предел нормального уровня сывороточной амилазы у контрольного субъекта.

27. Способ по п. 23, в котором уровень сывороточной липазы в три раза превышает верхний предел нормального уровня сывороточной липазы у контрольного субъекта.

28. Способ по п. 19, в котором физиологический маркер выбран из группы, состоящей из потери массы, мальабсорбции, атрофии поджелудочной железы, увеличения поджелудочной железы, воспаления поджелудочной железы и желчного рефлюкса.

29. Способ по любому из пп. 1-28, в котором панкреатит представляет собой панкреатит, выбранный из группы, состоящей из хронического панкреатита и острого панкреатита.

30. Способ по п. 29, в котором хронический панкреатит выбран из группы, состоящей из хронического панкреатита легкой степени, хронического панкреатита средней степени и хронического панкреатита тяжелой степени.

31. Способ по п. 29, в котором острый панкреатит выбран из группы, состоящей из острого панкреатита легкой степени, острого панкреатита средней степени и острого панкреатита тяжелой степени.

32. Способ по любому из пп. 1-31, в котором субъект представляет собой млекопитающее.

33. Способ по п. 32, в котором млекопитающее представляет собой человека.

Документы, цитированные в отчете о поиске Патент 2025 года RU2839356C2

WO 2017189959 A1, 02.11.2017
EP 2970422 B1, 18.04.2018
ARONICA A
et al
Способ изготовления электрических сопротивлений посредством осаждения слоя проводника на поверхности изолятора 1921
  • Андреев Н.Н.
  • Ландсберг Г.С.
SU19A1
Автомобиль-сани, движущиеся на полозьях посредством устанавливающихся по высоте колес с шинами 1924
  • Ф.А. Клейн
SU2017A1
- Vol

RU 2 839 356 C2

Авторы

Энгл, Дэнниелль Д.

Тьювсон, Дэвид Э.

Даты

2025-04-30Публикация

2019-09-09Подача