Область техники
Изобретение относится к канатной транспортной установке, к способу обнаружения события на канате и к способу производства одной такой установки.
Уровень техники
Канатные транспортные установки традиционно содержат один или более канатов, которые поддерживают и перемещают кабины. Канаты удерживаются на месте посредством множества шкивов, размещенных вдоль канатной дороги.
Канат может в исключительном случае покидать канавку шкива, вероятно приводя в результате к падению каната. Очень важно иметь возможность обнаруживать перемещение каната, выходящего из канавки, и местоположение опоры, ассоциированной с этим событием. Из документа FR2548612 известно соединение одной или более линий электробезопасности с канатной дорогой, прерывание таких линий, в частности, в случае схода каната, приводит в результате к отключению установки. В документе FR2548612 линия безопасности содержит по меньшей мере одну электропроводящую ломкую полосу, которая располагается рядом с направляющим шкивом каната и предназначается, чтобы разрываться посредством падания каната. Падание каната, таким образом, приводит в результате к прерыванию линии безопасности и отключению установки.
Однако электрические характеристики электрических линий претерпевают значительные изменения в зависимости от температуры, а более обобщенно, в зависимости от погодных условий, так что электрические характеристики системы обнаружения подвержены изменениям. Также наблюдаются неоднородные изменения электрических характеристик электрических линий вследствие старения. Система обнаружения может также формировать кратковременные отказы, которые по меньшей мере частично связываются с подключением детекторов на линии электропитания, соединяющей последние с центральной схемой управления. Это приводит в результате к тому, что это решение не является удовлетворительным. Чтобы уменьшать риски нежелательного отключения, является известной установка второй электрической схемы, соединенной параллельно с первой электрической схемой со второй ломкой полосой, установленной точно следом за первой полосой. Опять же, это решение не является удовлетворительным, поскольку оно увеличивает затраты, ассоциированные с обнаружением события каната, и сложность установки.
Из документа FR2946940 известна установка электрических схем, соединяющих различные опоры со схемой управления. Существует больше электрических схем, чем испытываемых опор. Электрические схемы содержат один или более предохранительных элементов, которые устанавливаются на опоры, чтобы обнаруживать сход. Отсутствие электрического сигнала, протекающего в двух соседних электрических линиях, делает возможным определение того, какая опора испытала сход.
Также очевидно, что проводники электрической схемы не все стареют с одинаковой скоростью, поскольку они располагаются на различных высотах и подвергаются воздействию различных погодных условий (ветра и солнца). Это приводит в результате к тому, что решение, предложенное в документе FR2946940, не является полностью удовлетворяющим.
Цель изобретения
Одна цель изобретения состоит в предоставлении канатной транспортной установки, предоставляющей возможность быстрого обнаружения события на канате, например, схода каната, неработающего шкива или заблокированного шкива, и это делает более легким определение того, какая опора ассоциируется с этим инцидентом. С этой целью, канатная транспортная установка содержит:
- канат,
- множество опор, каждая из которых снабжена по меньшей мере одним шкивом, причем канат размещен поддерживаемым по меньшей мере одним шкивом множества опор, по меньшей мере одна опора из множества опор снабжена по меньшей мере одним предохранителем, определяющим первое состояние, предоставляющее возможность прохождения сигнала, и второе состояние, препятствующее прохождению сигнала,
- устройство обнаружения, сконфигурированное, чтобы обнаруживать по меньшей мере одно событие каната, причем устройство обнаружения выполняет прохождение сигнала по меньшей мере через один предохранитель множества опор, чтобы наблюдать за состоянием по меньшей мере одного предохранителя, по меньшей мере один предохранитель конфигурируется, чтобы изменять состояние между первым состоянием и вторым состоянием, когда предохранитель обнаруживает упомянутое по меньшей мере одно событие каната, устройство обнаружения конфигурируется, чтобы издавать тревожное оповещение в ответ на обнаружение изменения состояния по меньшей мере одного предохранителя множества опор.
Канатная транспортная установка примечательна тем, что по меньшей мере один предохранитель является оптическим предохранителем, содержащим оптоволокно, и тем, что устройство обнаружения содержит передающее устройство, сконфигурированное для передачи оптического сигнала, и приемное устройство, сконфигурированное для приема упомянутого оптического сигнала, передающее устройство соединяется с принимающим устройством посредством по меньшей мере одного оптического предохранителя.
Устройство обнаружения предпочтительно содержит по меньшей мере один оптический предохранитель, сконфигурированный, чтобы изменять состояние, когда упомянутый по меньшей мере один оптический предохранитель испытывает механическое напряжение, оказываемое канатом.
Согласно одному развитию изобретения по меньшей мере один оптический предохранитель конфигурируется, чтобы резать оптоволокно, когда по меньшей мере один оптический предохранитель испытывает механическое напряжение, оказываемое канатом.
Полезным образом, по меньшей мере один оптический предохранитель конфигурируется, чтобы резать оптоволокно посредством срезающего усилия, когда по меньшей мере один оптический предохранитель испытывает механическое напряжение, оказываемое канатом.
Согласно другому развитию по меньшей мере один оптический предохранитель содержит штифт, вставленный подвижным образом, чтобы резать оптоволоконную петлю, когда штифт подвергается механическому напряжению, оказываемому канатом. По меньшей мере один оптический предохранитель содержит основную часть, определяющую полость, и оптоволоконную петлю, оптоволоконная петля устанавливается внутри полости вокруг двух точек присоединения, разделенных штифтом. По меньшей мере один оптический предохранитель конфигурируется, чтобы обнаруживать сход каната посредством штифта.
Преимущественно, оптоволоконная петля проходит через штифт по первой оси, а более предпочтительно штифт устанавливается подвижным с возможностью вращения вокруг оси вращения, перпендикулярной первой оси, и на расстоянии от первой оси, чтобы разрывать оптоволоконную петлю.
Предпочтительным образом, упомянутое по меньшей мере одно событие каната является событием, выбранным из схода каната по меньшей мере с одного из упомянутых шкивов, потери по меньшей мере одного из упомянутых шкивов или блокировки по меньшей мере одного из упомянутых шкивов.
Предпочтительным образом, каждая опора содержит уловитель, предназначенный, чтобы принимать канат, который покинул по меньшей мере один шкив. По меньшей мере один оптический предохранитель выступает из уловителя таким образом, чтобы ударяться канатом и обнаруживать сход каната. Как альтернатива, уловитель имеет подвижную часть, присоединенную к оптическому предохранителю таким образом, чтобы оказывать механическое напряжение на оптическом предохранителе, когда подвижная часть ударяется канатом.
В отдельном варианте осуществления механическое напряжение по меньшей мере одного оптического предохранителя, оказываемое канатом, достигается путем непосредственного соприкосновения, создаваемого по меньшей мере одним оптическим предохранителем с канатом, и разрыва по меньшей мере одного оптического предохранителя канатом.
В другом предпочтительном варианте осуществления устройство обнаружения содержит по меньшей мере один оптический предохранитель, выполненный с возможностью обнаруживать потерю шкива или заблокированный шкив, по меньшей мере один оптический предохранитель функционально соединен с узлом шкива множества опор, чтобы изменять состояние, когда узел шкива поворачивается сверх порогового значения.
Дополнительно, несколько оптических предохранителей из множества оптических предохранителей размещены последовательно на оптической линии и выполнены таким образом, что оптический сигнал может проходить через последнюю. Каждый по меньшей мере один оптический предохранитель из нескольких оптических предохранителей первоначально находится в первом состоянии. Устройство обнаружения содержит устройство определения, сконфигурированное, чтобы определять позицию оптического предохранителя во втором состоянии среди нескольких оптических предохранителей, соединенных последовательно, когда событие каната было обнаружено.
Предпочтительно, устройство определения конфигурируется, чтобы вычислять время распространения испущенного оптического сигнала, отраженного разорванным оптоволокном, чтобы определять позицию оптического предохранителя во втором состоянии.
В отдельном варианте осуществления несколько оптических предохранителей, каждый, соединены в оптическую линию посредством соединителя, привносящего по меньшей мере одно возмущение, и устройство определения конфигурируется, чтобы вычислять число возмущений, которым подвергается оптический сигнал, чтобы определять позицию оптического предохранителя во втором состоянии.
Также полезно предусматривать для каждой опоры содержание:
- блока управления, снабжаемого электричеством и соединенного со схемой управления по оптической линии,
- множества оптических предохранителей, соединенных с блоком управления, блок управления содержит передающее устройство и принимающее устройство.
Дополнительной целью изобретения является предоставление способа обнаружения, который обнаруживает событие каната эффективным образом.
Эта цель имеет тенденцию достигаться посредством способа обнаружения события каната в канатной транспортной установке, содержащего по меньшей мере следующие этапы:
- предоставление канатной транспортной установки, содержащей канат, множество опор, каждая из которых снабжена по меньшей мере одним шкивом, канат размещается поддерживаемым по меньшей мере одним шкивом множества опор, по меньшей мере одна опора из множества опор снабжена по меньшей мере одним предохранителем, определяющим первое состояние, предоставляющее возможность прохождения сигнала, и второе состояние, препятствующее прохождению сигнала, по меньшей мере один предохранитель конфигурируется, чтобы изменять состояние между первым состоянием и вторым состоянием, когда по меньшей мере один предохранитель обнаруживает событие на канате;
- регулярную передачу сигнала, проходящего через предохранитель;
- обнаружение отсутствия приема упомянутого сигнала устройством приема сигнала и выполнение логического вывода из этого об изменении состояния по меньшей мере одного предохранителя, представляющем событие на канате.
Способ является примечательным в том, что по меньшей мере один предохранитель является оптическим предохранителем, который содержит оптическое волокно, что сигнал является оптическим сигналом, предназначенным для прохождения через оптический предохранитель, и что приемное устройство является оптическим приемным устройством.
Предпочтительно, каждый оптический предохранитель принадлежит оптическому соединителю, оптические соединители соединяются последовательно вдоль оптического волокна. Каждый оптический соединитель привносит возмущение оптического сигнала, когда оптический сигнал проходит через оптический соединитель. Способ содержит обратный отсчет числа возмущений принимаемого оптического сигнала для определения числа пройденных оптических соединителей и оценки позиции оптического предохранителя, который изменил состояние.
Полезным образом, оптические предохранители соединяются последовательно вдоль оптического волокна. Каждая группа из двух последовательных оптических предохранителей вдоль оптоволокна разделяется пороговым расстоянием, пороговое расстояние соответствует минимальному расстоянию, которое существует вдоль оптоволокна между двумя оптическими предохранителями, и которое предоставляет возможность выполнения различия посредством измерительного устройства оптического сигнала, определение оптического предохранителя, который изменил состояние выполняется посредством вычисления времени, затраченного на прием сигнала, отраженного предохранителем, который изменил состояние.
Еще одной дополнительной целью изобретения является предоставление способа для производства канатной транспортной установки, которая является легкой для реализации и более эффективной по сравнению с конфигурациями предшествующего уровня техники.
Этот результат имеет тенденцию достигаться посредством способа производства канатной транспортной установки, который содержит следующие этапы:
- предоставление канатной транспортной установки, содержащей канат и множество опор, каждая из которых снабжена по меньшей мере одним шкивом, канат размещен поддерживающимся посредством по меньшей мере одного шкива множества опор, по меньшей мере одна опора из множества опор снабжена по меньшей мере одним электрическим предохранителем, определяющим первое состояние, предоставляющее возможность прохождения электрического сигнала, и второе состояние, препятствующее прохождению электрического сигнала, по меньшей мере один предохранитель конфигурируется, чтобы изменять состояние между первым состоянием и вторым состоянием, когда по меньшей мере один электрический предохранитель испытывает механическое напряжение, оказываемое канатом, по меньшей мере один электрический предохранитель соединен со схемой обнаружения электропроводящим кабелем;
- замену электрического предохранителя оптическим предохранителем, причем оптический предохранитель определяет первое состояние, предоставляющее возможность прохождения оптического сигнала, и второе состояние, препятствующее прохождению оптического сигнала, по меньшей мере один оптический предохранитель конфигурируется, чтобы изменять состояние между первым состоянием и вторым состоянием, когда по меньшей мере один оптический предохранитель обнаруживает событие на канате;
- соединение по меньшей мере одного оптического предохранителя со схемой обнаружения по оптической линии.
Краткое описание чертежей
Другие преимущества и признаки станут более четко понятными из последующего описания отдельных вариантов осуществления и режимов реализации изобретения, предоставленных только в неограничивающих примерных целях и представленных на прилагаемых чертежах, на которых:
- фиг. 1 схематично иллюстрирует первый вариант осуществления установки с особой оптической линией, соединяющей каждую опору, снабженную по меньшей мере одним оптическим предохранителем;
- фиг. 2 схематично представляет второй вариант осуществления установки с оптической линией, соединяющей все опоры, снабженные по меньшей мере одним оптическим предохранителем;
- фиг. 3a и 3b схематично представляют передний вид и вид в перспективе оптического предохранителя с путем оптоволокна или без оптоволокна, с подвижным штифтом, предназначенным для разрыва оптоволокна;
- фиг. 4 схематично представляет другой вариант осуществления оптического предохранителя с путем оптоволокна, обозначенным штриховой линией, оптоволокно проектируется для разрыва канатом;
- фиг. 5 схематично представляет уловитель, установленный на опору с поддерживающими шкивами,
- фиг. 6 схематично представляет уловитель, установленный на опору со сжимающими шкивами,
- фиг. 7 схематично представляет головную часть опоры с множеством оптических предохранителей.
Описание вариантов осуществления
Вариант осуществления канатной транспортной установки 1 был представлен на фиг. 1 и 2. Установка 1 содержит подвесной канат 2, соединяющий два терминала 3a и 3b. Подвесной канат 2 может быть лишь тяговым канатом, лишь несущим канатом или несущим-тяговым канатом. Канат 2, который является лишь тяговым канатом, предназначается, чтобы тянуть одну или более кабин без способности поддерживать вес кабины, канат 2, который является только несущим канатом, конфигурируется, чтобы нести кабину или кабины без способности тянуть кабину или кабины. Несущий-тяговый канат предназначается, чтобы поддерживать вес кабины и тянуть последнюю между двумя терминалами 3a и 3b.
Канатная транспортная установка может быть установкой для транспортировки людей или грузов. Установка может содержать терминал или множество терминалов, также называемых станциями.
Установка 1 может быть любого типа, например, моноканатной, как иллюстрировано на фиг. 1, или двухканатной, с фиксированными или съемными зажимами, с замкнутым или движущимся взад-вперед канатом. Моноканатная установка содержит единственный канат, который как поддерживает, так и тянет, двухканатная установка содержит по меньшей мере один тяговый канат и по меньшей мере один несущий канат. Установка с фиксированным зажимом содержит кабины, которые прикрепляются постоянным образом к тяговому канату, установка со съемным зажимом содержит кабины, присоединенные съемным образом к тяговому канату. Установка с замкнутым канатом содержит тяговый канат, который описывает замкнутую петлю между двумя терминальными станциями установки, и кабины могут двигаться непрерывно по тяговому канату. Установка с движением взад-вперед содержит кабину, которая выполняет движение взад и вперед между двумя терминальными станциями по одному и тому же канату.
В отдельном варианте осуществления, иллюстрированном на фиг. 1 и 2, установка 1 содержит две терминальные станции 3a и 3b или станции погрузки/выгрузки для погрузки и выгрузки людей или грузов в и из кабин (не показаны). Установка 1 дополнительно содержит приводную станцию 3a/3b, снабженную мотором для привода главного барабана для перемещения тягового каната 2. Установка 1 может содержать возвратную станцию 3b/3a, содержащую реверсивный шкив для натяжения тягового каната 2. Полезным образом, кабины присоединяются к тяговому канату 2. Предпочтительно, чтобы канат располагался над кабинами и над землей. Однако, установка, где кабины тянутся канатом, расположенным под кабинами, также является возможной, например, для кабин, движущихся по рельсам и/или на колесах.
Каждая кабина установки 1 содержит крепежное устройство для прикрепления кабины к тяговому канату 2. Крепежное устройство может быть фиксированным или съемным зажимом.
Особенно полезным является использование несущего-тягового каната.
Установка 1 также содержит одну или более конструкций 4, где канат 2 проходит. Конструкция 4 является вертикальной конструкцией, служащей цели поддержания каната 2. Конструкция 4 может быть опорой линии, т.е., опорой, расположенной между погрузочной и/или разгрузочной станциями.
Опора 4 линии может выполнять поддержку, сжатие или горизонтальное отклонение тягового каната. Конструкция 4 может также быть внутренней поддерживающей конструкцией, расположенной в терминальной станции 3a, 3b или промежуточной станции (не показана), и также называется внутренней поддерживающей опорой. Канат 2 определяет путь, соединяющий станции 3a, 3b друг с другом.
В общем, конструкция 4 содержит по меньшей мере один шкив 5, предпочтительно множество шкивов 5. Шкив является колесом, снабженным канавкой, предназначенной для приема каната 2. В любой конфигурации канат 2 проходит по шкиву 5.
Шкив 5 устанавливается с возможностью вращения вокруг главной оси вращения. Главная ось вращения преимущественно является горизонтальной осью, т.е., шкив 5 является сжимающим или поддерживающим шкивом, и кабина может двигаться вверх или вниз.
Чтобы обнаруживать инцидент, относящийся к канату, также называемый событием каната или событием на канате 2, установка 1 снабжается устройством обнаружения, сконфигурированным, чтобы обнаруживать движение каната 2 за пределы его нормальной позиции, например, сход каната, а также инцидент на одном из шкивов, ассоциированных с канатом 2, например, блокировку шкива 5 и/или потерю шкива 5 на опоре 4. Сход каната 2 соответствует канату 2, который выскальзывает из канавки по меньшей мере одного шкива 5, т.е., который покидает свою предварительно определенную позицию. В зависимости от конкретных случаев, канат 2 может либо падать, либо двигаться вверх, чтобы предпочтительно улавливаться уловителем, или он может быть зажат поперечно прижимной планкой (не иллюстрирована). Потеря шкива 5 соответствует шкиву 5, становящемуся отсутсвующим, тогда как блокировка шкива 5 соответствует шкиву 5, который больше не способен вращаться, чтобы следовать за движением каната 2. Опора может быть опорой линии или опорой станции.
Чтобы обнаруживать событие на канате 2, особенно полезным является, чтобы по меньшей мере одна опора 4, а предпочтительно несколько опор 4, снабжались по меньшей мере одним предохранительным элементом, который является оптическим предохранителем 6. Предпочтительно, каждая опора 4 снабжается по меньшей мере одним оптическим предохранителем 6, выполненным с возможностью обнаруживать конфигурацию, соответствующую событию на канате 2, например, событию, выбранному из схода по меньшей мере для одного шкива, потери шкива 5 и блокировки шкива 5. Более предпочтительно, опора 4 содержит несколько оптических предохранителей 6, сконфигурированных для обнаружения нескольких различных конфигураций события каната среди вышеупомянутых событий. Например, опора 4 имеет по меньшей мере один оптический предохранитель 6, сконфигурированный для обнаружения схода каната 2, по меньшей мере один оптический предохранитель 6, сконфигурированный для обнаружения потери шкива 5, и по меньшей мере один оптический предохранитель 6, сконфигурированный для обнаружения блокировки шкива 5.
Оптический предохранитель конфигурируется, чтобы изменять состояние между первым состоянием и вторым состоянием, когда по меньшей мере один предохранитель 6 подвергается механическому напряжению, оказываемому канатом 2. Первое состояние предоставляет возможность оптическому сигналу проходить, тогда как второе состояние блокирует сигнал.
Оптический предохранитель или предохранители 6 соединяются с передающим устройством 7, сконфигурированным для передачи сигнала, предназначенного для прохождения через один или более оптических предохранителей 6, чтобы достигать приемного устройства 8, сконфигурированного для приема сигнала, который прошел через один или более оптических предохранителей 6.
Для того, чтобы усиливать эффективность, оптический предохранитель 6 содержит по меньшей мере одно оптоволокно 11, значение оптического затухания которого изменяется согласно состоянию оптического предохранителя 6.
Конфигурация предшествующего уровня техники использует электропроводящий провод, например, медный провод, электрические характеристики которого изменяются значительно с температурой и старением. Оптические характеристики оптоволокна 11 являются менее зависимыми от климатических условий и, в частности, от температуры. Также очевидно, что оптическое волокно не является электропроводным, что делает устройство обнаружения нечувствительным или менее чувствительным к грозовому разряду. Кроме того, соединения между оптическим предохранителем 6 и остальной частью оптической схемы представляют соотношение производительность/стоимость, которое является более благоприятным по сравнению с его электрическим эквивалентом. Это приводит в результате к меньшему неприятному срабатыванию оптических предохранителей по сравнению с электрическими предохранителями.
Поскольку затухание оптоволокна 11 является низким, легче обнаруживать отсутствие сигнала и, следовательно, изменять состояние оптического предохранителя 6 даже на длинном расстоянии.
Особенно полезным образом, когда установка эксплуатируется, оптический предохранитель 6 конфигурируется, чтобы быть в первом состоянии, т.е., предоставлять возможность оптическому сигналу проходить. Эта конфигурация делает возможным обнаружение изменения состояния оптического предохранителя 6, неисправности оптического предохранителя 6 и неисправности передающего устройства 7. Оптический предохранитель 6 переключается в состояние, которое препятствует прохождению оптического сигнала между передающим устройством 7 и принимающим устройством 8, когда оптический предохранитель 6 обнаруживает событие на канате 2.
Оптический предохранитель 6 предназначается для работы в трудных окружающих условиях, т.е., он может подвергаться воздействию низких температур, дождя, льда или солнечного света, которые будут вынуждать электронные компоненты стареть и/или искажать измерения. Следовательно, особенно полезным является использование оптического предохранителя 6, который является более простым для производства. По тем же причинам, особенно полезным является использование оптического предохранителя 6, который является пассивным, т.е., лишен источника электропитания для того, чтобы устранять необходимость снабжения оптического предохранителя 6 электричеством. Также предпочтительно использовать оптический предохранитель, который является электрически изолирующим, делая установку оптического предохранителя на опоре, которая традиционно выполняется из металла, более легкой для выполнения.
Передающее устройство 7 передает оптический сигнал, который должен проходить через оптический предохранитель 6, чтобы достигать приемного устройства 8. Когда приемное устройство 8 обнаруживает отсутствие оптического сигнала, оно делает логический вывод о том, что канат испытал событие, считающееся опасным, и отправляет тревожное оповещение. Передача тревожного оповещения может быть ассоциирована с отключением установки, например, отключением приводного мотора для каната 2. Передающее устройство 7 предпочтительно передает оптический сигнал регулярно. Полезным для передающего устройства 7 является передача нескольких оптических сигналов в секунду.
В одной конфигурации оптический предохранитель 6 может быть сброшен, т.е., когда операция выполняется на опоре для изучения схода, действие предоставляет возможность переключения оптического предохранителя в его первоначальное состояние.
В отдельном варианте осуществления оптический предохранитель 6 является несбрасываемым предохранителем, т.е., оптическим предохранителем 6, который принимает лишь одно изменение состояния. Предпочтительно, оптический предохранитель 6 конфигурируется, чтобы переключаться только из первого состояния, предоставляющего возможность прохождения оптического сигнала, во второе состояние, не позволяющее сигналу проходить, после того как событие, такое как сход, произошло. Эта конфигурация гарантирует, что за обнаружением инцидента будет обязательно следовать работа на опоре, чтобы выполнять действие над оптическим предохранителем. Например, оптический предохранитель 6 может быть сконфигурирован как одноразовый предохранитель, так что срабатывание последнего обязательно требует замены оптического предохранителя 6.
Поскольку оптический предохранитель 6 предназначается для работы в агрессивной окружающей среде, является особенно полезным, чтобы оптический предохранитель 6 был особо прочным, в то же время являясь способным обнаруживать инцидент и прерывать связь. Предпочтительно, чтобы оптический предохранитель 6 не снабжался электричеством. Также предпочтительно, чтобы оптический предохранитель 6 не снабжался подвижным зеркалом и/или пружиной.
Для того, чтобы получать надежное обнаружение события на канате, например, сход каната 2 относительно шкива 5 опоры 4, множество оптических предохранителей 6 устанавливаются вдоль участка канатной трассы на каждой опоре 4.
В отдельной конфигурации, иллюстрированной на фиг. 1, каждая опора 4 ассоциируется с конкретной оптической линией 9. Другими словами, оптическая линия 9 содержит только или ассоциируется только с единственной опорой 4. Оптическая линия 9 может иметь передающее устройство 7 и принимающее устройство 8, которые являются конкретными для нее, но предпочтительно объединять в пул эти устройства для того, чтобы наблюдать за несколькими оптическими линиями. Передающее устройство 7 передает оптические сигналы для нескольких опор 4 через несколько различных оптических линий. Приемное устройство 8 принимает оптические сигналы от нескольких опор 4 через множество оптических линий 9. Приемное устройство 8 способно идентифицировать неисправную опору.
Когда событие на канате 2 происходит на опоре 4, приемное устройство 8 больше не принимает сигнал от ассоциированной оптической линии 9, что делает возможным определение неисправной опоры 4 быстрым образом. В такой конфигурации особенно полезным является соединение оптических предохранителей 6 последовательно для того, чтобы иметь возможность быстро обнаруживать оптический предохранитель 6 в выключенном состоянии и, следовательно, оценивать позицию события и/или тип события.
Когда оптический предохранитель 6 находится в выключенном состоянии, конец оптоволокна 11, установленный в оптический предохранитель, выглядит как неисправность, например, неисправность, которая отражает часть передаваемого сигнала. С помощью отражения оптического импульса или устройства рефлектометрии возможно анализировать отраженный свет относительно переданного света и определять неисправности и затухания, а также их расстояния. Тогда возможно определять точную позицию неисправного предохранителя на опоре 4 и потенциально тип события.
Предпочтительно, чтобы множество оптических предохранителей 6 опоры были соединены последовательно на выделенной оптической линии 9. В варианте, множество оптических предохранителей опоры 4 соединяются звездой и соединяются с диспетчерским устройством, которое предоставляет оптический сигнал для каждого оптического предохранителя 6 и возвращает оптический сигнал от каждого оптического предохранителя 6. Этот вариант является менее полезным, поскольку он требует использования диспетчерского устройства, которое должно снабжаться электричеством.
Поскольку оптическое затухание оптических волокон изменяется мало со временем, предпочтительно использовать отдельную конфигурацию, иллюстрированную на фиг. 2, где множество оптических предохранителей 6 установки 1 соединяются последовательно. Один и тот же сигнал проходит через множество оптических предохранителей, пока не произойдет событие на канате 2. Единственная оптическая линия 9 соединяет передающее устройство 7 и принимающее устройство 8 и соединяет множество оптических предохранителей 6 последовательно. Единственная оптическая линия соединяет все опоры 4, тем самым, формируя компактное и надежное устройство обнаружения.
С помощью отражения оптического импульса или устройства рефлектометрии возможно анализировать отраженный свет относительно переданного света и определять неисправности и затухания, а также их расстояния. Тогда возможно определять точную позицию неисправного оптического предохранителя 6 среди оптических предохранителей 6 оптической линии 9, распределенной по различным опорам 4.
Дополнительно возможно объединять эти два варианта осуществления с помощью нескольких оптических линий 9, которые, каждая, ассоциируются с одной или более опорами 4. Опять же, предпочтительно соединять оптические предохранители 6 последовательно, чтобы обнаруживать позицию неисправного оптического предохранителя 6 с помощью отражения оптического импульса или устройства рефлектометрии и избегать установки потребляющего электричество диспетчерского устройства на опоре 4.
Различные оптические предохранители могут быть установлены на опоре 4 для обнаружения схода на различных шкивах. Позиция оптических предохранителей 6 относительно шкивов 5 зависит от конфигурации опоры 4. Если шкив 5 является поддерживающим шкивом, последний предохраняет канат 2 от падения. Тогда предпочтительно устанавливать оптический предохранитель под ожидаемой позицией каната. Если, с другой стороны, канат 5 является сжимающим шкивом, последний предохраняет канат 2 от перемещения вверх, и предпочтительно устанавливать оптический предохранитель над ожидаемой позицией каната 2. Для того, чтобы обнаруживать то, что канат покинул канавку шкив в направлении, которое не является результатом падения каната, например, боковой сдвиг каната 2 до прижимной планки, предпочтительно размещать оптический предохранитель 6 вне оси, соответствующей нормальной позиции каната. Таким образом, когда канат покидает свою позицию, он оказывает механическое напряжение на оптическом предохранителе 6, например, приходя в соприкосновение с оптическим предохранителем 6, которое вызывает срабатывание оптического предохранителя 6. В этом конкретном случае, оптический предохранитель может быть срезан канатом, который оборвет оптический предохранитель. В альтернативном варианте осуществления канат 2, который выскальзывает из шкива 5, оказывает нагрузку на элемент, который перемещается, чтобы оказывать механическое напряжение на оптическом предохранителе 6. Канат 2, выходящий из канавки, оказывает напряжения на оптическом предохранителе 6 посредством промежуточной части. Когда канат 2 оказывает механические напряжения на промежуточной части, например, когда он ударяет промежуточную часть, последняя оказывает механические напряжения на оптическом предохранителе 6 и вызывает изменение состояния.
Чтобы обнаруживать сход, соответствующий выходу каната из канавки шкива 5, более легко, предпочтительно, чтобы каждая опора 4 содержала уловитель 10, т.е., опорную часть, предназначенную для приема каната 2, который покинул канавку 5. Опорная часть 10 по меньшей мере частично направляет канат, который покинул канавку 5, чтобы определять его путь и обеспечивать контакт последнего с оптическим предохранителем 6 или промежуточной частью, приводящей в действие оптический предохранитель.
Фиг. 5 и 6 иллюстрируют два варианта осуществления уловителей 10, установленных таким образом, чтобы возвращать канат 2, покидающий опорный шкив (фиг. 5) и сжимающий шкив (фиг. 6). Уловитель 10 может быть любой формы, при условии, что он предоставляет возможность лучше управлять путем каната 2, который сошел, чтобы облегчать обнаружение схода.
Оптический предохранитель 6 выполняется с возможностью обнаруживать канат 2, покидающий ассоциированный шкив 5 или ассоциированные шкивы, и предпочтительно обнаруживать, что он упал на уловитель 10. Оптический предохранитель 6 конфигурируется, чтобы переключаться из состояния, предоставляющего возможность сигналу проходить, в состояние, препятствующее прохождению сигнала, когда оптический предохранитель 6 ударяется канатом 2, который скользит по уловителю 10. Оптический предохранитель 6 размещается на расстоянии от канавки и предпочтительно на расстоянии от шкива 5. Как иллюстрировано на фиг. 7, оптический предохранитель 6 предпочтительно устанавливается неподвижно на опоре 4, а более предпочтительно устанавливается неподвижно на шкивном узле опоры 4. Несколько шкивов 5 собираются на шкивном узле. Опора 4 преимущественно содержит по меньшей мере один шкивной узел, например, первичный шкивной узел, установленный с возможностью вращения на поддерживающей конструкции опоры, или первичный шкивной узел, установленный с возможностью вращения на поддерживающей конструкции, и один или более вторичных шкивных узлов, установленных с возможностью вращения относительно первичного шкивного узла. Оптический предохранитель 6 может быть установлен таким образом, чтобы обнаруживать вращение первичного шкивного узла относительно поддерживающей конструкции сверх порогового значения. Оптический предохранитель 6 может быть установлен таким образом, чтобы обнаруживать вращение вторичного шкивного узла относительно первичного шкивного узла сверх порогового значения.
Предпочтительно, оптический предохранитель 6 выступает из уловителя 10. Когда канат 2 покидает канавку шкива 5, канат 2 движется до тех пор, пока он не достигнет уловителя 10, например, U-образного уловителя 10. Когда канат 2 находится в соприкосновении с уловителем 10, он скользит до тех пор, пока не достигнет оптического предохранителя 6. После того как канат 2 пришел в соприкосновение с оптическим предохранителем 6, он деформирует оптический предохранитель 6, приводя в результате к изменению состояния.
В другом варианте осуществления оптический предохранитель 6 конфигурируется для обнаружения другого режима неисправности, называемой "потерей шкива". Этой неисправностью является не отсутствие перемещения каната 2 в направлении, перпендикулярном продольной оси каната 2 (оси, определенной выравниванием канавок шкивов), а неисправность шкива 5, который выходит из своего местоположения. В этом конкретном случае, шкивной узел, который содержит неисправный шкив 5, становится разбалансированным, что вынуждает шкивной узел вращаться сверх пороговой позиции. Оптический предохранитель 6 может быть сконфигурирован, чтобы обнаруживать это чрезмерное вращение шкивного узла. Вращение шкивного узла оказывает механическое напряжение на оптическом предохранителе, который изменяет состояние, например, когда пороговое значение достигается.
В целях примера, шкивной узел устанавливается вращающимся вокруг вала вращения, чтобы определять ось вращения, перпендикулярную продольной оси каната 2. Предохранитель 6 устанавливается таким образом, что вращение шкивного узла следом за событием на канате 2 приводит в результате к смещению предохранителя 6, который приходит в соприкосновение с канатом. Канат движется и трется об оптический предохранитель 6, что разрезает основную часть 13 оптического предохранителя 6 и затем оптоволокно 11. Когда оптоволокно 11 разрезается, или после того как оптоволокно 11 было разрезано, принимающее устройство 8 обнаруживает затухание сигнала или отсутствие приема оптического сигнала и делает вывод из этого, что произошел инцидент, который может останавливать приводной мотор каната 2. Конфигурация предохранителя 6, иллюстрирующаяся на фиг. 4, является особенно подходящей. Канат 2 движется в соприкосновении с оптическим предохранителем, чтобы разрывать оптоволокно. Оптический предохранитель 6 выполняется из материала, который более хрупким по сравнению с канатом 2, так что контакт оптического предохранителя 6 с канатом 2 приводит в результате к тому, что оптический предохранитель 6 режется канатом 2 до тех пор, пока оптическое волокно не разорвется.
В другой конфигурации предпочтительно, чтобы шкивный узел не был сбалансирован, когда канат 2 отсутствует. Возможно предусматривать один шкив, который тяжелее другого, и/или один шкив, который находится дальше от оси вращения шкивного узла по сравнению с другим шкивом. Таким образом, когда канат 2 выскальзывает из шкивов 5, не достигая уловителя 10, шкивный узел поворачивается и изменяет состояние оптического предохранителя 6, ассоциированного со шкивным узлом. В этом конкретном случае, если перемещение каната 2 не является совместимым с приведением в соприкосновение с уловителем 10, вращение шкивного узла может приводить в результате к изменению состояния оптического предохранителя 6. Вращение шкивного узла до пороговой позиции вынуждает оптический предохранитель 6 изменять состояние.
В одном варианте осуществления оптический предохранитель 6 размещается между двумя шкивами 5 таким образом, чтобы быть сдвинутым от плоскости, содержащей боковые стенки канавки двух шкивов. Таким образом, когда канат 2 находится в канавках двух шкивов, канат находится на расстоянии от оптического предохранителя. Когда канат 2 выходит из канавок шкивов, он движется по направлению к оптическому предохранителю до тех пор, пока он не придет в соприкосновение с последним и сотрет поверхность оптического предохранителя, приводя в результате к тому, что оптоволокно рвется.
Установка предпочтительно содержит оптические предохранители 6, установленные съемными относительно оптической линии 9 для легкости выполнения операций технического обслуживания. Оптические предохранители 6 содержат вход и выход и предпочтительно внутреннее оптическое волокно 11, выполняющее передачу оптического сигнала.
В отдельном варианте осуществления, который не иллюстрируется, оптический предохранитель 6 может содержать зеркало, размещенное подвижным образом относительно оптического волокна 11 между первой позицией, сконфигурированной, чтобы отражать оптический сигнал в оптоволокне 11, и второй позицией, сконфигурированной, чтобы препятствовать отражению оптического сигнала. Оптический предохранитель 6 содержит штифт, и позиция зеркала определяется по позиции штифта. Зеркало может быть установлено на штифте. Оптический предохранитель 6 устанавливается на опору таким образом, что штифт перемещается посредством каната, когда канат покидает канавку шкива 5, чтобы скользить по уловителю 10. Штифт собирается подвижным относительно основной части 13 оптического предохранителя. В другом варианте осуществления предохранитель устанавливается на опору таким образом, что штифт определяет максимальное разрешенное вращение для шкивного узла. Когда шкивной узел становится разбалансированным и достигает пороговой позиции, он ударяет оптический предохранитель 6, который изменяет состояние, например, перемещая штифт и зеркало. В другой конфигурации вращение шкивного узла оказывает механическое напряжение на оптическом предохранителе 6, и когда вращение достигает порогового значения, оптический предохранитель меняет состояние.
Это техническое решение делает возможным модификацию состояния оптического предохранителя и, следовательно, блокировку или разрешение прохождения оптического сигнала, протекающего в оптоволокне 11, в зависимости от позиции каната относительно шкива или от позиции шкивного узла, что предоставляет возможность определения схода или другого типа события. Это техническое решение, однако выглядит громоздким и дорогостоящим, поскольку оно требует объединения зеркала и штифта 12, установки обоих таким образом, чтобы быть подвижными относительно основной части 13 и/или относительно оптоволокна 11.
Отражающая способность зеркала может также изменяться со временем с учетом климатических условий.
В другой конфигурации оптический предохранитель 6 имеет два фрагмента оптических волокон, которые устанавливаются подвижными относительно друг друга и оптически соединяются друг с другом посредством оптического адаптера. Оптический предохранитель также содержит штифт 12. Оптический адаптер конфигурируется, чтобы обеспечивать передачу оптических сигналов между двумя фрагментами оптоволокна 11 в первом состоянии. Позиция по меньшей мере одного из фрагментов оптоволокна 11 определяется относительно оптического адаптера посредством штифта. Перемещение штифта приводит в результате к перемещению фрагмента оптоволокна 11, которое модифицирует оптическую связь и, следовательно, затухание сигнала. Оптические предохранители 6 могут быть установлены, как указано только что выше, чтобы обнаруживать различные события на канате и, например, различные типы схода. Обнаруживая изменение, возникающее в оптической связи и, следовательно, затухание, привносимое оптическим предохранителем 6, возможно определять событие на канате 2.
Чтобы гарантировать, что работа будет выполняться на опоре 4, которая испытала инцидент, является особенно полезным, чтобы оптический предохранитель 6 был несбрасываемым. Предпочтительно, чтобы оптический предохранитель был заменен после инцидента. Предпочтительно, чтобы оптический предохранитель по меньшей мере частично ломался, когда оптический предохранитель обнаруживает событие, например, когда канат 2 ударяет оптический предохранитель 6.
Для того, чтобы предоставлять оптический предохранитель 6, который является компактным и прочным, является особенно полезным, чтобы оптический предохранитель 6 имел мало подвижных компонентов и, в частности, чтобы он был сконфигурирован, чтобы разрывать оптоволокно 11, когда канат 2 выскальзывает из канавки шкива 5 и ударяет оптический предохранитель 6. Посредством разрыва оптоволокна 11 протекание оптического сигнала прерывается, и оптический предохранитель оказывается несбрасываемым, что требует вмешательства человека с заменой предохранителя, чтобы улучшать безопасность.
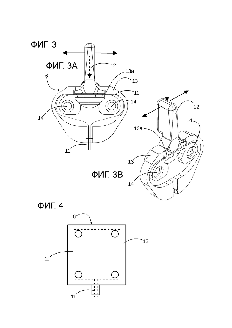
Чтобы разрывать оптоволокно 11 внутри оптического предохранителя 6, является особенно полезным, чтобы оптический предохранитель 6 содержал оптоволокно 11 внутри основной части 13 и штифт 12, собранный подвижным относительно основной части 13 и выполненный с возможностью разрывать оптоволокно 11, когда канат ударяет штифт 12 оптического предохранителя 6 и перемещает штифт 12. Такой вариант осуществления иллюстрируется на фиг. 3 и, в частности, на фиг. 3a и 3b.
Штифт 12 может быть установлен на пути каната 2, так что штифт 12 тянет оптоволокно 11 в направлении своей продольной оси, чтобы разрывать оптоволокно 11 посредством силы натяжения, растягивая волокно сверх ее точки разрыва. Разрыв оптоволокна 11 может также быть осуществлен посредством другого механического напряжения оптоволокна 11, например, посредством намотки вокруг объекта или посредством скручивания. Однако эти различные варианты осуществления не являются наиболее эффективными в использовании для канатной транспортной установки, подвергаемой воздействию жестких климатических условий.
Полезным образом, штифт 12 и основная часть 13 размещаются таким способом, что штифт 12 разрывает оптоволокно 11 посредством резания. Например, штифт 12 и основная часть 13 могут формировать пару ножниц, которые режут оптоволокно 11. Штифт 12 предпочтительно движется в направлении, перпендикулярном продольной оси оптоволокна 11, чтобы разрывать оптоволокно 11. Фиг. 3 иллюстрирует, посредством двух стрелок, два возможных направления движения одного конца штифта 12, которое делает другой конец штифта подвижным, чтобы разрывать оптоволокно 11 об основную часть 13. Фиг. 3 дополнительно иллюстрирует, посредством прерывистой стрелки, возможное движение штифта относительно основной части 13, приводящее в результате к разрыву оптоволокна.
В отдельном варианте осуществления штифт 12 прикрепляется к основной части 13 посредством одного или более соединителей, которые являются деформируемыми или ломкими. Приложение напряжения на штифте 12 сверх порогового значения приводит в результате к деформации и вероятно поломке по меньшей мере одного из соединителей. Штифт 12 движется и разрывает оптоволокно 11. Другие режимы движения штифта 12 относительно основной части 13 являются возможными, чтобы получать обрыв оптоволокна 11.
Штифт 12 может быть снабжен ножом. Когда канат 2 приходит в соприкосновение со штифтом 12, штифт 12 перемещается и нож режет оптоволокно 11. Движение штифта 12 может быть любого вида, например, поступательным или вращательным.
В конфигурации, иллюстрированной на фиг. 3, штифт 12 и основная часть 13 конфигурируются, чтобы разрывать оптоволокно 11 посредством срезающего усилия. Основная часть 13 определяет канавку 13a, и штифт 12 размещается в канавке 13a. Оптоволокно 11 протягивается от части основной части 13, через штифт 12 и до другой части основной части 13. Штифт 12 устанавливается подвижным относительно основной части 13. Когда канат приходит в соприкосновение со штифтом 12, штифт 12 перемещается перпендикулярно продольной оси оптоволокна 11 и разрывает оптоволокно 11. Преимущественным образом, штифт 12 устанавливается поворачиваемым относительно основной части 13 с осью вращения, которая является перпендикулярной или параллельной продольной оси оптоволокна 11 в зоне, которая должна быть разорвана.
В предпочтительной конфигурации оптоволокно 11 протягивается в основной части 13 на каждой стороне штифта 12. Например, основная часть 13 определяет канавку 13a, и штифт 12 устанавливается в канавке 13a. Оптоволокно 11 проходит через канавку, проходящую через штифт 12. Вращение штифта 12 относительно основной части 13 деформирует оптоволокно 11 и затем разрывает оптоволокно 11. Вал вращения штифта 12 располагается на расстоянии от оптоволокна 11.
В отдельном варианте осуществления оптоволокно 11 устанавливается таким образом, чтобы определять петлю оптоволокна 11 в оптическом предохранителе. Оптоволокно 11 ни устанавливается по прямой линии в оптическом предохранителе между входом и выходом, ни натягивается между входом и выходом.
Предпочтительным образом, оптический предохранитель содержит основную часть 13, определяющую полость. Петля из оптоволокна 11 формируется в полости. Оптоволокно 11 устанавливается фиксированным образом в полости посредством двух канавок 13a, которые формируют две точки присоединения, разделенные штифтом. Таким образом, когда штифт 12 приводится в действие, он растягивает волокно до тех пор, пока он не порвет последнее.
Предпочтительно, чтобы оптоволокно было установлено свободным для перемещения за пределами двух точек присоединения. Также предпочтительно предусматривать то, чтобы оптоволокно было покрыто материалом, который деформируется, чтобы следовать за деформациями оптоволокна с температурой. Например, оптоволокно может быть покрыто материалом эластомерного типа. Материал является гибким для деформации с тем, чтобы поглощать часть напряжений, которые существуют посредством дифференциальной деформации между оптоволокном и основной частью 13. Дифференциальное тепловое расширение между оптоволокном и основной частью 13 не является достаточным для получения разрыва оптоволокна. Эта конфигурация делает возможным наличие волокна, которое является свободным или относительно свободным для перемещения внутри полости. Поскольку оптоволокно 11 способно перемещаться относительно основной части 13, деформации основной части 13 и оптоволокна 11 с температурными изменениями (тепловое расширение) не приводят в результате к деформации оптоволокна 11, которая может привести к разрыву последнего. Разница коэффициента теплового расширения между основной частью 13 и оптоволокном 11 не способна ни разрывать оптоволокно 11, ни деформировать оптоволокно 11.
В варианте осуществления, иллюстрированном на фиг. 3, петля оптоволокна 11 проходит вокруг двух выпуклых выступов 14 в полости. Два выступа 14 также определяют сквозное отверстие, предоставляющее возможность оптическому предохранителю прикрепляться к крепежной пластине 15, иллюстрированной на фиг. 5 и 6. Когда канат приходит в соприкосновение со штифтом 12, штифт 12 перемещается и оказывает тянущее усилие на оптоволокно 11, которое растягивается до тех пор, пока разрыв оптоволокна 11 не будет иметь место посредством срезающего усилия. Эта конфигурация оптического предохранителя предоставляет возможность оптоволокну 11 эффективно разрываться, в то же самое время являясь экономичной. Это решение является особенно полезным, поскольку необязательно снабжать опоры электричеством, поскольку оптические предохранители 6 являются механическими компонентами, которые изменяют состояние с помощью энергии, предоставляемой канатом, который должен наблюдаться.
В другой конфигурации каждая опора содержит по меньшей мере один оптический предохранитель, устройство передачи оптического сигнала и устройство приема упомянутого сигнала. Когда предохранитель переходит из включенного состояния в выключенное состояние, оптоволокно 11 больше не способно выполнять прохождение оптического сигнала, например, оптоволокно 11 разрывается. Приемное устройство, ассоциированное с оптическим предохранителем в выключенном состоянии, обнаруживает отсутствие сигнала и предоставляет информацию схеме обнаружения, которая идентифицирует опору, ассоциированную с инцидентом, и формирует тревожное оповещение. В этом варианте осуществления схема обнаружения отеляется от приемного устройства и преимущественно располагается в терминале. Информация предоставляется схеме обнаружения, например, в форме оптического сигнала.
Предпочтительно, чтобы первый оптический предохранитель располагался на одном конце опоры, и чтобы второй оптический предохранитель располагался на противоположном конце опоры по продольной оси каната, которая может быть осью его прохождения. Эта конфигурация делает возможным обнаружение выхода каната из канавки шкива на обоих концах головной части опоры. Чтобы обнаруживать потерю шкива, предпочтительно устанавливать оптический предохранитель на каждом шкивном узле, как иллюстрировано на фиг. 7. Оптический предохранитель 6 предпочтительно устанавливается для обнаружения колебания шкивного узла, содержащего шкив или шкивы, которые должны наблюдаться, сверх порогового значения.
Чтобы обнаруживать событие каната, передающее устройство 7 устройства обнаружения испускает оптический сигнал, который может быть непрерывным, псевдо-непрерывным, периодическим или непериодическим. Оптический сигнал проходит через оптический предохранитель или предохранители 6 до тех пор, пока он не достигнет приемного устройства 8, расположенного на той же оптической линии 9. По приеме оптического сигнала приемное устройство 8 делает логический вывод из него о том, что событие, например, схода не было обнаружено. В отдельной конфигурации оптическая линия 9 определяет петлю, и тогда предпочтительно предусматривать передающее устройство 7 и приемное устройство 8, которые должны располагаться в том же месте и формировать, например, две части одного и того же блока. Например, передающее устройство и второй приемник располагаются в приводном терминале, чтобы обнаруживать инцидент на всех опорах, имеющих предохранительный элемент. В установке с несколькими станциями возможно иметь несколько передающих устройств и приемных устройств с тем, чтобы отделять наблюдаемые зоны на канатной дороге.
Когда оптический предохранитель 6 обнаруживает событие на канате 2, оптический предохранитель 6 переходит в выключенное состояние, и приемное устройство 8 делает логический вывод из этого, что событие на канате 2 произошло. Приемное устройство 8 формирует тревожное оповещение, которое может отключать приводной мотор каната 2.
Если оптическая линия 9 содержит несколько оптических предохранителей 6, соединенных последовательно, анализ оптической линии 9 посредством отражения оптического импульса или рефлектометрии делает возможным определение расстояния неисправности, т.е., позиции прерывания оптической линии. Тогда возможно определять точно позицию оптического предохранителя 6 и, следовательно, неисправной опоры, и возможно определять тип обнаруженного события на канате 2. Использование оптического сигнала является гораздо более точным по сравнению с использованием электрического сигнала.
Использование оптического предохранителя 6 для обнаружения события на канате 2, например, схода каната 2 или неисправности шкива 5, является особенно полезным, поскольку модификации, которые должны быть выполнены на существующей установке, являются минимальными. Следовательно, возможно заменять устройство обнаружения, использующее электрический сигнал, устройством обнаружения посредством оптического сигнала.
Устройство 7 передачи оптического сигнала заменяет устройство передачи электрического сигнала. Устройство 8 приема оптического сигнала заменяет устройство приема электрического сигнала. Электрическая линия заменяется оптической линией, состоящей из оптоволокна.
Оптическая линия 9 устанавливается соединяющей устройство 7 передачи оптического сигнала с устройством 8 приема оптического сигнала. По меньшей мере, один оптический предохранитель устанавливается вдоль оптического соединения 9 для обнаружения события, например, схода каната. По меньшей мере, один оптический предохранитель 6 заменяет по меньшей мере один электрический предохранитель на множестве опор 4 установки. Полезным образом, множество оптических предохранителей 6, все соединяются последовательно на одной и той же оптической линии 9.
Предпочтительно устанавливать оптический предохранитель 6 в оптическом соединителе, который привносит затухание в оптический сигнал. Например, по меньшей мере один из концов оптического предохранителя 6 привносит затухание сигнала. Затухание сигнала может быть низким, но достаточно высоким для обнаружения.
Когда оптические предохранители 6 соединяются последовательно, и когда один из оптических предохранителей 6 изменяет состояние, чтобы указывать неисправность, разрыв оптической линии обнаруживается, и оптический сигнал может больше не достигать датчика. Тогда предпочтительно обнаруживать, какой оптический предохранитель 6 изменил состояние. Предпочтительным способом для обнаружения позиции оптического предохранителя 6 вдоль оптической линии является использование метода рефлектометрии. Испускается сигнал, который распространяется до оптического предохранителя, блокирующего оптический сигнал и формирующего зеркало. Сечение оптоволокна отражает испущенный сигнал.
Возвращенный сигнал анализируется, чтобы определять позицию зеркала и, следовательно, позицию оптического предохранителя, который изменил состояние. В первом режиме анализа возвращенный сигнал, принимаемый рефлектометром, обрабатывается вычислительным устройством, например, компьютером, чтобы определять число оптических соединителей, через которые он прошел. Каждый оптический соединитель привносит возмущение. Посредством вычисления числа возмущений возможно определять число пройденных оптических соединителей. Возможно определять позицию последнего оптического предохранителя во включенном состоянии и, следовательно, позицию следующего оптического предохранителя, который находится в выключенном состоянии. Поскольку позиция предохранителей на оптической линии является известной, возможно определять позицию оптического предохранителя перед изучением последнего и потенциально предполагать тип неисправности.
Во втором режиме анализа возвращаемый сигнал, принимаемый рефлектометром, обрабатывается вычислительным устройством, например, компьютером, чтобы определять время прохождения оптического сигнала. Поскольку среда циркуляции оптического сигнала, т.е., оптоволокно, является известной, возможно определять позицию зеркала и, следовательно, позицию оптического предохранителя, который изменил состояние. Если расстояние каждого оптического предохранителя относительно рефлектометра является известным, возможно определять, какой предохранитель изменил состояние.
В альтернативном варианте осуществления оптические предохранители устанавливаются последовательно, но расстояние оптоволокна, разделяющее каждую группу из двух последовательных оптических предохранителей, больше порогового расстояния, например, 1 метра. Пороговое расстояние определяется разрешением устройства измерения оптического сигнала. Пороговое расстояние соответствует минимальному расстоянию, которое существует вдоль оптоволокна между двумя событиями, и которое предоставляет возможность выполнения различия посредством устройства измерения оптического сигнала. Хотя устройство измерения оптического сигнала способно различать между двумя событиями, происходящими на двух последовательных опорах, поскольку они отделяются несколькими десятками метров вдоль оптоволокна, более трудно различать между двумя инцидентами для двух предохранителей, отделенных несколькими сантиметрами на одной и той же опоре.
Тогда предпочтительно всегда отделять два оптических предохранителя, установленных последовательно вдоль оптоволокна, пороговым расстоянием. Также предпочтительно устанавливать два оптических предохранителя физически разделенными по меньшей мере пороговым расстоянием последовательно вдоль оптических волокон для легкости установки. Также возможно устанавливать два оптических предохранителя последовательно вдоль оптического волокна, два оптических предохранителя отделяются пороговым расстоянием вдоль оптического волокна, тогда как, физически, они не отделяются друг от друга расстоянием, равным пороговому значению. Определение оптического предохранителя, который изменил состояние, выполняется посредством вычисления времени, затраченного на прием сигнала, отраженного предохранителем, который изменил состояние, от передачи оптического сигнала, предназначенного для прохождения через оптические предохранители.
В отдельном варианте осуществления каждый оптический предохранитель ассоциируется с соединителем, который привносит затухание оптического сигнала, когда последний проходит через него. В отдельной конфигурации установка имеет большее число оптических предохранителей по сравнению с пороговым значением, предоставляя возможность выполнения анализа сигнала посредством рефлектометрии. Тогда предпочтительно делить установку на множество оптических линий, каждая оптическая линия имеет оптическое волокно и меньшее число оптических предохранителей по сравнению с пороговым значением. Оптические предохранители соединяются последовательно.
В преимущественном варианте осуществления каждая опора ассоциируется с оптическим волокном. Каждая опора испытывается независимо, чтобы проверять корректную работу опоры. Например, все опоры испытываются менее чем за 5 секунд, например, менее чем за 3 секунды или менее чем за 2 секунды или даже менее чем за одну секунду. Когда обнаруживается, что оптический предохранитель изменил состояние, установка отключается. Опора, ассоциированная с неисправностью, быстро идентифицируется, когда оптическое волокно, блокирующее протекание оптического сигнала, идентифицируется. Дополнительный анализ оптической линии в начале отключения установки может затем быть выполнен, преимущественно посредством рефлектометрии, чтобы обнаруживать, какой оптический предохранитель изменил состояние на опоре. Тогда возможно определять, какой тип неисправности произошел.
Изобретение относится к канатной транспортной установке. Канатная транспортная установка (1) содержит канат (2), поддерживаемый несколькими шкивами (5) нескольких опор (4). По меньшей мере одна опора (4) снабжается по меньшей мере одним оптическим предохранителем (6), определяющим первое и второе состояния, разрешающее или препятствующее прохождению оптического сигнала. Устройство (7, 8) обнаружения конфигурируется, чтобы обнаруживать сход каната (2) с одного из шкивов (5). Устройство обнаружения выполняет прохождение сигнала через оптические предохранители (6), чтобы наблюдать их состояние. Оптические предохранители (6) конфигурируются, чтобы изменять состояние между первым состоянием и вторым состоянием, когда по меньшей мере один оптический предохранитель (6) приходит в соприкосновение с канатом (2) или с одной из его поддерживающих частей. Устройство обнаружения издает тревожное оповещение в ответ на обнаружение изменения состояния одного из оптических предохранителей (6). Каждый оптический предохранитель (6) содержит оптическое волокно. Изобретение относится также к способу обнаружения события на канате и к способу производства канатной транспортной установки. В результате создана канатная транспортная установка, предоставляющая возможность быстрого обнаружения события на канате, например схода каната, неработающего шкива или заблокированного шкива, что делает более легким определение того, какая опора ассоциируется с этим инцидентом. 3 н. и 15 з.п. ф-лы, 8 ил.
1. Канатная транспортная установка (1), содержащая:
канат (2),
множество опор (4), каждая из которых снабжена по меньшей мере одним шкивом (5), причем канат (2) размещен с прижимом по меньшей мере на одном шкиве (5) множества опор (4), при этом по меньшей мере одна опора (4) из множества опор (4) снабжена по меньшей мере одним предохранителем (6), определяющим первое состояние, предоставляющее возможность прохождения сигнала, и второе состояние, препятствующее прохождению сигнала,
устройство (6, 7, 8) обнаружения, выполненное с возможностью обнаружения по меньшей мере одного события на канате (2), причем устройство (6, 7, 8) обнаружения выполняет прохождение сигнала по меньшей мере через один предохранитель (6), чтобы наблюдать за состоянием по меньшей мере одного предохранителя (6), при этом по меньшей мере один предохранитель (6) выполнен с возможностью изменения состояния между первым состоянием и вторым состоянием, когда по меньшей мере один предохранитель (6) обнаруживает упомянутое по меньшей мере одно событие на канате (2), причем устройство (6, 7, 8) обнаружения выполнено с возможностью выдавать тревожное оповещение в ответ на обнаружение изменения состояния по меньшей мере одного предохранителя (6),
отличающаяся тем, что по меньшей мере один предохранитель (6) является оптическим предохранителем, который содержит оптоволокно (11), что устройство (6, 7, 8) обнаружения содержит передающее устройство (7), выполненное с возможностью передачи оптического сигнала, и приемное устройство (8), выполненное с возможностью приема упомянутого оптического сигнала, причем передающее устройство (7) соединено с приемным устройством (8) посредством указанного по меньшей мере одного оптического предохранителя (6), и что по меньшей мере один оптический предохранитель (6) выполнен с возможностью изменения состояния, когда упомянутый по меньшей мере один оптический предохранитель (6) испытывает механическое напряжение, оказываемое канатом (2).
2. Канатная транспортная установка (1) по п. 1, при этом по меньшей мере один оптический предохранитель (6) выполнен с возможностью резания оптоволокна (11), когда по меньшей мере один оптический предохранитель (6) испытывает механическое напряжение, оказываемое канатом (2).
3. Канатная транспортная установка (1) по п. 2, при этом по меньшей мере один оптический предохранитель (6) выполнен с возможностью резания оптоволокна (11) посредством срезающего усилия, когда по меньшей мере один оптический предохранитель (6) испытывает механическое напряжение, оказываемое канатом (2).
4. Канатная транспортная установка (1) по п. 3, при этом по меньшей мере один оптический предохранитель (6) содержит штифт (12), установленный подвижным образом, чтобы разрывать петлю из оптоволокна (11), когда штифт (12) испытывает механическое напряжение, оказываемое канатом (2), и при этом по меньшей мере один оптический предохранитель (6) содержит петлю из оптоволокна (11) и основную часть (13), определяющую полость, при этом петля из оптоволокна (11) установлена внутри полости вокруг двух соединительных точек (13a), разделенных штифтом (12), причем по меньшей мере один оптический предохранитель (6) выполнен с возможностью обнаружения схода каната (2) посредством штифта (12).
5. Канатная транспортная установка (1) по п. 4, при этом петля из оптоволокна (11) проходит через штифт (12) по первой оси.
6. Канатная транспортная установка по п. 5, при этом штифт (12) установлен подвижным с возможностью вращения вокруг оси вращения, перпендикулярной первой оси, и на расстоянии от первой оси, чтобы разрывать петлю из оптоволокна (11).
7. Канатная транспортная установка (1) по п. 1, при этом упомянутое по меньшей мере одно событие на канате является событием, выбранным из схода каната (2) по меньшей мере с одного из упомянутых шкивов (5), потери по меньшей мере одного из упомянутых шкивов (5) или блокировки по меньшей мере одного из упомянутых шкивов (5).
8. Канатная транспортная установка (1) по п. 1, при этом каждая опора (4) содержит уловитель (10), предназначенный для приема каната (2), который покинул по меньшей мере один шкив (5), и при этом по меньшей мере один оптический предохранитель (6) выступает из уловителя (10) таким образом, чтобы ударяться канатом (2) и обнаруживать сход каната (2), и/или при этом уловитель (10) имеет подвижную часть, присоединенную по меньшей мере к одному оптическому предохранителю (6) таким образом, чтобы оказывать механическое напряжение по меньшей мере на одном оптическом предохранителе (6), когда подвижная часть ударяется канатом (2).
9. Канатная транспортная установка (1) по п. 2, при этом механическое напряжение по меньшей мере одного оптического предохранителя (6), оказываемое канатом (2), достигается путем прямого соприкосновения, выполняемого по меньшей мере одним оптическим предохранителем (6), с канатом (2) и разрыва по меньшей мере одного оптического предохранителя (6) канатом (2).
10. Канатная транспортная установка (1) по п. 1, при этом по меньшей мере один оптический предохранитель (6) выполнен с возможностью обнаружения потери шкива или заблокированного шкива, причем по меньшей мере один оптический предохранитель (6) функционально соединен со шкивным узлом множества опор (4), чтобы изменять состояние, когда шкивной узел вращается сверх порогового значения.
11. Канатная транспортная установка (1) по п. 1, при этом по меньшей мере один оптический предохранитель (6) включает множество оптических предохранителей (6), соединенных последовательно на оптической линии (9) и выполненных таким образом, что оптический сигнал может проходить через множество оптических предохранителей (6), причем каждый оптический предохранитель (6) первоначально находится в первом состоянии, при этом устройство (6, 7, 8) обнаружения содержит устройство определения, выполненное с возможностью определения позиции одного из оптических предохранителей (6) во втором состоянии среди множества оптических предохранителей (6), соединенных последовательно, когда событие на канате (2) было обнаружено.
12. Канатная транспортная установка (1) по п. 11, при этом устройство определения выполнено с возможностью вычисления времени прохождения выпущенного оптического сигнала, отраженного разорванным оптоволокном, чтобы определять позицию оптического предохранителя (6) во втором состоянии.
13. Канатная транспортная установка (1) по одному из пп. 11 и 12, при этом оптические предохранители, каждый, соединены в оптическую линию посредством соединителя, привносящего по меньшей мере одно возмущение, и при этом устройство определения выполнено с возможностью вычисления числа возмущений, которым подвергается оптический сигнал, чтобы определять позицию оптического предохранителя (6) во втором состоянии.
14. Канатная транспортная установка (1) по п. 1, при этом каждая опора (4) содержит:
блок управления, снабжаемый электричеством и соединенный со схемой управления через оптическую линию (9), при этом схема управления выполнена с возможностью выдачи тревожного оповещения,
множество оптических предохранителей (6), соединенных с блоком управления, при этом блок управления содержит передающее устройство (7) и принимающее устройство (8).
15. Способ обнаружения события на канате (2) в канатной транспортной установке (1), включающий по меньшей мере следующие этапы, на которых:
предоставляют канатную транспортную установку (1), содержащую канат (2), множество опор (4), каждая из которых снабжена по меньшей мере одним шкивом (5), при этом канат (2) размещен с прижатием по меньшей мере на одном шкиве (5) множества опор (4), причем по меньшей мере одна опора (4) из множества опор (4) снабжена по меньшей мере одним предохранителем, определяющим первое состояние, предоставляющее возможность прохождения сигнала, и второе состояние, препятствующее прохождению сигнала, при этом по меньшей мере один предохранитель выполнен с возможностью изменения состояния между первым состоянием и вторым состоянием, когда по меньшей мере один предохранитель обнаруживает событие на канате (2);
регулярно передают сигнал, проходящий по меньшей мере через один предохранитель;
обнаруживают отсутствие приема упомянутого сигнала посредством устройства приема сигнала и делают логический вывод из этого об изменении состояния по меньшей мере одного предохранителя, представляющего событие на канате (2),
отличающийся тем, что по меньшей мере один предохранитель является оптическим предохранителем (6), содержащим оптоволокно (11), что сигнал является оптическим сигналом, предназначенным для прохождения по меньшей мере через один оптический предохранитель (6), что приемное устройство является оптическим приемным устройством (8) и что по меньшей мере один оптический предохранитель (6) выполнен с возможностью изменения состояния, когда упомянутый по меньшей мере один оптический предохранитель (6) подвергается механическому напряжению, оказываемому канатом (2).
16. Способ обнаружения события на канате (2) в канатной транспортной установке (1) по п. 15, при этом каждый оптический предохранитель (6) принадлежит оптическому соединителю, причем оптические соединители соединены последовательно вдоль оптоволокна (11), при этом каждый оптический соединитель привносит возмущение оптического сигнала, когда оптический сигнал проходит через оптический соединитель, при этом способ содержит обратный отсчет числа возмущений принимаемого оптического сигнала, чтобы определять число пройденных оптических соединителей и оценивать позицию оптического предохранителя, который изменил состояние.
17. Способ обнаружения события на канате (2) в канатной транспортной установке (1) по п. 16, при этом оптические предохранители (6) соединены последовательно вдоль оптоволокна (11), при этом два последовательных оптических предохранителя (6) вдоль оптоволокна (11) всегда отделены пороговым расстоянием, причем пороговое расстояние соответствует минимальному расстоянию, которое существует вдоль оптоволокна между двумя оптическими предохранителями и которое предоставляет возможность выполнения различия посредством измерительного устройства оптического сигнала, при этом определение оптического предохранителя, который изменил состояние, выполняют посредством вычисления времени, затраченного на прием сигнала, отраженного предохранителем, который изменил состояние.
18. Способ производства канатной транспортной установки (1), содержащий этапы, на которых:
предоставляют канатную транспортную установку (1), содержащую канат (2) и множество опор (4), каждая из которых снабжена по меньшей мере одним шкивом (5), причем канат (2) размещен с прижатием по меньшей мере на одном шкиве (5) множества опор (4), при этом по меньшей мере одна опора (4) из множества опор (4) снабжена по меньшей мере одним электрическим предохранителем, определяющим первое состояние, предоставляющее возможность прохождения электрического сигнала, и второе состояние, препятствующее прохождению электрического сигнала, причем по меньшей мере один электрический предохранитель выполнен с возможностью изменения состояния между первым состоянием и вторым состоянием, когда по меньшей мере один электрический предохранитель испытывает механическое напряжение, оказываемое канатом (2), при этом по меньшей мере один электрический предохранитель соединен со схемой обнаружения посредством электропроводящего кабеля, причем устройство обнаружения выполнено с возможностью обнаружения по меньшей мере одного события на канате;
заменяют по меньшей мере один электрический предохранитель оптическим предохранителем (6), причем оптический предохранитель (6) определяет первое состояние, предоставляющее возможность прохождения оптического сигнала, и второе состояние, препятствующее прохождению оптического сигнала, при этом по меньшей мере один оптический предохранитель (6) выполнен с возможностью изменения состояния между первым состоянием и вторым состоянием, когда по меньшей мере один оптический предохранитель (6) обнаруживает событие на канате (2);
соединяют по меньшей мере один оптический предохранитель (6) со схемой обнаружения посредством оптической линии (9),
и при этом устройство (6, 7, 8) обнаружения содержит передающее устройство (7), выполненное с возможностью передачи оптического сигнала, приемное устройство (8), выполненное с возможностью приема упомянутого оптического сигнала, при этом передающее устройство (7) соединено с приемным устройством (8) по меньшей мере посредством одного оптического предохранителя (6), причем устройство (6, 7, 8) обнаружения выполнено с возможностью выдачи тревожного оповещения в ответ на обнаружение изменения состояния по меньшей мере одного оптического предохранителя (6).
| СПОСОБ ИЗГОТОВЛЕНИЯ ТЕРМОАНЕМОМЕТРА (ВАРИАНТЫ) | 2013 |
|
RU2548612C2 |
| FR 2946940 A1, 24.12.2010 | |||
| УСТРОЙСТВО НА ПОДВЕСНОЙ КАНАТНОЙ ДОРОГЕ ИЛИ НА ГРУЗОВОЙ ПОДЪЕМНО-ТРАНСПОРТНОЙ УСТАНОВКЕ ДЛЯ ОПРЕДЕЛЕНИЯ ОШИБОЧНОГО ПОЛОЖЕНИЯ НЕСУЩЕГО КАНАТА НА ДЕРЖАТЕЛЕ С ЖЕЛОБКОМ, В КОТОРОМ РАСПОЛОЖЕН НЕСУЩИЙ КАНАТ, И С ОПРЕДЕЛИТЕЛЕМ ОШИБОЧНОГО ПОЛОЖЕНИЯ НЕСУЩЕГО КАНАТА | 2009 |
|
RU2472655C2 |
| СИСТЕМА КОНТРОЛЯ ИЗНОСА, ТРАНСПОРТНАЯ УСТАНОВКА С КАНАТНЫМ ПРИВОДОМ И СПОСОБ КОНТРОЛЯ БЫСТРОИЗНАШИВАЮЩИХСЯ ДЕТАЛЕЙ ТАКОЙ ТРАНСПОРТНОЙ УСТАНОВКИ | 2009 |
|
RU2493989C2 |
| СПОСОБ ЦИФРОВОЙ ФИЛЬТРАЦИИ ШУМОВОЙ СОСТАВЛЯЮЩЕЙ В ИНЕРЦИАЛЬНЫХ ДАТЧИКАХ | 2017 |
|
RU2654941C1 |
| EP 1881509 A2, 23.01.2008. | |||
Авторы
Даты
2025-05-21—Публикация
2022-01-12—Подача