Область техники
[0001] Настоящее изобретение относится к устройству обработки, электромобилю, способу обработки и программе, и особенно пригодно для использования при возбуждении электродвигателя. Данная заявка основана на и претендует на преимущество приоритета более ранней заявки на патент Японии № 2022-053569, поданной 29 марта 2022 года, полное содержание которой включено в настоящий документ по ссылке.
Предпосылки изобретения
[0002] Вибрация электродвигателя во время движения вызывает шум. Кроме того, вибрация тягового электродвигателя (источника энергии) в электромобиле, таком как HV (гибридный автомобиль) или EV (электрическое транспортное средство), например, влияет на комфорт езды. Следовательно, желательно подавлять вибрацию электродвигателя. В качестве одного из способов подавления вибрации электродвигателя можно рассматривать изменение конструкции электродвигателя. Однако изменить конструкцию существующего электродвигателя электромобиля сложно. Предложен способ, при котором вибрация электродвигателя подавляется путем управления гармоникой, включенной в сигнал возбуждения, который подается на обмотку статора электродвигателя.
[0003] В непатентном документе 1 раскрывается методика, которая нацелена на реализацию снижения пульсаций крутящего момента электродвигателя и снижения вибрации в радиальном направлении электродвигателя, путем ориентации на PMSM (синхронный электродвигатель с постоянными магнитами) с открытой обмоткой. В качестве такой методики в непатентной документе 1 описывается, что в качестве тока возбуждения на PMSM подается ток, полученный наложением тока третьей гармоники на ток основной волны.
Список цитируемой литературы
Непатентные документы
[0004] Непатентный документ 1: в соавторстве с Кадзунари Хонда и Кан Акацу, "Driving an Open-Winding Structure PMSM Using Third Harmonic Current Control", IEEJ Transactions on Industry Applications, Vol. 141, No. 1, стр. 35-45, 1 января 2021 г.
Сущность изобретения
Техническая проблема
[0005] Однако в непатентном документе 1 описано, что даже если в качестве тока возбуждения на PMSM подается ток, полученный наложением тока третьей гармоники на основную волну, эффект подавления вибрации в радиальном направлении электродвигателя мал. Поэтому существует необходимость в усовершенствовании методики, описанной в непатентном документе 1. Например, в случае, когда трехфазный источник переменного тока со схемой соединения звездой (соединение Y) используется для работы электродвигателя, в котором способ соединения обмотки статора использует соединение звездой, ток гармоники порядка, кратного 3, не протекает через электродвигатель. Следовательно, даже если в качестве тока возбуждения на электродвигатель подается ток, полученный наложением третьей гармоники на основную волну, эффект подавления вибрации в радиальном направлении электродвигателя оказывается недостаточным. Настоящее изобретение создано на основе проблем, описанных выше, и его целью является увеличение эффекта подавления вибрации электродвигателя.
Решение проблемы
[0006] Устройство обработки по настоящему изобретению представляет собой устройство обработки для выполнения обработки для формирования формы волны возбуждения, являющейся временной формой сигнала возбуждения, подаваемого на обмотку статора электродвигателя, причем устройство обработки включает в себя блок установки информации о форме волны, выполненный с возможностью установки информации о форме волны, включающей в себя информацию об основной волне и информацию о гармонике, при этом информация об основной волне представляет собой информацию для формирования основной волны, включаемой в форму волны возбуждения, информация о гармонике представляет собой информацию для формирования пятой гармоники, накладываемой на основную волну, блок установки информации о форме волны включает в себя блок установки информации о гармонике, который устанавливает информацию о гармонике, информация о гармонике включает в себя отношение A5 амплитуд и разность ϕ5 фаз, отношение A5 амплитуд выражает в процентах отношение амплитуды I5 пятой гармоники к амплитуде I0 основной волны, разность ϕ5 фаз представляет собой разность фаз между основной волной и пятой гармоникой, блок установки информации о гармонике устанавливает амплитуду I5 пятой гармоники так, чтобы сделать отношение A5 амплитуд составляющим более 20% и 80% или менее, и блок установки информации о гармонике устанавливает разность ϕ5 фаз так, чтобы сделать фазу пятой гармоники по отношению к основной волне опережающей фазой, а также сделать разность ϕ5 фаз составляющей 80° или более и 106° или менее.
[0007] Способ обработки по настоящему изобретению представляет собой способ обработки для выполнения обработки для формирования формы волны возбуждения, являющейся временной формой сигнала возбуждения, подаваемого на обмотку статора электродвигателя, причем способ обработки включает в себя этап установки информации о форме волны с установкой информации о форме волны, включающей информацию об основной волне и информацию о гармонике, при этом информация об основной волне представляет собой информацию для формирования основной волны, включаемой в форму волны возбуждения, информация о гармонике представляет собой информацию для формирования пятой гармоники, накладываемой на основную волну, этап установки информации о форме волны включает в себя этап установки информации о гармонике с установкой информации о гармонике, информация о гармонике включает в себя отношение A5 амплитуд и разность ϕ5 фаз, отношение A5 амплитуд выражает в процентах отношение амплитуды I5 пятой гармоники к амплитуде I0 основной волны, разность ϕ5 фаз представляет собой разность фаз между основной волной и пятой гармоникой, этап установки информации о гармонике устанавливает амплитуду I5 пятой гармоники так, чтобы сделать отношение A5 амплитуд составляющим более 20% и 80% или менее, и этап установки информации о гармонике устанавливает разность ϕ5 фаз так, чтобы сделать фазу пятой гармоники по отношению к основной волне опережающей фазой, а также сделать разность ϕ5 фаз составляющей 80° или более и 106° или менее.
[0008] Программа по настоящему изобретению заставляет компьютер функционировать в качестве блока установки информации о форме волны устройства обработки.
Краткое описание чертежей
[0009] Фиг. 1 - вид, иллюстрирующий один пример конфигурации электродвигателя.
Фиг. 2 - вид, иллюстрирующий один пример зависимости между отношением амплитуд пятой гармоники по отношению к основной волне и электромагнитной силой.
Фиг. 3 - вид, иллюстрирующий один пример зависимости между разностью ϕ5 фаз между основной волной и пятой гармоникой и электромагнитной силой.
Фиг. 4 - вид, иллюстрирующий один пример функциональной конфигурации устройства обработки.
Фиг. 5 - блок-схема последовательности операций, поясняющая один пример способа обработки.
Фиг. 6 - вид, иллюстрирующий один пример конфигурации аппаратной части устройства обработки.
Описание вариантов осуществления
[0010] В дальнейшем варианты осуществления настоящего изобретения будут описаны со ссылкой на чертежи. Отметим, что в последующем пояснении описание, указывающее на то, что объекты сравнения, такие как длины, положения, размеры и интервалы, являются одинаковыми, включает в себя не только случай, когда они строго одинаковы, но и случай, когда они отличаются в пределах диапазона, не выходящего за рамки существа изобретения (например, отличаются в пределах допуска, определенного при проектировании).
[Результаты]
[0011] Перед пояснением вариантов осуществления настоящего изобретения будут объяснены результаты, полученные авторами изобретения при разработке вариантов осуществления настоящего изобретения. Основной причиной шума, создаваемого в электродвигателе, является вибрация статора (сердечника статора). Вибрацию статора можно напрямую оценить по электромагнитной силе, генерируемой в статоре (сердечнике статора). Соответственно, авторы настоящего изобретения предложили в заявке на патент Японии № 2021-185783 способ, в котором ищут гармонику, способную уменьшить генерируемую в статоре электромагнитную силу, в качестве гармоники, накладываемой на основную волну. Кроме того, авторы настоящего изобретения провели анализ электромагнитного поля (численный анализ), чтобы проверить, какой тип гармоники следует наложить на основную волну для того, чтобы уменьшить генерируемую в статоре электромагнитную силу.
<Конфигурация электродвигателя M>
[0012] Фиг. 1 - вид, иллюстрирующий один пример конфигурации электродвигателя M, являющегося объектом исследования. Отметим, что на фиг. 1 показано поперечное сечение, полученное путем разрезания электродвигателя M перпендикулярно оси вращения 0 (направлению оси z). На фиг. 1 иллюстрация штриховки, выражающая разрез поперечного сечения, опущена для удобства обозначения. На фиг. 1 линии со стрелками, изображенные вблизи x, y и z, указывают направления координаты x, координаты y и координаты z в прямоугольной системе координат x-y-z. Кроме того, линии со стрелками, изображенные вблизи r и θ, указывают направления координаты r и координаты θ в двумерной полярной системе координат. Отметим, что символ белого кружка (○) с приведенным внутри черным кружком (•) указывает направление координаты z. Кроме того, направление от дальней стороны к ближней стороне листа бумаги указывает положительное направление. Кроме того, начало отсчета каждой из координат, указанных на фиг. 1, представляет собой ось вращения 0 (центральную линию), например, электродвигателя M. На фиг. 1 начало отсчета каждой из координат указано в положении, смещенном относительно оси вращения 0 электродвигателя M, для удобства обозначения.
[0013] На фиг. 1 электродвигатель M включает в себя ротор 110 и статор 120. Ротор 110 включает в себя сердечник 111 ротора и постоянные магниты 112a-112p. Сердечник 111 ротора образован путем шихтования множества листов изотропной электротехнической стали, имеющих, например, одинаковую плоскую форму. Отметим, что сердечник 111 ротора не ограничен тем, в котором используются листы изотропной электротехнической стали, являющиеся одним примером листов из магнитомягкого материала. Например, сердечник 111 ротора может быть также образован с использованием листов из магнитомягкого материала, отличных от листов изотропной электротехнической стали. Листами из магнитомягкого материала, отличными от листов изотропной электротехнической стали, являются, например, листы анизотропной электротехнической стали. Кроме того, сердечник 111 ротора может также представлять собой, например, магнитопоровый сердечник, аморфный сердечник и нанокристаллический сердечник. В сердечнике 111 ротора образованы сквозные отверстия 111a-111i, проходящие сквозь сердечник 111 ротора в направлении, параллельном вращающемуся валу электродвигателя M (направлении оси z).
[0014] Центральное положение сквозного отверстия 111a совпадает с положением оси вращения 0 электродвигателя M. В сквозном отверстии 111a расположен вращающийся вал (вал). Сквозные отверстия 111b-111i расположены с интервалом между ними в окружном направлении электродвигателя M таким образом, чтобы окружать сквозное отверстие 111a. Отметим, что окружное направление электродвигателя M - это направление вокруг оси вращения 0 электродвигателя M. Более конкретно, окружное направление электродвигателя M - это направление оси θ, показанное на фиг. 1. Формы и размеры сквозных отверстий 111b-111i одинаковы. В сквозных отверстиях 111b-111i расположены постоянные магниты 112a-112p. В состоянии, когда постоянные магниты 112a-112p расположены в сквозных отверстиях 111b-111i, по обе стороны от каждого из постоянных магнитов 112a-112p образуются пустоты. Пустоты являются частичными областями сквозных отверстий 111b-111i.
[0015] Множество листов из магнитомягкого материала, образующих сердечник 111 ротора, изготавливаются, например, путем выполнения обработки круглых листов из магнитомягкого материала таким образом, чтобы в них были образованы отверстия, соответствующие сквозным отверстиям 111a-111i. Набор, полученный путем шихтования и фиксации указанного множества листов из магнитомягкого материала таким образом, чтобы положения отверстий были совмещены, является одним примером сердечника 111 ротора. Отметим, что в сердечнике 111 ротора может быть также образовано сквозное отверстие, отличное от сквозных отверстий 111a-111i. Кроме того, с сердечником 111 ротора может быть также выполнена так называемая косая штамповка.
[0016] Статор 120 включает в себя сердечник 121 статора и обмотки 122 статора. Сердечник 121 статора образован путем шихтования множества листов изотропной электротехнической стали, имеющих, например, одинаковую плоскую форму. Отметим, что сердечник 121 статора не ограничен тем, в котором используются листы изотропной электротехнической стали, являющиеся одним примером листов из магнитомягкого материала. Например, сердечник 121 статора может быть также образован с использованием листов из магнитомягкого материала, отличных от листов изотропной электротехнической стали. Листами из магнитомягкого материала, отличными от листов изотропной электротехнической стали, являются, например, листы анизотропной электротехнической стали. Кроме того, сердечник 121 статора может также представлять собой, например, магнитопоровый сердечник, аморфный сердечник и нанокристаллический сердечник.
[0017] Сердечник 121 статора включает в себя множество зубцов 121a и ярмо 121b (спинку сердечника). Отметим, что на фиг. 1 ссылочный номер 121a присвоен только одному из множества зубцов для удобства обозначения. Множество зубцов 121a расположены с равными интервалами между собой в окружном направлении электродвигателя M. Формы и размеры множества зубцов 121a одинаковы. Ярмо 121b имеет приблизительно полую цилиндрическую форму. Множество зубцов 121a и ярмо 121b расположены таким образом, что торцевая поверхность на внутренней периферийной стороне (стороне оси вращения 0) ярма 121b и торцевые поверхности на внешней периферийной стороне (стороне положительного направления оси r, показанной на фиг. 1) множества зубцов 121a совмещены друг с другом. Однако множество зубцов 121a и ярмо 121b являются цельными (между ними нет границы раздела).
[0018] Кроме того, в пазах 121c расположены обмотки 122 статора. Пазы 121c представляют собой область между двумя соседними зубцами 121a в состоянии наличия интервала между ними в окружном направлении электродвигателя M. Отметим, что на фиг. 1 ссылочный номер 122 присвоен только одной обмотке статора для удобства обозначения.
[0019] Множество листов из магнитомягкого материала, образующих сердечник 121 статора, изготавливаются, например, путем выполнения обработки круглых листов из магнитомягкого материала таким образом, чтобы в них была образована область, имеющая форму, соответствующую множеству зубцов 121a и ярму 121b. Набор, полученный путем шихтования и фиксации указанного множества листов из магнитомягкого материала таким образом, чтобы их контуры (внутренняя кромка ярма и внешние кромки множества зубцов) совмещены друг с другом, является одним примером сердечника 121 статора. Отметим, что с сердечником 121 статора может быть также выполнена так называемая косая штамповка.
[0020] Отметим, что на фиг. 1 в качестве примера показан случай, когда электродвигатель M представляет собой электродвигатель с внутренним ротором типа ВПМ (с внутренними постоянными магнитами). Однако электродвигатель M не ограниченя электродвигателем с внутренним ротором типа ВПМ. Например, электродвигатель M может быть электродвигателем, отличным от синхронного электродвигателя, и он также может быть электродвигателем с внешним ротором. Кроме того, электродвигатель M не ограничен электродвигателем с радиальным зазором. Например, электродвигатель M может также быть электродвигателем с аксиальным зазором.
[0021] В дальнейшем в качестве электродвигателя M, показанного на фиг. 1, в качестве примера приведен трехфазный электродвигатель переменного тока, в котором внешний диаметр статора 120 составляет 140 мм, внешний диаметр 111 ротора 110 составляет 90 мм, высота (длина в направлении оси z) ротора 110 и статора 120 составляет 24 мм, число пазов статора 120 равно 48, листами из магнитомягкого материала, образующими сердечник 111 ротора и сердечник 121 статора, являются листы изотропной электротехнической стали, число полюсов равно 8, а способ соединения обмотки 122 статора использует соединение звездой, и будут описаны результаты исследования, проведенного авторами настоящего изобретения.
<Краткое описание численного анализа>
[0022] Авторы настоящего изобретения провели анализ электромагнитного поля (численный анализ), чтобы получить описанные ниже результаты, касающиеся гармоники, накладываемой на основную волну. Соответственно, ниже будет приведено краткое описание анализа электромагнитного поля (численного анализа). В данном исследовании использовали метод конечных элементов, являющийся одним примером численного анализа, для расчета плотности B магнитного потока и плотности Je вихревых токов в каждом элементе (ячейке), заданном(й) в расчетной модели электродвигателя M. Отметим, что плотность B магнитного потока и плотность Je вихревых токов являются векторными величинами. Кроме того, описанные ниже результаты, касающиеся гармоники, накладываемой на основную волну, можно также получить, выполнив анализ электромагнитного поля с использованием метода численного анализа, отличного от метода конечных элементов (метода дискретизации), такого как метод разностей.
[0023] В качестве метода анализа электромагнитного поля с использованием метода конечных элементов существует метод, использующий метод A-ϕ. В этом случае базовые уравнения для выполнения анализа электромагнитного поля задаются следующими уравнениями (1)-(4) на основе уравнений Максвелла. Отметим, что в каждом уравнении → обозначает вектор.
[0024] Математическое уравнение 1
[0025] В уравнениях (1)-(4) μ - это магнитная проницаемость, A - векторный потенциал, σ - проводимость, J0 - плотность тока возбуждения, Je - плотность вихревых токов, а B - плотность магнитного потока (магнитная индукция). Решая совместно уравнение (1) и уравнение (2), определяются векторный потенциал A и скалярный потенциал ϕ. После этого из уравнения (3) и уравнения (4) определяются плотность B магнитного потока и плотность Je вихревых токов для каждого элемента. Отметим, что уравнение (1) выражает уравнение для случая, когда x-компонента μx, y-компонента μy и z-компонента μz магнитной проницаемости равны (μx=μy=μz), для упрощения записи.
[0026] Кроме того, электромагнитная сила F, создаваемая в сердечнике 121 статора, рассчитывается на основе плотности B магнитного потока в каждом элементе, заданном в отношении сердечника 121 статора (в дальнейшем пояснении создаваемая в сердечнике 121 статора электромагнитная сила F будет при необходимости сокращаться до электромагнитной силы F). Кроме того, рассчитывается крутящий момент T, создаваемый в электродвигателе M, на основе плотности B магнитного потока в каждом заданном элементе с учетом воздушного зазора между сердечником 111 ротора и сердечником 121 статора (в дальнейшем пояснении создаваемый в электродвигателе M крутящий момент T будет при необходимости сокращаться до крутящего момента T). Электромагнитная сила F и крутящий момент T рассчитываются с использованием, например, общеизвестного метода узловых сил. В методе узловых сил рассчитывается тензор напряжений Максвелла на основе плотности B магнитного потока. Далее, тензор напряжений Максвелла используется для расчета электромагнитной силы F, включающей в качестве своих составляющих электромагнитные силы Fr, Fθ и Fz в направлении r, направлении θ и направлении z (электромагнитная сила F является векторной величиной). Далее, электромагнитная сила Fθ в направлении θ используется для расчета крутящего момента T (крутящий момент T является векторной величиной). Отметим, что метод расчета электромагнитной силы F и крутящего момента T не ограничен методом узловых сил, и может быть использован любой другой общеизвестный метод. Кроме того, сам по себе метод проведения анализа электромагнитного поля является обычным методом, поэтому его подробное описание будет опущено.
<Результаты, касающиеся гармоники, накладываемой на основную волну>
[0027] Авторы настоящего изобретения рассчитали электромагнитную силу F в том случае, когда на обмотку 122 статора подается ток возбуждения, временная форма которого представляет собой основную волну, и электромагнитную силу F в том случае, когда на обмотку 122 статора подается ток возбуждения, временная форма которого представляет собой форму, полученную наложением различных гармоник на основную волну, путем проведения анализа электромагнитного поля (численного анализа). Здесь предполагается, что ток возбуждения I(ωt) [А] выражается следующим уравнением (5). В уравнении (5) ω - это угловая частота [рад/с]. t - это момент времени [с]. n - это порядок [-] гармоники. I0 - это амплитуда [А] основной волны. In - это амплитуда [А] n-й гармоники. ϕn - это разность фаз [рад] между основной волной и n-й гармоникой. Отметим, что символ, указанный в квадратных скобках [], выражает единицу измерения. Кроме того, [-] указывает на безразмерную величину. Кроме того, предполагается, что, когда разность ϕn фаз между основной волной и n-й гармоникой является положительной величиной, n-я гармоника имеет опережающую фазу по отношению к основной волне.
[0028] Математическое уравнение 2
[0029] Крутящий момент T соответствует действующему значению тока возбуждения. Соответственно, в данном исследовании установлено, что эквивалентный крутящий момент T создается как в случае, когда на обмотку 122 статора подается ток возбуждения, временная форма которого представляет собой основную волну, так и в случае, когда на обмотку 122 статора подается ток возбуждения, временная форма которого представляет собой форму, полученную наложением различных гармоник на основную волну, и электромагнитные силы F в каждом из случаев сравнивались при условии эквивалентного крутящего момента. Конкретно, действующие значения соответствующих токов возбуждения регулировались таким образом, чтобы каждое из действующего значения тока возбуждения, временная форма которого представляет собой основную волну, и действующего значения тока возбуждения, временная форма которого представляет собой форму, полученную наложением гармоники на основную волну, становилось равным действующему значению тока возбуждения, соответствующему требуемому крутящему моменту T. Отметим, что каждое из действующого значения тока возбуждения, временная форма которого представляет собой основную волну, и действующего значения тока возбуждения, временная форма которого представляет собой форму, полученную наложением гармоники на основную волну, иногда не становилось строго равным действующему значению тока возбуждения, соответствующему требуемому крутящему моменту T. В этом случае действующие значения соответствующих токов возбуждения регулировались таким образом, чтобы каждое из действующего значения тока возбуждения, временная форма которого представляет собой основную волну, и действующего значения тока возбуждения, временная форма которого представляет собой форму, полученную наложением гармоники на основную волну, становилось значением, максимально близким к действующему значению тока возбуждения, соответствующему требуемому крутящему моменту T.
[0030] Кроме того, в данном исследовании крутящий момент T и электромагнитная сила F рассчитывались путем выполнения анализа статического магнитного поля. Конкретно, с использованием значений тока возбуждения на множестве дискретных моментов времени во временной форме тока возбуждения, соответствующего одному циклу, выполнялся расчет крутящего момента в соответствующий момент времени в каждом из множества моментов времени. Кроме того, в качестве создаваемого в электродвигателе M крутящего момента T рассчитывали среднее значение крутящих моментов в соответствующие моменты времени, рассчитанных так, как описано выше. Последовательно, каждое из действующего значения тока возбуждения, временная форма которого представляет собой основную волну, и действующего значения тока возбуждения, временная форма которого представляет собой форму, полученную наложением гармоники на основную волну, регулировалось таким образом, чтобы крутящий момент T, рассчитанный так, как описано выше, становился равным требуемому крутящему моменту. Отметим, что крутящий момент T иногда не становился строго равным требуемому крутящему моменту. В этом случае каждое из действующего значения тока возбуждения, временная форма которого представляет собой основную волну, и действующего значения тока возбуждения, временная форма которого представляет собой форму, полученную наложением гармоники на основную волну, регулировалось таким образом, чтобы крутящий момент T имел значение, максимально близкое к значению требуемого крутящего момента T.
[0031] Кроме того, в качестве электромагнитной силы F при подаче на обмотку 122 статора тока возбуждения после регулировки его действующего значения так, как описано выше, были рассчитаны и сравнены электромагнитная сила F при подаче на обмотку 122 статора тока возбуждения, временная форма которого представляет собой основную волну, и электромагнитная сила F при подаче на обмотку 122 статора тока возбуждения, временная форма которого представляет собой форму, полученную наложением различных гармоник на основную волну. Отметим, что рассчитанная, как описано выше, электромагнитная сила F представляет собой электромагнитную силу, создаваемую во всем сердечнике 121 статора. Однако, как описано выше, в данном исследовании действующее значение тока возбуждения, временная форма которого представляет собой основную волну, и действующее значение тока возбуждения, временная форма которого представляет собой форму, полученную наложением гармоники на основную волну, устанавливаются одинаковыми. Установка одинаковыми действующего значения тока возбуждения, временная форма которого представляет собой основную волну, и действующего значения тока возбуждения, временная форма которого представляет собой форму, полученную наложением гармоники на основную волну, соответствует установке крутящих моментов T электродвигателя M одинаковыми (а именно, установке электромагнитных сил в направлении вращения электродвигателя M одинаковыми). Следовательно, разность электромагнитных сил F, рассчитанных при условии, что действующие значения токов возбуждения установлены одинаковыми, как описано выше, выражается как разность электромагнитных сил в радиальном направлении электродвигателя M. Отметим, что электромагнитная сила в радиальном направлении электродвигателя M - это составляющая в радиальном направлении электродвигателя M из составляющих электромагнитной силы, являющейся векторной величиной. Составляющая в радиальном направлении электродвигателя M - это, например, r-компонента двумерной полярной системы координат, показанной на фиг. 1.
[0032] Кроме того, уменьшение электромагнитной силы F, рассчитанной так, как описано выше, соответствует уменьшению среднего значения временной формы вибрации электродвигателя M. В данном исследовании под уменьшением вибрации электродвигателя M понимается уменьшение среднего значения временной формы вибрации электродвигателя M.
[0033] Кстати, если на основную волну накладываются гармоники нескольких порядков или на основную волну накладывается гармоника очень высокого порядка, то форма временной формы тока возбуждения усложняется. Соответственно, например, схема формирования тока возбуждения и управление могут усложниться, и может возрасти влияние шума переключения, создаваемого при выполнении переключения переключающим устройством, входящим в состав схемы формирования тока возбуждения. Кроме того, как описано выше, когда трехфазный источник переменного тока со схемой соединения звездой (соединение Y) используется для работы электродвигателя, в котором метод соединения обмотки статора использует соединение звездой, например, ток гармоники порядка, кратного 3, не протекает через электродвигатель. Следовательно, даже если ток третьей гармоники накладывается на ток основной волны, эффект подавления вибрации в радиальном направлении электродвигателя M оказывается недостаточным. Исходя из вышеизложенного, авторы настоящего изобретения на основе описанных выше результатов сравнения обнаружили, что эффект подавления вибрации электродвигателя M (а именно, электромагнитной силы в радиальном направлении электродвигателя M) может быть усилен без чрезмерного усложнения формы временной формы тока возбуждения путем установки гармоники, намеренно накладываемой на основную волну, равной только пятой гармонике, являющейся гармоникой самого низкого порядка из гармоник нечетного порядка выше третьей гармоники, и оптимизации амплитуды I5 пятой гармоники. Помимо этого, авторы настоящего изобретения обнаружили, что, оптимизируя не только амплитуду I5 пятой гармоники, но и разность ϕ5 фаз между основной волной и пятой гармоникой, становится возможно дополнительно уменьшить электромагнитную силу в радиальном направлении электродвигателя M. Отметим, что намеренное наложение на основную волну только пятой гармоники означает, что при формировании сигнала возбуждения выполняется операция формирования пятой гармоники, а операция формирования гармоники, отличной от пятой гармоники, не выполняется.
[0034] Здесь, как выражено в следующем уравнении (6), отношение амплитуды In n-й гармоники к амплитуде I0 основной волны (= In ÷ I0), выраженное в процентах, устанавливается равным отношению An амплитуды n-й гармоники к амплитуде основной волны. При использовании амплитуды I0 основной волны и отношения An амплитуды n-й гармоники к амплитуде основной волны, амплитуда In n-й гармоники выражается следующим уравнением (7). Кроме того, амплитуда In n-й гармоники выражается следующим уравнением (7a). Кроме того, предполагается, что ток возбуждения I(ωt) [А], полученный наложением пятой гармоники на основную волну, выражается следующим уравнением (8), основанным на уравнении (5). В дальнейшем пояснении отношение A5 амплитуды пятой гармоники к амплитуде основной волны будет при необходимости сокращаться до отношения A5 амплитуд.
[0035] Математическое уравнение 3
[0036] Фиг. 2 - это вид, иллюстрирующий один пример зависимости между отношением A5 амплитуд (горизонтальная ось) и электромагнитной силой F (вертикальная ось). Отметим, что на фиг. 2 в качестве примера показан случай, когда разность ϕ5 фаз между основной волной и пятой гармоникой зафиксирована на уровне 1,65 рад (≈ 95°). На фиг. 2 пунктирная линия 201 показывает значение электромагнитной силы F при подаче на обмотку 122 статора тока возбуждения, временная форма которого представляет собой основную волну. Пунктирная линия 202 показывает значение электромагнитной силы F, равное 0,9 электромагнитной силы F при подаче на обмотку 122 статора тока возбуждения, временная форма которого представляет собой основную волну. Черный кружок показывает электромагнитную силу F при подаче на обмотку 122 статора тока возбуждения, временная форма которого представляет собой форму, полученную наложением пятой гармоники на основную волну. Отметим, что на фиг. 2 электромагнитная сила F нормализована и выражена безразмерной величиной.
[0037] Вибрация в радиальном направлении электродвигателя M соответствует электромагнитной силе в радиальном направлении электродвигателя M. Следовательно, определение диапазона отношения A5 амплитуд из зависимости между отношением A5 амплитуд и электромагнитной силой F и т.п. эффективно с точки зрения подавления вибрации электродвигателя M. Из результатов, показанных на фиг. 2, и т.п. авторы настоящего изобретения получили результат, заключающийся в том, что можно уменьшить электромагнитную силу F по сравнению со случаем, когда на обмотку 122 статора подается ток возбуждения, временная форма которого представляет собой основную волну, путем установки отношения A5 амплитуд равным более 0% и 90% или менее (0% < A5 ≤ 90%). Как описано выше, разность электромагнитных сил F, рассчитанных при условии, что действующие значения токов возбуждения установлены одинаковыми, выражается как разность электромагнитных сил в радиальном направлении электродвигателя M. Увеличение электромагнитной силы в радиальном направлении электродвигателя M соответствует увеличению вибрации электродвигателя M. Как показано на фиг. 2, когда отношение A5 амплитуд установлено равным более 0% и 90% или менее, электромагнитная сила F может быть уменьшена, в результате чего может проявиться эффект подавления вибрации электродвигателя M (а именно, электромагнитной силы в радиальном направлении электродвигателя M). Следовательно, отношение A5 амплитуд может быть установлено равным более 0% и 90% или менее. Однако, когда отношение A5 амплитуд установлено равным более 0% и 90% или менее, также имеется случай, когда электромагнитная сила F не может быть достаточно уменьшена (см., например, электромагнитную силу F, когда отношение A5 амплитуд имеет значения, близкие к 0% и 90%), как показано на фиг. 2. Следовательно, может возникнуть случай, когда эффект подавления вибрации электродвигателя M не может быть гарантированно получен. Таким образом, с точки зрения обеспечения уверенного проявления эффекта подавления вибрации электродвигателя M, авторы настоящего изобретения получили результат, заключающийся в том, что предпочтительно устанавливать отношение A5 амплитуд равным более 20% и 80% или менее (20% < A5 ≤ 80%), поскольку это позволяет уменьшить электромагнитную силу F на 10% или более по сравнению со случаем, когда на обмотку 122 статора подается ток возбуждения, временная форма которого представляет собой основную волну. Можно считать, что когда электромагнитную силу F можно уменьшить на величину до 10% по сравнению со случаем, когда на обмотку 122 статора подается ток возбуждения, временная форма которого представляет собой основную волну, можно получить гарантированный эффект подавления вибрации электродвигателя M. Например, когда электромагнитную силу F можно уменьшить на величину до 10% по сравнению со случаем, когда на обмотку 122 статора подается ток возбуждения, временная форма которого представляет собой основную волну, даже в случае, когда электродвигатель M работает в рабочем состоянии (например, в режиме с низкой частотой вращения и низким крутящим моментом), при котором вибрация (амплитуда) электродвигателя M может быть уменьшена, можно считать, что абсолютное значение (амплитуда) вибрации электродвигателя M может быть четко дифференцировано между случаем, когда на обмотку 122 статора подается ток возбуждения, временная форма которого представляет собой основную волну, и случаем, когда отношение A5 амплитуд установлено равным более 20% и 80% или менее. Следовательно, можно считать, что эффект подавления вибрации электродвигателя M, получаемый путем установки отношения A5 амплитуд равным более 20% и 80% или менее, может быть гарантированно продемонстрирован.
[0038] В дополнение, авторы настоящего изобретения получили результат, заключающийся в том, что отношение A5 амплитуд более предпочтительно устанавливается равным 40% или более и 70% или менее (40% ≤ A5 ≤ 70%), поскольку можно уменьшить электромагнитную силу F приблизительно на 25% по сравнению со случаем, когда на обмотку 122 статора подается ток возбуждения, временная форма которого представляет собой основную волну.
[0039] Кроме того, авторы настоящего изобретения получили результат, заключающийся в том, что отношение A5 амплитуд еще более предпочтительно устанавливается равным 45% или более и 55% или менее (45% ≤ A5 ≤ 55%), поскольку можно сделать электромагнитную силу F приближающейся к минимальному значению.
[0040] Отметим, что описанные выше верхнее и нижнее предельные значения диапазона отношения A5 амплитуд также могут быть произвольно заменены в пределах диапазона более 0% и 90% или менее. Например, вместо "более 20%" в "более 20% и 80% или менее" могут быть также использованы значения "более 0%", "40% или более" или "45% или более". Кроме того, вместо "80% или менее" в "более 20% и 80% или менее" могут быть также использованы значения "90% или менее", "70% или менее" или "55% или менее". Кроме того, вместо "40% или более" в "40% или более и 70% или менее" могут быть также использованы значения "более 0%", "более 20%" или "40% или более". Кроме того, вместо "70% или менее" в "40% или более и 70% или менее" могут быть также использованы значения "90% или менее", "80% или менее" или "55% или менее". Вместо "более 0%" в "более 0% и 90% или менее" могут быть также использованы значения "более 20%", "40% или более" или "45% или более". Вместо "90% или менее" в "более 0% и 90% или менее" могут быть также использованы значения "80% или менее", "70% или менее" или "55% или менее". Кроме того, вместо "45% или более" в "45% или более и 55% или менее" могут быть также использованы значения "более 0%", "более 20%" или "40% или более". Вместо "55% или менее" в "45% или более и 55% или менее" могут быть также использованы значения "90% или менее", "80% или менее" или "70% или менее".
[0041] Здесь, даже если гармоника, намеренно накладываемая на основную волну, установлена равной только пятой гармонике, гармоника другого порядка, отличного от 5, иногда присутствует в фактическом сигнале возбуждения (токе возбуждения и напряжении возбуждения). В этом случае амплитуда пятой гармоники предпочтительно больше, чем амплитуда гармоники другого порядка. В частности, отношение A5 амплитуды пятой гармоники к амплитуде основной волны предпочтительно больше, чем отношение An амплитуды другой гармоники, отличной от пятой гармоники, к амплитуде основной волны (n ≠ 5). Отметим, что в фактическом сигнале возбуждения на основную волну иногда накладываются шум и высокая частота, отличные от гармоники. Шум - это сигнал, который накладывается на основную волну случайным образом. Соответственно, шум - это сигнал, не синхронизированный с основной волной. Следовательно, шум не входит в состав гармоники. Кроме того, в настоящем варианте осуществления предполагается, что порядок n гармоники равен 40 или менее. Кроме того, в настоящем варианте осуществления предполагается, что высокая частота представляет собой сигнал высокой частоты, превышающей частоту сороковой гармоники (= частота основной волны × 40). В частности, в настоящем варианте осуществления предполагается, что сигнал высокой частоты, превышающей частоту сороковой гармоники, не входит в состав гармоники.
[0042] Отметим, что на фиг. 2 показан случай, когда разность ϕ5 фаз между основной волной и пятой гармоникой установлена равной 1,65 рад (≈ 95°), как описано выше. Однако разность ϕ5 фаз между основной волной и пятой гармоникой не ограничена значением 1,65 рад (≈ 95°). Например, в диапазоне, допускающем работу электродвигателя, такого как тяговый электродвигатель в электромобиле, даже если разность ϕ5 фаз между основной волной и пятой гармоникой имеет значение, отличное от 1,65 рад (≈ 95°), диапазоном отношения A5 амплитуд, способного уменьшить электромагнитную силу F, был описанный выше диапазон (например, 0% < A5 ≤ 90%, предпочтительно 20% < A5 ≤ 80%, более предпочтительно 40% ≤ A5 ≤ 70%, а еще более предпочтительно 45% ≤ A5 ≤ 55%). Отметим, что тяговый электродвигатель - это электродвигатель, являющийся источником энергии электромобиля, способного двигаться с использованием электродвигателя в качестве источника движущей силы, например, гибридного автомобиля и электрического транспортного средства, и представляет собой электродвигатель, который создает крутящий момент для вращения колеса транспортного средства (колеса и шины). Отметим, что в дальнейшем пояснении электромобиль, способный двигаться с использованием электродвигателя в качестве источника движущей силы, будет при необходимости называться просто электромобилем. Кроме того, в дальнейшем пояснении диапазон (например, 20% < A5 ≤ 80%, 40% ≤ A5 ≤ 70% и 45% ≤ A5 ≤ 55%), описанный выше как диапазон отношения A5 амплитуд, который является более предпочтительным, чем 0% < A5 ≤ 90%, будет при необходимости называться предпочтительным диапазоном отношения A5 амплитуд или просто предпочтительным диапазоном.
[0043] Фиг. 3 - это вид, иллюстрирующий один пример зависимости между разностью ϕ5 фаз между основной волной и пятой гармоникой (горизонтальная ось) и электромагнитной силой F (вертикальная ось). Отметим, что на фиг. 3 в качестве примера показан случай, когда отношение A5 амплитуд зафиксировано на уровне 50%. В дальнейшем описании разность ϕ5 фаз между основной волной и пятой гармоникой будет при необходимости сокращаться до разности ϕ5 фаз. На фиг. 3 пунктирные линии 201 и 202 такие же, как показанные на фиг. 2. В частности, пунктирная линия 201 показывает значение электромагнитной силы F при подаче на обмотку 122 статора тока возбуждения, временная форма которого представляет собой основную волну. Пунктирная линия 202 показывает значение электромагнитной силы F, равное 0,9 электромагнитной силы F при подаче на обмотку 122 статора тока возбуждения, временная форма которого представляет собой основную волну. Черный кружок показывает электромагнитную силу F при подаче на обмотку 122 статора тока возбуждения, временная форма которого представляет собой форму, полученную наложением пятой гармоники на основную волну. Кстати, на фиг. 3 электромагнитная сила F также нормализована и выражена безразмерной величиной, аналогично фиг. 2 (отметим, что фактические значения (значения, выраженные в единицах Н) электромагнитной силы F при электромагнитной силе F=1,0 [-] на соответствующих чертежах одинаковы).
[0044] Вибрация в радиальном направлении электродвигателя M соответствует электромагнитной силе в радиальном направлении электродвигателя M. Следовательно, определение диапазона разности ϕ5 фаз из зависимости между разностью ϕ5 фаз и электромагнитной силой F и т.п. эффективно с точки зрения подавления вибрации электродвигателя M. Из результатов, показанных на фиг. 2 и фиг. 3, и т.п. авторы настоящего изобретения получили результат, заключающийся в том, что, когда отношение A5 амплитуд составляет больше 0% и 90% или менее (0% < A5 ≤ 90%), можно уменьшить электромагнитную силу F по сравнению со случаем, когда на обмотку 122 статора подается ток возбуждения, временная форма которого представляет собой основную волну, независимо от разности ϕ5 фаз, но, когда отношение A5 амплитуд находится в предпочтительном диапазоне, путем установки разности ϕ5 фаз равнрй 80° или более и 106° или менее (80° ≤ ϕ5 ≤ 106°) можно уменьшить электромагнитную силу F на 10% или более по сравнению со случаем, когда на обмотку 122 статора подается ток возбуждения, временная форма которого представляет собой основную волну, что является предпочтительным. Кроме того, авторы настоящего изобретения получили результат, заключающийся в том, что, когда отношение A5 амплитуд находится в предпочтительном диапазоне, путем установки разности ϕ5 фаз равной более 90° и 106° или менее (90° < ϕ5 ≤ 106°) можно уменьшить электромагнитную силу F на 20% или более по сравнению со случаем, когда на обмотку 122 статора подается ток возбуждения, временная форма которого представляет собой основную волну, что является более предпочтительным. Более того, авторы настоящего изобретения получили результат, заключающийся в том, что, когда отношение A5 амплитуд находится в предпочтительном диапазоне, путем установки разности ϕ5 фаз равной 95° или более и 106° или менее (95° ≤ ϕ5 ≤ 106°) можно уменьшить электромагнитную силу F на 25% или более по сравнению со случаем, когда на обмотку 122 статора подается ток возбуждения, временная форма которого представляет собой основную волну, что является еще более предпочтительным. Кроме того, авторы настоящего изобретения получили результат, заключающийся в том, что, когда отношение A5 амплитуд находится в предпочтительном диапазоне, путем установки разности ϕ5 фаз равной 103° или более и 106° или менее (103° ≤ ϕ5 ≤ 106°) можно сделать электромагнитную силу F приближающейся к минимальному значению, что является наиболее предпочтительным.
[0045] Отметим, что, хотя на фиг. 3 показана зависимость между разностью ϕ5 фаз и электромагнитной силой F, когда отношение A5 амплитуд установлено равным 50%, как описано выше, в диапазоне, допускающем работу тягового электродвигателя в электромобиле, даже если отношение A5 амплитуд имеет значение, отличное от 50%, предпочтительным диапазоном разности ϕ5 фаз, способной уменьшить электромагнитную силу F, был описанный выше диапазон (80° ≤ ϕ5 ≤ 106°, более предпочтительно 90° < ϕ5 ≤ 106°, еще более предпочтительно 95° ≤ ϕ5 ≤ 106°, а наиболее предпочтительно 103° ≤ ϕ5 ≤ 106°). Отметим, что в дальнейшем описании диапазон 80° ≤ ϕ5 ≤ 106°, более предпочтительно 90° < ϕ5 ≤ 106°, еще более предпочтительно 95° ≤ ϕ5 ≤ 106°, а наиболее предпочтительно 103° ≤ ϕ5 ≤ 106°, будет при необходимости называться предпочтительным диапазоном разности ϕ5 фаз или просто предпочтительным диапазоном.
[0046] Как описано выше, поскольку в данном исследовании проводится анализ статического магнитного поля, то при эквивалентных действующих значениях (амплитудах) тока возбуждения (т.е. при эквивалентных крутящих моментах T) электромагнитная сила F не зависит от частоты вращения электродвигателя M. Соответственно, результаты, объясненные со ссылкой на фиг. 2 и фиг. 3, не зависят от частоты вращения электродвигателя M. Следовательно, установив отношение A5 амплитуд равным более 0% и 90% или менее, например, можно уменьшить вибрацию тягового электродвигателя независимо от частоты его вращения. Это позволяет повысить комфорт езды на электромобиле, например, независимо от частоты вращения тягового электродвигателя. Кроме того, например, установив отношение A5 амплитуд равным более 20% и 80% или менее, а разность ϕ5 фаз - равной 80° или более и 106° или менее, можно дополнительно уменьшить вибрацию тягового электродвигателя. Это позволяет, например, дополнительно повысить комфорт езды на электромобиле. Кроме того, например, установив отношение A5 амплитуд равным более 20% и 80% или менее, а разность ϕ5 фаз - равной более 90° и 106° или менее, можно дополнительно уменьшить вибрацию тягового электродвигателя. Это позволяет, например, еще больше повысить комфорт езды на электромобиле.
[0047] Отметим, что в практическом диапазоне, который обычно используется для тяговых электродвигателей в электромобилях, таких как электродвигатели с ВПМ, вышеописанные диапазоны (0% < A5 ≤ 90%, предпочтительно 20% < A5 ≤ 80% и 80° ≤ ϕ5 ≤ 106°, и т.д.) были получены как диапазоны отношения A5 амплитуд и разности ϕ5 фаз, способные уменьшить вибрацию тягового электродвигателя.
[0048] Кроме того, в данном исследовании в качестве примера рассмотрен случай, когда источник энергии, от которого работает электродвигатель, представляет собой источник питания трехфазным переменным током с соединением звездой (соединением Y), а метод соединения обмотки статора является соединением звездой. Однако, если отношение A5 амплитуд и разность ϕ5 фаз могут быть установлены в пределах вышеописанных диапазонов, источник энергии, от которого работает электродвигатель, не ограничен источником питания трехфазным переменным током с соединением звездой (соединением Y). Кроме того, метод соединения обмотки статора не ограничен соединением звездой.
[0049] Один вариант осуществления настоящего изобретения, который будет объяснен ниже, был разработан на основе вышеописанных результатов.
[Варианты осуществления]
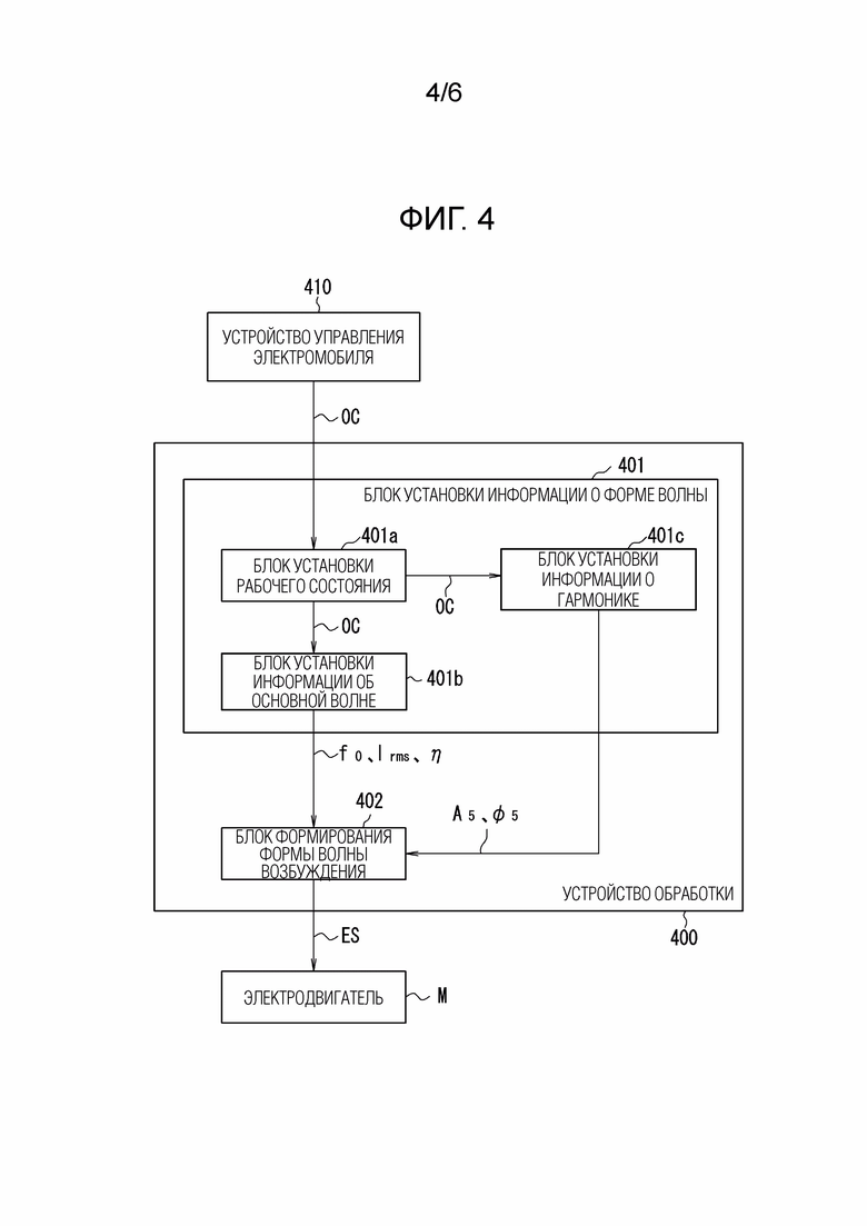
[0050] В дальнейшем будет пояснен один вариант осуществления настоящего изобретения. На фиг. 4 показан вид, иллюстрирующий один пример функциональной схемы устройства 400 обработки. Аппаратная часть устройства 400 обработки реализована с использованием, например, процессора (например, центрального процессора), запоминающих устройств (например, главного и вспомогательного запоминающих устройств), устройства обработки информации, включающего различные интерфейсные устройства, или специализированного оборудования. Кроме того, в данном варианте осуществления в качестве примера рассматривается случай, когда непоказанный электромобиль включает в себя устройство 400 обработки. Однако устройство 400 обработки может также находиться и вне электромобиля. В таком случае устройство 400 обработки может осуществлять, например, беспроводную связь с устройством управления, предусмотренным в электромобиле.
[0051] Устройство 400 обработки выполняет обработку для формирования формы волны возбуждения, являющейся временной формой сигнала возбуждения ES, подаваемого на обмотку 122 статора электродвигателя M. В данном варианте осуществления в качестве примера рассматривается случай, когда устройство 400 обработки формирует в качестве формы волны возбуждения временную форму тока возбуждения. Форма волны возбуждения должна только позволять задавать значение сигнала возбуждения в каждый момент времени одного электрического цикла. Каждый момент времени может также представлять собой один из моментов времени, следующих друг за другом с произвольным временным интервалом. Например, когда форма волны возбуждения устанавливается таким образом, чтобы выражать значение в каждый момент времени одного электрического цикла, значение в каждый момент времени каждого цикла вычисляется по значению формы волны возбуждения. Кроме того, когда, например, по значению в каждый момент времени полупериода электрического цикла вычисляется значение в каждый момент времени оставшейся половины цикла, форма волны возбуждения должна только позволять задавать значение в каждый момент времени полупериода электрического цикла. Кроме того, электродвигатель M представляет собой, например, тяговый электродвигатель в электромобиле, такой как электродвигатель с ВПМ.
<Блок 401 установки информации о форме волны>
[0052] Блок 401 установки информации о форме волны устанавливает информацию о форме волны. Информация о форме волны - это информация, необходимая для формирования формы волны возбуждения, полученной наложением пятой гармоники на основную волну. Информацию о форме волны можно также назвать информацией, указывающей на условие формирования формы волны возбуждения, получаемой наложением пятой гармоники на основную волну. Информация о форме волны включает в себя информацию для формирования основной волны, включаемой в форму волны возбуждения, и информацию для формирования пятой гармоники, накладываемой на основную волну. Отметим, что такая установка соответствует обработке, включающей в себя хранение в по меньшей мере одном из энергозависимого и энергонезависимого запоминающих устройств, например. В данном варианте осуществления в качестве примера рассматривается случай, когда блок 401 установки информации о форме волны устанавливает эту информацию о форме волны на основе рабочего состояния. Кроме того, в данном варианте осуществления в качестве примера рассматривается случай, когда блок 401 установки информации о форме волны включает в себя блок 401a установки рабочего состояния, блок 401b установки информации об основной волне и блок 401c установки информации о гармонике.
<<Блок 401a установки рабочего состояния>>
[0053] В данном варианте осуществления в качестве примера рассматривается случай, когда устройство 410 управления электромобиля, управляющее электродвигателем M, передает рабочее состояние OC электродвигателя M в устройство 400 обработки. В нижеприведенном пояснении устройство 410 управления электромобиля, управляющее электродвигателем M, будет при необходимости называться устройством 410 управления электромобиля или просто устройством 410 управления.
[0054] Блок 401a установки рабочего состояния получает и устанавливает рабочее состояние OC при работе электродвигателя M, переданное от устройства 410 управления электромобиля. В нижеприведенном пояснении рабочее состояние при работе электродвигателя M будет при необходимости называться просто рабочим состоянием электродвигателя M. Например, блок 401a установки рабочего состояния может получать рабочее состояние OC электродвигателя M с заданным во времени графиком (например, периодически). Кроме того, блок 401a установки рабочего состояния может запросить у устройства 410 управления электромобиля рабочее состояние OC электродвигателя M, чтобы тем самым получить, например, рабочее состояние OC электродвигателя M. Когда полученное рабочее состояние OC электродвигателя M отличается от рабочего состояния OC электродвигателя M, полученного непосредственно перед этим полученным рабочим состоянием OC электродвигателя M, блок 401a установки рабочего состояния выдает это полученное рабочее состояние OC электродвигателя M в блок 401b установки информации об основной волне и блок 401c установки информации о гармонике. Рабочее состояние OC электродвигателя M включает в себя, например, заданное значение скорости электродвигателя M и заданное значение крутящего момента электродвигателя M. Заданное значение скорости электродвигателя M - это заданное значение частоты вращения электродвигателя M. Заданное значение крутящего момента электродвигателя M - это заданное значение крутящего момента электродвигателя M. Как описано выше, в данном варианте осуществления в качестве примера рассматривается случай, когда рабочее состояние OC электродвигателя M включает в себя заданные значения для управления электродвигателем M.
[0055] Блок 401a установки рабочего состояния устанавливает рабочее состояние OC электродвигателя M, получая его, например, от устройства 410 управления электромобиля, управляющего электродвигателем M. Устройство 410 управления электромобиля может также формировать заданное значение крутящего момента в соответствии с разностью между фактическим измеренным значением и целевым значением крутящего момента электродвигателя M, например. Кроме того, устройство 410 управления электромобиля может также генерировать заданное значение скорости в соответствии с разностью между фактическим измеренным значением и целевым значением частоты вращения электродвигателя M, например. Целевое значение крутящего момента электродвигателя M и целевое значение частоты вращения электродвигателя M рассчитываются с использованием (фактических значений) степени нажатия на акселератор и скорости движения электромобиля, например. Отметим, что блок 401a установки рабочего состояния не обязательно должен получать рабочее состояние OC электродвигателя M от устройства 410 управления электромобиля. Например, рабочее состояние OC электродвигателя M может быть также предварительно установлено (запланировано). В этом случае блок 401a установки рабочего состояния может также получать установленное рабочее состояние OC на основе, например, операции ввода, выполняемой оператором через пользовательский интерфейс устройства 400 обработки. Кроме того, блок 401a установки рабочего состояния может также рассчитывать рабочее состояние OC. Например, блок 401a установки рабочего состояния может также рассчитывать и устанавливать целевое значение крутящего момента электродвигателя M и целевое значение частоты вращения электродвигателя M на основе степени нажатия на акселератор, скорости движения электромобиля и т.д. Отметим, что степень нажатия на акселератор и скорость движения электромобиля являются, например, фактическими измеренными значениями.
<<Блок 401b установки информации об основной волне>>
[0056] Блок 401b установки информации об основной волне получает и устанавливает информацию для формирования основной волны, включаемой в форму волны возбуждения, на основе рабочего состояния OC электродвигателя M, установленного блоком 401a установки рабочего состояния. В дальнейшем по тексту информация для формирования основной волны, включаемой в форму волны возбуждения, будет при необходимости называться информацией об основной волне. Частота вращения электродвигателя M соответствует частоте основной волны (основная частота f0). Крутящий момент электродвигателя M соответствует действующему значению Irms и углу η опережения тока возбуждения. Соответственно, блок 401b установки информации об основной волне может также получать частоту основной волны (основную частоту f0), действующее значение Irms и угол η опережения тока возбуждения, рассчитывая их по рабочему состоянию OC электродвигателя M. В данном варианте осуществления в качестве примера рассматривается случай, когда блок 401b установки информации об основной волне получает частоту основной волны (основную частоту f0), действующее значение Irms и угол η опережения тока возбуждения, рассчитывая их на основе рабочего состояния OC электродвигателя M. Отметим, что, когда угол η опережения фиксирован, блок 401b установки информации об основной волне может не рассчитывать угол η опережения.
[0057] Кроме того, также можно сделать так, чтобы устройство 400 обработки предварительно хранило, например, справочную таблицу, в которой хранятся частота вращения, крутящий момент и угол опережения электродвигателя M, а также частота основной волны (основная частота f0), действующее значение Irms и угол η опережения тока возбуждения, причем все эти величины соответствуют друг другу. В этом случае блок 401b установки информации об основной волне считывает из справочной таблицы частоту основной волны (основную частоту f0), действующее значение Irms и угол η опережения тока возбуждения, соответствующие заданному значению скорости электродвигателя M и заданному значению крутящего момента электродвигателя M. Отметим, что, когда угол опережения фиксирован, он может храниться или не храниться в справочной таблице.
<<Блок 401c установки информации о гармонике>>
[0058] Блок 401c установки информации о гармонике получает и устанавливает информацию для формирования пятой гармоники, накладываемой на основную волну, на основе, например, рабочего состояния OC электродвигателя M, установленного блоком 401a установки рабочего состояния, и предварительно сохраненной информации о пятой гармонике. В дальнейшем по тексту информация для формирования пятой гармоники, накладываемой на основную волну, будет при необходимости называться информацией о гармонике.
[0059] Предварительно сохраненная информация о пятой гармонике включает в себя, например, отношение A5 амплитуд и разность ϕ5 фаз. Как будет описано далее, в данном варианте осуществления в качестве примера рассматривается случай, когда предварительно сохраненная информация о пятой гармонике представляет собой справочную таблицу, в которой хранятся рабочее состояние OC электродвигателя M (заданное значение скорости электродвигателя M и заданное значение крутящего момента электродвигателя M), а также отношение A5 амплитуд и разность ϕ5 фаз, причем обе эти величины соответствуют друг другу. В этом случае информация о гармонике включает в себя отношение A5 амплитуд и разность ϕ5 фаз, считанные из справочной таблицы.
[0060] Как объяснено в разделе «Результаты, касающиеся гармоники, накладываемой на основную волну», в данном варианте осуществления отношение A5 амплитуд выбирается из диапазона 0% < A5 ≤ 90%. Кроме того, разность ϕ5 фаз выбирается из диапазона 0° ≤ ϕ5 < 360°. Кроме того, отношение A5 амплитуд предпочтительно выбирается из диапазона 20% < A5 ≤ 80%, более предпочтительно - из диапазона 40% ≤ A5 ≤ 70%, а еще более предпочтительно - из диапазона 45% ≤ A5 ≤ 55%, например. Когда диапазон отношения A5 амплитуд соответствует этим диапазонам, разность ϕ5 фаз предпочтительно выбирается из диапазона 80° ≤ ϕ5 ≤ 106°, более предпочтительно - из диапазона 90° < ϕ5 ≤ 106°, еще более предпочтительно - из диапазона 95° ≤ ϕ5 ≤ 106°, а наиболее предпочтительно - из диапазона 103° ≤ ϕ5 ≤ 106°, например.
[0061] Значения отношения A5 амплитуд и разности ϕ5 фаз могут определяться, например, в зависимости от необходимости, касающейся того, до какой степени подавляется вибрация электродвигателя M. Например, также можно исследовать взаимосвязь между отношением A5 амплитуд и разностью ϕ5 фаз и электромагнитной силой F, как показано на фиг. 2 и фиг. 3, в диапазоне, который можно принять за диапазон рабочего состояния OC электродвигателя M (заданное значение скорости электродвигателя M и заданное значение крутящего момента электродвигателя M). Исследование проводится, например, с помощью моделирования с использованием реального электродвигателя M или анализа электромагнитного поля, который предполагает наличие реального электродвигателя M. При проведении такого исследования также можно выбрать значения отношения A5 амплитуд и разности ϕ5 фаз, при которых электромагнитная сила F становится как можно меньшей (предпочтительно становится минимальной), из вышеописанных диапазонов на основе результата исследования.
[0062] Кроме того, также можно сделать так, чтобы устройство 400 обработки предварительно хранило справочную таблицу, в которой хранятся рабочее состояние OC электродвигателя M (заданное значение скорости электродвигателя M и заданное значение крутящего момента электродвигателя M), а также отношение A5 амплитуд и разность ϕ5 фаз, причем обе эти величины соответствуют друг другу, на основе результатов исследования, описанного выше. В этом случае блок 401c установки информации о гармонике считывает из справочной таблицы отношение A5 амплитуд и разность ϕ5 фаз, соответствующие заданному значению скорости электродвигателя M и заданному значению крутящего момента электродвигателя M. Затем блок 401c установки информации о гармонике устанавливает отношение A5 амплитуд и разность ϕ5 фаз, считанные из справочной таблицы, в качестве информации о гармонике. В данном варианте осуществления в качестве примера рассматривается случай, когда блок 401c установки информации о гармонике устанавливает отношение A5 амплитуд и разность ϕ5 фаз, обращаясь к справочной таблице на основе рабочего состояния OC электродвигателя M, установленного блоком 401a установки рабочего состояния.
[0063] Однако способ получения отношения A5 амплитуд и разности ϕ5 фаз не ограничен вышеописанным способом. Например, также можно сделать так, чтобы устройство 400 обработки предварительно хранило справочную таблицу, в которой вместо рабочего состояния OC электродвигателя M хранятся информация об основной волне, описанная в разделе <<Блок 401b установки информации об основной волне>>, а также отношение A5 амплитуд и разность ϕ5 фаз, причем делая их соответствующими друг другу. Кроме того, блок 401c установки информации о гармонике может также получать одинаковые значения в качестве отношения A5 амплитуд и разности ϕ5 фаз независимо от заданного значения скорости электродвигателя M и заданного значения крутящего момента электродвигателя M. В этом случае блок 401c установки информации о гармонике может получать отношение A5 амплитуд и разность ϕ5 фаз на основе, например, операции ввода, выполняемой оператором через пользовательский интерфейс устройства 400 обработки.
<Блок 402 формирования формы волны возбуждения>
[0064] Блок 402 формирования формы волны возбуждения формирует форму волны возбуждения, получаемую наложением пятой гармоники на основную волну, в качестве формы волны возбуждения, являющейся временной формой сигнала возбуждения, подаваемого на обмотку 122 статора электродвигателя M. Кроме того, блок 402 формирования формы волны возбуждения подает основанный на формы волны возбуждения сигнал возбуждения ES на электродвигатель M.
[0065] В данном варианте осуществления блок 402 формирования формы волны возбуждения формирует форму волны возбуждения тока возбуждения, подаваемого на обмотку 122 статора электродвигателя M, на основе информации об основной волне (частоте основной волны (основной частоте f0), действующем значении Irms и угле η опережения тока возбуждения), установленной блоком 401b установки информации об основной волне, и информации о гармонике (отношении A5 амплитуд и разности ϕ5 фаз), установленной блоком 401c установки информации о гармонике. Конкретно, блок 402 формирования формы волны возбуждения может также подавать ток возбуждения, имеющий форму волны возбуждения, полученную наложением пятой гармоники на основную волну, в сигнальную линию, по которой сигнал возбуждения подается на электродвигатель M. Кроме того, также возможно, чтобы блок 402 формирования формы волны возбуждения формировал временную форму основной волны и временную форму пятой гармоники по отдельности и подавал временную форму основной волны и временную форму пятой гармоники в вышеописанную сигнальную линию, сдвигая временные формы на временной интервал, основанный на разности ϕ5 фаз.
[0066] Блок 402 формирования формы волны возбуждения рассчитывает в качестве амплитуды I0 основной волны и амплитуды I5 пятой гармоники те амплитуды, при которых действующее значение Irms тока возбуждения при наложении пятой гармоники на основную волну становится как можно более близким к (предпочтительно совпадает с ним) действующему значению Irms тока возбуждения, полученному блоком 401b установки информации об основной волне, а значение, выраженное в процентах, отношения амплитуды I5 пятой гармоники к амплитуде I0 основной волны становится как можно более близким к (предпочтительно совпадает с ним) отношению A5 амплитуд, полученному блоком 401c установки информации о гармонике. Отметим, что частота основной волны получается блоком 401b установки информации об основной волне. Кроме того, частота пятой гармоники в пять раз превышает частоту основной волны.
[0067] Блок 402 формирования формы волны возбуждения формирует временную форму, полученную наложением на основную волну пятой гармоники, амплитуда I5 и частота которой определены так, как описано выше, и фаза которой опережает на разность ϕ5 фаз, полученную блоком 401c установки информации о гармонике, основную волну, амплитуда I0 и частота которой определены так, как описано выше. Затем блок 402 формирования формы волны возбуждения формирует в качестве формы волны возбуждения временную форму, полученную путем сдвига фазы временной формы, сформированной так, как описано выше, на разность фаз, определенную на основе угла η опережения, полученного блоком 401b установки информации об основной волне (разность фаз относительно напряжения возбуждения).
[0068] Например, при выполнении управления ШИМ (широтно-импульсной модуляцией) блок 402 формирования формы волны возбуждения осуществляет, например, следующую обработку. Сначала блок 402 формирования формы волны возбуждения формирует модулированную волну, имеющую форму волны возбуждения, сформированную так, как описано выше. Блок 402 формирования формы волны возбуждения сравнивает модулированную волну с заданной несущей волной (например, треугольной волной) для формирования импульсного сигнала и подает этот импульсный сигнал на обмотку 122 статора электродвигателя M. Отметим, что способ формирования тока возбуждения не ограничен способом, основанным на управлении ШИМ, и может быть реализован другим общеизвестным способом. Например, способом формирования тока возбуждения может быть также способ, основанный на управлении АИМ (амплитудно-импульсной модуляцией). Кроме того, блок 402 формирования формы волны возбуждения может также непосредственно подавать ток возбуждения, имеющий форму волны возбуждения, сформированную так, как описано выше, на электродвигатель M. Кроме того, блок 402 формирования формы волны возбуждения может также преобразовывать ток возбуждения, имеющий форму волны возбуждения, сформированную так, как описано выше, в напряжение возбуждения с использованием импеданса электродвигателя M, а затем подавать напряжение возбуждения на электродвигатель M. В частности, способ подачи сигнала возбуждения не ограничен, при условии, что блок 402 формирования формы волны возбуждения подает на электродвигатель M (обмотку 122 статора) сигнал возбуждения ES для возбуждения электродвигателя M (сердечника 121 статора) на основе формы волны возбуждения, сформированной так, как описано выше. Как описано выше, в данном варианте осуществления в качестве примера рассматривается случай, когда устройство 400 обработки выполняет функции устройства управления, управляющего работой электродвигателя M.
[Блок-схема последовательности операций]
[0069] Далее будет пояснен один пример способа обработки по данному варианту осуществления с использованием устройства 400 обработки со ссылкой на блок-схему последовательности операций на фиг. 5.
[0070] Сначала, на этапе S501, блок 401a установки рабочего состояния получает и устанавливает рабочее состояние OC электродвигателя M. В блок-схеме на фиг. 5 предполагается, что рабочее состояние OC электродвигателя M, полученное на этапе S501, отличается от рабочего состояния OC электродвигателя M, полученного на предыдущем этапе S501. Затем, на этапе S502, устройство 400 обработки определяет, нужно ли завершать работу электродвигателя M, на основе рабочего состояния OC электродвигателя M. Если в результате этого определения работа электродвигателя M не должна завершаться (НЕТ на этапе S502), выполняется обработка на этапе S503. На этапе S503 блок 401b установки информации об основной волне рассчитывает и устанавливает информацию об основной волне (частоту основной волны (основную частоту f0), действующее значение Irms и угол η опережения тока возбуждения), основываясь на рабочем состоянии OC электродвигателя M.
[0071] Затем, на этапе S504, блок 401c установки информации о гармонике устанавливает информацию о гармонике (отношение A5 амплитуд и разность ϕ5 фаз), соответствующую рабочему состоянию OC электродвигателя M, считывая информацию о гармонике из справочной таблицы. Отношение A5 амплитуд, установленное на этапе S504, должно лишь составлять более 0% и 90% или менее. Однако отношение A5 амплитуд, установленное на этапе S504, предпочтительно составляет более 20% и 80% или менее, более предпочтительно - 40% или более и 70% или менее, а еще более предпочтительно - 45% или более и 55% или менее, например. Кроме того, когда отношение A5 амплитуд, полученное на этапе S504, составляет более 20% и 80% или менее (предпочтительно - 40% или более и 70% или менее, а предпочтительнее - 45% или более и 55% или менее), например, то разность ϕ5 фаз, полученная на этапе S504, предпочтительно составляет 80° или более и 106° или менее, более предпочтительно - более 90° и 106° или менее, еще более предпочтительно - 95° или более и 106° или менее, а наиболее предпочтительно - 103° или более и 106° или менее, например.
[0072] Затем, на этапе S505, блок 402 формирования формы волны возбуждения формирует форму волны возбуждения, подаваемой на обмотку 122 статора электродвигателя M, на основе информации об основной волне (частоты основной волны (основной частоты f0), а также действующего значения Irms и угла η опережения тока возбуждения) и информации о гармонике (отношения A5 амплитуд и разности ϕ5 фаз), и подает ток возбуждения, имеющий такую форму волны возбуждения, на электродвигатель M.
[0073] Если в результате определения на описанном выше этапе S502 выясняется, что работа электродвигателя M должна быть завершена (ДА на этапе S502), выполняется обработка на этапе S506. На этапе S506 блок 402 формирования формы волны возбуждения прекращает подачу тока возбуждения на электродвигатель M. После завершения обработки на этапе S506 обработка в соответствии с блок-схемой на фиг. 5 завершается.
[Аппаратная часть устройства 400 обработки]
[0074] Далее будет описан один пример аппаратной части устройства 400 обработки. Как показано на фиг. 6, устройство 400 обработки включает в себя центральный процессор (ЦП) 601, главное запоминающее устройство 602, вспомогательное запоминающее устройство 603, схему 604 связи, схему 605 обработки сигналов, схему 606 обработки изображений, схему 607 ввода/вывода, пользовательский интерфейс 608, дисплей 609 и шину 610.
[0075] ЦП 601 полностью управляет работой всего устройства 400 обработки. ЦП 601 использует главное запоминающее устройство 602 в качестве рабочей среды для выполнения программы, хранящейся во вспомогательном запоминающем устройстве 603. В главном запоминающем устройстве 602 данные хранятся временно. Во вспомогательном запоминающем устройстве 603 хранятся различные виды данных в дополнение к программе, выполняемой ЦП 601.
[0076] Схема 604 связи - это схема для осуществления связи с внешними устройствами относительно устройства 400 обработки. Схема 604 связи может осуществлять беспроводную или проводную связь с внешними устройствами относительно устройства 400 обработки.
[0077] Схема 605 обработки сигналов выполняет различные виды обработки сигнала, полученного схемой 604 связи, или сигнала, введенного в соответствии с управлением с помощью ЦП 601. Схема 606 обработки изображений выполняет различные виды обработки сигнала, введенного в соответствии с управлением с помощью ЦП 601. Сигнал после этой обработки изображения выводится, например, на дисплей 609. Пользовательский интерфейс 608 - это часть, с помощью которой оператор OP выдает команды устройству 400 обработки. Пользовательский интерфейс 608 включает в себя, например, кнопку, переключатель, регулятор и т.п. Кроме того, пользовательский интерфейс 608 может включать в себя графический пользовательский интерфейс, использующий дисплей 609.
[0078] На дисплее 609 отображается изображение на основе сигнала, выведенного схемой 606 обработки изображений. Схема 607 ввода/вывода обменивается данными с устройством, подключенным к схеме 607 ввода/вывода. На фиг. 6 в качестве устройств, подключенных к схеме 607 ввода/вывода, указаны пользовательский интерфейс 608 и дисплей 609. Однако устройство, подключенное к схеме 607 ввода/вывода, не ограничено этими устройствами. Например, к схеме 607 ввода/вывода может быть также подключен портативный носитель информации. Кроме того, по меньшей мере часть пользовательского интерфейса 608 и дисплея 609 может быть также предусмотрена вне устройства 400 обработки.
[0079] Отметим, что ЦП 601, главное запоминающее устройство 602, вспомогательное запоминающее устройство 603, схема 605 обработки сигналов, схема 606 обработки изображений и схема 607 ввода/вывода подключены к шине 610. Связь между этими компонентами осуществляется через шину 610. Кроме того, аппаратная часть устройства 400 обработки не ограничена аппаратной частью, показанной на фиг. 6, при условии, что она позволяет реализовать вышеописанные функции устройства 400 обработки. Например, в качестве процессора вместо или в дополнение к ЦП 601 можно также использовать графический процессор.
[Заключение]
[0080] Как описано выше, в данном варианте осуществления устройство 400 обработки устанавливает информацию о форме волны, включающую в себя информацию об основной волне и информацию о гармонике. В качестве информации о гармонике устройство 400 обработки устанавливает информацию, включающую в себя отношение A5 амплитуд и разность ϕ5 фаз. При этом устройство 400 обработки устанавливает амплитуду I5 пятой гармоники так, чтобы отношение A5 амплитуд составляло более 20% и 80% или менее. Кроме того, устройство 400 обработки устанавливает разность ϕ5 фаз так, чтобы фаза пятой гармоники относительно основной волны была опережающей фазой, и так, чтобы сделать разность ϕ5 фаз составляющей 80° или более и 106° или менее. Поэтому становится воможно повысить эффект подавления вибрации в радиальном направлении электродвигателя M.
[0081] Кроме того, в данном варианте осуществления устройство 400 обработки формирует форму волны возбуждения, получаемую наложением пятой гармоники на основную волну, на основе вышеописанной информации о форме волны. Соответственно, можно реализовать установку информации о форме волны и формирование формы волны возбуждения в одном устройстве. Таким образом, по сравнению, например, со случаем, когда установка информации о форме волны и формирование формы волны возбуждения реализованы в отдельных устройствах, можно снизить вероятность сбоя связи и уменьшить количество компонентов, таких как интерфейс связи и кабель связи. Однако устройство 400 обработки может не включать в себя блок 402 формирования формы волны возбуждения, формирующий форму волны возбуждения. Например, когда установка информации о форме волны и формирование формы волны возбуждения реализованы в отдельных устройствах, можно установить отдельные устройства в разных местах, а также уменьшить размеры устройства по сравнению со случаем, когда установка информации о форме волны и формирование формы волны возбуждения реализованы в одном устройстве. Таким образом, например, по сравнению со случаем, когда установка информации о форме волны и формирование формы волны возбуждения реализованы в одном устройстве, можно уменьшить ограничения, связанные с местом установки.
[0082] Кроме того, в данном варианте осуществления устройство 400 обработки выполняет обработку для формирования формы волны возбуждения, являющейся временной формой сигнала возбуждения, подаваемого на обмотку 122 статора электродвигателя M, служащего источником питания электромобиля. Поэтому становится возможно сформировать форму волны возбуждения, способную повысить комфорт езды на электромобиле. Однако подавление вибрации электродвигателя M желательно не только в тяговом электродвигателе электромобиля, но и в различных других типах электродвигателей M. Поэтому электродвигатель M, к которому применяется данный вариант осуществления, не ограничен тяговым электродвигателем электромобиля.
[0083] Отметим, что устройство обработки и способ обработки, поясненные в вышеописанных вариантах осуществления настоящего изобретения, могут быть также реализованы с помощью программируемого логического контроллера (PLC) или специализированного оборудования, такого как специальная интегральная схема (ASIC). Кроме того, устройство обработки и способ обработки, описанные в вариантах осуществления настоящего изобретения, могут быть также реализованы, когда компьютер выполняет программу. Кроме того, в качестве вариантов осуществления настоящего изобретения могут быть также использованы считываемый компьютером носитель записи, на котором записана программа, и компьютерный программный продукт, например, программа. Отметим, что под считываемым компьютером носителем записи понимается невременный носитель записи. В качестве носителя записи можно использовать, например, гибкий диск, жесткий диск, оптический диск, магнитооптический диск, CD-ROM, магнитную ленту, карту энергонезависимой памяти, ПЗУ и т.п. Следует отметить, что вышеописанные варианты осуществления настоящего изобретения служат лишь для иллюстрации конкретных примеров реализации настоящего изобретения, и технический объем настоящего изобретения не ограничен этими вариантами осуществления. То есть, настоящее изобретение может быть реализовано в различных формах без отступления от его технической сущности или основных признаков. Например, в вышеописанных вариантах осуществления устройство 400 обработки смонтировано на электромобиле и предназначено для формирования сигнала возбуждения тягового электродвигателя электромобиля, однако устройство 400 обработки может быть также использовано в другом устройстве (оборудовании), отличном от электромобиля, например, в электроинструменте, имеющем ротор, вращаемый электродвигателем.
Промышленная применимость
[0084] Настоящее изобретение может быть применено, например, для возбуждения электродвигателя.
Изобретение относится к средствам обработки для использования при возбуждении электродвигателя. Технический результат - увеличение эффекта подавления вибрации электродвигателя. Для этого устройство обработки (400) устанавливает амплитуду пятой гармоники (I5) так, чтобы сделать отношение амплитуд (A5) состовляющим от 20% и до 80%. Кроме того, устройство обработки (400) устанавливает разность фаз (ϕ5) так, чтобы сделать фазу пятой гармоники относительно основной волны опережающей фазой и чтобы сделать разность фаз (ϕ5) составляющей от 80° до 106°. 4 н. и 4 з.п. ф-лы, 6 ил.
1. Устройство обработки для формирования формы волны возбуждения, являющейся временной формой сигнала возбуждения, подаваемого на обмотку статора электродвигателя, причем устройство обработки содержит:
блок установки информации о форме волны, выполненный с возможностью установки информации о форме волны, включающей в себя информацию об основной волне и информацию о гармонике,
при этом информация об основной волне представляет собой информацию для формирования основной волны, включаемой в форму волны возбуждения,
при этом информация о гармонике представляет собой информацию для формирования пятой гармоники, накладываемой на основную волну,
при этом блок установки информации о форме волны включает в себя блок установки информации о гармонике, который устанавливает информацию о гармонике,
при этом информация о гармонике включает в себя отношение А5 амплитуд и разность ϕ5 фаз,
при этом отношение А5 амплитуд выражает в процентах отношение амплитуды I5 пятой гармоники к амплитуде I0 основной волны,
при этом разность ϕ5 фаз представляет собой разность фаз между основной волной и пятой гармоникой,
при этом блок установки информации о гармонике устанавливает амплитуду I5 пятой гармоники так, чтобы сделать отношение А5 амплитуд составляющим от более 20% до 80%, и
при этом блок установки информации о гармонике устанавливает разность ϕ5 фаз так, чтобы сделать фазу пятой гармоники по отношению к основной волне опережающей фазой, а также чтобы сделать разность ϕ5 фаз составляющей от 80° до 106°.
2. Устройство обработки по п. 1, в котором блок установки информации о гармонике устанавливает разность ϕ5 фаз так, чтобы сделать разность ϕ5 фаз составляющей от более 90° до 106°.
3. Устройство обработки по п. 1 или 2, дополнительно содержащее блок формирования формы волны возбуждения, выполненный с возможностью формирования формы волны возбуждения на основании информации о форме волны, установленной блоком установки информации о форме волны, при этом блок формирования формы волны возбуждения подает на электродвигатель сигнал возбуждения на основании формы волны возбуждения, сформированной на основании информации о форме волны, установленной блоком установки информации о форме волны.
4. Устройство обработки по любому из пп. 1-3, в котором электродвигатель представляет собой электродвигатель с внутренними постоянными магнитами (ВПМ).
5. Устройство обработки по любому из пп. 1-4, в котором электродвигатель представляет собой электродвигатель, приводящий в движение электромобиль.
6. Электромобиль, содержащий устройство обработки по любому из пп. 1-5.
7. Способ обработки для формирования формы волны возбуждения, являющейся временной формой сигнала возбуждения, подаваемого на обмотку статора электродвигателя, причем способ обработки содержит:
этап установки информации о форме волны с установкой информации о форме волны, включающей в себя информацию об основной волне и информацию о гармонике,
при этом информация об основной волне представляет собой информацию для формирования основной волны, включаемой в форму волны возбуждения,
при этом информация о гармонике представляет собой информацию для формирования пятой гармоники, накладываемой на основную волну,
при этом этап установки информации о форме волны включает в себя этап установки информации о гармонике с установкой информации о гармонике,
при этом информация о гармонике включает в себя отношение А5 амплитуд и разность ϕ5 фаз,
при этом отношение А5 амплитуд выражает в процентах отношение амплитуды I5 пятой гармоники к амплитуде I0 основной волны,
при этом разность ϕ5 фаз представляет собой разность фаз между основной волной и пятой гармоникой,
при этом этап установки информации о гармонике устанавливает амплитуду I5 пятой гармоники так, чтобы сделать отношение А5 амплитуд составляющим от более 20% до 80%, и
при этом этап установки информации о гармонике устанавливает разность ϕ5 фаз так, чтобы сделать фазу пятой гармоники по отношению к основной волне опережающей фазой, а также чтобы сделать разность ϕ5 фаз составляющей от 80° до 106°.
8. Считываемый компьютером носитель записи с записанной программой для вынуждения компьютера выполнять формирование формы волны возбуждения, являющейся временной формой сигнала возбуждения, подаваемого на обмотку статора электродвигателя, причем формирование формы волны возбуждения включает:
этап установки информации о форме волны с установкой информации о форме волны, включающей в себя информацию об основной волне и информацию о гармонике,
при этом информация об основной волне представляет собой информацию для формирования основной волны, включаемой в форму волны возбуждения,
при этом информация о гармонике представляет собой информацию для формирования пятой гармоники, накладываемой на основную волну,
при этом этап установки информации о форме волны включает в себя этап установки информации о гармонике с установкой информации о гармонике,
при этом информация о гармонике включает в себя отношение А5 амплитуд и разность ϕ5 фаз,
при этом отношение А5 амплитуд выражает в процентах отношение амплитуды I5 пятой гармоники к амплитуде I0 основной волны,
при этом разность ϕ5 фаз представляет собой разность фаз между основной волной и пятой гармоникой,
при этом этап установки информации о гармонике устанавливает амплитуду I5 пятой гармоники так, чтобы сделать отношение А5 амплитуд составляющим от более 20% до 80%, и
при этом этап установки информации о гармонике устанавливает разность ϕ5 фаз так, чтобы сделать фазу пятой гармоники по отношению к основной волне опережающей фазой, а также чтобы сделать разность ϕ5 фаз составляющей от 80° до 106°.
| US 20200373823 A1, 26.11.2020 | |||
| WO 2018117144 A1, 28.06.2018 | |||
| СПОСОБ ЧАСТОТНОГО УПРАВЛЕНИЯ ЭЛЕКТРОПРИВОДОМ С СИНХРОННЫМ ДВИГАТЕЛЕМ БЕЗ ДАТЧИКА ПОЛОЖЕНИЯ РОТОРА | 2020 |
|
RU2746795C1 |
| СПОСОБ СТАБИЛИЗАЦИИ ЧАСТОТЫ ВРАЩЕНИЯ ЭЛЕКТРОДВИГАТЕЛЕЙ ПЕРЕМЕННОГО ТОКА (ВАРИАНТЫ) | 2000 |
|
RU2164053C1 |
Авторы
Даты
2025-05-28—Публикация
2023-03-09—Подача