Перекрестные ссылки на родственные заявки
[0002] В соответствии с 35 USC § 119(e), данная заявка испрашивает приоритет по заявке на патент (США) номер 63/256,001, поданной 15 октября 2021 года, упоминаемой в данном документе в качестве "предварительной заявки на патент", которая полностью содержится по ссылке в данном документе.
Заявление о финансировании НИОКР из федерального бюджета
[0003] Неприменимо.
Ссылка на приложение к заявке
[0004] Неприменимо.
Уровень техники
Область техники, к которой относится изобретение
[0005] Данное раскрытие, в общем, относится к адаптивным радиочастотным (РЧ) передающим устройствам, а более конкретно, к оптимизации в реальном времени передающих РЧ-устройств.
Описание связанного уровня техники
[0006] По мере того, как доступный беспроводной спектр становится все более переполненным, с увеличенным использованием со стороны приложений широкополосной связи, для многих других пользователей беспроводного спектра становится нецелесообразным продолжать работу со статическими, негибкими способами. Среди этих пользователей имеются радарные системы, которые исторически имеют большие секции полосы пропускания, зарезервированные для их использования. Чтобы адаптироваться и сосуществовать с новой технологией в динамически управляемом окружении, радары следующего поколения должны иметь возможность переконфигурировать и оптимизировать свою спектральную конфигурацию в реальном времени.
[0007] В 2009 году, тогдашний председатель Федеральной комиссии по связи (FCC) Джулиус Геначовки заявил: "Я считаю, что самую большую угрозу будущему мобильной связи в Америке представляет надвигающийся кризис использования спектра". Кризис, который он предсказывал, заключался в неспособности предоставлять достаточный спектр для будущих приложений и систем беспроводной связи, к примеру, для беспроводной технологии пятого поколения (5G). В то время, ожидалось, что использование мобильных данных должно вырасти с 6 Пбайт/мес в 2008 году до 400 Пбайт/мес в 2013 году. Позднее, компания Ericsson выдала такую оценку, что глобальное использование мобильных данных должно достигнуть 226 Эбайт/мес в 2026 году. Чтобы справиться с этой нехваткой доступного спектра, в соответствии с Национальным планом по широкополосному доступу от 2010 года, FCC должна продавать с аукциона несколько областей спектра, которые были ранее выделены для других вариантов использования, и предложения новых повторных выделений находятся в процессе продолжающейся разработки. Хотя эти аукционы помогают ослаблять давление в отношении спектра, весь процесс продажи с аукциона и повторного выделения занимает несколько лет, что ограничивает применимость этого решения ситуациями, когда потребность в переключении спектра может осознаваться заранее.
[0008] Важно отметить, что непосредственно аукционы по выделению спектра практически не вносят вклад в предоставление долгосрочного решения спектральной перегрузки, что признано Президентским комитетом советников по науке и технике (PCAST) в 2012 году. Хотя PCAST утверждает, что аукционы федерального спектра являются расточительными вследствие затрат, времени и нарушения в выполнении правительственных задач, на этом проблемы не прекращаются. Фактически, при условии, что существуют периодические или нечастые варианты применения спектра (включающие в себя различные военные и аэрокосмические системы), долговременные статические выделения являются фундаментально несовместимыми с потребностью в высоком коэффициенте использования спектра (отношении занятого спектра к полному спектру). При традиционном подходе для выделения спектра, исследования в отношении коэффициента использования спектра демонстрируют то, что густонаселенные районы, такие как Нью-Йорк, Чикаго и Дублин, могут использовать всего 13-17% от доступного спектра в пиковое время, и что коэффициент использования в пределах данной полосы частот зачастую отражает характер вариантов применения, назначенных для этой полосы частот. См., например, работу авторов Mark A. McHenry и др., "Spectrum Occupancy Measurements Location 4 of 6; Republican National Convention, New York City", Нью-Йорк 30 августа-3 сентября 2004 года, редакция 2 (Shared Spectrum Co., 15 августа 2005 года) (содержит сведения, что коэффициент использования телевизионных полос частот составляет вплоть до 77%, коэффициент использования полос частот для сотовой связи составляет вплоть до 46% и коэффициент использования в различных полосах частот для радарной или аэрокосмической связи составляет между 0,2 и 5%). Безусловно, не все варианты применения для беспроводной связи равны с точки зрения коэффициента использования спектра. Тем не менее, традиционное выделение спектра на основе вариантов применения (в котором конкретные части спектра назначаются для конкретных вариантов использования) игнорирует этот диспаритет в использовании, что приводит к тому, что некоторые полосы сталкиваются с переполнением, тогда как другие недоиспользуются в очень значительной степени, при сравнении.
[0009] В области техники передающих РЧ-устройств большой мощности, включая радарные передающие устройства, были описаны технологии оптимизации конфигураций передачи, в том числе, без ограничения, несущей частоты, полосы пропускания и типа формы сигнала, с использованием регулируемых согласующих сетей усилителей. Тем не менее, в общем, такие технологии требуют слишком больших вычислительных затрат для того, чтобы быть подходящими для вариантов использования, требующих оптимизаций в реальном времени.
Краткая сущность изобретения
[0010] Раскрытый предмет изобретения решает проблемы, связанные с неспособностью традиционных передающих РЧ-устройств динамически оптимизировать свои конфигурации передачи в реальном времени, за счет представления более быстрого способа для оптимизации конфигурации передачи РЧ-усилителей с использованием программно-определяемой радиосистемы (SDR), сконфигурированной с возможностью выполнять поиск на основе экстраполяции для согласования нагрузки, чтобы быстро идентифицировать оптимальный нагрузочный импеданс.
[0011] Более эффективный подход для управления спектром заключает в себе использование динамического выделения спектральных ресурсов "на лету" согласно количеству пользователей в определенном окружении. Различные подходы к управлению спектром, обсуждавшиеся в предшествующем уровне техники, ищут компромисс между преимуществами и сложностями, с которыми сталкиваются в альтернативных компоновках. Применение некоторых из этих подходов началось в реальной жизни как услуга широкополосной гражданской радиосвязи (CBRS), при этом дополнительные варианты разделения спектра в данный момент находятся на рассмотрении как часть американской инициативы по использованию полосы средних частот. За счет введения технологии антенн с фазированными решетками, дополнительное управление направлением передачи обеспечивает дополнительные размерности управления спектром, еще более усиливая потенциал для эффективного использования спектральных ресурсов.
[0012] Чтобы в полной мере пользоваться преимуществом гибкости, предлагаемой системой динамического выделения, устройства должны иметь возможность своевременно переконфигурировать себя для эффективной работы в доступных полосах частот. Для вариантов применения с высоким уровнем мощности, таких как радары или сотовые базовые станции, это переконфигурирование требует оптимизации цепочки передачи системы для оптимальной производительности на выбранной частоте. Предыдущие усилия направлены на разработку способов оптимизации для радарных передающих усилителей с использованием регулируемых тюнеров нагрузочного импеданса, но используемые технологии измерений не достигают цели работы в реальном времени, при том, что отдельные наборы измерений требуют нескольких секунд для выполнения. Системы активного согласования нагрузки демонстрируют существенные улучшения во времени настройки, но они являются непрактичными для использования в развернутых системах. Между тем, программно-определяемые радиосистемы (SDR) используются для того, чтобы демонстрировать технологии измерений. Предмет изобретения, раскрытый в данном документе, использует SDR для того, чтобы реализовывать экстраполяции для согласования нагрузки, с тем чтобы достигать впечатляющих улучшений в сфере поиска оптимальной конфигурации. Прогнозированный оптимальный импеданс используется для того, чтобы направлять поиск, с чередованием между выбором интересующей области через экстраполяцию и получением новых измерений в интересующей области, чтобы идентифицировать новый прогнозированный оптимальный импеданс. Эффективность этого чередующегося процесса зависит главным образом от периода переконфигурирования компонентов и требований по объему вычислений алгоритма адаптации.
[0013] В общем, тюнеры импеданса с механическим приводом и с высоким уровнем мощности не могут адаптироваться достаточно быстро к тому, чтобы предоставлять и поддерживать оптимальную производительность для быстрой адаптации РЧ-систем. Когнитивные радары, которые могут точно создавать уникальные радарные импульсы, спроектированные с возможностью подгоняться под существующее спектральное окружение, представляют собой пример такой системы. Типично, интервал повторения импульсов (PRI) радара может колебаться от 10 мкс до 100 мкс, тогда как быстрому тюнеру импеданса с механическим приводом может требоваться от 40 мс до 100 мс в расчете на операцию подстройки. Как результат, такие тюнеры могут только использоваться для того, чтобы оптимизировать среднюю производительность таких радаров в течение многих импульсов. Тем не менее, к сожалению, оптимизация, в общем, требует учета нескольких конфигураций передачи, каждая из которых должна оцениваться при нескольких импедансах в ходе каждой поисковой итерации. Хотя период измерений может регулироваться, чтобы лучше приспосабливаться к этой реальности, подавляющее большинство измерений с большой вероятностью будут предоставлять дублированную информацию, поскольку множество конфигураций передачи демонстрируют аналогичное влияние на передающий усилитель (так что они могут трактоваться как идентичные в ходе процесса поиска). В силу этого обоснованно рассматривать стратегию группировки, которая по существу трактует конфигурации передачи в пределах каждой группы как эквивалентные, значительно уменьшая число измерений, требуемых во время оптимизации.
[0014] Тем не менее, затруднительно получать достаточно информации в ходе процесса оптимизации, чтобы подтверждать эквивалентность различных конфигураций передачи. С учетом, в общем, регулярного характера контуров производительности усилителя на диаграмме Смита, можно использовать частичные сведения по производительности схемы, ассоциированной с данной конфигурацией передачи, с тем чтобы экстраполировать более полное понимание, которое может использоваться для того, чтобы находить конфигурации передачи с по существу идентичными характеристиками производительности. Раскрытый предмет изобретения в по меньшей мере некоторых отношениях, применяет глубокое обучение к генеративным состязательным сетям (GAN), чтобы обеспечивать высокоэффективное заполнение изображений с использованием экстраполированной информации согласования нагрузки. Такие технологии предоставляют практически осуществимое решение по оптимизации для адаптивных передающих РЧ-устройств и дополнительно могут быть подходящими для быстрой инициализации других алгоритмов или ускорения процессов согласования нагрузки, в общем, за счет значительно уменьшения числа оцениваемых импедансов, требуемых для того, чтобы формировать точные контуры согласования нагрузки при том, что во многих случаях требуется не более шести измерений.
[0015] В одном аспекте, раскрытая система с радиочастотным (РЧ) устройством включает в себя программно-определяемую радиосистему (SDR), адаптивный передающий усилитель и хост-компьютер, функционально соединенный с SDR и адаптивным передающим усилителем. Непосредственно РЧ-устройство может представлять собой когнитивный радар. Хост-компьютер включает в себя центральный процессор и машиночитаемое запоминающее устройство, включающее в себя исполняемые процессором инструкции, которые, при выполнении посредством процессора, инструктируют системе выполнять операции оптимизации, включающие в себя выбор начального импеданса в качестве нагрузочного импеданса для РЧ-устройства и итеративное выполнение операций заполнения изображений до тех пор, пока не будет удовлетворен критерий сходимости. Операции заполнения изображений могут включать в себя измерение производительности РЧ-устройства, чтобы получать измеренную производительность, соответствующую нагрузочному импедансу, сохранение измеренной производительности в качестве точки на изображении измеренного контура согласования нагрузки, выполнение экстраполяции для согласования нагрузки для того, чтобы экстраполировать, из нагрузочного импеданса, прогнозированный оптимальный импеданс, и сохранение прогнозированного импеданса в качестве нагрузочного импеданса для следующей итерации операций заполнения изображений. Критерий сходимости может удовлетворяться, когда разность между прогнозированным импедансом и ближайшим ранее измеренным нагрузочным импедансом меньше предварительно определенного порогового значения. В вариантах осуществления, в которых импедансы представляются как пикселы в изображении, критерий сходимости может удовлетворяться, когда прогнозированный импеданс согласуется с одним из ранее измеренных импедансов.
[0016] Экстраполяция для согласования нагрузки может реализовываться как градиентный процесс заполнения изображений, применяемый к генеративной состязательной сети (GAN), обученной на известных контурах согласования нагрузки. Изображение контура согласования нагрузки может соответствовать массиву пикселов изображения, при этом каждый пиксел представляет соответствующий нагрузочный импеданс. Операции заполнения изображений могут включать в себя измерение производительности РЧ-устройства при одном или более дополнительных импедансах и добавление точки, соответствующей каждому из одного или более дополнительных импедансов, в изображение контура согласования нагрузки. Прогнозированный импеданс может соответствовать первому пикселу изображения, и один или более дополнительных импедансов могут соответствовать одному или более дополнительным пикселам, при этом дополнительные пикселы выбираются на основе, по меньшей мере частично, близости к упомянутому первому пикселу изображения. Например, один или более дополнительных пикселов могут содержать один или более пикселов, выбранных из группы пикселов, смежных и окружающих упомянутый первый пиксел.
[0017] GAN может включать в себя генеративную сеть и дискриминаторную сеть, и выполнение экстраполяции для согласования нагрузки может включать в себя формирование, с помощью генеративной сети, изображения прогнозированного контура согласования нагрузки, определение степени согласованности между точками изображения измеренного контура согласования нагрузки и соответствующими точками изображения прогнозированного контура согласования нагрузки и поиск ввода генеративной сети, формирующего изображение прогнозированного контура согласования нагрузки, которое минимизирует метрику потерь. GAN может реализовываться как GAN Вассерштейна, и дискриминаторная сеть может содержать критикующую сеть. В таких вариантах осуществления, метрика потерь может включать в себя компоненту контекстной потери, указывающую подобие между сформированным изображением контура согласования нагрузки и точками изображения измеренного контура согласования нагрузки, и компоненту перцепционной потери, указывающую степень разности между сформированным изображением контура согласования нагрузки и выучиваемым набором данных.
Краткое описание чертежей
[0018] Фиг. 1 является графической иллюстрацией определения заполненных контуров согласования нагрузки из частичной информации контуров;
[0019] Фиг. 2 является графической иллюстрацией функций генеративной сети и дискриминаторной сети для GAN, сконфигурированной с возможностью использования в сочетании с раскрытыми признаками заполнения изображений;
[0020] Фиг. 3 является графической иллюстрацией генеративной сети и дискриминаторной сети по фиг. 2, выполненных с возможностью осуществлять заполнение изображений в соответствии с раскрытыми решениями;
[0021] Фиг. 4 иллюстрирует примерную сетевую топологию для дискриминаторной сети согласования нагрузки;
[0022] Фиг. 5 иллюстрирует примерную сетевую топологию для генеративной сети согласования нагрузки;
[0023] Фиг. 6 иллюстрирует блок-схему последовательности операций способа оптимизации с использованием экстраполяции для согласования нагрузки;
[0024] Фиг. 7 иллюстрирует примерную радарную систему, подходящую для использования в сочетании с раскрытым предметом изобретения для оптимизации в реальном времени; и
[0025] Фиг. 8 иллюстрирует примерный хост-компьютер, подходящий для использования в сочетании с предметом изобретения, раскрытым на фиг. 1-7.
Подробное описание изобретения
[0026] Чертежи, описанные выше, и письменное описание конкретных структур и функций ниже представляются не для того, чтобы ограничивать объем того, что заявитель изобрел, либо объем прилагаемой формулы изобретения. Вместо этого, чертежи и письменное описание предоставляются для того, чтобы научить специалистов в данной области техники тому, как осуществлять и использовать изобретения, для которых испрашивается патентная защита. Специалисты в данной области техники должны принимать во внимание, что не все признаки коммерческого варианта осуществления изобретений описываются или показываются для ясности и понимания. Специалисты в данной области техники также должны принимать во внимание, что разработка фактического коммерческого варианта осуществления, включающего аспекты настоящего раскрытия, должна требовать множества конкретных для реализации решений для того, чтобы достигать конечной цели разработчика для коммерческого варианта осуществления. Такие конкретные для реализации решения могут включать в себя, и вероятно этим не ограничиваются, соответствие системным, бизнес-, государственным и другим ограничениям, которые могут меняться в зависимости от конкретной реализации, местоположения или со временем. Хотя усилия разработчика могут быть сложными и времязатратными в абсолютном смысле, тем не менее, такие усилия должны быть рутинной задачей для специалистов в данной области техники, пользующихся преимуществами данного раскрытия.
[0027] Следует понимать, что изобретения, раскрытые и рассматриваемые в данном документе, подвержены многочисленным и различным модификациям и альтернативным формам. Использование термина в единственном числе не предназначено в качестве ограничения числа элементов. Дополнительно, различные способы и варианты осуществления системы могут включаться в комбинации друг с другом, с тем чтобы формировать вариации раскрытых способов и вариантов осуществления. Указание элементов в единственном числе может включать в себя множество элементов, и наоборот. Ссылки на по меньшей мере один элемент могут включать в себя один или более элементов. Кроме того, различные аспекты вариантов осуществления могут использоваться в сочетании друг с другом, с тем чтобы достигать понятных целей данного раскрытия.
[0028] Если контекст не предписывает иное, следует понимать, что термин "содержать" или его вариации, такие как "содержит" или "содержащий", подразумевает включение, по меньшей мере, заявленного элемента или этапа либо группы элементов или этапов, либо их эквивалентов, а не исключение большего численного количества или любого другого элемента или этапа либо группы элементов или этапов, либо их эквивалентов. Термин "соединенный", "соединяющий", "соединитель" и аналогичные термины широко используются в данном документе и могут включать в себя любой способ или устройство для закрепления, связывания, приклеивания, прикрепления, присоединения, стыковки, вставки в, формирования на или в, обмена данными или иного ассоциирования, например, механически, магнитно, электрически, химически, функционально, прямо или косвенно, с промежуточными элементами, одного или более фрагментов элементов между собой, и дополнительно могут включать в себя, без ограничения, формирование как единое целое одного функционального элемента с другим унитарным способом. Соединение может возникать в любом направлении, в том числе и вращательно.
[0029] Порядок раскрытых этапов может возникать во множестве последовательностей, если не предусмотрено иных ограничений. Раскрытые этапы могут комбинироваться с другими этапами, перемежаться с заявленными этапами и/или разбиваться на несколько этапов. Аналогично, раскрытые элементы могут описываться функционально и могут осуществляться в качестве отдельных компонентов либо могут комбинироваться в компоненты, имеющие несколько функций. Некоторые элементы могут именоваться посредством названия устройства для простоты, и следует понимать, что они должны включать в себя систему связанных компонентов, известных специалистам в данной области техники, которые могут подробно описываться или могут не описываться.
[0030] Структурные элементы могут быть раскрыты через примеры, предоставленные в описании и на чертежах, которые выполняют различные функции. Примеры являются неограничивающими по форме, размеру и описанию, но служат в качестве иллюстративных структур, которые могут меняться, как должно быть известно специалистам в данной области техники, с учетом решений, содержащихся в данном документе. В связи с этим, использование термина "примерный" является формой прилагательного для существительного "пример" и аналогично означает иллюстративную структуру и не обязательно предпочтительный вариант осуществления. Номера элементов с буквами суффикса, такими как "A", "B" и т.д., служат для того, чтобы обозначать различные элементы в группе аналогичных элементов, имеющих аналогичную структуру или функцию, и соответствующие номера элементов без букв служат для того, чтобы, в общем, означать один или более аналогичных элементов. Любые номера элементов в формуле изобретения, которые соответствуют элементам, раскрытым в заявке, являются иллюстративными, а не эксклюзивными, поскольку могут быть раскрыты несколько вариантов осуществления, которые используют различные номера элементов для аналогичных элементов.
[0031] Обзор. Предварительная заявка на патент включает в себя предмет изобретения, раскрывающий различные системы, технологии и применения, связанные с оптимизацией в реальном времени когнитивных радарных передающих устройств. Этот предмет изобретения затрагивает темы, включающие в себя определение пространственно-спектральных ограничений передачи, оценки работы в реальном времени РЧ-устройств с использованием программно-определяемых радиосистем (SDR), оптимизацию в реальном времени когнитивных радарных передающих усилителей, эффекты подстройки импеданса для обработки по дальности и доплеровскому сдвигу и частичную экстраполяцию для согласования нагрузки (load-pull) через глубокое заполнение изображений. Хотя имеется наложение этих тем, настоящая заявка главным образом направлена на оптимизацию в реальном времени адаптивных передающих РЧ-усилителей и заполнение изображений с использованием экстраполяции согласования нагрузки.
[0032] Технологии для оптимизации средней производительности передающей РЧ-схемы, раскрытые в предварительной заявке на патент, наблюдают каждую конфигурацию передачи многократно в расчете на значение импеданса. Этот подход может требовать нежелательно большого числа наблюдений, в частности, в крайне изменчивых или сложных спектральных ситуациях. Тем не менее, множество конфигураций передачи формируют контуры производительности относительно импеданса, которые являются в достаточной степени аналогичными для использования взаимозаменяемо в ходе поиска, с пренебрежимо малым влиянием на способность поиска сходиться к оптимальному решению. Группировка эффективно эквивалентных конфигураций передачи преимущественно сокращает число конфигураций передачи и повышает эффективность процесса оптимизации. К сожалению, объем данных измерений конфигураций, которые должны получаться, чтобы подтверждать, с требуемой достоверностью, эффективную эквивалентность любых двух конфигураций передачи, также может быть слишком большим. Тем не менее, если сравнения конфигураций передачи между отличающимися импедансами могут проводиться, это должно значительно улучшать преимущество группировки конфигураций, поскольку объем данных, требуемых для того, чтобы достигать заключения в отношении эквивалентности во время работы системы, должен значительно уменьшаться.
[0033] Данные по производительности для различных конфигураций и импедансов могут сравниваться посредством экстраполяции производительности каждой конфигурации в общий импеданс. С использованием этой технологии экстраполяции для согласования нагрузки, полный набор контуров согласования нагрузки может извлекаться из неполного набора данных. Фиг. 1 иллюстрирует полный набор контуров 102 согласования нагрузки, проиллюстрированных на диаграмме 100 Смита, извлекаемых из неполного набора 101 данных.
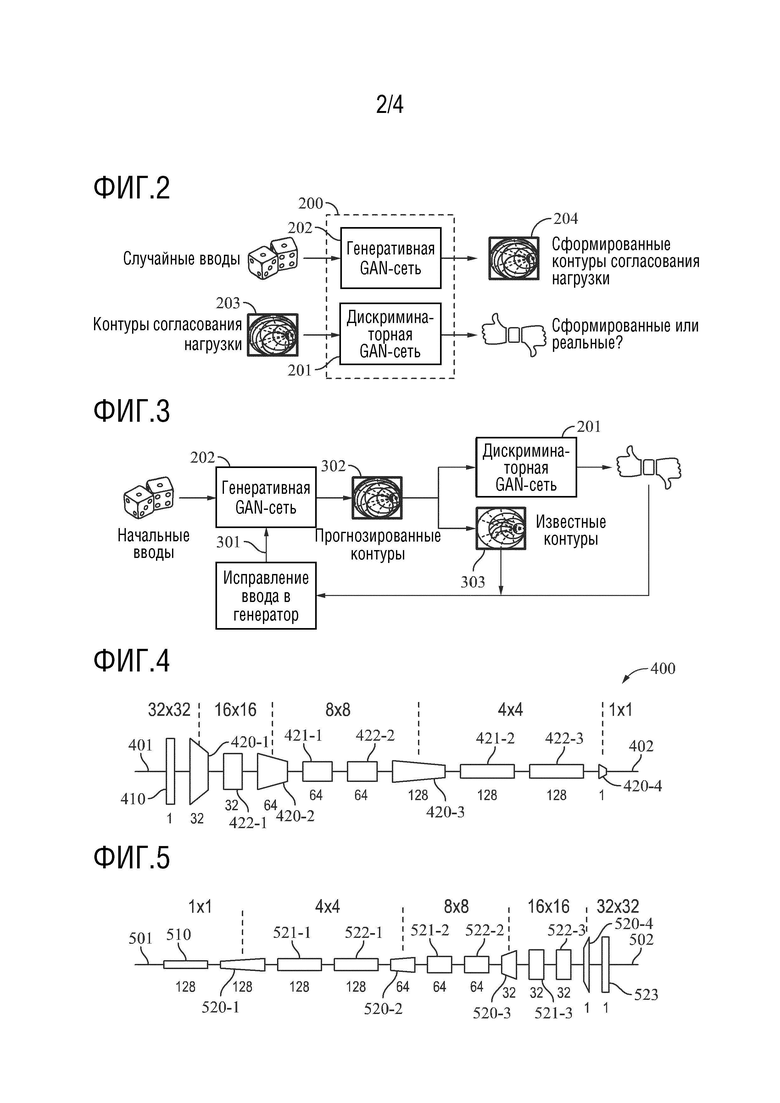
[0034] Цель, графически проиллюстрированная на фиг. 1, т.е. извлечение полных контуров согласования нагрузки из неполных контуров, предлагает проблему заполнения изображений, в которой каждый контур согласования нагрузки представляется как группа пикселов в изображении диаграммы Смита, иллюстрирующей конкретное значение параметра производительности, например, выходную мощность, усиление и т.д., в качестве функции нормализованных действительных и мнимых компонент набора нагрузочных импедансов, которые формируют применимое значение параметра производительности. В таких изображениях, каждый пиксел изображения соответствует конкретному импедансу. В по меньшей мере некоторых вариантах осуществления, процесс заполнения изображений на основе глубокого обучения используется для того, чтобы достигать проиллюстрированной цели. В примерной реализации, градиентный процесс заполнения изображений на основе глубокого обучения применяется к генеративной состязательной сети (GAN), обученной в соответствии с известными контурами согласования нагрузки усилителя. Обучающие данные могут получаться из измерений или моделирований линейных или нелинейных усилителей. Как проиллюстрировано на фиг. 2, GAN 200 может включать в себя дискриминаторную сеть 201 и генеративную сеть 202, обучаемые с противоположными целями. Дискриминаторная сеть 201 может обучаться с возможностью распознавать то, иллюстрирует ли данное контурное изображение 203 согласования нагрузки реальные контуры согласования нагрузки, т.е. контуры согласования нагрузки, включенные в обучающие данные, или сформированные контуры согласования нагрузки, т.е. контуры, сформированные посредством генеративной сети 202, с осторожностью, чтобы не вызывать переподгонку к обучающим данным. Напротив, генеративная сеть 202 может обучаться с возможностью формировать сформированные контурные изображения 204 согласования нагрузки, которые дискриминаторная сеть 201 будет классифицировать в качестве достоверного набора контуров согласования нагрузки. В по меньшей мере некоторых вариантах осуществления, дискриминаторная сеть 201 и генеративная сеть 202 обучаются попеременно, чтобы обеспечивать возможность обеим сетям адаптироваться к слабостям в поведении других.
[0035] С использованием надлежащим образом обученной GAN 200, заполнение изображений может выполняться способом, предлагаемым на фиг. 3, посредством итеративного поиска ввода 301 в генеративную сеть 202, который обеспечит формирование прогнозированных контуров 302, которые близко согласуются с известными контурами 303 заполняемого изображения. Поскольку GAN 200 предварительно обучается до заполнения изображений, этот подход предоставляет хорошую основу для быстрой оценки неизвестного устройства. В по меньшей мере некоторых вариантах осуществления, GAN 200 может реализовываться как GAN Вассерштейна (WGAN), в которой предварительно определенное расстояние, называемое "расстоянием Вассерштейна", используется в качестве метрики потерь при обучении генеративной сети 202 и дискриминаторной сети 201, которая может называться "критикующей сетью" в этом контексте. Использование расстояния Вассерштейна позволяет не допускать насыщенности метрик, которая может возникать, когда одна из сетей работает слишком хорошо, например, дискриминаторная сеть 201 никогда не ошибается. Недопущение этой насыщенности значительно повышает стабильность и надежность процесса обучения сети за счет обеспечения того, что вычисления градиента, используемые для того, чтобы обновлять генеративную сеть 202, не исчезают, если дискриминаторная сеть 201 работает слишком хорошо, и оно помогает предотвращать изучение, посредством генеративной сети 202, только нескольких конкретных изображений, способных обмануть дискриминаторную сеть 201.
[0036] Фиг. 4 иллюстрирует примерную дискриминаторную сетевую топологию 400 для дискриминаторной сети 201, и фиг. 5 иллюстрирует примерную генеративную сетевую топологию 500 для генеративной сети 201. Проиллюстрированная дискриминаторная сетевая топология 400 работает с изображением 401 согласования нагрузки 32×32 пикселя и формирует расстояние 402, которое представляет собой одно значение, указывающее абсолютную величину расстояния между входным изображением и выучиваемым набором достоверных изображений. Проиллюстрированная дискриминаторная сетевая топология 402 включает в себя входной слой 410, четыре слоя 420-1, 420-2 и 420-3, и 420-4 двумерной свертки и три функции 422-1, 422-2 и 422-3 активации на основе блоков линейной ректификации с утечкой (leaky rectified linear unit). Выводы слоев 420-2 и 420-3 двумерной свертки послойно нормализуются через функции 422-1 и 422-2 послойной нормализации, соответственно. Генеративная сетевая топология 500, проиллюстрированная на фиг. 5, работает с 128-элементым вектором 501 инициализации и формирует синтезированное полутоновое изображение 502 согласования нагрузки 32×32 пикселя. Входной слой 510 принимает вектор 501 инициализации, и проиллюстрированная топология включает в себя четыре слоя 520-1, 520-2, 520-3 и 520-4 транспонирования двумерной свертки и три ReLU 522-1, 522-2 и 522-3 с утечкой. Выводы слоев 520-1, 520-2 и 520-3 транспонирования двумерной свертки пакетно нормализуются через функции 521-1, 521-2 и 521-3 пакетной нормализации, соответственно. Слой 523 активации на основе гиперболического тангенса предоставляет конечное масштабирование вывода сети.
[0037] В примерной реализации, обучающие данные формируются через моделируемые контуры выходной мощности для 100000 случайно сформированных наборов параметров рассеяния усилителя (S-параметров), представляющих линейные характеристики усилителей. Соответственно, смоделированные контуры представляют линейную производительность устройства. В некоторых вариантах осуществления, может быть желательным предоставлять дополнительные обучающие данные для работы в режиме больших сигналов посредством выполнения моделирований согласования нагрузки с использованием существующих нелинейных моделей устройств для множества установочных параметров (частоты, условий напряжения смещения, входной мощности и т.д.). В других вариантах осуществления, линейные обучающие данные могут быть достаточными.
[0038] Как предложено ранее, цель заполнения изображений состоит в том, чтобы находить ввод
в генеративную сеть, который обеспечит формирование изображения
, которое является аналогичным известному частичному изображению
и подгоняется к полному целевому набору данных. Чтобы заполнять изображение, маска M задается для того, чтобы кодировать часть полного изображения, предоставленную посредством
. Маска задается следующим образом:
[0039]
,
[0040] где n задает пикселы в изображении. Эта маска указывает части сформированного изображения, которые следует рассматривать при сравнении сформированного изображения с предоставленным частичным изображением.
[0041] В примерном варианте осуществления, две метрики потерь, контекстная потеря и перцепционная потеря, используются для того, чтобы определять качество
. Контекстная потеря, которая указывает степень подобия между сформированным изображением и предоставленным частичным изображением, задается следующим образом:
[0042] 
[0043] Перцепционная потеря, которая описывает то, насколько близко сформированное изображение напоминает члены выучиваемого набора данных согласно критикующей сети C(), задается следующим образом:
[0044] 
[0045] Две потери могут комбинироваться с гиперпараметром λ, который взвешивает относительную важность двух метрик. Для целей настоящего раскрытия, значение в 1 выбирается для λ. Соответственно, полной потерей
является:
[0046] 
[0047] С точки зрения уравнения 4, цель оптимизации состоит в том, чтобы находить некоторое
, которое минимизирует
. Это представляет собой проблему стохастической градиентной оптимизации, которая может решаться с помощью любого из различных подходящих алгоритмов, которые должны быть знакомыми специалистам в данной области техники. Примерный алгоритм для идентификации решения для уравнения 4 может включать в себя элементы, описанные в работе автора D. P. Kingma, "Adam: A Method for Stochastic Optimization", 3rd International Conference on Learning Representations (отправлена: 22 декабря 2014 года, опубл. 5 мая 2015 года). Каждый набор экстраполированных контуров согласования нагрузки может представлять собой результат фиксированного числа итераций (например, 1000) или динамического числа итераций применимого алгоритма. В динамическом случае, число итераций может определяться посредством поведения функций потерь для завершенных итераций.
[0048] Ссылаясь теперь на фиг. 6, блок-схема последовательности операций иллюстрирует способ 600 оптимизации с использованием итеративной экстраполяции для согласования нагрузки. Проиллюстрированный способ 600 осуществляет технологию "максимального добавления", в которой наилучший прогнозированный импеданс из каждой итерации экстраполяции для согласования нагрузки выбирается для измерения, и его производительность добавляется в набор данных контура согласования нагрузки, который представляет конструируемое изображение контура согласования нагрузки.
[0049] Как проиллюстрировано на фиг. 6, проиллюстрированный способ 600 начинается с начального этапа 602, в ходе которого начальный импеданс выбирается в качестве выходного импеданса для передающего РЧ-устройства. Проиллюстрированный способ затем переходит к итеративному циклу 604, который начинается с проверки сходимости (этап 606), при которой указанный критерий сходимости оценивается относительно предварительно определенного порогового значения. В по меньшей мере одном варианте осуществления, критерий сходимости оценивает то, согласуется или нет прошлый идентифицированный наилучший прогнозированный импеданс с импедансом, который уже измерен. Если сходимость не достигается, проиллюстрированный способ измеряет (этап 610) производительность РЧ-устройства и сохраняет измеренную производительность в качестве точки на изображении контура согласования нагрузки, называемом в данном документе "изображением измеренного контура согласования нагрузки". Проиллюстрированный способ 600 затем может выполнять (этап 612) экстраполяцию для согласования нагрузки для того, чтобы идентифицировать наилучший прогнозированный импеданс.
[0050] В по меньшей мере некоторых вариантах осуществления может быть преимущественным или в иных отношениях желательным выполнять одно или более дополнительных измерений в цикле 604 таким образом, что каждая итерация цикла 604 добавляет более одной точки данных в конструируемое изображение измеренного контура согласования нагрузки. Проиллюстрированный способ 600 включает в себя определение (этап 614) того, следует или нет измерять (этап 616) один или более дополнительных импедансов в ходе текущей итерации цикла 604. Измерение дополнительных точек данных с большей вероятностью должно быть преимущественным, если дополнительная точка(ки) данных ассоциирована с импедансами, которые могут идентифицироваться с минимальной заметной задержкой или без неё и которые с большой вероятностью должны демонстрировать контуры производительности, аналогичные текущему применяемому импедансу. Для пиксельного контурного изображения согласования нагрузки, оба из этих условий могут удовлетворяться посредством выбора дополнительных импедансов на основе пиксельной близости. В качестве иллюстративного примера, реализация может выполнять в сумме пять измерений в ходе каждой итерации цикла 604, причем пять измерений соответствуют наилучшему прогнозированному импедансу и импедансам, соответствующим пикселам непосредственно к северу, к югу, к востоку и к западу от активного пиксела, т.е. пиксела, соответствующего текущему наилучшему прогнозированному импедансу. Другие реализации могут выбирать и измерять большее число, меньшее число и/или другие дополнительные пикселы.
[0051] Если проверка сходимости (этап 606) указывает то, что применимый критерий сходимости удовлетворяется, способ 600, проиллюстрированный на фиг. 6, применяет (этап 620) наилучший измеренный импеданс к изображению контура согласования нагрузки, и способ завершается.
[0052] Ссылаясь теперь на фиг. 7, проиллюстрирована когнитивная радарная система 700, подходящая для реализации раскрытых признаков оптимизации в реальном времени. Проиллюстрированная радарная система 700 включает в себя программно-определяемую радиосистему 701 и адаптивный передающий усилитель 705, которые функционально соединяются с хост-компьютером 702. Адаптивный передающий усилитель 705 включает в себя усилитель 701 и конфигурируемый или переменный нагрузочный импеданс 710. Программно-определяемая радиосистема 701 может реализовываться с помощью любой из различных подходящих коммерчески распространяемых SDR, включающих в себя, в качестве иллюстративного примера, USRP X310 компании Ettus Research. В по меньшей мере одном варианте осуществления хост-компьютер 702 включает в себя программные инструкции, которые, при выполнении, выполняют оптимизации в реальном времени, описанные в данном документе.
[0053] Ссылаясь теперь на фиг. 8, любые один или более элементов, проиллюстрированных на фиг. 1-2, могут реализовываться в качестве либо в рамках системы обработки информации, примерно показанной посредством системы 800 обработки информации, проиллюстрированной на фиг. 8. Проиллюстрированная система обработки информации включает в себя один или более процессоров общего назначения или центральных процессоров 801 (CPU), функционально соединенных с ресурсом 810 запоминающего устройства, и концентратор 820 ввода-вывода, с которым функционально соединяются различные ресурсы и/или компоненты ввода-вывода. Ресурсы ввода-вывода, явно проиллюстрированные на фиг. 8, включают в себя сетевой интерфейс 840, обычно называемый "NIC (сетевой интерфейсной платой)", ресурсы 830 хранения и дополнительные устройства ввода-вывода, компоненты или ресурсы 850, включающие в себя, в качестве неограничивающих примеров, клавиатуры, мыши, дисплеи, принтеры, динамики, микрофоны и т.д. Проиллюстрированная система 800 обработки информации включает в себя контроллер 860 управления материнской платой (BMC), предоставляющий, в числе других признаков и услуг, внеполосный ресурс управления, который может соединяться с сервером управления (не проиллюстрирован). В по меньшей мере некоторых вариантах осуществления, BMC 860 может управлять системой 800 обработки информации, даже когда подача мощности в систему 800 обработки информации прекращается, либо она переводится в состояние ожидания. BMC 860 может включать в себя процессор, запоминающее устройство, внеполосный сетевой интерфейс, отдельный от и физически изолированный от внутриполосного сетевого интерфейса системы 800 обработки информации и/или других ресурсов обработки встроенной информации. В конкретных вариантах осуществления, BMC 860 может включать в себя или может составлять неотъемлемую часть контроллера удаленного доступа (например, контроллера удаленного доступа компании Dell или интегрированного контроллера удаленного доступа компании Dell) либо контроллера управления шасси.
[0054] Другие и дополнительные варианты осуществления с использованием одного или более аспектов изобретений, описанных выше, могут быть разработаны без отступления от раскрытого изобретения, заданного в формуле изобретения. Например, некоторые этапы и решения могут комбинироваться или компоноваться в различных последовательностях и других вариациях, которые ограничены только посредством объема формулы изобретения.
[0055] Изобретение описывается в контексте предпочтительных и других вариантов осуществления, но описывается не каждый вариант осуществления данного изобретения. Очевидные модификации и изменения в описанных вариантах осуществления доступны для специалистов в данной области техники. Раскрытые и нераскрытые варианты осуществления не имеют намерение разграничивать или ограничивать объем или применимость изобретения, задуманного заявителем, а вместо этого, в соответствии с патентным правом, заявитель намеревается полностью защищать все такие модификации и улучшения, которые возникают в пределах объема прилагаемой формулы изобретения.
| название | год | авторы | номер документа |
|---|---|---|---|
| СИСТЕМА РАДАРНОГО УРОВНЕМЕРА С ОДНОПРОВОДНЫМ ЗОНДОМ И РЕЗЕРВУАРНАЯ КОНСТРУКЦИЯ | 2015 |
|
RU2676395C2 |
| БЕСПРОВОДНАЯ ИНДУКТИВНАЯ ПЕРЕДАЧА МОЩНОСТИ | 2015 |
|
RU2692482C2 |
| СИСТЕМЫ И СПОСОБЫ ОБУЧЕНИЯ ГЕНЕРАТИВНО-СОСТЯЗАТЕЛЬНЫХ СЕТЕЙ, А ТАКЖЕ ИСПОЛЬЗОВАНИЕ ОБУЧЕННЫХ ГЕНЕРАТИВНО-СОСТЯЗАТЕЛЬНЫХ СЕТЕЙ | 2019 |
|
RU2819619C2 |
| ВОЛНОВОДНЫЙ РАДАРНЫЙ УРОВНЕМЕР НЕПРЕРЫВНОГО ИЗЛУЧЕНИЯ С ЧАСТОТНОЙ МОДУЛЯЦИЕЙ | 2015 |
|
RU2688892C2 |
| СИСТЕМА ДЛЯ ГЕНЕРАЦИИ ВИДЕО С РЕКОНСТРУИРОВАННОЙ ФОТОРЕАЛИСТИЧНОЙ 3D-МОДЕЛЬЮ ЧЕЛОВЕКА, СПОСОБЫ НАСТРОЙКИ И РАБОТЫ ДАННОЙ СИСТЕМЫ | 2024 |
|
RU2834188C1 |
| СИСТЕМА РАДИОПРИЕМНИКА С РАЗНЕСЕНИЕМ | 2012 |
|
RU2597325C2 |
| GAN-CNN ДЛЯ ПРОГНОЗИРОВАНИЯ СВЯЗЫВАНИЯ МНС-ПЕПТИД | 2019 |
|
RU2777926C2 |
| Совместная неконтролируемая сегментация объектов и подрисовка | 2019 |
|
RU2710659C1 |
| ГЕНЕРАТОРЫ ИЗОБРАЖЕНИЙ С УСЛОВНО НЕЗАВИСИМЫМ СИНТЕЗОМ ПИКСЕЛЕЙ | 2021 |
|
RU2770132C1 |
| Способ и устройство для коррекции карт глубины для множества видов | 2023 |
|
RU2827434C1 |
Изобретение относится к оптимизации в реальном времени передающих радиочастотных (РЧ) устройств. Технический результат – уменьшение вычислительных затрат для оптимизаций РЧ-устройств в реальном времени. Для этого РЧ-система, такая как когнитивный радар, включает в себя программно-определяемую радиосистему, адаптивный передающий усилитель и хост-компьютер. Система выполняет операции оптимизации, включающие в себя выбор начального импеданса в качестве нагрузочного импеданса для РЧ-устройства и итеративное выполнение операций заполнения изображений до тех пор, пока не будет удовлетворен критерий сходимости. Операции заполнения изображений могут включать в себя измерение производительности РЧ-устройства, сохранение измеренной производительности в качестве точки на изображении измеренного контура согласования нагрузки, выполнение экстраполяции для согласования нагрузки для того, чтобы экстраполировать, из нагрузочного импеданса, прогнозированный оптимальный импеданс, и сохранение прогнозированного импеданса в качестве нагрузочного импеданса для следующей итерации операций заполнения изображений. 2 н. и 18 з.п. ф-лы, 8 ил.
1. Способ для оптимизации конфигурации передачи адаптивного радиочастотного (РЧ) устройства, при этом способ содержит этапы, на которых:
- выбирают начальный импеданс в качестве нагрузочного импеданса для РЧ-устройства;
- итеративно выполняют операции заполнения изображений до тех пор, пока критерий сходимости не удовлетворяется, при этом операции заполнения изображений включают в себя:
- измерение производительности РЧ-устройства для получения измеренной производительности, соответствующей нагрузочному импедансу;
- сохранение измеренной производительности в качестве точки на изображении измеренного контура согласования нагрузки;
- выполнение экстраполяции для согласования нагрузки для того, чтобы экстраполировать, из нагрузочного импеданса, прогнозированный импеданс; и
- сохранение прогнозированного импеданса в качестве нагрузочного импеданса для следующей итерации операций заполнения изображений;
- при этом критерии сходимости удовлетворяются, когда разность между прогнозированным импедансом и ближайшим ранее измеренным нагрузочным импедансом меньше предварительно определенного порогового значения.
2. Способ по п. 1, в котором выполнение экстраполяции для согласования нагрузки содержит применение градиентного процесса заполнения изображений к генеративной состязательной сети (GAN), обученной на известных контурах согласования нагрузки.
3. Способ по п. 2, в котором изображение измеренного контура согласования нагрузки содержит массив пикселов изображения, при этом каждый пиксел представляет соответствующий нагрузочный импеданс.
4. Способ по п. 3, в котором операции заполнения изображений включают в себя этапы, на которых:
- измеряют производительность РЧ-устройства при одном или более дополнительных импедансах; и
- добавляют точку, соответствующую каждому из упомянутого одного или более дополнительных импедансов, в изображение измеренного контура согласования нагрузки.
5. Способ по п. 4, в котором прогнозированный импеданс соответствует первому пикселу изображения, и при этом один или более дополнительных импедансов соответствуют одному или более дополнительным пикселам, при этом эти один или более дополнительных пикселов выбираются на основе, по меньшей мере частично, близости к упомянутому первому пикселу изображения.
6. Способ по п. 5, в котором один или более дополнительных пикселов содержат один или более пикселов, выбранных из группы пикселов, смежных и окружающих упомянутый первый пиксел изображения.
7. Способ по п. 2, в котором GAN включает в себя генеративную сеть и дискриминаторную сеть, и при этом выполнение экстраполяции для согласования нагрузки содержит этапы, на которых:
- формируют, с помощью генеративной сети, изображение прогнозированного контура согласования нагрузки;
- определяют степень согласованности между точками изображения измеренного контура согласования нагрузки и соответствующими точками изображения прогнозированного контура согласования нагрузки; и
- выполняют поиск ввода генеративной сети, формирующего изображение прогнозированного контура согласования нагрузки, которое минимизирует метрику потерь.
8. Способ по п. 7, в котором GAN содержит GAN Вассерштейна, и дискриминаторная сеть содержит критикующую сеть, и при этом метрика потерь включает в себя:
- компоненту контекстной потери, указывающую подобие между сформированным изображением контура согласования нагрузки и точками изображения измеренного контура согласования нагрузки;
- компоненту перцепционной потери, указывающую степень разности между сформированным изображением контура согласования нагрузки и выучиваемым набором данных.
9. Способ по п. 2, в котором GAN обучается исключительно на контурах, соответствующих работе устройства в линейном режиме.
10. Способ по п. 2, в котором РЧ-устройство содержит когнитивное радарное устройство.
11. Система с радиочастотным (РЧ) устройством, содержащая:
- программно-определяемую радиосистему (SDR);
- адаптивный передающий усилитель; и
- хост-компьютер, функционально соединенный с SDR и адаптивным передающим усилителем, при этом хост-компьютер включает в себя центральный процессор и машиночитаемое запоминающее устройство, включающее в себя исполняемые процессором инструкции, которые, при исполнении посредством процессора, инструктируют системе выполнять операции оптимизации, включающие в себя:
- выбор начального импеданса в качестве нагрузочного импеданса для РЧ-устройства;
- итеративное выполнение операций заполнения изображений до тех пор, пока критерий сходимости не будет удовлетворен, при этом операции заполнения изображений включают в себя:
- измерение производительности РЧ-устройства, чтобы получать измеренную производительность, соответствующую нагрузочному импедансу;
- сохранение измеренной производительности в качестве точки на изображении измеренного контура согласования нагрузки;
- выполнение экстраполяции для согласования нагрузки для того, чтобы экстраполировать, из нагрузочного импеданса, прогнозированный импеданс; и
- сохранение прогнозированного импеданса в качестве нагрузочного импеданса для следующей итерации операций заполнения изображений;
- при этом критерии сходимости удовлетворяются, когда разность между прогнозированным импедансом и ближайшим ранее измеренным нагрузочным импедансом меньше предварительно определенного порогового значения.
12. Система с РЧ-устройством по п. 11, в которой выполнение экстраполяции для согласования нагрузки содержит применение градиентного процесса заполнения изображений к генеративной состязательной сети (GAN), обученной на известных контурах согласования нагрузки.
13. Система с РЧ-устройством по п. 12, в которой изображение измеренного контура согласования нагрузки содержит массив пикселов изображения, при этом каждый пиксел представляет соответствующий нагрузочный импеданс.
14. Система с РЧ-устройством по п. 13, в которой операции заполнения изображений включают в себя:
- измерение производительности РЧ-устройства при одном или более дополнительных импедансах; и
- добавление точки, соответствующей каждому из упомянутого одного или более дополнительных импедансов, в изображение измеренного контура согласования нагрузки.
15. Система с РЧ-устройством по п. 14, в которой прогнозированный импеданс соответствует первому пикселу изображения, и при этом один или более дополнительных импедансов соответствуют одному или более дополнительным пикселам, при этом эти один или более пикселов выбираются на основе, по меньшей мере частично, близости к упомянутому первому пикселу изображения.
16. Система с РЧ-устройством по п. 15, в которой один или более дополнительных пикселов содержат один или более пикселов, выбранных из группы пикселов, смежных и окружающих упомянутый первый пиксел изображения.
17. Система с РЧ-устройством по п. 12, в которой GAN включает в себя генеративную сеть и дискриминаторную сеть, и при этом выполнение экстраполяции для согласования нагрузки содержит:
- формирование, с помощью генеративной сети, изображения прогнозированного контура согласования нагрузки;
- определение степени согласованности между точками изображения измеренного контура согласования нагрузки и соответствующими точками изображения прогнозированного контура согласования нагрузки; и
- поиск ввода генеративной сети, формирующего изображение прогнозированного контура согласования нагрузки, которое минимизирует метрику потерь.
18. Система с РЧ-устройством по п. 17, в которой GAN содержит GAN Вассерштейна, и дискриминаторная сеть содержит критикующую сеть, и при этом метрика потерь включает в себя:
- компонент контекстной потери, указывающий подобие между сформированным изображением контура согласования нагрузки и точками изображения измеренного контура согласования нагрузки;
- компонент перцепционной потери, указывающий степень разности между сформированным изображением контура согласования нагрузки и выучиваемым набором данных.
19. Система с РЧ-устройством по п. 12, в которой GAN обучается исключительно на контурах, соответствующих работе устройства в линейном режиме.
20. Система с РЧ-устройством по п. 12, при этом РЧ-устройство содержит когнитивное радарное устройство.
| EGBERT AUSTIN et al., Partial Load-Pull Extrapolation Using Deep Image Completion, 2020 IEEE Texas Symposium on Wireless and Microwave Circuits and Systems (WMCS), XP033813641, опубл | |||
| Прибор для получения стереоскопических впечатлений от двух изображений различного масштаба | 1917 |
|
SU26A1 |
| Печь для непрерывного получения сернистого натрия | 1921 |
|
SU1A1 |
| Устройство для закрепления лыж на раме мотоциклов и велосипедов взамен переднего колеса | 1924 |
|
SU2015A1 |
| Способ восстановления спиралей из вольфрамовой проволоки для электрических ламп накаливания, наполненных газом | 1924 |
|
SU2020A1 |
| Способ приготовления лака | 1924 |
|
SU2011A1 |
| СПОСОБ И СИСТЕМА КОНФИГУРИРОВАНИЯ ИЗМЕРЕНИЙ ДЛЯ ТЕРМИНАЛА, ОБЛАДАЮЩЕГО ВОЗМОЖНОСТЬЮ ПРИЕМА НЕСКОЛЬКИХ РАДИОЧАСТОТ, И ТЕРМИНАЛ | 2017 |
|
RU2750697C1 |
Авторы
Даты
2025-05-28—Публикация
2022-10-17—Подача