1
Изобретение относится к термической обработке деталей типа втулок.
Известно устройство для закалки деталей тяпа втулок, содержащее закалочный бак с конвейером. Недостатком известного устройства является невозможность соблюдения строго регламентированного реж-има о.хлаждения для каждой отдельной детали.
Цель изобретения - исключить указанный недостаток.
Эта цель достигается тем, что над баком установлен спреер, состоящий из неподвижной внешней трубы и подвижного внутреннего сопла, снабженных системой периодической подачи охлаждающей среды. Это позволяет осуществить раздельную подачу охлаждающей среды на наружную и внутреннюю поверхности детали.
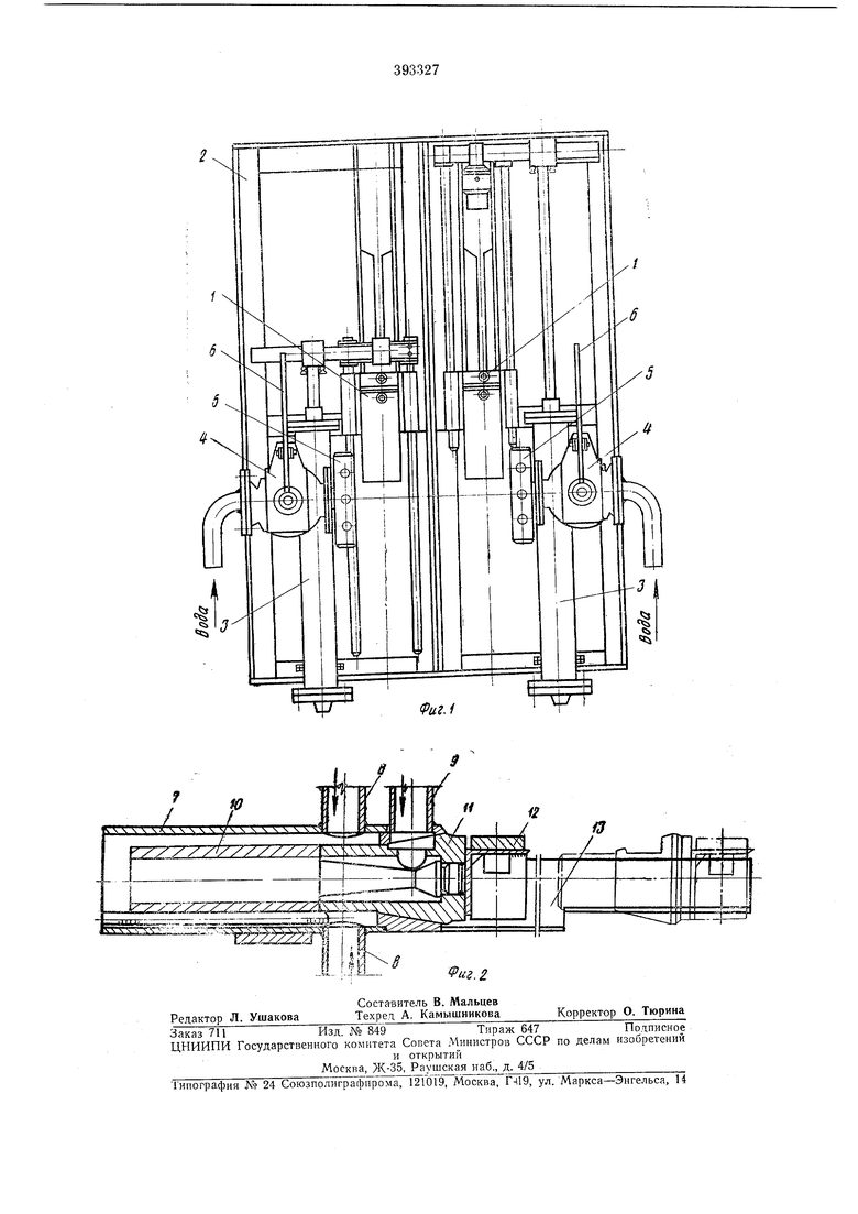
На фиг. 1 изображено предлагаемое устройство, вид в плане; на фиг. 2 - ноперечный разрез снреера.
Устройство содержит две спреерных уста)1овки 1, смонтированные над закалочным баком на раме 2, пневмоцилиндры 3 и клапаны 4 с коллекторами 5 и рычагами открывания 6.
Спреерная установка У состоит из внешней трубы 7 с патрубками 8 и Р подачи охлаждающей среды на деталь 10 и подвижного внутреннего сопла 11, скрепленного со штоком
пневмоцилиндра 5 посредством тяги 12. Приемный лоток /5 деталей 10 соединен с внешней трубой 7. Нагретая деталь 10 попадает на приемный
лоток и пневмоцилиндр 5 посредством подвижного сопла /7 заталкивает деталь во внешнюю трубу 7. Одновременно тяга 12 нажимает на рычаг 6 клапана 4 подачи охлаждающей среды, которая через коллектор 5
распределяется по патрубкам 5 и 5 и поступает на наружную и внутреннюю поверхности деталей. По окончании процесса закалки устройство приходит в исходное положение. Закаленная деталь выталкивается на конвейер
закалочного бака при поступлении во внешнюю трубу 7 следующей нагретой детали.
П р е д .м С т изобретения
20
Устройство для закалки деталей, содержащее закалочный бак с конвейером, отличающееся тем, что, с целью раздельной подачи
охлаждающей среды на наружную и внутреннюю поверхности втулок, над баком установлен спреер, состоящий из неподвижной внешней трубы и .подвижного внутреннего сопла, снабженных системой периодической подачи
охлаждающей среды.
| название | год | авторы | номер документа |
|---|---|---|---|
| Способ термической обработки стальных шаров и устройство для закалки стальных шаров | 2021 |
|
RU2766621C1 |
| Установка для закалки шаров | 1983 |
|
SU1201333A1 |
| Способ и устройство термической обработки шаров | 2016 |
|
RU2634541C1 |
| СПОСОБ ГИБКИ И ОБЪЕМНО-ПОВЕРХНОСТНОЙ ЗАКАЛКИ РЕССОРНЫХ ЛИСТОВ ИЗ СТАЛЕЙ ПОНИЖЕННОЙ ПРОКАЛИВАЕМОСТИ И УСТАНОВКА ДЛЯ ЕГО ОСУЩЕСТВЛЕНИЯ | 2009 |
|
RU2422542C1 |
| Устройство для охлаждения изделий | 1982 |
|
SU1073302A1 |
| Установка для закалки металлических изделий | 2017 |
|
RU2678720C1 |
| УСТРОЙСТВО для ЗАКАЛКИ ДЕТАЛЕЙ | 1971 |
|
SU299555A1 |
| Установка для вакуумной термической и химико-термической обработки изделий и материалов и способ вакуумной закалки металлических изделий | 2024 |
|
RU2827622C1 |
| АВТОМАТИЧЕСКАЯ УСТАНОВКА ДЛЯ ЭЛЕКТРОКОНТАКТНОГО НАГРЕВА И ОХЛАЖДЕНИЯ ИЗДЕЛИЙ | 1973 |
|
SU396377A1 |
| Устройство для введения воды в расплавы солей и щелочей | 1979 |
|
SU789604A1 |
Авторы
Даты
1973-01-01—Публикация