Область техники, к которой относится изобретение
Изобретение относится к выгравированному твердому компоненту для переноса данных, содержащих конкретную информацию, на поверхности выгравированного твердого компонента. Изобретение также относится к способу изготовления такого выгравированного твердого компонента и к способу конфигурирования множества блочных структур модулированных характеристических элементов и/или базовых характеристических элементов, предназначенных для их гравировки на поверхности твердого компонента.
Уровень техники
Европейская публикация ЕР 3437849 настоящего заявителя раскрывает инструмент для тиснения для нанесения комбинированного рисунка тиснения на упаковочный материал, причем комбинированный рисунок тиснения включает в себя декоративные структуры тиснения и по меньшей мере один код тиснения. Инструмент для тиснения включает в себя патричное и матричное устройство тиснения для взаимодействия друг с другом, причем структуры тиснения патричного и матричного устройства тиснения сформированы для получения комбинированного рисунка тиснения на упаковочном материале в зазоре для тиснения. Структуры для тиснения патричного и матричного устройства для тиснения дополнительно включают в себя первые структуры тиснения, предназначенные для изготовления по меньшей мере одного тисненного кода, которые представляют собой обратные конгруэнтные патричные и матричные структуры тиснения, имеющие многогранную форму. Декоративные тисненные структуры и по меньшей мере один тисненный код, полученный с помощью структур тиснения, расположены таким образом, что по меньшей мере один тисненный код имеет пониженную видимость для человеческого глаза. Для достижения этого структуры тиснения, предназначенные для создания декоративных тисненных структур, примыкают к областям кода, содержащим структуры тиснения, для создания тисненного кода. Декоративные области могут последовательно чередоваться с областями кода. Различные коды также могут накладываться друг на друга с помощью различных структур для тиснения кодов. Например, в случае, если тисненая ячейка первого кода находится в том же месте, что и тисненая ячейка второго кода, ячейки могут быть тиснены как полные квадратные ячейки, и в случае, если присутствует только тисненая ячейка второго кода, ячейка может быть тиснена пустым квадратом. Более того, в случае, если присутствует только тисненая ячейка первого кода, ячейка может быть тиснена полным кругом. Следовательно, возможно восстановить два наложенных кода путем идентификации по разделенной поверхности всех тисненых ячеек, принадлежащих первому коду, с одной стороны, и всех тисненых ячеек, принадлежащих второму коду, с другой стороны, даже когда такие тисненые ячейки используются для представления первого кода и второго кода одновременно. Аналогичным образом, можно перекрыть площадь поверхности тисненого кода площадью поверхности декоративного рисунка. Формы тисненых ячеек позволяют определить, используется ли тисненая ячейка для задания тисненого кода, декоративного рисунка или и того, и другого. Только распределение тисненых ячеек, которые принадлежат тисненому коду, т.е. их распределение по поверхности тисненого материала, позволяет восстановить тисненый код.
Международная публикация WO 2020/002970 настоящего заявителя раскрывает способ тиснения, позволяющий модулировать отдельные характеристические элементы и располагать их в виде сетки, посредством чего модулированные отдельные характеристические элементы позволяют получать поверхностно ориентированные видимые оптические эффекты с эстетической целью. Таким образом, описанный способ позволяет получать блестящие и высококачественные результаты в фольгированном материале. В этой публикации не упоминается о кодировании и/или сокрытии информации какими-либо средствами, и, в частности, с помощью модулированных индивидуальных характеристических элементов (характеристических элементов). Кроме того, не требуется никаких особых технических средств для выявления направленных видимых оптических эффектов в свете, отраженном от фольгированного материала, тисненого в соответствии со способом по WO 2020/002970.
Настоящее изобретение направлено на то, чтобы предложить альтернативу для переноса данных, содержащих конкретную информацию, на поверхность выгравированного твердого компонента, в котором переносимые данные смешиваются с эстетическим ансамблем на поверхности, но становятся незаметными для человеческого глаза.
Раскрытие сущности изобретения
В первом аспекте изобретение обеспечивает выгравированный твердый компонент, несущий данные, содержащие конкретную информацию, на поверхности выгравированного твердого компонента. Поверхность покрыта множеством блочных структур, содержащих по меньшей мере первую блочную структуру. Каждая блочная структура представляет собой пространственно ограниченный набор модулированных характеристических элементов и базовых характеристических элементов, которые распределены по поверхности выгравированного твердого компонента. Каждый модулированный характеристический элемент и каждый базовый характеристический элемент имеют соответственно трехмерный профиль модулированного характеристического элемента и трехмерный профиль базового характеристического элемента. Каждый из профилей модулированного характеристического элемента представляет собой результат применения соответствующей модуляции к одному из трехмерных профилей базового характеристического элемента в соответствии с конкретной соответствующей информацией. Каждый модулированный характеристический элемент дополнительно представляет собой символ, который представляет собой транскрипцию буквы алфавита. Алфавит представляет собой набор букв, которые являются отдельными объектами четко заданных элементарных данных. Каждый из базовых характеристических элементов представляет собой выгравированный элементарный трехмерный топографический элемент поверхности. Каждый из модулированных характеристических элементов представляет собой выгравированный трехмерный топографический элемент поверхности. По меньшей мере часть данных транскрибируется с помощью структуры кодового блока модулированных характеристических элементов таким образом, чтобы структура кодового блока образовала по меньшей мере часть блочной структуры, соответствующей по меньшей мере одной части данных. Модулированные характеристические элементы первой блочной структуры расположены в соответствии с первой упорядоченной картой, причем первая упорядоченная карта содержит по меньшей мере первый конечный упорядоченный набор первых положений модулированных характеристических элементов первой структуры кодового блока на поверхности, причем первая блочная структура соответствует первой части данных, и первая упорядоченная карта дополнительно сконфигурирована для размещения модулированных характеристических элементов первой блочной структуры для образования эстетического ансамбля на поверхности и отображения соответствующих символов, которые соответствуют модулированным характеристическим элементам первой структуры кодового блока, незаметных для человеческого глаза, но извлекаемых посредством программно-управляемой комбинации датчика изображения/процессора.
В предпочтительном варианте осуществления выгравированный твердый компонент дополнительно содержит на своей поверхности по меньшей мере одну вторую блочную структуру, представляющую собой второй пространственно ограниченный набор исключительно из множества по меньшей мере одного из базовых характеристических элементов. Базовые характеристические элементы по меньшей мере одной второй блочной структуры расположены на твердой поверхности в соответствии со второй картой, вторая карта представляет собой второй конечный набор положений базовых характеристических элементов на поверхности, вторая карта дополнительно позволяет расположить ее базовые характеристические элементы так, чтобы они образовывали эстетический ансамбль на поверхности.
В другом предпочтительном варианте осуществления выгравированный твердый компонент:
- имеет цилиндрическую симметрию, и
- сконфигурирован как инструмент для переноса модулированных характеристических элементов и/или базовых характеристических элементов на подложку,
причем перенос представляет собой любое из следующего:
придание формы, печать, формование, ручная обработка, прессование и тиснение на подложке или в подложке модулированных характеристических элементов и/или базовых характеристических элементов.
В другом предпочтительном варианте осуществления выгравированный твердый компонент:
- сконфигурирован для использования в качестве формирующего инструмента для переноса модулированных характеристических элементов и/или базовых характеристических элементов на подложку,
причем перенос представляет собой любое из следующего:
печать, формование, обработка, прессование и тиснение на подложке выгравированных модулированных характеристических элементов и/или выгравированных базовых характеристических элементов.
В другом предпочтительном варианте осуществления выгравированный твердый компонент дополнительно содержит множество первых упорядоченных карт и вторых карт, причем множество первых упорядоченных карт и вторых карт расположены по меньшей мере по регулярной сетке.
В другом предпочтительном варианте осуществления выгравированный твердый компонент дополнительно содержит множество первых упорядоченных карт и вторых карт, причем множество первых упорядоченных карт и вторых карт расположены по меньшей мере по рандомизированной сетке.
В другом предпочтительном варианте осуществления выгравированный твердый компонент дополнительно содержит множество первых упорядоченных карт и вторых карт, причем множество первых карт и вторых карт
- сконфигурированы для переноса первых частей данных и образуют по меньшей мере один эстетический ансамбль; и
- расположены таким образом, что положения модулированных характеристических элементов переносимых первых частей данных незаметны для человеческого глаза, но извлекаемы только посредством программно-управляемой комбинации датчика изображения/процессора.
В другом предпочтительном варианте осуществления выгравированный твердый компонент дополнительно содержит по меньшей мере дополнительную первую упорядоченную карту, при этом дополнительная первая упорядоченная карта представляет собой дополнительный конечный набор дополнительных положений модулированных характеристических элементов на поверхности, каждое дополнительное положение представляет собой результат заданного перемещения соответствующего первого положения первой упорядоченной карты, при этом дополнительная первая упорядоченная карта сконфигурирована для задания дополнительной первой блочной структуры, которая не перекрывается с первой блочной структурой, заданной первой упорядоченной картой, и
- или примыкает к первой блочной структуре;
- или отделена от первой блочной структуры заданным расстоянием; или
- в случае, если существует множество дополнительных первых упорядоченных карт, они отделены друг от друга регулярным образом в 2 измерениях.
В другом предпочтительном варианте осуществления выгравированный твердый компонент дополнительно несет третью часть данных на поверхности, соответствующей третьей карте. Третья карта представляет собой третий конечный набор положений модулированных характеристических элементов на поверхности, причем третья карта сконфигурирована для задания третьей блочной структуры, которая не перекрывается с первой блочной структурой, заданной первой картой, и
- или примыкает к первой блочной структуре;
- или отделена от первой блочной структуры заданным расстоянием; или
- в случае, если существует множество третьих карт, они отделены друг от друга и от первой блочной структуры.
Во втором аспекте изобретение обеспечивает способ изготовления выгравированного твердого компонента, выполненного с возможностью переноса данных, содержащих конкретную информацию, на поверхности выгравированного твердого изделия. При этом способ включает в себя:
гравировку (S1) на указанной поверхности множества блочных структур (BS), содержащих по меньшей мере первую блочную структуру, при этом
- каждая блочная структура представляет собой пространственно ограниченный набор модулированных характеристических элементов и базовых характеристических элементов, которые распределены по поверхности выгравированного твердого компонента,
- каждый модулированный характеристический элемент и каждый базовый характеристический элемент имеют соответственно трехмерный профиль модулированного характеристического элемента и трехмерный профиль базового характеристического элемента,
- каждый из профилей модулированного характеристического элемента представляет собой результат применения соответствующей модуляции к одному из трехмерных профилей базового характеристического элемента в соответствии с конкретной соответствующей информацией,
- каждый модулированный характеристический элемент дополнительно представляет собой символ, который представляет собой транскрипцию буквы алфавита,
- алфавит представляет собой набор букв, которые являются отдельными объектами четко заданных элементарных данных,
- каждый из базовых характеристических элементов представляет собой выгравированный элементарный трехмерный топографический элемент поверхности,
- каждый из модулированных характеристических элементов представляет собой выгравированный трехмерный топографический элемент поверхности,
- по меньшей мере часть данных транскрибируется структурой кодового блока модулированных характеристических элементов, таким образом, структура кодового блока, образует по меньшей мере часть блочной структуры, соответствующей по меньшей мере одной части данных,
причем модулированные характеристические элементы первой блочной структуры расположены в соответствии с первой упорядоченной картой, причем первая упорядоченная карта содержит по меньшей мере первый конечный упорядоченный набор первых положений модулированных характеристических элементов первой структуры кодового блока на поверхности, причем первая блочная структура соответствует первой части данных, и
первая упорядоченная карта дополнительно сконфигурирована для размещения модулированных характеристических элементов первой блочной структуры для образования эстетического ансамбля на поверхности и отображения соответствующих символов, которые соответствуют модулированным характеристическим элементам первой структуры кодового блока, незаметных для человеческого глаза, но извлекаемых посредством программно-управляемой комбинации датчика изображения/процессора.
В другом предпочтительном варианте осуществления этап гравировки на поверхности множества блочных структур выполняется любым из следующего:
- (прецизионное) фрезерование,
- лазерная абляция,
- химическая гравировка,
- плазменное травление и
- штамповка.
В третьем аспекте изобретение обеспечивает способ конфигурирования множества блочных структур модулированных характеристических элементов и базовых характеристических элементов, предназначенных для гравировки на поверхности твердого компонента,
причем
каждый модулированный характеристический элемент и каждый базовый характеристический элемент имеют соответственно трехмерный профиль модулированного характеристического элемента и трехмерный профиль базового характеристического элемента, который позволяет выгравировать каждый из модулированных характеристических элементов и каждый из базовых характеристических элементов,
каждая блочная структура содержит соответствующую структуру кодового блока транскрибируемых данных, и
каждая блочная структура представляет собой набор модулированных характеристических элементов и базовых характеристических элементов, сконфигурированных для их распределения по пространственно ограниченной части поверхности.
При этом способ включает в себя:
- создание каждого из профилей модулированных характеристических элементов путем применения соответствующей модуляции посредством модуляторного профиля характеристического элемента к одному из профилей базовых характеристических элементов в соответствии с символом, который представляет собой транскрипцию буквы алфавита, причем алфавит представляет собой набор букв, которые являются отдельными объектами четко заданных элементарных данных,
- транскрибирование по меньшей мере первой части данных для первой структуры кодового блока с помощью профилей модулированных характеристических элементов,
- размещение модулированных характеристических элементов, соответствующих первой структуре кодового блока, по меньшей мере в первой блочной структуре из множества блочных структур, согласно первой упорядоченной карте, причем первая упорядоченная карта представляет собой первый конечный набор положений модулированных характеристических элементов первой структуры кодового блока, и
- конфигурирование модулированных характеристических элементов на первой упорядоченной карте для образования эстетического ансамбля на поверхности и отображения соответствующих символов, которые соответствуют модулированным характеристическим элементам первой структуры кодового блока, незаметных для человеческого глаза для предполагаемой гравировки, но извлекаемых только посредством программно-управляемой комбинации датчика изображения/процессора.
В четвертом аспекте изобретение обеспечивает способ аутентификации изделия с поверхностной структурой посредством прикрепленной информации, связанной с идентификатором, который связан с изделием с поверхностной структурой, при этом идентификатор встроен в структуру кодового блока блочной структуры поверхности изделия. Способ включает в себя следующие этапы:
- захват изображения из блочной структуры изделия с помощью съемочной камеры, которая связана с первым устройством обработки данных;
- анализ захваченного изображения на первом устройстве обработки данных для извлечения идентификатора с помощью первого алгоритма;
- передача идентификатора на второе устройство обработки данных;
- запрашивание базы данных с помощью второго устройства обработки данных для получения доступа к прикрепленной информации, хранящейся в базе данных, причем прикрепленная информация связана с указанным идентификатором; и
- отправка прикрепленной информации на первое устройство обработки данных.
В другом предпочтительном варианте осуществления способ аутентификации изделия дополнительно включает в себя этапы:
- после этапа запрашивания, проверка того, указывает ли прикрепленная информация то, что изделие с поверхностной структурой подвержено подделке, и запрашивание вторым устройством обработки данных данных изображения от первого устройства обработки данных; и
- анализ захваченного изображения на втором устройстве обработки данных для извлечения дополнительной информации из структуры кодового блока с помощью второго алгоритма аналитической (судебной) экспертизы структуры кодового блока, который отличается от первого алгоритма.
В другом предпочтительном варианте осуществления способа аутентификации изделия:
- проверка выполняется по меньшей мере на одном из первого и второго устройств обработки данных,
- запрашивание вторым устройством обработки данных предназначено для захвата другого изображения съемочной камерой первого устройства обработки данных, причем другое изображение имеет улучшенное качество изображения по сравнению с указанным захваченным изображением, и
- анализ выполняется на другом изображении.
В другом предпочтительном варианте осуществления этап анализа дополнительно включает в себя:
- фильтрацию изображения для удаления по меньшей мере одного из следующего: артефакты, шум, геометрическое искажение и неравномерность освещения, для получения отфильтрованного изображения;
- выполнение извлечения сетки для отфильтрованного изображения, при этом сетку накладывают поверх отфильтрованного изображения, чтобы она служила в качестве опорной системы координат;
- обнаружение рисунка синхронизации с помощью информации, выровненной по сетке;
- обнаружение по меньшей мере одного символа на основе положения рисунка синхронизации; и
- декодирование идентификатора по меньшей мере из одного символа на основе функции картирования.
В другом предпочтительном варианте осуществления способ аутентификации изделия дополнительно включает в себя:
- извлечение аутентификационной информации, связанной с захваченным изображением, причем аутентификационная информация является уникальной для захваченного изображения;и
- отправка аутентификационной информации на второе устройство обработки данных.
Одно частное преимущество изобретения заключается в том, что оно обеспечивает сравнительно более высокую плотность информации для передачи данных, по сравнению, например, с известным из уровня техники решением ЕР 3437849, обсуждаемым в настоящем документе выше.
Краткое описание чертежей
Изобретение будет лучше понято через описание вариантов осуществления и со ссылкой на чертежи, на которых показано следующее.
На фигуре 1 приведены графики, используемые для иллюстрации задания систем координат;
На фигуре 2 приведена иллюстрация примеров характеристических элементов в соответствии с изобретением;
На фигуре 3 проиллюстрирован пример упорядоченной карты характеристических элементов на регулярной сетке в соответствии с изобретением;
На фигуре 4 проиллюстрирован пример упорядоченной карты характеристических элементов на рандомизированной сетке в соответствии с изобретением;
На фигуре 5 проиллюстрирован другой пример упорядоченной карты характеристических элементов на регулярной сетке в соответствии с изобретением;
На фигурах 6-9 проиллюстрированы структуры кодового блока, выбранные из упорядоченной карты характеристических элементов в соответствии с примерами изобретения;
На фигурах 10, 11 проиллюстрирован соответственно пример базового характеристического элемента и соответствующего модулированного характеристического элемента в соответствии с изобретением;
На фигуре 12 схематично показана мультипликативная модуляция в соответствии с примерами изобретения;
На фигуре 13 схематично показана модуляция z-смещения в соответствии с примером изобретения;
На фигуре 14 схематично показана масштабированная модуляция z-смещения в соответствии с другим примером изобретения;
На фигуре 15 схематично показана аддитивная модуляция в соответствии с примерами изобретения;
На фигуре 16 схематично показана модуляция ху-смещения в соответствии с другим примером изобретения;
На фигуре 17 проиллюстрирована часть поверхности инструмента или изделия с поверхностной структурой, покрытая множеством блочных структур, в соответствии с примером изобретения;
На фигуре 18 проиллюстрирован пример синхронизированной установки для тиснения с использованием твердых компонентов в соответствии с изобретением;
На фигуре 19 проиллюстрирован пример твердого объекта в форме изделия с поверхностной структурой в соответствии с примером осуществления изобретения;
На фигуре 20 проиллюстрирован пример осуществления упорядоченной карты для блочной структуры с модулированными характеристическими элементами и базовыми характеристическими элементами, в соответствии с изобретением;
На фигуре 21 показана структура кодового блока, основанная на упорядоченной карте на фигуре 20;
На фигурах 22A-D показаны четыре (4) примера реализации изделий из тисненой фольги;
На фигуре 23 проиллюстрирован пример изделия с поверхностной структурой с выгравированными блочными структурами в соответствии с изобретением;
На фигуре 24 проиллюстрирована синхронизированная установка для тиснения с опциональной быстро заменяемой кассетой и изделие из тисненой фольги в соответствии с примером осуществления изобретения;
На фигуре 25 проиллюстрирована дополнительная синхронизированная установка для тиснения с еще одним примером изделия из тисненой фольги в соответствии с вариантом осуществления изобретения;
На фигуре 26 проиллюстрирован пример установки для считывания модулированных характеристических элементов из блочных структур, тисненых на изделии из фольги в соответствии с вариантом осуществления изобретения;
На фигуре 27 проиллюстрирован дополнительный пример установки для считывания модулированных характеристических элементов в соответствии с вариантом осуществления изобретения;
На фигуре 28 проиллюстрирован пример использования блочной структуры в соответствии с изобретением;
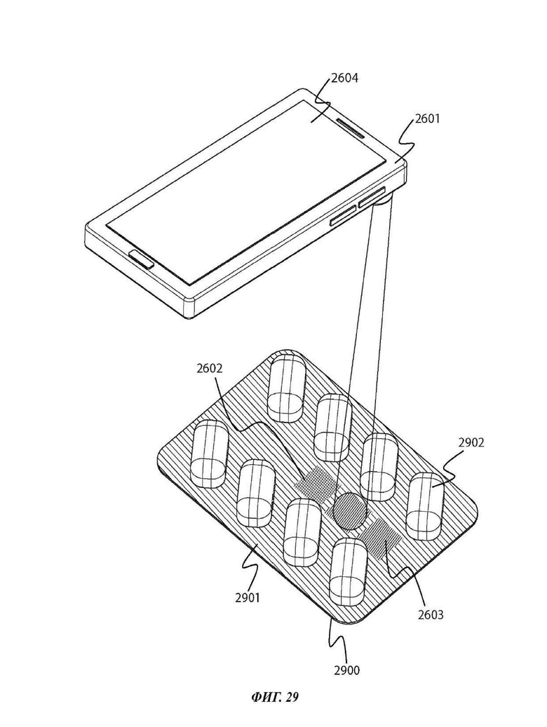
На фигуре 29 проиллюстрирован пример использования блочной структуры в соответствии с изобретением;
На фигуре 30 проиллюстрирован пример использования блочной структуры в соответствии с изобретением;
Фигура 31 содержит блок-схему, иллюстрирующую способ изготовления выгравированного твердого компонента в соответствии с вариантом осуществления изобретения;
Фигура 32 содержит блок-схему, иллюстрирующую способ конфигурирования множества блочных структур модулированных характеристических элементов и базовых характеристических элементов, предназначенных для гравировки на поверхности твердого компонента в соответствии с примером осуществления изобретения;
На фигуре 33 проиллюстрировано примерное схематическое и упрощенное представление системы для считывания, извлечения и сопоставления идентификатора или кода с целью, например, аутентификации;
На фигуре 34 показано схематическое представление соответствующего способа, который может быть выполнен в системе в соответствии с фигурой 34;
На фигуре 35 показана примерная блок-схема этапов, которые могут быть выполнены, когда приложение смартфона может обрабатывать полученные данные изображения для извлечения идентификатора или кода; и
На фигурах 36А/В продемонстрированы два микроскопических изображения поверхности инструмента в качестве практического примера наличия базовых характеристических элементов и модулированных характеристических элементов рядом друг с другом.
Одни и те же позиции будут использоваться для обозначения одних и тех же или похожих признаков на всех чертежах.
Глоссарий
Касательно подложки
- профиль характеристического элемента: описание трехмерного топографического профиля, предназначенного для гравировки на поверхности твердого компонента или для переноса на подложку; профиль характеристического элемента может быть описан заданной функцией z=f (х,у) и имеет ограниченный размер, обычно меньше 0,5 мм во всех трех измерениях;
- базовый характеристический элемент: выгравированный элементарный трехмерный топографический элемент, выгравированный на поверхности твердого компонента. Базовый характеристический элемент имеет профиль базового характеристического элемента;
- модулированный характеристический элемент: выгравированный трехмерный топографический элемент, чей трехмерный профиль модулированного характеристического элемента является результатом применения профиля характеристического элемента посредством оператора, т.е. модулятора, к профилю базового характеристического элемента;
- карта: конечный набор положений на поверхности твердого компонента или подложки, задающий местоположения базовых характеристических элементов и модулированных характеристических элементов;
- блочная структура: пространственно ограниченный набор базовых характеристических элементов и/или модулированных характеристических элементов, которые распределены по поверхности твердого компонента или подложки в соответствии с упорядоченной картой;
- декорация: блочная структура, которая используется именно для создания визуального впечатления или тактильной реакции.
Касательно переноса
- перенос: любое из, например, придания формы, печати, формования, ручной обработки, прессования и тиснения на подложке по меньшей мере трехмерного топографического элемента, сформированного на твердом компоненте;
- инструмент: материальная деталь, имеющая базовые характеристические элементы и/или модулированные характеристические элементы по меньшей мере на одной поверхности, выполненная из такого материала как, например, металл, керамика, в объемной или слоистой форме, и предназначенная для переноса ее поверхностной структуры на другой материал;
- валок: инструмент, характеризующийся цилиндрической симметрией и размерами, например, длиной <5 м и диаметром <1 м, профилированный базовыми характеристическими элементами и/или модулированными характеристическими элементами на его боковой поверхности;
- патричные/матричные валки: набор синхронизированных профилированных валков, имеющих обратно-конгруэнтные базовые характеристические элементы и/или модулированные характеристические элементы на их соответствующих боковых поверхностях;
- тиснение: процесс переноса характеристических элементов по меньшей мере с одного валка или с инструмента на текучую или твердую подложку или на другой твердый компонент.
Касательно кодирования
- структура кодового блока: блочная структура с модулированными характеристическими элементами, которая используется именно для представления данных, содержащих конкретную информацию;
- буква: отдельный объект алфавита;
- алфавит: четко заданный набор различных букв, например, различных элементарных данных;
- модуляция: конкретная операция, преобразующая букву в соответствующий трехмерный профиль характеристического элемента, предназначенный для гравировки;
- символ: трехмерный профиль характеристического элемента, который является результатом модуляции;
- массив символов: массив N×M символов, где N и М - целые числа.
Осуществление изобретения
Патентные публикации, описанные в приведенном выше разделе "Уровень техники", раскрывают использование рисунка характеристических элементов с целью сатинирования фольги или бумаги и достижения этим эстетического, декоративного эффекта. Рисунок может представлять собой обычный рисунок тиснения, который наносится на поверхность твердого компонента с целью тиснения характеристических элементов рисунка на фольге или бумаге посредством твердого компонента.
Для удобства, в дальнейшем мы будем ссылаться на изделие из фольги при обозначении металлической фольги, полимерной пленки, бумаги, ламинированной бумаги или гибридов, картона или другого тонколистового изделия, подлежащего тиснению толщиной <900 мкм.
В более общем плане, в области тиснения и применительно к настоящему изобретению, под картой будем понимать конечный набор положений на поверхности твердого компонента или подложки, задающий местоположения базовых характеристических элементов и модулированных характеристических элементов, т.е. трехмерных структур, на поверхности твердого компонента или подложки. Карта может быть основой для размещения характеристических элементов в виде блочной структуры на поверхности твердого компонента или подложки.
Изготовление таких характеристических элементов на поверхности твердого компонента может включать в себя различные инструменты и способы гравировки, такие как, например, лазерная гравировка, лазерная абляция, химическая гравировка, плазменное травление, штамповка, фрезерование и т.д.
Твердый компонент может, например, быть реализован в виде инструмента, такого как набор из первого вращающегося валка и второго вращающегося валка, причем первый валок содержит один или более характеристических элементов в виде углублений на поверхности первого валка, а второй валок содержит соответствующие перевернутые конгруэнтные элементы в виде выступов на поверхности второго валка. В таком случае первый валок может быть обозначен как матричный валок, а второй валок - как патричный валок. Следовательно, когда изделие из фольги подается в зазор между первым валком и вторым валком для тиснения, в каждый элемент в форме полости проникает соответствующий выступающий и конгруэнтный ему элемент второго валка, тем самым модифицируя структуру изделия из фольги путем изменения вектора нормали к поверхности изделия из фольги.
Другой вариант осуществления твердого компонента может представлять собой литейную форму.
В еще одном неограничивающем варианте осуществления элементы могут быть выгравированы непосредственно на изделии потребителя, а не изготавливаться на инструменте.
Здесь поверхностно структурированное изделие следует понимать как ориентированное на потребителя изделие, в отличие от инструмента, используемого для изготовления изделия с поверхностной структурой, которое имеет описанную блочную структуру характеристических элементов.
Далее мы определим, относительно поверхности, несущей один или более базовых и/или модулированных характеристических элементов, системы координат, в которых ось z выровнена по нормали к поверхности подложки, ось х является касательной к поверхности, а ось у является результатом векторного произведения между х и z, так что образуется ортогональное пространство. На фигуре 1 проиллюстрированы системы координат. Схематически базовая поверхность 100 окружает характеристический элемент 101, который проявляется в модификации структуры базовой поверхности 100. Проиллюстрированы два примера векторов нормали к поверхности характеристического элемента 101 и соответствующих оси z 102 и оси z 103: ось z 102 предназначена для указания верхнего положения, а ось z 103 предназначена для указания бокового положения на характеристическом элементе 101, соответственно.
Соображения по поводу карты
В известной конфигурации множество характеристических элементов могут быть выровнены в шахматном порядке на поверхности инструмента или изделия с поверхностной структурой, т.е. выровнены вдоль двумерной сетки, так что множество характеристических элементов образуют в значительной степени однородную область на поверхности. Другими словами, множество характеристических элементов охватывают соответствующую область постоянным регулярным образом. Набор из множества объектов, выровненных таким образом, соответствует положениям, содержащимся в карте. Более конкретно, карта определяется как конечный набор положений на поверхности твердого компонента подложки, например, набор положений (х, у), где х и у определены в однородной двумерной сетке, таким образом определяя местоположения характеристических элементов. Положения могут соответствовать, например, расположению геометрического центра отпечатка соответствующих характеристических элементов на поверхности.
В примере осуществления изобретения, описанном в настоящем документе, характеристические элементы могут иметь как положительную полярность, так и отрицательную полярность и называться соответственно положительным характеристическим элементом и отрицательным характеристическим элементом. Под положительной полярностью подразумевается, что средняя z-составляющая положительного характеристического элемента больше, чем z=0 этого характеристического элемента, а под отрицательной полярностью подразумевается, что средняя z-составляющая отрицательного характеристического элемента меньше, чем z=0 этого характеристического элемента. Z=0 любого из характеристических элементов обычно определяется как положение z, в котором сечение (х, у), образованное пересечением горизонтальной плоскости относительно направления z с характеристическим элементом, имеет наибольшую поверхность. Другой способ задания z=0 заключается в том, что z=0 соответствует базовой поверхности твердого компонента.
Карта может содержать положения положительных и отрицательных характеристических элементов, которые последовательно чередуются и расположены в шахматном порядке. Это означает, что каждый положительный характеристический элемент окружен четырьмя (4), непосредственно соседствующими отрицательными характеристическими элементами, и наоборот, за исключением тех характеристических элементов, которые расположены на границе или по периметру карты. В этом случае блочная структура, соответствующая карте, называется "выпукло-вогнутым тиснением". Однако в другом примере осуществления карта может содержать только положительные характеристические элементы, и в этом случае блочная структура, соответствующая карте, называется "выпукло-выпуклым тиснением". В еще одном другом примере осуществления карта может содержать только отрицательные характеристические элементы, и в этом случае блочная структура, соответствующая карте, называется "вогнуто-вогнутым тиснением". В еще одном варианте осуществления карта может содержать положительные и отрицательные характеристические элементы, которые встречаются с одной или более последовательностями полярности, которые являются более сложными, чем объяснено выше в этом абзаце, или даже псевдослучайными.
В предпочтительном варианте осуществления изобретения характеристические элементы имеют общие поперечные размеры в плоскости (х,у) твердого компонента в диапазоне от 5 мкм до 250 мкм и высоты вдоль оси z твердого компонента в диапазоне от 5 мкм до 250 мкм. Характеристические элементы предназначены для изменения свойств оптического отражения изделия с поверхностной структурой путем локального изменения нормали поверхности.
На фигуре 2 схематично проиллюстрированы примеры характеристических элементов, которые могут рассматриваться как базовые характеристические элементы, такие как (а) усеченная пирамида с квадратным основанием, (b) усеченная пирамида с прямоугольным основанием, (с) усеченный четырехугольник, (d) усеченный пятиугольник и (е) полусфера. Эти примеры являются неограничивающими, и также могут быть рассмотрены другие формы, такими как не усеченные версии или истощенная усеченная полусфера (не показана на фигуре 2). В более общем случае, характеристический элемент может быть описан математической функцией z=f(x, у), где ось z выровнена по нормали к поверхности твердого компонента (или подложки).
В настоящем изобретении поднабор положений на упорядоченной карте может использоваться для представления цифровых данных, содержащих конкретную информацию. Блочная структура, соответствующая этому поднабору, может быть определена как структура кодового блока. И наоборот, структура кодового блока - это блочная структура с модулированными характеристическими элементами, положения которых включены в упорядоченную карту.
В предпочтительном варианте осуществления изобретения выгравированный символ рассматривается как отдельный элемент структуры кодового блока, полученный путем модуляции, т.е. транскрибирования профиля буквы алфавита, в базовом характеристическом элементе для получения модулированного характеристического элемента.
Следует отметить, что структура кодового блока не обязательно может быть упакована так плотно, как карта, причем плотность представляет собой количество модулированных характеристических элементов структуры кодового блока на единицу поверхности. Например, обычно, но не обязательно всегда, в случае карты с "выпукло-вогнутым тиснением" структура кодового блока содержит только характеристические элементы одной полярности. В картах с "выпукло-выпуклым тиснением" или "вогнуто-вогнутым тиснением" обычно структура кодового блока соответствует под набору карты, который упакован более плотно, чем сама карта, причем каждый характеристический элемент структуры кодового блока модулирует один или несколько букв в символ.
На фигурах 3-9 продемонстрировано, как положения характеристических элементов, соответствующих структуре кодового блока, могут быть выбраны из карты в различных случаях. Для удобства мы просто будем использовать в дальнейшем термин структура кодового блока для обозначения конкретных положений конкретных характеристических элементов, соответствующих этой структуре кодового блока.
На фигуре 3 проиллюстрирован пример карты 300, в которой не выбрана структура кодового блока. На фигуре 3 проиллюстрирован конечный набор положений 301 на поверхности твердого компонента или подложки, при этом поверхность и твердый компонент или подложка не проиллюстрированы. Любое положение на поверхности может быть выражено в системе 305 координат. Положения 301 являются положениями характеристических элементов, т.е. в примере на фиг. 3 первый тип характеристического элемента 302 показан белыми кругами, а второй тип характеристического элемента 303 показан текстурированными кругами. Характеристический элемент 302 может быть отрицательной полярности, в то время как характеристический элемент 303 может быть положительной полярности. На карте 300 первый тип характеристических элементов 302 и второй тип характеристических элементов 303 размещены вдоль регулярной сетки 304, что означает, что характеристические элементы 302 и характеристические элементы 303 расположены на регулярной сетке 304, каждый из характеристических элементов всегда имеет одинаковое расстояние от своих соседних характеристических элементов, независимо от того, где в сетке они расположены. Регулярная сетка 304 на фиг. 3 построена со строками, перпендикулярными столбцам, и имеет размер в четыре строки и четыре столбца. Таблица 1 содержит всю информацию карты 300, включая для каждой из 16 характеристических элементов 301 набор координат в системе 305 координат и его тип. Координаты для каждого характеристического элемента 301 относятся к центру характеристического элемента, в данном примере к центру окружности.
На фигуре 4 проиллюстрирован пример карты 400, в которой не выбрана структура кодового блока. На фигуре 4 проиллюстрирован конечный набор положений 401 на поверхности твердого компонента или подложки, при этом поверхность и твердый компонент или подложка не проиллюстрированы. Любое положение на поверхности может быть выражено в системе 404 координат. Положения 401 являются положениями характеристических элементов, которые, подобно тому, как показано на фиг. 3, могут относиться к характеристическому элементу 402 первого типа, проиллюстрированного белыми кругами, и к характеристическому элементу 403 второго типа, проиллюстрированного текстурированными кругами. Первый тип характеристического элемента 402 может быть отрицательной полярности, в то время как второй тип характеристического элемента 403 может быть положительной полярности. Карта 400 расположена вдоль рандомизированной сетки. Характеристические элементы 402 и 403 расположены на расстояниях от своих соседних характеристических элементов, которые зависят от рандомизированного положения, которое они соответственно занимают в рандомизированной сетке.
На фигуре 5 проиллюстрирован еще один пример карты 500, на которой характеристические элементы 501 расположены вдоль регулярной сетки 503, но, в отличие от фиг. 3, строки и столбцы, в которых расположены характеристические элементы 501, не перпендикулярны. Строки параллельны друг другу, и столбцы также параллельны друг другу. Любое положение на поверхности может быть выражено в системе 502 координат, в которой оси х и у удобно ориентированы в соответствии со строками и столбцами.
На фигуре 6 проиллюстрирована структура 600 кодового блока. В этом случае структура 600 кодового блока собирает смежные характеристические элементы, выбранные из упорядоченной карты 603 характеристических элементов 601, упорядоченных в регулярной сетке. Любое положение на поверхности может быть выражено в системе 602 координат. Структура 600 кодового блока содержит девять (9) характеристических элементов, которым присвоены идентификаторы кодовых характеристических элементов (0,0), (1,0), (2,0), (0,1), (1,1), (2,1), (0,2), (1,2) и (2,2). Структура 600 кодового блока содержит характеристические элементы первого типа, проиллюстрированные белыми кругами, и характеристические элементы второго типа, проиллюстрированные текстурированными кругами, точно так же, как остальные характеристические элементы упорядоченной карты 603. Однако характеристические элементы структуры 600 кодового блока могут содержать модулированные характеристические элементы, каждый из которых соответствует символу, который является транскрипцией буквы алфавита. Модулированные характеристические элементы могут быть представлены, например, только текстурированными кругами, которые потенциально являются всеми текстурированными кругами структуры 600 кодового блока, или поднабором текстурированных кругов структуры кодового блока. В качестве альтернативы, модулированные характеристические элементы могут быть представлены только белыми кругами. Согласно другой альтернативе, модулированные характеристические элементы могут быть представлены текстурированными кругами и белыми кругами. В некоторых случаях модулированный характеристический элемент может фактически соответствовать базовому характеристическому элементу, и, следовательно, он может быть задан предпочтительно так, чтобы не соответствовать какому-либо символу. Предположим для примера, что используемый алфавит является латинским алфавитом, содержащим буквы а, b, с, d, …, х, у, z, тогда любой модулированный характеристический элемент может соответствовать символу, который является транскрипцией одного из этих букв. Предположим далее, например, что модулированные характеристические элементы представлены текстурированными кругами, имеющими идентификаторы кодовых характеристических элементов (0,0), (2,0), (1,1), (0,2) и (2,2), и модулированные характеристические элементы упорядочены в том же порядке появления, что и указано в последнем списке, тогда можно использовать модулированные характеристические элементы для передачи данных, таких как слово «echos» («эхо»), состоящее из последовательности символов, соответствующих буквам е, с, h, о и s. Таблица 2 содержит выдержку из карты 603, описывающую, как слово «echos» размещено на упорядоченной карте 603.
Как можно прочитать в таблице 2, характеристические элементы с номерами 10, 12, 18, 23 и 25 являются модулированными характеристическими элементами, представляющими символы для букв е, с, h, о и s. Эти характеристические элементы имеют идентификаторы кодовых характеристических элементов и являются частью структуры 600 кодового блока. Остальные характеристические элементы структуры кодового блока являются базовыми характеристическими элементами и не представляют никаких символов. Характеристические элементы за пределами структуры 600 кодового блока имеют аналогичный структурный и визуальный вид, как и характеристические элементы из структуры 600 кодового блока, однако не содержат модулированных характеристических элементов, из характеристических элементов, представленных текстурированными кругами.
Плотность упаковки структуры 600 кодового блока является максимальной для карты на фиг. 6, что означает, что каждый характеристический элемент 601 структуры 600 кодового блока примыкает по меньшей мере к другому характеристическому элементу 601 структуры 600 кодового блока.
На фигуре 7 проиллюстрирована структура 700.1-700.9 кодового блока, выбранная из упорядоченной карты характеристических элементов 701 в регулярной сетке, аналогичной регулярной сетке, представленной на фигуре 6. Аналогично тому, что показано на фигуре 6, структура 700.1-700.9 кодового блока содержит 9 характеристических элементов, которым присвоены идентификаторы кодовых характеристических элементов (0,0), (1,0), (2,0), (0,1), (1,1), (2,1), (0,2), (1,2) и (2,2). Однако все характеристические элементы структуры 700.1-700.9 кодового блока относятся к одному типу, проиллюстрированному здесь текстурированным кругом. Каждый характеристический элемент структуры 700.1-700.9 кодового блока отделен от ближайшего к нему характеристического элемента структуры кодового блока по меньшей мере другим характеристическим элементом 701 карты, который не является частью структуры 700.1-700.9 кодового блока. Следовательно, плотность характеристических элементов структуры 700.1-700.9 кодового блока меньше, чем плотность характеристических элементов структуры 600 кодового блока на фиг. 6, что означает, что на единицу площади поверхности, на которой предполагается разместить карту, приходится меньше характеристических элементов структуры кодового блока.
На фигуре 8 проиллюстрирована структура 800.1-800.9 кодового блока, выбранная из упорядоченной карты характеристических элементов 801 в регулярной сетке, аналогичной регулярным сеткам на фигурах 6 и 7. Структура 800.1-800.9 кодового блока содержит девять (9) характеристических элементов, которым присвоены идентификаторы кодовых характеристических элементов (0,0), (1,0), (2,0), (0,1), (1,1), (2,1), (0,2), (1,2) и (2,2). Как и на фигуре 7, все характеристические элементы структуры кодового блока представляют собой характеристические элементы одного типа, проиллюстрированные здесь текстурированным кругом. В отличие от фигуры 7, характеристические элементы (0,0), (0,1) и (0,2), которые на фигуре 7 принадлежат одному столбцу, на фигуре 8 не принадлежат одному столбцу и поэтому считаются не выровненными по сетке.
На фигуре 9 проиллюстрирована структура 900.1-900.9 кодового блока, выбранная из упорядоченной карты характеристических элементов 901 в регулярной сетке, аналогичной обычным сеткам, которые уже встречались на фигурах 6-8. Структура 900.1-900.9 кодового блока содержит девять (9) характеристических элементов, которым присвоены идентификаторы кодовых характеристических элементов (0,0), (1,0), (2,0), (0,1), (1,1), (2,1), (0,2), (1,2) и (2,2), как на фигурах 7 и 8, все характеристические элементы структуры кодового блока относятся к одному типу, проиллюстрированному здесь текстурированным кругом. В примере на фигуре 9 характеристические элементы выровнены по сетке, но, в отличие от фигуры 7, строки характеристических элементов из структуры кодового блока на фигуре 9 выровнены по сетке по линиям под углом 45° относительно строк, изображенных на фигуре 7.
В предпочтительном варианте осуществления настоящего изобретения сама структура кодового блока выравнивается по двумерной сетке, такой как те, которые изображены на фигурах 3, 5, 6, 7, 8, и 9 и в отличие от того, что изображено на фигуре 4. В последнем случае выгравированные характеристические элементы расположены случайным (рандомизированным) образом.
Характеристические элементы, содержащиеся в структуре кодового блока, предпочтительно являются модулированными характеристическими элементами и базовыми характеристическими элементами. Каждый модулированный характеристический элемент и каждый базовый характеристический элемент имеют соответственно трехмерный профиль модулированного характеристического элемента и трехмерный профиль базового характеристического элемента. Каждый из профилей модулированного характеристического элемента представляет собой результат применения соответствующей модуляции к одному из трехмерных профилей базового характеристического элемента в соответствии с конкретной соответствующей информацией. В этом смысле и при использовании для транскрибирования данных в структуре кодового блока, каждый модулированный характеристический элемент является символом, который, в свою очередь, является транскрипцией буквы алфавита. Алфавит представляет собой набор букв, которые являются отдельными объектами четко заданных элементарных данных. Другими словами, модулированные характеристические элементы используются в качестве символов для кодирования данных, и затем они включаются в структуру кодового блока. Таким образом, по меньшей мере часть данных транскрибируется структурой кодового блока модулированных характеристических элементов. В конечном счете, структура кодового блока образует блочную структуру, соответствующую по меньшей мере одной части данных.
Модулированные характеристические элементы, которые являются частью блочной структуры, расположены в соответствии с упорядоченной картой. Это способ, который позволяет узнать, где каждый из модулированных характеристических элементов может быть найден на выгравированном твердом компоненте, чтобы воссоздать и обнаружить символы, используемые в структуре кодового блока, и, следовательно, восстановить данные, перенесенные на поверхность твердого компонента. В предпочтительном варианте осуществления структура кодового блока, состоящая, например, из 33 строк и 33 столбцов, содержит внутри себя небольшой набор, например, из 64 модулированных характеристических элементов, которые представляют определенный рисунок, который может быть рисунком синхронизации. Эти модулированные характеристические элементы могут быть конкретными символами алфавита, однако в настоящем примере эти модулированные характеристические элементы не используются для кодирования самих данных. Во время оптического считывания структуры кодового блока датчик изображения получает изображение; изображение передается впоследствии в процессор обработки изображений; затем процессор обработки изображений анализирует полученное изображение и соотносит рисунок синхронизации в нем с рисунком синхронизации конкретного приложения, чтобы определить опорную точку или начало координат для операции декодирования. Процессор обработки изображений запрограммирован таким образом, что после того, как он соотносит рисунок синхронизации, он знает, где модулированные характеристические элементы, т.е. символы, могут быть найдены на выгравированном твердом компоненте, и начинает обнаруживать / демодулировать символы, используемые в структуре кодового блока, декодирует вновь упорядоченную информацию и, следовательно, восстанавливает информацию на поверхности твердого компонента.
На фигуре 10 показан пример базового характеристического элемента 1000 и соответствующего модулированного характеристического элемента 1001, который может быть получен после применения модуляции к базовому характеристическому элементу 1000 (операция модуляции не проиллюстрирована на фиг. 10). Базовый характеристический элемент может рассматриваться как элементарный компонент блочной структуры. Как объяснено в приведенном выше глоссарии, базовый характеристический элемент представляет собой выгравированный элементарный трехмерный топографический элемент, выгравированный на поверхности твердого компонента. В примере на фиг. 10 базовый характеристический элемент 1000 схематически проиллюстрирован как положительный характеристический элемент, имеющий форму полусферы. Модулированный характеристический элемент может пониматься как базовый характеристический элемент, к которому была применена функция модуляции, причем модуляция представляет собой, в смысле настоящего изобретения, акт преднамеренного транскрибирования буквы алфавита в управляемую физическую трехмерную топографическую структуру. Снова обратимся к глоссарию, в соответствии с которым модулированный характеристический элемент представляет собой выгравированный трехмерный топографический элемент, чей трехмерный профиль модулированного характеристического элемента является результатом применения профиля характеристического элемента посредством конкретной операции, т.е. модуляции к профилю базового характеристического элемента. В очень простом случае, не проиллюстрированном на фигуре 10, профиль характеристического элемента может не влиять на изменение базового характеристического элемента, и, следовательно, модулированный характеристический элемент может быть идентичен исходному базовому характеристическому элементу. Однако в примере на фиг.10 модуляция имеет эффект добавления множества полуконусов 1002 к базовому характеристическому элементу 1000 в виде полусферы.
На фигуре 11 показан тот же пример базового характеристического элемента 1000, что и на фигуре 10, и соответствующего модулированного характеристического элемента 1101, который может быть получен после применения модуляции к базовому характеристическому элементу 1000 (операция модуляции не проиллюстрирована на фиг. 11). Модуляция имеет эффект добавления кратера 1102 к базовому характеристическому элементу 1000 в виде полусферы.
В соответствии с настоящим изобретением модуляцию базового характеристического элемента можно сделать сравнительно как можно более слабой, как будет объяснено ниже. В этом контексте термин "слабый" означает, что двумерный интеграл по всему характеристическому элементу разности углов между нормалью модулированного характеристического элемента и нормалью базового характеристического элемента на поверхностно структурированном изделии находится ниже определенного порога возможностей человеческого зрения. Цель состоит в том, чтобы сгенерировать модификацию базового характеристического элемента таким образом, чтобы взаимодействие между падающим светом и модулированным характеристическим элементом выглядело очень похоже на взаимодействие между падающим светом и базовым характеристическим элементом в поле зрения человеческого глаза. В такой конфигурации при большинстве условий освещения модулированные характеристические элементы выглядят очень похожими на базовые характеристические элементы, и поэтому соответствующие символы, которые соответствуют модулированным характеристическим элементам в структуре кодового блока модулированных характеристических элементов, незаметны для человеческого глаза. Однако, если соответствующее изображение структуры кодового блока, содержащей модулированные характеристические элементы, получено цифровой съемочной камерой и впоследствии обработано с использованием компьютеризированной системы, такой как, например, смартфон, планшет, ПК, встроенный контроллер, возможно выявить исходную информацию, содержащуюся в структуре кодового блока изображения. В дополнение к тому, что модулированные характеристические элементы выглядят очень похожими на базовые характеристические элементы, ряд дополнительных факторов еще больше затрудняет дифференциацию обнаружения модулированных характеристических элементов от обнаружения базовых характеристических элементов. Эти дополнительные факторы включают в себя, например:
• рассеянное освещение;
• колебания амплитуды отраженного света между светом, отраженным модулированным характеристическим элементом, и светом, отраженным базовым характеристическим элементом, ниже порога, воспринимаемого человеческим глазом;
• затмение отражения, возникающего от модулированных характеристических элементов, отражениями, создаваемыми возможными другими окружающими базовыми характеристическими элементами, модулированными характеристическими элементами и поверхностями;
• цветозависимая чувствительность человеческого глаза.
В то же время, как отдельные модулированные характеристические элементы передают информацию способом, незаметным для человеческого глаза, множество модулированных характеристических элементов также может использоваться само по себе или вместе с базовыми характеристическими элементами для создания эстетического ансамбля, воспринимаемого человеческим глазом. Таким эстетическим ансамблем может быть, например, поверхность изделия с поверхностной структурой или твердый компонент, который определяет, например, логотип, повторяющийся мотив или графическое представление объекта.
Как правило, путем добавления избыточности в форме, например, кода с упреждающим исправлением ошибок (FEC, от англ. forward error-correcting), структура кодового блока может быть сконструирована таким образом, что исходная информация, закодированная в структуру кодового блока, все еще может быть восстановлена, если происходит любое из следующего:
• идеальная надежность при считывании модулированных характеристических элементов недостижима;
• модулированные характеристические элементы структуры кодового блока стерты, т.е. заменены другим рельефным мотивом, который не несет структуры кодового блока;
• в поле зрения съемочной камеры находится только часть структуры кодового блока.
Другим типичным применением настоящего изобретения является аутентификация изделия путем захвата изображения изделия с поверхностной структурой или его упаковки, обработки изображения для идентификации возможных структур кодового блока и извлечения информации, содержащейся в таких структурах кодового блока.
Могут использоваться различные подходы к модуляции, приводящие к соответствующему большему или меньшему влиянию на свет, падающий на модулируемый характеристический элемент, в зависимости от целевых цифровых средств для считывания изображения, например, смартфона со съемочной камерой сравнительно низкого разрешения при относительно плохом освещении или профессиональной съемочной камеры высокого класса с идеальным направленным освещением.
Ниже приведены примеры типов модуляции, которые обычно используются.
Удобно выделить несколько типичных, но в то же время общих случаев:
- мультипликативная модуляция;
- (масштабированная) модуляция z-смещения;
- аддитивная модуляция;
- модуляция ху-смещения.
Мультипликативная модуляция позволяет осуществлять модуляцию высоты или переключение полярности (с положительной на отрицательную, и наоборот) всего базового характеристического элемента. На фигуре 12 приведены схематические примеры мультипликативной модуляции с коэффициентом а. Проиллюстрированы два примера, один, в котором а<1 и, следовательно, модуляция высоты уменьшает высоту базового характеристического элемента 1200 для получения модулированного характеристического элемента 1201 с уменьшенной амплитудой, и другой, в котором а>1 и, следовательно, модуляция высоты увеличивает высоту базового характеристического элемента для получения модулированного характеристического элемента 1202.
Модуляция смещения позволяет осуществлять модуляцию высоты всего базового характеристического элемента. Как правило, она равна нулю, поскольку обычной практикой является выбор подхода, основанного только на положительных характеристических элементах, или подхода, основанного только на отрицательных характеристических элементах. На фигуре 13 проиллюстрирован пример модуляции z-смещения сферического базового характеристического элемента, где центр 1201 перемещается посредством вектора
в направлении z в новый центр 1301. Следовательно, базовый характеристический элемент 1200 трансляционно (т.е. за счет поступательного перемещения) повышается на величину вектора
для получения модулированного характеристического элемента 1300. При этом предполагается, что базовый характеристический элемент 1200 обладает виртуальной формой ниже поверхности, от которой отходит базовый характеристический элемент.
На фигуре 14 проиллюстрирован пример масштабированной модуляции z-смещения, в которой модифицируют радиус сферы, в то время как часть, проходящая над поверхностью на высоту h, остается постоянной. В проиллюстрированном примере радиус r1 базового характеристического элемента 1400 уменьшается таким образом, что радиус становится равным r2 для модулированного характеристического элемента 1401, в то время как центр 1402 перемещается в центр 1403 посредством вектора
.
Аддитивная модуляция, которая также охватывает случай вычитания, позволяет добавить к базовому характеристическому элементу позиционно-зависимую структуру. На фигуре 15 продемонстрированы три (3) примера таких аддитивных модуляций, где одна или несколько конусообразных характеристических элементов добавлены к полусферическому базовому характеристическому элементу 1500 в различных положениях. В примере, проиллюстрированном в верхней части фиг. 15, конусообразный характеристический элемент 1501, добавляемый к базовому характеристическому элементу 1500, приводит к тому, что модулированный характеристический элемент 1502 имеет конусообразную полость 1503 на верху полусферической формы. В средней части фиг. 15 дополнительный конусообразный характеристический элемент 1504, выполненный в виде положительного характеристического элемента, добавляется к базовому характеристическому элементу 1500 и приводит к тому, что конусообразный характеристический элемент сливается с правой стороной 1505 полусферической формы. В нижней части фиг. 15 два таких же дополнительных конусообразных характеристических элемента 1506, выполненных в виде двух положительных характеристических элементов, удаленных друг от друга менее чем на диаметр основания базового характеристического элемента 1500, приводят к тому, что конусообразные характеристические элементы сливаются с соответствующей левой 1507 и правой 1508 сторонами полусферической формы.
На фигуре 16 продемонстрирована дополнительная модуляция смещения, в которой модулированный характеристический элемент 1601 показан как перемещенная в боковом направлении версия базового характеристического элемента 1600 в плоскости (х,у) поверхности твердого компонента или изделия с поверхностной структурой, причем боковое перемещение осуществляется на вектор
и/или 
Различные типы модуляции также могут быть объединены путем модуляции более чем одного параметра. Это может быть желательно для получения более сильного эффекта, когда требуется, например, более выраженное воздействие на интенсивность света, отраженного полученным таким образом модулированным характеристическим элементом, чтобы облегчить считывание и извлечение посредством программно-управляемой комбинации датчика изображения/процессора.
В типичном случае, рассмотрим расположение характеристических элементов на однородной сетке таким образом, что два соседних положения вдоль любой из главных осей сетки разделены значением 6, полусферический базовый характеристический элемент с амплитудой 1 и высотой h модулируется одним, двумя или четырьмя конусами с усеченной высотой h, шириной основания w и углом к нормали тета, расположенными в (d/2,0), (-d/2,0), (0, -d/2) или/и (0, 0+d/2) относительно центрального положения сферы. См. фигуру 10 для примера, иллюстрирующего этот случай.
В другом типичном случае одиночный конус полярности, обратной полусферическому базовому характеристическому элементу, но любой высоты h2, размещен в центре полусферического базового характеристического элемента, т.е. в (0,0) относительно центрального положения полусферического базового характеристического элемента. См. фигуру 11 для примера, иллюстрирующего этот случай.
Выгравированный твердый компонент
Как объяснялось ранее, выгравированный твердый компонент может быть либо инструментом, либо изделием с поверхностной структурой. В любом случае гравировка выполнена на поверхности материала.
На фигуре 17 проиллюстрирована часть поверхности 1700 инструмента или изделия с поверхностной структурой. Поверхность 1700 покрыта множеством блочных структур, таких как примерная блочная структура 1701, показанная на фиг. 17. Как поясняется в глоссарии, блочная структура 1701 представляет собой пространственно ограниченный набор базовых характеристических элементов и/или модулированных характеристических элементов, которые распределены по поверхности твердого компонента или подложки в соответствии с картой. Общая форма блочной структуры 1701, показанная на фиг. 17, является неограничивающим примером. Блочная структура вполне может иметь другие формы, такие как, например, диск, или любую другую форму, представляющую объект, такой как логотип компании (не представлен на фигуре 17). В качестве практического примера, на фигурах 36А/В продемонстрированы два микроскопических изображения поверхности инструмента, представляющие базовые характеристические элементы и модулированные характеристические элементы рядом друг с другом: а) вид сверху поверхности инструмента и б) вид под углом поверхности инструмента.
На фигуре 18 проиллюстрирован пример, в котором блочная структура 1801 используется в тиснильной головке 1800, которая содержит два тиснильных валка 1802 и сконфигурирована для тиснения изделия 1803 из фольги. Два тиснильных валка 1802 выполнены в виде пары из патричного/матричного валков, которые могут быть синхронизированы с помощью синхронизирующих шестерен 1808. Увеличенный фрагмент 1804 блочной структуры 1801 иллюстрирует пример положительных характеристических элементов 1805 и отрицательных характеристических элементов 1806, подлежащих тиснению. Часть изделия 1803 из фольги, подвергшаяся тиснению, показана в виде заштрихованной поверхности. Увеличенный фрагмент 1807 изделия из фольги иллюстрирует пример тисненых положительных и отрицательных характеристических элементов.
На фигуре 19 проиллюстрирован пример, в котором блочная структура 1801 используется в изделии 1900 с поверхностной структурой, которое представляет собой дискообразный объект, имеющий выгравированную поверхность 1901. Увеличенный фрагмент 1804 блочной структуры 1801 иллюстрирует пример положительных характеристических элементов и отрицательных характеристических элементов.
На фигуре 20 проиллюстрирована часть карты 2000, которая показывает определенные положения модулированных характеристических элементов 2001 и базовых характеристических элементов 2002, которые соответствуют части структуры кодового блока в блочной структуре, такой как, например, блочная структура 1801 на фиг. 18 или 19. На фигуре 21 проиллюстрирована часть 2100 структуры кодового блока, которая содержит иллюстрированную карту 2000 по фиг. 20 модулированных характеристических элементов 2001 и базовых характеристических элементов 2002. В этом проиллюстрированном примере модулированные характеристические элементы 2001 получены в соответствии с модуляцией, показанной на фиг. 11.
В общем варианте осуществления выгравированный твердый компонент несет данные, содержащие конкретную информацию, на одной из своих поверхностей. Таким образом, поверхность покрыта множеством блочных структур, содержащих по меньшей мере первую блочную структуру. Каждая блочная структура, включая первую блочную структуру, представляет собой пространственно ограниченный набор модулированных характеристических элементов и базовых характеристических элементов. Эти модулированные характеристические элементы и базовые характеристические элементы распределены по поверхности выгравированного твердого компонента в соответствии с картой.
Каждый модулированный характеристический элемент и каждый базовый характеристический элемент имеют соответственно трехмерный профиль модулированного характеристического элемента и трехмерный профиль базового характеристического элемента. Каждый из профилей модулированного характеристического элемента представляет собой результат применения соответствующей модуляции посредством модулятора к одному из трехмерных профилей базовых характеристических элементов в соответствии с конкретной соответствующей информацией. Каждый модулированный характеристический элемент соответствует символу, который представляет собой транскрипцию буквы алфавита. Алфавит представляет собой набор букв, которые являются отдельными объектами четко заданных элементарных данных. Каждый из базовых характеристических элементов представляет собой выгравированный элементарный трехмерный топографический элемент поверхности. Каждый из модулированных характеристических элементов представляет собой выгравированный трехмерный топографический элемент поверхности. По меньшей мере часть данных транскрибируется структурой кодового блока модулированных характеристических элементов таким образом, чтобы структура кодового блока образовала по меньшей мере часть блочной структуры, соответствующей по меньшей мере одной части данных. Модулированные характеристические элементы первой блочной структуры расположены в соответствии с первой упорядоченной картой, причем первая упорядоченная карта представляет собой по меньшей мере первый конечный упорядоченный набор первых положений модулированных характеристических элементов первой структуры кодового блока на поверхности, причем первая структура кодового блока соответствует первой части данных, и первая упорядоченная карта дополнительно сконфигурирована для размещения модулированных характеристических элементов первой блочной структуры для образования эстетического ансамбля на поверхности и отображения соответствующих символов, которые соответствуют модулированным характеристическим элементам первой структуры кодового блока, незаметных для человеческого глаза, но извлекаемых посредством программно-управляемой комбинации датчика изображения/процессора.
На фигурах 22A-22D проиллюстрированы 4 примера тисненых изделий из фольги: на фигуре 22А - первое тисненое изделие 2201 из фольги, содержащее тисненые базовые структуры, имеющие полусферическую форму и равномерно выровненные по сетке, как показано на увеличенном фрагменте, на фигуре 22В - второе изделие 2202 из фольги, содержащее тисненые модулированные характеристические элементы, подобные тем, которые проиллюстрированы в блочной структуре 2100 на фигуре 21, за исключением того, что здесь они являются результатом тиснения блочной структуры 2100 в изделии 2202 из фольги, на фиг. 22С - третье изделие 2203 из фольги, содержащее тисненые модулированные характеристические элементы, такие как те, которые показаны на фиг. 10, и на фиг. 22D - тисненое изделие 2202 из фольги, подобное тому, что показано на фиг. 22В, т.е. с модулированными тиснеными на нем характеристическими элементами, за исключением наложенного на них эстетического мотива, представленного здесь в виде слова „LOGO", все тисненые на изделии 2202 из фольги. Следует отметить, что эстетический мотив может не содержать никаких модулированных характеристических элементов или базовых характеристических элементов, но окружен по меньшей мере модулированными характеристическими элементами.
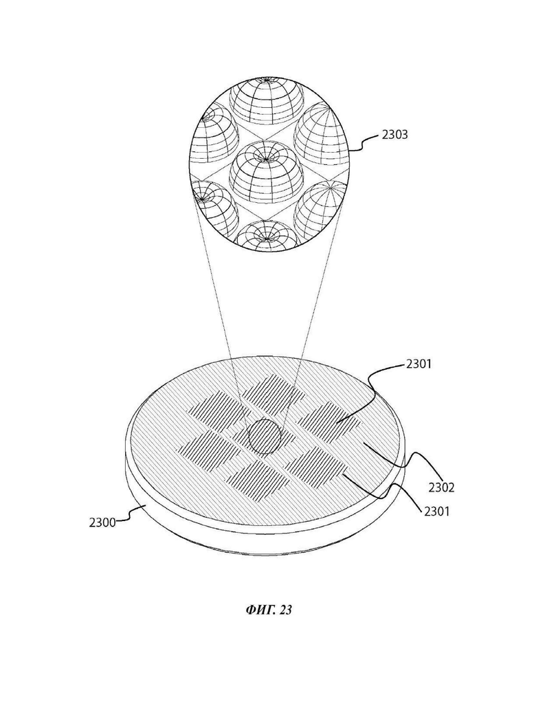
На фигуре 23 проиллюстрирован пример изделия 2300 с поверхностной структурой с выгравированными блочными структурами на одной из его поверхностей. Блочные структуры содержат множество первых структур 2301 кодового блока, в которых модулированные характеристические элементы расположены в соответствии с первой упорядоченной картой, которая представляет собой первый конечный упорядоченный набор первых положений модулированных характеристических элементов первой структуры кодового блока на поверхности, причем первые блочные структуры 2301 соответствуют каждая первой части данных (данные и структура кодового блока не проиллюстрированы на поверхности изделия 2300 с поверхностной структурой на фигуре 23). Первые блочные структуры 2301 окружены второй блочной структурой 2302, которая представлена на фиг. 23 поверхностью, заштрихованной иначе, чем поверхности, иллюстрирующие первые блочные структуры 2301. Вторая блочная структура 2302 представляет собой второй пространственно ограниченный набор исключительно из множества по меньшей мере одного из базовых характеристических элементов (базовые характеристические элементы второй блочной структуры не проиллюстрированы на фиг. 23), которые расположены на поверхности изделия 2300 с поверхностной структурой в соответствии со вторым рисунком. Первые блочные структуры 2301 расположены на поверхности изделия с поверхностной структурой таким образом, что они или, точнее, модулированные характеристические элементы, которые они содержат, образуют эстетический ансамбль на поверхности. Эстетический ансамбль показан здесь как ансамбль из семи (7) участков примерно квадратной формы. Эстетический ансамбль завершается второй блочной структурой 2302, которая, как показано, окружает «залатанную» часть первых блочных структур 2301. На фигуре 23 дополнительно проиллюстрирована увеличенная часть 2303 первой блочной структуры 2301 с модулированными характеристическими элементами и базовыми характеристическими элементами.
На фигуре 24 проиллюстрирована синхронизированная тиснильная головка 2400, внутри которой установлена опциональная быстросменная кассета (явно не проиллюстрированная для лучшего восприятия), предназначенная для размещения по меньшей мере двух выгравированных твердых компонентов 2401 с опциональными синхронизирующими шестернями 2407, причем каждый выгравированный твердый компонент имеет цилиндрическую симметрию и выполнен в качестве инструмента для тиснения для переноса модулированных характеристических элементов и/или базовых характеристических элементов на подложку, в случае на фигуре 24, это изделие из фольги. Поверхность одного из твердых компонентов 2401, т.е. одного из инструментов для тиснения, покрыта блочными структурами, которые приводят к тиснению содержащихся на них модулированных характеристических элементов и базовых характеристических элементов на изделии из фольги. Проиллюстрированный пример показывает три (3) различных типа тисненых блочных структур, а именно, первую тисненую блочную структуру 2402, содержащую только тисненые базовые характеристические элементы, вторую рельефную блочную структуру 2403, содержащую первые модулированные характеристические элементы и базовые характеристические элементы, как показано на увеличенном фрагменте 2405, и третью тисненую блочную структуру 2404, содержащую вторые модулированные характеристические элементы, как показано на увеличенном фрагменте 2405. Очевидно, что тисненые первая, вторая и третья блочные структуры не перекрываются. Кроме того, блочные структуры расположены вдоль рандомизированной сетки.
На фигуре 25 проиллюстрирована аналогичная синхронизированная тиснильная головка 2400 с аналогичной опциональной быстросменной кассетой, как и на фигуре 24, в которой блочные структуры, выгравированные на твердых компонентах 2401, приводят к тисненым блочным структурам 2402 и 2403, которые не перекрываются, аналогично тому, как показано на фигуре 24. Блочные структуры 2402 и 2403 соответственно могут соответствовать по-разному упорядоченным картам, и блочные структуры соответственно упорядоченных карт расположены вдоль регулярной сетки.
На фигурах 26 и 27 показаны примеры устройств 2601 и 2700, используемых для считывания и извлечения положений модулированных характеристических элементов из структур кодового блока и блочных структур, например, структуры кодового блока 2602, содержащей тип А модулированных характеристических элементов, структуры кодового блока 2603, содержащей тип В модулированных характеристических элементов, и блочной структуры 2603, содержащей тип В модулированных характеристических элементов и наложенный на них эстетический мотив, представленный здесь в виде слова „LOGO", все тиснены на изделии 2600 из фольги. Следует отметить, что эстетический мотив может не содержать никаких модулированных характеристических элементов или базовых характеристических элементов, но окружен по меньшей мере модулированными характеристическими элементами типа В, которые используются для кодирования данных, которые, в свою очередь, обнаруживаются устройствами 2601 и 2700 и отображаются на средствах 2604 и 2704 визуализации соответствующих устройств. В обоих случаях считывание выполняется с использованием света, отраженного блочными структурами (падающий свет, впоследствии отраженный блочными структурами, не проиллюстрированными на фигурах 26 и 27), и захватывается оптической системой считывания смартфона 2601 на фиг. 26 или съемочной камеры 2700 на фиг. 27. Как смартфон 2601, так и съемочная камера 2700, содержат, или присоединены к средствам и программному обеспечению для анализа изображения, взятого из блочной структуры, и его обработки для того, чтобы декодировать данные и конкретную информацию, содержащуюся в нем, в том виде, как она перенесена на блочные структуры. На смартфоне 2601 декодированные данные могут в конечном итоге отображаться на соответствующих средствах 2604 визуализации.
На фиг. 28 показан дополнительный пример синхронизированной тиснильной головки 2400, аналогичной той, которая уже обсуждалась применительно к фиг. 24 и 25, и изделия 2600 из тисненой фольги, содержащего блочные структуры 2603, аналогичные показанным на фиг.26 и 27. QR-код 2800 создается на поверхности изделия из фольги 2600 в виде эстетического мотива, так что его составляющие содержат поверхности, которые не содержат ни модулированных характеристических элементов, ни базовых характеристических элементов. Таким образом, QR-код 2800 может быть считан как одиночный эстетический характеристический элемент и декодирован как таковой уже хорошо известным способом, без привлечения какого-либо анализа, который может быть использован для обнаружения и анализа модулированных характеристических элементов.
На фигуре 29 проиллюстрирован пример изделия в форме блистерного изделия 2900 для упаковки таблеток, капсул с жидкостью или любого другого изделия 2902 в блистерной упаковке, окруженного выгравированными базовыми характеристическими элементами 2901. Блистерное изделие 2900 дополнительно содержит блочные структуры 2602 и/или 2603, аналогичные изображенным на фиг. 26 и 27, которые позволяют переносить данные. Данные могут, например, позволить определить подлинность блистера 2900 и/или предоставить информацию о таблетках, капсулах, наполненных жидкостью, или другом изделии 2902, упакованном в блистер. Блочные структуры 2602 и/или 2603 могут считываться, например, посредством смартфона 2601, и результат обработанного считывания блочных структур 2602 и/или 2603 может отображаться на средстве 2604 визуализации.
На фигуре 30 проиллюстрирован дополнительный пример использования футляра для изделия, точнее, внутреннего вкладыша 3000 внешней упаковки 3001, например, для сигарет. Фольгированный материал 3000 внутреннего вкладыша имеет тиснение с базовыми характеристическими элементами 2901 и по меньшей мере блочной структурой 2603, содержащей модулированные характеристические элементы и наложенный на них эстетический мотив, представленный здесь как слово „LOGO". Следует отметить, что эстетический мотив может не содержать никаких модулированных характеристических элементов или базовых характеристических элементов, но окружен по меньшей мере модулированными характеристическими элементами, которые используются для кодирования данных, которые, в свою очередь, обнаруживаются устройством 2601 и отображаются на средствах 2604 визуализации устройства 2601. На фигуре 30 также проиллюстрировано опциональное дублирующее тиснение 3002 по меньшей мере одной блочной структуры 2603, которая содержит эстетический мотив, наложенный на модулированные характеристические элементы, тисненые в материале внешней упаковки 3001. Опциональное дублирующее тиснение 3002 может, например, быть полезным для целей защиты от подделки и аналитической (судебной) аутентификации.
Следует отметить, что, хотя внешняя упаковка 3001 напоминает сигаретную упаковку в примере на фиг. 30, на самом деле это может быть вторичная внешняя упаковка для любого типа изделия, например, для пищевых продуктов, ювелирных изделий, фармацевтических препаратов, кондитерских изделий и т.д. из картона, ламината из плотной бумаги или любого другого подходящего материала из фольги. Внешняя упаковка 3001 может быть дополнительно обернута в термоусадочную (прозрачную) полимерную пленку, как это принято в упаковочной промышленности (не показано на фиг. 30). Это может быть реализовано таким образом, что считывание блочной структуры 3002 остается возможным после наложения термоусадочной упаковки на внешнюю упаковку 3001.
Вышеупомянутые способы тиснения и изделия с поверхностной структурой, как правило, подходят для реализации или получения с помощью онлайн-производственной линии, цифрового пресса или традиционного конвертера.
Фиг. 31 содержит блок-схему 3100, иллюстрирующую способ изготовления ММ выгравированного твердого компонента SP, сконфигурированного для переноса данных DA, содержащих информацию, причем данные переносятся на поверхности выгравированного твердого компонента. Данные DA, которые транскрибируются с помощью структуры кодового блока модулированных характеристических элементов, при этом структура кодового блока, таким образом, образует блочную структуру, соответствующую данным, выгравированы S1 на поверхности в виде множества блочных структур BS, которые содержат по меньшей мере первую блочную структуру, причем:
- каждая блочная структура BS представляет собой пространственно ограниченный набор модулированных характеристических элементов и базовых характеристических элементов, которые распределены по поверхности выгравированного твердого компонента,
- каждый модулированный характеристический элемент и каждый базовый характеристический элемент имеют соответственно трехмерный профиль модулированного характеристического элемента и трехмерный профиль базового характеристического элемента,
- каждый из профилей модулированного характеристического элемента представляет собой результат применения соответствующей модуляции к одному из трехмерных профилей базового характеристического элемента в соответствии с конкретной соответствующей информацией,
- каждый модулированный характеристический элемент дополнительно содержит символ, который представляет собой транскрипцию символа алфавита,
- алфавит представляет собой набор букв, которые являются отдельными объектами четко заданных элементарных данных,
- каждый из базовых характеристических элементов представляет собой выгравированный элементарный трехмерный топографический элемент поверхности,
- каждый из модулированных характеристических элементов представляет собой выгравированный трехмерный топографический элемент поверхности,
- по меньшей мере часть данных (DA) транскрибируют с помощью структуры кодового блока модулированных характеристических элементов таким образом, чтобы структура кодового блока образовала блочную структуру, соответствующую по меньшей мере одной части данных DA,
причем модулированные характеристические элементы первой блочной структуры BS расположены в соответствии с первой упорядоченной картой, причем первая упорядоченная карта представляет собой первый конечный упорядоченный набор первых положений модулированных характеристических элементов первой структуры кодового блока на поверхности, причем первая блочная структура соответствует первой части данных, и
при этом первая упорядоченная карта дополнительно сконфигурирована для размещения модулированных характеристических элементов первой блочной структуры BS для образования эстетического ансамбля на поверхности и отображения соответствующих символов, которые соответствуют модулированным характеристическим элементам первой структуры кодового блока, незаметных для человеческого глаза, но извлекаемых посредством программно-управляемой комбинации датчика изображения/процессора.
Фиг. 32 содержит блок-схему 3200, иллюстрирующую способ конфигурирования МС множества блочных структур модулированных характеристических элементов и базовых характеристических элементов, предназначенных для гравировки на поверхности твердого компонента. Как объяснялось ранее, каждый модулированный характеристический элемент и каждый базовый характеристический элемент имеют соответственно трехмерный профиль модулированного характеристического элемента и трехмерный профиль базового характеристического элемента, которые позволяют выгравировать каждый из модулированных характеристических элементов и каждый из базовых характеристических элементов, а каждая блочная структура содержит соответствующую структуру кодового блока транскрибируемых данных, и каждая блочная структура представляет собой набор модулированных характеристических элементов и базовых характеристических элементов, сконфигурированных для их распределения по пространственно ограниченной части поверхности. При этом способ включает в себя:
- создание S2 каждого из профилей MFP модулированных характеристических элементов путем применения соответствующей модуляции посредством профиля модуляции к одному из профилей базовых характеристических элементов в соответствии с символом, который транскибирует букву алфавита АВ, причем алфавит представляет собой набор букв, которые являются отдельными объектами четко заданных элементарных данных,
- транскрибирование S3 по меньшей мере первой части данных DA для первой структуры кодового блока (СС) с помощью профилей модулированных характеристических элементов,
- размещение S4 модулированных характеристических элементов, соответствующих первой структуре СС кодового блока, по меньшей мере в первой блочной структуре из множества блочных структур, согласно первой упорядоченной карте FP, причем первая упорядоченная карта представляет собой первый конечный упорядоченный набор положений модулированных характеристических элементов первой структуры кодового блока, и
- конфигурирование S5 модулированных характеристических элементов на первой упорядоченной карте для образования эстетического ансамбля на поверхности и отображения соответствующих символов, которые соответствуют модулированным характеристическим элементам первой структуры кодового блока, незаметных для человеческого глаза (IHE, от англ. imperceptible to the human eye) для предполагаемой гравировки, но извлекаемых с помощью программно-управляемой комбинация датчика изображения/процессора.
Согласно другому аспекту настоящего изобретения, предусмотрена система или способ для захвата изображения 3350 с помощью первого устройства обработки данных, например смартфона 2601, с части поверхности, элемента или компонента 1700, причем часть поверхности 1700, включает в себя блочную структуру 1701, анализ изображения 3350 для извлечения из него идентификатора, кода или другой информации 3351 и сопоставление идентификатора 3351 с информацией из базы данных после отправки идентификатора или кода 3351 на другое второе устройство обработки данных, например сервер 3310. На фиг. 33 показано примерное схематическое и упрощенное представление такой системы для считывания, извлечения и сопоставления идентификатора или кода 3351, происходящего из части поверхности 1700, а на фиг. 34 показано схематическое представление соответствующего способа, который может быть выполнен в указанной системе. Показанная примерная система включает в себя смартфон или планшетный компьютер 2601, сеть 3300 передачи данных, сервер и базу данных 3310 и 3320, соответственно, и съемочную камеру 2700 для захвата изображения, предпочтительно способную обеспечивать более высокое качество изображения, чем смартфон 2601. Как объяснялось выше в отношении фиг. 17, часть поверхности 1700 содержит блочную структуру 1701, которая, в свою очередь, включает в себя структуру кодового блока, содержащую информацию, закодированную в ней с помощью модулированных характеристических элементов, в дополнение к базовым характеристическим элементам.
Более конкретно, система может включать в себя смартфон 2601 или другое устройство обработки данных, имеющее съемочную камеру, которая оснащена датчиком изображения и оптикой, или устройство обработки данных другого типа, которое функционально соединено со съемочной камерой или датчиком изображения, например, но не ограничиваясь, персональным компьютером (ПК), планшетом, компьютером Macintosh (MAC), устройством чтения с портативной съемочной камерой, интеллектуальной съемочной камерой или другим портативным устройством обработки данных, причем смартфон 2601 сконфигурирован для обеспечения работы приложения АРР1 захвата и анализа изображений для захвата и анализа изображений 3350 со съемочной камеры, связанной со смартфоном 2601, для считывания кодов или идентификаторов 3351 из захваченного изображения 3350. Например, приложение АРР1 может быть установлено и может управляться пользователем смартфона 2601, имеющего графический пользовательский интерфейс (GUI, от англ. graphical user interface), который, в свою очередь, может использовать приложение съемочной камеры, установленное на смартфоне 2601, и может включать в себя различные типы программного обеспечения для обработки изображений и алгоритмы обработки изображений, например алгоритмы декодирования, алгоритмы фильтрации изображений и алгоритмы сопоставления с образцом, программное обеспечение для геометрических преобразований, эти алгоритмы позволяют идентифицировать код или идентификатор 3351 на изображении 3350. Кроме того, смартфон 2601 включает в себя интерфейс 2660 передачи данных и антенну, например, но не ограничиваясь, интерфейс Bluetooth или Bluetooth LE, интерфейс беспроводной локальной сети (WLAN, от англ. wireless local area network), интерфейс передачи данных глобальной системы мобильной связи (GSM, от англ. global system for mobile communications) для мобильного телефона, радиочастотную (РЧ) связь, интерфейс широкополосной сотовой сети, такой как, но не ограничиваясь, 3G, 4G и 5G, оптический интерфейс передачи данных, основанный, например, на инфракрасных сигналах, интерфейс на основе спутниковых данных, интерфейс 2660 передачи данных, сконфигурированный для связи с сетью 3300 и через нее, например, Интернет или Интранет. Также возможно, что по меньшей мере некоторые из подключений к сети 3330 являются проводными, например, с помощью подключений по локальной сети (LAN). Сеть 3300 доступна через интерфейс 2660 передачи данных смартфона 2601 и сама по себе функционально соединена с физическим сервером, виртуальным сервером, облачным сервером или любым другим вычислительным средством 3310, которое имеет доступ к базе данных 3320. База данных 3320 может быть физической базой данных 3320, которая может быть расположена на серверном компьютере 3310, например, на внешнем или внутреннем жестком диске, но также может быть другим удаленным сервером или облачной базой данных или сетевым диском. Сервер 3310 сам по себе оснащен сетевым интерфейсом передачи данных для подключения к сети 3300 и имеет все необходимые интерфейсы передачи данных и протоколы связи для передачи данных из сети 3300 и в сеть 3300. Более того, область памяти базы данных 3320 может хранить таблицу или структуру T данных с информацией, которая связана или иным образом прикреплена к идентификатору 3351, например, структуры данных и информация, которая связана с конкретным идентификатором или кодом 3351. Хоть это не показано на фиг. 34, но легко понятно специалисту в данной области, что передача данных в сеть 3300 и из нее в большинстве случаев будет осуществляться зашифрованным образом, чтобы защитить обмен информацией между смартфоном/планшетом 2601 или устройством 2700 съемочной камеры и комбинацией 3310/3320 сервер/база данных.
Например, таблица или структура Т данных может включать в себя информацию 3322, которая связана с ключом 3321 запроса, также известным как связанные данные 3322, и которая относится к изделию или системе, которая включает в себя часть поверхности 1700, например информация 3322, которая включает в себя производственную информацию части поверхности 1700, связанную с кодом 3351, включая, но не ограничиваясь, дату изготовления, место изготовления, информацию о версии, технические данные, данные, связанные с руководствами пользователя, строительные планы, планы и графики технического обслуживания, информацию о совместимости, информацию 3322, которая включает в себя сведения о пищевой продукции, которая упаковывается с формированием части поверхности 1700 включая, но не ограничиваясь, ингредиенты, информацию о стране происхождения место происхождения, срок годности пищевой продукции, информацию о классе изделия, информацию 3322, которая включает в себя данные о маркетинговой и потребительской информации, относящейся к части поверхности 1700, например, но не ограничиваясь, ссылки или данные об акциях, листовки, документы, веб-сайты, предупреждения об изделии, классификации изделий, купоны, аудиовизуальные представления, такие как YouTube™ видео, анимации, руководства пользователя, презентации Microsoft PowerPoint™, документы в формате переносимых документов (PDF), информацию 3322, включающую в себя интеллектуальную собственность, информацию, относящуюся к части поверхности 1700, например, но не ограничиваясь, данные о патентах, промышленных образцах, товарных знаках, авторских правах, информацию о программном обеспечении с открытым исходным кодом, географические указания, информацию 3322, которая включает в себя данные с фармацевтической информацией, включая, но не ограничиваясь, фармацевтические пособия, информация о качестве и дозе, информацию о распространении, предупреждающую информацию, информация 3322 может также включать в себя дополнительную идентификационную информацию, относящуюся к части поверхности 1700, например, но не ограничиваясь, информацию о владельце, серийных номерах, информацию об адресе, изделии, информацию о версии оборудования или программного обеспечения, информацию об истории производства, информацию об отслеживании логистики.
Более того, вычислительное устройство 3310 может иметь установленное и работающее на нем прикладное программное обеспечение АРР2, которое управляет базой данных 3320 и таблицей или структурой данных Т, и сконфигурировано для приема, обработки и ответа на запрос, сделанный прикладным программным обеспечением АРР1. Например, прикладное программное обеспечение АРР2 может принимать конкретные запросы и обращения от прикладного программного обеспечения АРР1 со смартфона 2601 и может обрабатывать их и отвечать на них, отправляя ответ 3352 обратно на смартфон 2601 через сеть 3300, например, путем включения данных, извлеченных из таблицы или структуры данных Т, которая связана с принятым идентификатором или кодом 3351. Прикладное программное обеспечение АРР2 также может быть оснащено дополнительным программным обеспечением для обработки изображений, которое позволяет принимать данные изображения со смартфона 2601, например необработанные, предварительно обработанные или сжатые данные изображения. В этом отношении смартфон 2601 и АРР1 могут отправлять на сервер 3310 и прикладное программное обеспечение АРР2 данные изображения, которые были захвачены смартфоном 2601, блочной структуры 1701 части поверхности 1700. Например, это может быть сделано при отправке запроса 3660 из АРР2 в АРР1 смартфона 2601. Это позволяет прикладному программному обеспечению АРР2 выполнять дополнительную обработку данных изображения, например, более сложную, чем та, которая выполняется в прикладном программном обеспечении АРР1. В одном варианте также возможно, что АРР1 смартфона 2601 напрямую обращается к шлюзу или интерфейсу прикладного программирования (API, от англ. application programming interface) для получения доступа к данным таблицы или структуры данных Т, и что на сервере 3310 не присутствует дополнительное прикладное программное обеспечение, а только интерфейс, специфичный для приложения, но что сервер 3310 действует как поставщик данных для смартфона 2601, при этом АРР1 обращается к серверу 3310 для запроса данных из таблицы или структуры данных Т. В этом отношении возможно, что АРР1 и АРР2 работают как одно приложение на смартфоне 2601. Более того, передача данных с отправкой информации по идентификатору или коду 3351 и ответы 3352 с дополнительными данными, отправленными из таблицы или структуры данных Т, могут быть защищены различными схемами шифрования и аутентификации, которые известны в области безопасного обмена сообщениями. Более того, программное приложение АРР2 может дополнительно включать в себя интерфейсы данных к другим внешним приложениям 3370, например, через API, для получения доступа к дополнительной информации от третьих лиц, которая может относиться или иным образом быть связана с идентификатором или кодом 3351. Например, можно получить доступ к приложению 3370 отслеживания и контроля, которое может предоставлять информацию о логистике и производстве от третьих лиц, которая затем может быть отправлена обратно на смартфон 2601 через графический пользовательский интерфейс (GUI) программного приложения АРР1.
Система может дополнительно включать в себя съемочную камеру 2700 для захвата изображения, предпочтительно способную обеспечивать более высокое качество изображения, чем смартфон 2601, который также может быть функционально соединен с сетью 3300, например, через устройство 2760 сетевого интерфейса. Съемочная камера 2700 может быть инспекционной съемочной камерой машинного зрения с соответствующей оптикой и освещением для захвата достаточной детализации блочной структуры 1701 части поверхности 1700 и подключена к средству захвата кадров или другому интерфейсу быстрой передачи данных, такому как, но не ограничиваясь этим, FireWire, Универсальная последовательная шина (USB, от англ. Universal Serial Bus), Ethernet или беспроводной интерфейс, с вычислительным устройством, имеющим интерфейс передачи данных, например сетевой интерфейс 2760 для сети 3300. Устройство 2760 сетевого интерфейса само по себе может быть компьютером, таким как ПК или компьютер Macintosh, который функционально соединен с сетью 3300 и съемочной камерой 2700. В качестве примера, съемочная камера 2700 может быть оснащена специфичной для конкретного применения оптикой или объективами 2750 для захвата изображения 3350 блочной структуры 1701 части поверхности 1700, например макрообъективом, объективом микроскопа или другим объективом. Предпочтительно, съемочная камера 2700 и оптика 2750 таковы, что они позволяют захватывать изображение существенно лучшего и более адаптированного качества изображения, чем только съемочная камера смартфона 2601. В качестве дополнения или альтернативы съемочной камере 2700, возможно, что смартфон 2601 оснащен дополнительной оптикой 2650, которая позволяет улучшать и/или адаптировать захват изображения блочной структуры 1701 части поверхности 1700, например, конкретным макрообъективом, который может быть прижат, надет или иным образом функционально прикреплен к смартфону 2601. Кроме того, такая оптика 2650 может также использоваться для уменьшения деформации или выравнивания полученного изображения в соответствии с конкретными формами поверхности, такими как цилиндры или другие, четко заданные геометрии объектов.
Что касается конкретного примера и применения, можно было бы пометить фармацевтический продукт или лекарственный продукт незаметными кодами или идентификаторами 3351 в блочной структуре 1701, и эти коды или идентификаторы могли бы использоваться пользователем или пациентом, чтобы увидеть, соответствует ли полученный фармацевтический продукт его электронному рецепту и/или его профилю пользователя. Например, было бы возможно, чтобы код или идентификатор 3351 был снабжен блочной структурой 1701, которая является частью блистерной упаковки 2900, например, фармацевтических препаратов, изделий для курения с пониженным риском или любых других изделий 2902 в блистерной упаковке, было бы возможно связать идентификатор 3351 с электронным рецептом или е-рецептом, e-Rx для фармацевтического продукта, который был прописан пользователю. Кроме того, сервер 3310 может иметь доступ или может предварительно сохранять профиль пользователя, например, через защищенный доступ к внешнему приложению 3370, включая, но не ограничиваясь, пол, дату рождения, возраст, вес, ранее существовавшие состояния здоровья, размер, индекс массы тела, лекарства история болезни, аллергии. Например, блистерная упаковка для фармацевтического продукта может быть запечатана и покрыта закрывающим материалом, который изготовлен из металлизированной пленки или металлической пленки, или ламината, как показано на фигуре 29. На этом закрывающем материале может быть напечатана маркетинговая информация, но в то же время закрывающий материал может быть тиснен декоративным рисунком, имеющим один или более идентификаторов или кодов 3351, встроенных в него. В качестве примера, каждый блистер 2900 для каждой отдельной таблетки, дозы или наполненной жидкостью капсулы 2902 блистерной упаковки 2900 мог бы иметь отдельный и отчетливый код, тисненый на крышке, образованной закрывающим материалом, который будет отображаться в виде отдельной блочной структуры 1701 поверх каждого блистера 2902.
Например, показана часть поверхности 1700, имеющая поверхность с предусмотренной на ней блочной структурой 1701, например структурированную поверхность или тисненый материал, имеющий базовые характеристические элементы и модулированные характеристические элементы. Например, часть поверхности 1700 может быть компонентом для ювелирного изделия или часового изделия, имеющего вытравленную, выгравированную или тисненую поверхность для блочной структуры 1701, тисненый упаковочный материал, например, подкладку или другую упаковочную фольгу для табачных изделий, упаковочный материал для пищевых продуктов, таких как шоколад или другие пищевые продукты, и скоропортящиеся товары, капсулу или картридж для электронной сигареты, упаковочный материал для посылки, который используется для местной или глобальной пересылки со скрытым кодом, предусмотренным блочной структурой 1701. Но часть поверхности 1700 не ограничивается этими примерами. В качестве примера, блочная структура 1701 может быть рисунком шахматной доски, например матрицей n × n (не показана), имеющей карту базовых характеристических элементов в виде шахматной доски, другими словами, чередующиеся рельефные выпуклости и впадины в качестве базовых характеристических элементов, но также имеющие некоторые отдельные элементы шахматной доски, смещенные от центрального положения в качестве модулированных характеристических элементов, например, со смещением по осям ху от центрального положения каждого элемента квадратной формы сетки, сформированной матрицей, к левому верхнему углу, левому нижнему углу, правому верхнему углу и правому нижнему углу, тем самым позволяя кодировать информацию. Например, указанные смещения лежат в микрометровом или субмиллиметровом диапазоне, например, в диапазоне от 5 мкм до 250 мкм, и поэтому не видны человеческому глазу без дополнительной оптической помощи, но рисунок в виде шахматной доски может быть частью эстетического или декоративного тиснения и, следовательно, виден человеческим глазом в качестве штриховки или текстуры поверхности, например, структурирования поверхности или части логотипа.
На фигуре 34 показана примерная и упрощенная блок-схема способа, который может быть выполнен системой. Способ позволяет считывать и извлекать один или более идентификаторов 3351 из блочной структуры 1701 части поверхности 1700 путем захвата информации изображения, а затем находить и обрабатывать информацию и данные, которые связаны с одним или более идентификаторами 3351 с базой данных, таблицей или структурой данных Т. Способ может сначала включать в себя этап S10 захвата данных 3350 изображения изображения блочной структуры 1701 части поверхности 1700, например, с помощью АРР1 смартфона 2601, и это может быть выполнено пользователем, управляющим значком или кнопкой GUI в АРР1. Далее, на этапе S20, АРР1 смартфона 2601 может обрабатывать принятые данные 3350 изображения для извлечения идентификатора или кода 3351. После этого идентификатор или код 3351 может быть отправлен на этапе S30 на сервер 3310 и прикладное программное обеспечение АРР2 через сеть 3300 или с помощью прямой линии связи между смартфоном 2601 и сервером 3310. Это может быть выполнено с помощью стандартного протокола обмена сообщениями или передачи определенного пакета данных с помощью настроенного протокола, и этот этап также может включать схему шифрования для безопасной передачи. Далее, после приема идентификатора 3351 с сообщением или пакетом данных на сервере 3310 и необязательной расшифровки даты сообщения или пакета данных сервер 3310 может выполнить этап S40, на котором запрашивается база данных, имеющая таблицу или структуру Т данных, для данных, которые связаны с идентификатором или кодом 3351, для получения доступа к связанным данным 3322. Далее сервер 3310 может выполнить этап S50, который отправляет ответ обратно на смартфон 2601, например сообщение или пакет данных, включающий в себя связанные данные 3322. Этот этап снова может включать в себя этап шифрования, который выполняется применительно к данным перед отправкой. На следующем этапе S60, на смартфоне 2601, сообщение или пакет данных могут быть приняты, опционально расшифрованы, и связанные данные могут отображаться на GUI в АРР1 смартфона 2601. На этом этапе GUI в АРР1 может также создать приглашение пользователя в виде сообщения уведомления или экрана уведомления, чтобы привлечь внимание пользователя или оператора смартфона 2601.
Далее, на сервере 3310, прикладное программное обеспечение АРР2 может быть дополнительно сконфигурировано для выполнения этапа S65 после приема идентификатора или кода 3351 и после запрашивания базы данных или таблицы Т. Этот этап S65 может быть запущен, если информация из базы данных или таблицы Т указывает на то, что изделие или часть поверхности 1700 с блочной структурой 1701 подвержены несанкционированному копированию или подделке. Это может иметь место, если часть поверхности 1700 представляет собой пачку сигарет, которую часто подделывают для серого или черного рынков. Например, запись данных таблицы Т может быть связана с идентификатором или кодом 3351, чтобы указать, что часть поверхности 1700, подлежащая проверке или исследованию, вероятно, является частью поддельного или скопированного изделия. Эта запись данных может быть проверена с помощью АРР2 для запуска этапа S65, который отправляет запрос обратно на смартфон 2601 и АРР1 для захвата другого изображения из блочной структуры 1701, но с более высоким качеством изображения, с целью выполнения глубокой или аналитической (судебной) экспертизы блочной структуры 1701. Например, этот запрос может включать в себя, но не ограничивается этим, команду для захвата изображения с более высоким разрешением (HR, от англ. higher-resolution), запрос на захват изображения с более высокой контрастностью или высоким динамическим диапазоном (HDR, от англ. high dynamic range), запрос на изменение освещения на другое или более сильное освещение.
При получении запроса на смартфоне 2601 с помощью АРР1 GUI может запрашивать или иным образом информировать пользователя об этом запросе, например, с помощью окна GUI, сообщающего пользователю инструкции по захвату изображения лучшего качества. Затем может быть выполнен этап S70, на котором пользователь захватывает данные изображения более высокого качества, например, с помощью отдельной съемочной камеры 2700 или с помощью дополнительной оптики 2650, которая закреплена на смартфоне 2601. После этого улучшенные данные изображения могут быть отправлены обратно на сервер 3310 для дальнейшего анализа с помощью АРР2, например, на этапе S80, для глубокой или аналитической (судебной) аутентификации данных изображения блочной структуры 1701. Задействованные алгоритмы обработки изображений на этапе S80 могут включать в себя очень сложные и продвинутые методы, которые больше не являются приложениями реального времени из-за их уровня сложности. Следовательно, на промежуточных этапах ответы 3352 могут включать в себя сообщение пользователю, чтобы он был терпелив и ждал результата.
Другим этапом способа является этап S25, на котором запрос на запрашивание базы данных и этап отправки запроса на сервер 3310 выполняются АРР1 смартфона 2601, например, через графический пользовательский интерфейс пользователем или автоматически с помощью предустановленного режима приложения, например, в зависимости от функции пользователя и в зависимости от прав доступа. В этом отношении захват данных 3350 изображения на этапе S10 и отправка идентификатора выполняются отдельно, и только после выполнения запроса на этапах S25 и S35 сервер 3310 вернет информацию базы данных со связанными данными 3322 обратно на смартфон 2601.
На фиг. 35 показана примерная блок-схема этапов, которые могут быть выполнены в качестве подэтапов этапа S20, на котором приложение 1 смартфона 2601 может обрабатывать принятые данные 3350 изображения для извлечения идентификатора или кода 3351. В рамках этого этапа, на этапе S20.1, изображение 3350 подвергается предварительной обработке, чтобы получить изображение лучшего качества и формата для целей обнаружения характеристических элементов или сопоставления с образцом, для получения отфильтрованного или калиброванного изображения. Например, этот этап S20.1 может включать в себя, но не ограничивается, этап удаления артефактов с помощью различных типов фильтров, этап удаления шума, например, с помощью медианных или усредняющих фильтров, удаление шума с фиксированным шаблоном, этап усиления контраста, например, с помощью алгоритма выравнивания скользящей гистограммы (алгоритм МНЕ, от англ. moving-histogram equalization), этап адаптации освещения для увеличения или уменьшения интенсивности пикселей, этап коррекции неравномерности освещения с линейными или нелинейными коррекциями, этап коррекции геометрических искажений, алгоритмы компенсации размытости движения, обработка нормализации цифрового увеличения или уменьшения масштаба.
Затем отфильтрованное или откалиброванное изображение может быть подвергнуто алгоритму извлечения сетки или сегментации на этапе S20.2. На этом этапе отфильтрованное или откалиброванное изображение подвергается этапу обработки данных, который может накладывать сетку поверх отфильтрованного изображения, которая будет служить опорной системой координат для дальнейшей обработки данных на изображении. Кроме того, извлеченная сетка обеспечит основу для определения положения объектов на карте, которая будет использоваться на последующих этапах S20.3, S20.4 и т.д. Типичные алгоритмы извлечения сетки содержат быстрые преобразования Фурье (БПФ) в глобальном масштабе, а также алгоритмы адаптивного поиска и корреляции в локальном масштабе. Карта, предоставленная на этом этапе, может быть основана на различных типах координатной основы.
После этого сегментированное изображение, полученное в результате этапа 520.2, может быть подвергнуто этапу синхронизации (кодового блока) на этапе 520.3, на котором рисунок синхронизации кодового блока, маркер, цель, точка объекта идентифицируются, обнаруживаются и локализуются, так что возможна опорная точка для обнаружения кода или идентификатора 3351 в структуре кодового блока. Это может быть сделано с помощью различных видов алгоритмов сопоставления с образцом или алгоритмов обнаружения признаков, например, с помощью методов корреляции, машинного обучения, методов оптического распознавания символов (OCR, от англ. optical character-recognition), контролируемого или неконтролируемого обучения.
Далее выполняется этап S20.4, на котором обнаруживаются и извлекаются различные символы, которые представляют модулированные характеристические элементы блочных структур 1701, в соответствии с позицией или местоположением рисунка синхронизации кодового блока. Это может быть выполнено путем сопоставления краев, углов, интересующих точек, больших двоичных объектов, интересующей области, с набором данных эталонного изображения модулированных характеристических элементов блочных структур 1701. Также возможно, что этот этап включает в себя этап извлечения характеристического элемента. Более того, также возможно, что этот этап S20.4 включает в себя использование искусственного интеллекта, например, сверточной нейронной сети и глубокого обучения наборов данных модели для обнаружения характеристических элементов, являющихся модулированными характеристическими элементами блочных структур 1701. Это можно выполнить, имея набор данных маркированных изображений со всеми различными модулированными характеристическими элементами блочных структур 1701. Следует отметить, что выводом этого этапа обнаружения характеристических элементов является гибкая информация, т.е. недвоичная информация или вероятностная информация, в большинстве случаев, для того, чтобы извлечь выгоду из дополнительного усиления кодирования на последующем этапе S20.6 декодирования.
После этого выполняется этап S20.5, на котором выполняют дескремблирование информации, содержащейся в структуре кодового блока, в соответствии с расположением модулированных характеристических элементов на упорядоченной карте. Этот этап приведет извлеченную (гибкую) символьную информацию в линейный порядок, требуемый на последующем этапе S20.6 декодирования.
После этого выполняется этап S20.6, на котором идентификатор или код 3351 декодируется из различных обнаруженных (гибких) символов. Поскольку на этапе кодирования была добавлена избыточная информация, декодирование выполняется с использованием стандартных алгоритмов для кодов с прямой коррекцией ошибок (FEC, от англ. forward error-correcting) и будет использовать линейно расположенную гибкую символьную информацию в качестве входных данных вместе со знанием точной структуры кода. Типичные коды FEC, которые известны своими высокопроизводительными свойствами исправления ошибок, включают в себя, но не ограничиваются ими, турбо-коды или полярные коды и т.д. В частности, полярные коды хорошо подходят для решения поставленной задачи, поскольку они легко конструируются и имеют подходящие аппаратные реализации, как это видно из последних стандартов передачи данных 5G.
Согласно еще одному аспекту, возможно, что захваченное изображение связано или иным образом соотнесено с уникальным и секретным кодом или идентификатором, например, с использованием модуля идентификации абонента (SIM, от англ. subscriber identification module) смартфона 2601 для генерации кода, или с использованием криптографического алгоритма, который может извлекать код или иным образом защищенную информацию из захваченного изображения 3350, так что изображение может быть аутентифицировано на более позднем этапе как первоначально захваченное изображение. Этот уникальный код или идентификатор может быть отправлен из АРР1 в АРР2 на этапе S30 вместе с идентификатором 3350, и, таким образом, АРР2 будет иметь аутентификационную информацию для захваченного изображения 3350, без первоначального доступа к самим данным 3350 захваченного изображения в АРР2. Например, чтобы сгенерировать секретный код, хэш-код или код контрольной суммы может быть сгенерирован из данных изображения, а также может основываться на данных о времени захвата и местоположении захвата, которые обычно содержатся в данных EXIF изображения, вместе с другим уникальным кодом, который может быть сгенерирован SIM-картой или любым другим типом токена, способным создать такой уникальный, защищенный информационный элемент. Как только данные 3350 изображения отправляются в АРР2 второго устройства обработки данных, это сделало бы возможным аутентификацию принятого изображения на этапе S65, S70, так что позднее полученное изображение для глубокой или аналитической (судебной) аутентификации также могло бы быть аутентифицировано как изображение 3350 в АРР2, из которого был извлечен исходный код. Это позволяет АРР2 проверять, действительно ли принятые данные 3350 изображения относятся к тому же изображению, которое было первоначально захвачено на этапе S10.
Поверхность выгравированного твердого компонента покрыта множеством блочных структур, содержащих блочную структуру. Каждая блочная структура представляет собой пространственно ограниченный набор модулированных характеристических элементов и базовых характеристических элементов, которые распределены по поверхности выгравированного твердого компонента. Каждый модулированный характеристический элемент и каждый базовый характеристический элемент имеют соответственно трехмерный профиль модулированного характеристического элемента и трехмерный профиль базового характеристического элемента. Каждый из профилей модулированного характеристического элемента представляет собой результат применения соответствующей модуляции к одному из трехмерных профилей базового характеристического элемента в соответствии с конкретной соответствующей информацией. Каждый модулированный характеристический элемент дополнительно представляет собой символ, который представляет собой транскрипцию буквы алфавита. Алфавит представляет собой набор букв, которые являются отдельными объектами четко заданных элементарных данных. Каждый из базовых характеристических элементов представляет собой выгравированный элементарный трехмерный топографический элемент поверхности. Каждый из модулированных характеристических элементов представляет собой выгравированный трехмерный топографический элемент поверхности. Часть данных транскрибирована с помощью структуры кодового блока модулированных характеристических элементов таким образом, чтобы структура кодового блока образовала часть блочной структуры, соответствующей части данных. Модулированные характеристические элементы первой блочной структуры расположены в соответствии с первой упорядоченной картой, причем первая упорядоченная карта содержит по меньшей мере первый конечный упорядоченный набор первых положений модулированных характеристических элементов первой структуры кодового блока на поверхности, причем первая блочная структура соответствует первой части данных, и первая упорядоченная карта дополнительно сконфигурирована для размещения модулированных характеристических элементов первой блочной структуры для образования эстетического ансамбля на поверхности и отображения соответствующих символов, которые соответствуют модулированным характеристическим элементам первой структуры кодового блока, незаметных для человеческого глаза, но извлекаемых посредством программно-управляемой комбинации датчика изображения/процессора. 3 н. и 9 з.п. ф-лы, 40 ил., 2 табл.
1. Выгравированный твердый компонент, несущий данные, содержащие конкретную информацию, на поверхности выгравированного твердого компонента, в котором:
- указанная поверхность покрыта множеством блочных структур, содержащих по меньшей мере первую блочную структуру,
- каждая блочная структура представляет собой пространственно ограниченный набор модулированных характеристических элементов и базовых характеристических элементов, которые распределены по поверхности выгравированного твердого компонента,
- каждый модулированный характеристический элемент и каждый базовый характеристический элемент имеют соответственно трехмерный профиль модулированного характеристического элемента и трехмерный профиль базового характеристического элемента,
- каждый из профилей модулированного характеристического элемента представляет собой результат применения соответствующей модуляции к одному из трехмерных профилей базового характеристического элемента в соответствии с конкретной соответствующей информацией,
- каждый модулированный характеристический элемент дополнительно представляет собой символ, который представляет собой транскрипцию буквы алфавита,
- алфавит представляет собой набор букв, которые являются отдельными объектами четко заданных элементарных данных,
- каждый из базовых характеристических элементов представляет собой выгравированный элементарный трехмерный топографический элемент поверхности,
- каждый из модулированных характеристических элементов представляет собой выгравированный трехмерный топографический элемент поверхности,
- по меньшей мере часть данных транскрибирована с помощью структуры кодового блока модулированных характеристических элементов таким образом, чтобы структура кодового блока образовала по меньшей мере часть блочной структуры, соответствующей по меньшей мере одной части данных,
причем модулированные характеристические элементы первой блочной структуры расположены в соответствии с первой упорядоченной картой, причем первая упорядоченная карта содержит по меньшей мере первый конечный упорядоченный набор первых положений модулированных характеристических элементов первой структуры кодового блока на поверхности, причем первая блочная структура соответствует первой части данных, и
при этом первая упорядоченная карта дополнительно сконфигурирована для размещения модулированных характеристических элементов первой блочной структуры для образования эстетического ансамбля на поверхности и отображения соответствующих символов, которые соответствуют модулированным характеристическим элементам первой структуры кодового блока, незаметных для человеческого глаза, но извлекаемых посредством программно-управляемой комбинации датчика изображения/процессора.
2. Выгравированный твердый компонент по п. 1, дополнительно содержащий на своей поверхности:
- по меньшей мере одну вторую блочную структуру, которая представляет собой второй пространственно ограниченный набор исключительно из множества по меньшей мере одного из базовых характеристических элементов, причем
- базовые характеристические элементы по меньшей мере одной второй блочной структуры расположены на твердой поверхности в соответствии со второй картой, причем вторая карта представляет собой второй конечный набор положений базовых характеристических элементов на поверхности,
при этом вторая карта дополнительно позволяет расположить ее базовые характеристические элементы так, чтобы они образовывали эстетический ансамбль на поверхности.
3. Выгравированный твердый компонент по любому из пп. 1, 2, который:
- имеет цилиндрическую симметрию, и
- сконфигурирован как инструмент для переноса модулированных характеристических элементов и/или базовых характеристических элементов на подложку,
причем перенос представляет собой любое из следующего:
придание формы, печать, формование, ручная обработка, прессование и тиснение на подложке или в подложке модулированных характеристических элементов и/или базовых характеристических элементов.
4. Выгравированный твердый компонент по любому из пп. 1, 2, который:
- сконфигурирован для использования в качестве формирующего инструмента для переноса модулированных характеристических элементов и/или базовых характеристических элементов на подложку,
причем перенос представляет собой любое из следующего:
печать, формование, обработка, прессование и тиснение на подложке выгравированных модулированных характеристических элементов и/или выгравированных базовых характеристических элементов.
5. Выгравированный твердый компонент по п. 2,
дополнительно содержащий множество первых упорядоченных карт и вторых карт,
причем множество первых упорядоченных карт и вторых карт расположены по меньшей мере по регулярной сетке.
6. Выгравированный твердый компонент по п. 2,
дополнительно содержащий множество первых упорядоченных карт и вторых карт,
причем множество первых упорядоченных карт и вторых карт расположены по меньшей мере по рандимизированной сетке.
7. Выгравированный твердый компонент по п. 2,
дополнительно содержащий множество первых упорядоченных карт и вторых карт, причем множество первых упорядоченных карт и вторых карт
- сконфигурированы для переноса первых частей данных и образуют по меньшей мере один эстетический ансамбль; и
- расположены таким образом, что положения модулированных характеристических элементов переносимых первых частей данных незаметны для человеческого глаза, но извлекаемы только посредством программно-управляемой комбинации датчика изображения/процессора.
8. Выгравированный твердый компонент по п. 1, дополнительно содержащий
по меньшей мере дополнительную первую упорядоченную карту, при этом дополнительная первая упорядоченная карта представляет собой дополнительный конечный набор дополнительных положений модулированных характеристических элементов на поверхности, причем каждое дополнительное положение представляет собой результат заданного перемещения соответствующего первого положения первой упорядоченной карты, при этом дополнительная первая упорядоченная карта сконфигурирована для задания дополнительной первой блочной структуры, которая не перекрывается с первой блочной структурой, заданной первой упорядоченной картой, и
- или примыкает к первой блочной структуре;
- или отделена от первой блочной структуры заданным расстоянием;
- или в случае, если существует множество дополнительных первых упорядоченных карт, они отделены друг от друга регулярным образом в 2 измерениях.
9. Выгравированный твердый компонент по п. 1, дополнительно несущий третью часть данных на поверхности, соответствующую третьей карте,
причем третья карта представляет собой третий конечный набор положений модулированных характеристических элементов на поверхности, при этом третья карта сконфигурирована для задания третьей блочной структуры, которая не перекрывается с первой блочной структурой, заданной первой картой, и
- или примыкает к первой блочной структуре;
- или отделена от первой блочной структуры заданным расстоянием;
- или в случае, если существует множество третьих карт, они отделены друг от друга и от первой блочной структуры.
10. Способ изготовления (ММ) выгравированного твердого компонента (SP), выполненного с возможностью переноса данных (DA), содержащих конкретную информацию, на поверхности выгравированного твердого компонента, включающий в себя следующие этапы:
гравировку (S1) на указанной поверхности множества блочных структур (BS), содержащих по меньшей мере первую блочную структуру, при этом
- каждая блочная структура представляет собой пространственно ограниченный набор модулированных характеристических элементов и базовых характеристических элементов, которые распределены по поверхности выгравированного твердого компонента,
- каждый модулированный характеристический элемент и каждый базовый характеристический элемент имеют соответственно трехмерный профиль модулированного характеристического элемента и трехмерный профиль базового характеристического элемента,
- каждый из профилей модулированного характеристического элемента представляет собой результат применения соответствующей модуляции к одному из трехмерных профилей базового характеристического элемента в соответствии с конкретной соответствующей информацией,
- каждый модулированный характеристический элемент дополнительно представляет собой символ, который представляет собой транскрипцию буквы алфавита,
- алфавит представляет собой набор букв, которые являются отдельными объектами четко заданных элементарных данных,
- каждый из базовых характеристических элементов представляет собой выгравированный элементарный трехмерный топографический элемент поверхности,
- каждый из модулированных характеристических элементов представляет собой выгравированный трехмерный топографический элемент поверхности,
- по меньшей мере часть данных (DA) транскрибируют структурой кодового блока модулированных характеристических элементов таким образом, чтобы структура кодового блока образовала по меньшей мере часть блочной структуры, соответствующей по меньшей мере одной части данных (DA),
причем модулированные характеристические элементы первой блочной структуры (BS) расположены в соответствии с первой упорядоченной картой, причем первая упорядоченная карта содержит по меньшей мере первый конечный упорядоченный набор первых положений модулированных характеристических элементов первой структуры кодового блока на поверхности, причем первая блочная структура соответствует первой части данных, и
при этом первая упорядоченная карта дополнительно сконфигурирована для размещения модулированных характеристических элементов первой блочной структуры (BS) для образования эстетического ансамбля на поверхности и отображения соответствующих символов, которые соответствуют модулированным характеристическим элементам первой структуры кодового блока, незаметных для человеческого глаза, но извлекаемых посредством программно-управляемой комбинации датчика изображения/процессора.
11. Способ изготовления по п. 10, в котором этап гравировки (S1) на поверхности множества блочных структур выполняют посредством одного из следующего:
- (прецизионное) фрезерование,
- лазерная абляция,
- химическая гравировка,
- плазменное травление и
- штамповка.
12. Способ конфигурирования (МС) множества блочных структур модулированных характеристических элементов и базовых характеристических элементов, предназначенных для их гравировки на поверхности твердого компонента, в котором:
каждый модулированный характеристический элемент и каждый базовый характеристический элемент имеют соответственно трехмерный профиль модулированного характеристического элемента и трехмерный профиль базового характеристического элемента, который позволяет выгравировать каждый из модулированных характеристических элементов и каждый из базовых характеристических элементов,
каждая блочная структура содержит соответствующую структуру кодового блока транскрибируемых данных, и
каждая блочная структура представляет собой набор модулированных характеристических элементов и базовых характеристических элементов, сконфигурированных для их распределения по пространственно ограниченной части поверхности,
при этом способ включает в себя:
- создание (S2) каждого из профилей модулированных характеристических элементов (MFP) путем применения соответствующей модуляции посредством модуляторного профиля характеристического элемента к одному из профилей базовых характеристических элементов в соответствии с символом, который представляет собой транскрипцию буквы алфавита (АВ), причем алфавит представляет собой набор букв, которые являются отдельными объектами четко заданных элементарных данных,
- транскрибирование (S3) по меньшей мере первой части данных (DA) для первой структуры (СС) кодового блока с помощью профилей модулированных характеристических элементов,
- размещение (S4) модулированных характеристических элементов, соответствующих первой структуре (СС) кодового блока, по меньшей мере в первой блочной структуре из множества блочных структур, согласно первой упорядоченной карте (FP), причем первая упорядоченная карта представляет собой первый конечный набор положений модулированных характеристических элементов первой структуры кодового блока, и
- конфигурирование (S5) модулированных характеристических элементов на первой упорядоченной карте для образования эстетического ансамбля на поверхности и отображения соответствующих символов, которые соответствуют модулированным характеристическим элементам первой структуры кодового блока, незаметных для человеческого глаза (IHE) для предполагаемой гравировки, но извлекаемых только посредством программно-управляемой комбинации датчика изображения/процессора.
| Способ восстановления спиралей из вольфрамовой проволоки для электрических ламп накаливания, наполненных газом | 1924 |
|
SU2020A1 |
| УСТРОЙСТВО И СПОСОБ САТИНИРОВАНИЯ И ТИСНЕНИЯ ПЛОСКОГО МАТЕРИАЛА | 2005 |
|
RU2309850C2 |
| ВОЛОКНИСТОЕ ИЗДЕЛИЕ С РАСТРОВЫМ ТИСНЕНИЕМ И СПОСОБ ИЗГОТОВЛЕНИЯ ТАКОГО ИЗДЕЛИЯ | 2008 |
|
RU2484969C2 |
Авторы
Даты
2025-02-19—Публикация
2021-06-23—Подача