Изобретение относится к холодной обработке металлов давлением и может быть использовано для обработки длинномерного материала.
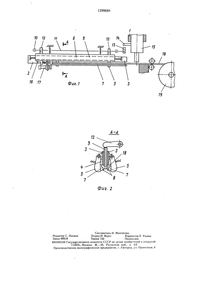
На фиг. 1 схематически изображено предлагаемое устройство для обработки длинномерного материала; на фиг. 2 - разрез А-А на фиг. .
Устройство содержит механизм резки, выполненный в виде пресса 1, основание, выполненное в виде станины 2, несущей щеки 3, механизм 4 удаления заготовок, имеющий подпружиненные планки 5, щарнирно закрепленные одним концом на щеках 3, преобразующий механизм 6. На планках 5 смонтированы направляющие 7 со скосами 8 для перемещения заготовок 4, выталкиватель 9.
Механизм 6 содержит установленные в подшипниках 10 вал 11, рычаги 12, закрепленные на валу с возможностью взаимодействия с выталкивателем 9, кулачок 13, установленный на валу 11, упор 14, закрепленный на подвижной части (ползуне) 5 пресса с возможностью взаимодействия с кулачком 13. На выталкивателе 9 установлен упор 16 с бесконтактным переклю- чате.лем 17. Матери ал-пол оса 18 подается с рулонодержателя 19.
Устройство работает следующи.м образом.
Полоса 18 с рулонодержателя 19 подается между планками 5, скользя по скосам 8 направля оп,их 7 до упора 16. Переключателем 17 подается сигнал на зажим полосы 18 а затем на рабочий ход ползуна 15, который в начале работы находится в крайнем верхнем положении. При ходе ползуна 15 вниз отрубывается заготовка, лежащая на скосах 8 направляющих 7, и упор 14, взаимодействуя с кулачком 13, проворачивает вал 1 с рычага.ми 12. Рычаги 12, воздействуя на выталкиватель 9, сообщают ему движение вниз. Выталкиватель 9 надавливает на отрубанную заготовку, при этом раздвигаются подпружиненные планки 5 и заготовка под действием собственного веса выдается на приемное устройство (не пока- зано). Ползун 15 возвращается в крайнее верхнее положение, планки 5 под действием пружин сжимаются, и цикл работы повторяется.
10
Формула изобретения
. Устройство для обработки длинномерного материала, содержащее механизм резки, имеющий подвижную часть, механизм по5 дачи материала в зону резки, смонтированный на основании механизм удаления отрезанных заготовок и упор, расположенный за механизмом удаления, отличающееся тем, что, с целью повышения надежности работы, механизм удаления выполнен в виде
0 двух шарнирно закрепленных .одним концом на основании планок, расположенных симметрично относительно оси подачи и имеющих скосы на другом конце для перемещения заготовок, и выталкивателя заготовок из планок, приводимого в движение от подвижной части механизма резки через преобразующий механизм.
2.Устройство по п. 1, отличающееся тем, что преобразующий механизм выполнен в виде вала, расположенного на основании паQ раллельно оси подачи, рычагов, установленных на валу с возможностью взаимодействия с выталкивателем заготовок из планок, кулачка, смонтированного на валу, дополнительного упора, закрепленного на под вижной части механизма резки с возможностью взаимодействия с кулачко м.
3.Устройство по п. 1, отличающе.еся тем, что упор смонтирован на выталкивателе с возможностью регулировочного перемещения параллельно направлению подачи материала.
W 12 116312 . Щ
T
.-1
7
16 17
Фиг.7
753
Изобретение относится к области холодной обработки метал лов давлением, в частности к устройствам для обработки длинномерного материала. Целью изобретения является повышение надежности работы. Материал подается в зону резки механизма резки, где отрезается заготовка. Заготовка перемещается по скосам, выполненным на нижних концах планок, шарнирно закрепленных другим концом на основании и расположенных симметрично относительно оси подачи. При ходе подвижной части пресса вниз упор, закрепленный на ней, воздействует на кулачок, который поворачивает вал с рычагами. Рычаги воздействуют на толкатель, который перемещает заготовку вниз по скосам. Планки поворачиваются, и заготовка удаляется из планок. Длина нарезаемой заготовки регулируется упором, закрепленным на толкателе с регулируемым перемещением вдоль него. 2 з.п. ф-лы, 2 ил. со со а 00 4
A-A
U .18
иг. 2
| УСТРОЙСТВО ДЛЯ УСТАНОВКИ ДЛИНЫ ЗАГОТОВКИ, ОТРЕЗАЕМОЙ НА НОЖНИЦАХ | 0 |
|
SU272000A1 |
| Выбрасывающий ячеистый аппарат для рядовых сеялок | 1922 |
|
SU21A1 |
Авторы
Даты
1987-03-30—Публикация
1985-10-10—Подача