Углезагрузочный вагон применяется в коксохимической промышленности, в частности на коксовой батарее для загрузки коксовых печей угольной шихтой (И.Л. Непомнящий «Коксовые машины и их конструкции и расчеты» Государственное научно-техническое издательство литературы по черной и цветной металлургии, Москва 1963 г., Углезагрузочный вагон - стр. 12.).
Углезагрузочный вагон для загрузки коксовых печей угольной шихтой содержит портал с ходовыми тележками, бункеры для загрузки угольной шихтой угольной башни и далее для загрузки коксовых печей, кабину машиниста для управления углезагрузочным вагоном, механизмы открывания крышек люков коксовых печей.
Недостатком данного вагона является то, что загрузка бункеров вагона угольной шихтой происходит только на одну печь, а их, к примеру, на коксовой батарее 65 штук, а это частые переезды вагона под угольную башню.
Сущностью предлагаемого изобретения является, что углезагрузочный вагон оснащен дополнительными бункерами с комплектом механизмов для загрузки вагона угольной шихтой из угольной башни, установленными на портале вагона параллельно существующим бункерам в два ряда с возможностью открывания или закрывания затворов угольной башни, съема крышек люков загружаемой коксовой печи и восстановления крышек в закрытое положение после выгрузки бункеров, что обеспечит достижение технического результата по повышению надежности и эффективности работы углезагрузочного вагона.
Внедрение предлагаемого изобретения определит:
1. Сокращение наполовину цикличности передвижения углезагрузочного вагона под угольную башню, снижение динамической нагрузки на коксовую батарею, что увеличивает срок эксплуатации коксовой батареи.
2. Снижение расхода электроэнергии.
3. Снижение амортизационных износов (повреждений) ходовых частей передвижения вагона.
4. Увеличение машинного времени на обслуживание механизмов коксовой батареи.
5. Снижение нагрузок на машиниста управления углезагрузочным вагоном.
Углезагрузочный вагон изображен на фигурах:
Фиг. 1 - Углезагрузочный вагон - главный вид.
Фиг. 2 - Вид А. Углезагрузочный вагон в плане.
Фиг. 3 - Вид Б. Углезагрузочный вагон вдоль коксовой батареи.
Фиг. 4 - Поперечный разрез коксовой батареи.
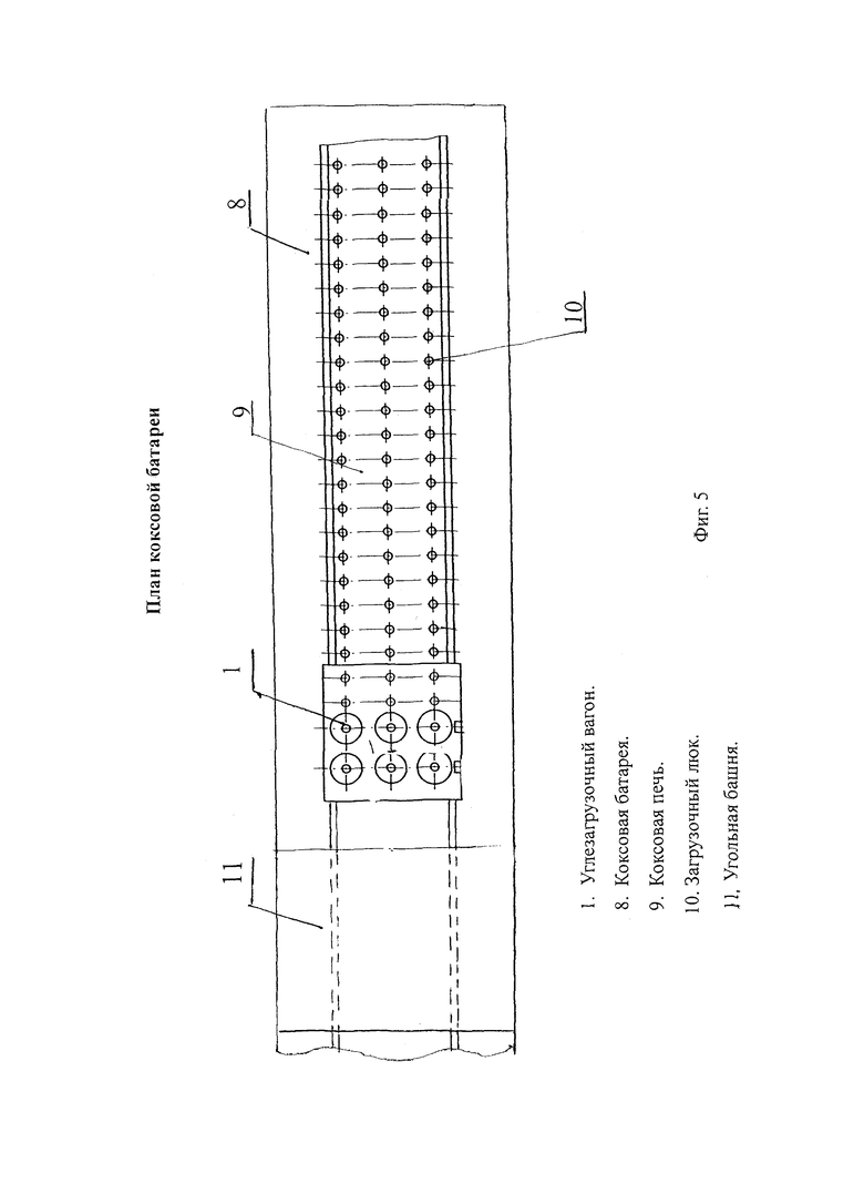
Фиг. 5 - План коксовой батареи.
Углезагрузочный вагон 1 состоит из портала 2, механизма передвижения 3, бункеров 4 для загрузки угольной шихтой камер печей 9 коксовой батареи 8, бункеры 4 содержат механизмы - люкосьемы 5 для открывания крышек 14 люков 10 коксовых печей 9, на верхних частях бункеров 4 установлены механизмы 6 для открывания и закрывания затворов 12 угольной башни 11, на портале 2 установлена кабина управления машиниста 7. Количество бункеров 4 зависит от количества люков загрузки 10 коксовых печей 9.
В предлагаемом варианте углезагрузочного вагона бункеры установлены параллельно существующим в два ряда.
Коксовая батарея 8 содержит множество одинаковых печей 9, наверху которых размещены люки 10 с крышками 14 для загрузки угольной шихтой, выше коксовой батареи 8 установлена угольная башня 11, под которой установлен ряд затворов 12 угольной башни с рычагами 13 для закрывания и открывания.
Принцип работы углезагрузочного вагона.
Углезагрузочный вагон из кабины управления 7 машинистом устанавливается под угольную башню 11 для загрузки, механизмы 6 воздействуют на рычаги 13, происходит открывание или закрывание затворов 12 угольной башни 11, далее происходит заполнение бункеров 4 угольной шихтой, вагон перемещается вдоль коксовой батареи 8 и устанавливается на заданную коксовую печь 9 для загрузки угольной шихтой, далее люкосъемами 5 снимаются крышки 14 люков 10 загружаемой коксовой печи 9, происходит выгрузка бункеров 4, после чего крышки 14 восстанавливаются в закрытое положение.
| название | год | авторы | номер документа | 
|---|---|---|---|
| УСТАНОВКА ДЛЯ АВТОМАТИЧЕСКОГО НАБОРА ШИХТЫ | 1970 |  | SU277714A1 | 
| ПРОГРАММНОЕ УСТРОЙСТВО ОЧЕРЕДНОСТИ ОБСЛУЖИВАНИЯ КОКСОВЫХ ПЕЧЕЙ И ЗАТВОРОВ УГОЛЬНОЙ БАШНИ | 1972 |  | SU360358A1 | 
| Программное устройство очередности обслуживания коксовых печей и затворов угольной башни | 1976 | 
 | SU653285A2 | 
| Программное устройство очередности обслуживания коксовых печей и затворов угольной башни | 1976 | 
 | SU691480A2 | 
| ВСЕСОЮЗНАЯ | 1973 | 
 | SU361190A1 | 
| Коксовая батарея | 1981 | 
 | SU1013455A1 | 
| Программное устройство очередности обслуживания коксовых печей и затворов угольной башни | 1978 | 
 | SU768758A2 | 
| Программное устройство очередности обслуживания коксовых печей и затворов угольной башни | 1977 | 
 | SU684057A2 | 
| Программное устройство очередности обслуживания коксовых печей и затворов угольной башни | 1981 | 
 | SU998489A2 | 
| Программирующее устройство углезагрузочных самоходных вагон-весов | 1960 | 
 | SU148091A1 | 
 
		
		 
		
		 
		
		 
		
		 
		
         
         
            Углезагрузочный вагон (1) содержит портал (2) с механизмами передвижения (3), бункеры (4) для загрузки угольной шихтой камер печей (9) коксовой батареи (8), механизмы открывания угольных затворов угольной башни, механизмы открывания крышек (14) люков (10) коксовых печей (9), кабину машиниста для управления углезагрузочным вагоном и дополнительные бункеры с комплектом механизмов для загрузки вагона угольной шихтой из угольной башни, установленные на портале вагона параллельно существующим бункерам (4) в два ряда с возможностью открывания или закрывания затворов угольной башни, съема крышек люков загружаемой коксовой печи и восстановления крышек в закрытое положение после выгрузки бункеров.  Изобретение повышает надежность и эффективность работы углезагрузочного вагона. 5 ил.
Углезагрузочный вагон, содержащий портал, к которому установлены механизмы передвижения, бункеры для загрузки угольной шихтой, механизмы открывания угольных затворов угольной башни, механизмы открывания крышек люков коксовых печей, кабину машиниста для управления углезагрузочным вагоном, отличающийся тем, что углезагрузочный вагон оснащен дополнительными бункерами с комплектом механизмов для загрузки вагона угольной шихтой из угольной башни, установленными на портале вагона параллельно существующим бункерам в два ряда с возможностью открывания или закрывания затворов угольной башни, съема крышек люков загружаемой коксовой печи и восстановления крышек в закрытое положение после выгрузки бункеров, что обеспечит достижение технического результата по повышению надежности и эффективности работы углезагрузочного вагона.
| УСТАНОВКА ДЛЯ АВТОМАТИЧЕСКОГО НАБОРА ШИХТЫ | 0 |  | SU277714A1 | 
| US 9745151 B2, 29.08.2017 | |||
| CN 204917302 U, 30.12.2015 | |||
| Вагон для загрузки батареи косовых печей | 1976 | 
 | SU690059A1 | 
| Способ соединения деталей | 1987 | 
 | SU1530384A1 | 
Авторы
Даты
2024-12-26—Публикация
2023-08-08—Подача